|
|
(21), (22) Заявка: 2004115838/03, 26.05.2004
(24) Дата начала отсчета срока действия патента:
26.05.2004
(45) Опубликовано: 20.08.2005
(56) Список документов, цитированных в отчете о поиске:
RU 2074313 С1, 27.07.1997. SU 1091619 A1, 10.01.1996. RU 16758 U1, 10.02.2001. RU 2085704 C1, 27.07.1997. RU 2108447 C1, 10.04.1998. US 5980745 А, 09.11.1999.
Адрес для переписки:
390048, г.Рязань, ул. Новоселов, 54/2, кв.292, В.А. Керимову
|
(72) Автор(ы):
Башкатов А.Д. (RU), Керимов В.А. (RU), Петросов Д.А. (RU)
(73) Патентообладатель(и):
Башкатов Алексей Дмитриевич (RU), Керимов Ваид Амирджанович (RU)
|
(54) СКВАЖИННЫЙ ФИЛЬТР
(57) Реферат:
Изобретение относится к области горного дела и может быть использовано для оборудования водозаборных, нефтяных, газовых скважин в интервале продуктивного пласта, сложенного слабосцементированными породами. Техническим результатом является обеспечение ремонтопригодности фильтра и повышение эффективности ремонта скважины. Скважинный фильтр включает перфорированный каркас, фильтровую рубашку в виде автономных секций с проволочной обмоткой, прокладочными элементами и концевыми гильзами, соединенными с перфорированным каркасом. Фильтровая рубашка выполнена из легко разбуриваемого материала, например из полиэтилена или пропилена. Указанное соединение концевых гильз с перфорированным каркасом выполнено посредством срезных штифтов. Прокладочные элементы фильтровой рубашки выполнены в виде перфорированных труб, соединенных с концевыми гильзами. Перфорированный каркас выполнен с гладкой наружной поверхностью и снабжен глухой трубой, выполненной с двойной соединительной муфтой, наружной, направление замковой резьбы которой совпадает с направлением замковой резьбы перфорированного каркаса, и внутренней, направление замковой резьбы которой противоположно. 2 з.п.ф-лы, 1 ил. 
Изобретение относится к области горного дела и может быть использовано для оборудования водозаборных, нефтяных, газовых скважин в интервале продуктивного пласта, сложенного слабосцементированными породами.
Известен скважинный фильтр, выполненный в виде уложенных на каркасе кольцевых или спиральных проволокообразных элементов с чередующими радиальными пазами и выступами с образованием расширяющихся каналов в направлении движения флюида через фильтр [1].
Недостатком известного фильтра является то, что при контакте с пластовой породой в процессе фильтрации частицы продуктивного пласта расклиниваются в отверстиях и уплотняются, что приводит к преждевременной кольматации и выходу из строя фильтра.
Известен также скважинный фильтр, включающий перфорированный каркас с опорными стержнями и витками профилированной проволоки [2].
Недостатком известного фильтра является низкая коррозийная стойкость, сложность и неэффективность ремонта скважин при необходимости.
Наиболее близким аналогом является скважинный фильтр, включающий перфорированный каркас, фильтровую рубашку в виде набора автономных секций с проволочной обмоткой, прокладочными элементами и кольцевыми гильзами, соединенными с перфорированным каркасом [3].
Известный фильтр обладает избирательной способностью и обеспечивает ремонт отдельных частей фильтра с использованием, например, кислоты и др. реагентов. Однако извлечение фильтра из скважины при необходимости капитального ремонта крайне осложнено в связи с тем, что составные части фильтра сварены между собой с помощью сварки.
В задачу настоящего изобретения ставится обеспечение ремонтопригодности фильтра и повышение эффективности ремонта скважины.
Поставленная задача решается тем, что в скважинном фильтре, включающем перфорированный каркас, фильтровую рубашку в виде набора автономных секций с проволочной обмоткой, прокладочными элементами и концевыми гильзами, соединенными с перфорированным каркасом, фильтровая рубашка выполнена из легко разбуриваемого материала, например, из полиэтилена или пропилена, а концевые гильзы соединены с перфорированным каркасом посредством срезных штифтов.
Также прокладочные элементы фильтровой рубашки выполнены в виде перфорированных труб, соединенных с концевыми гильзами.
Кроме того, перфорированный каркас выполнен с гладкой наружной поверхностью и снабжен глухой трубой, выполненной с двойной соединительной муфтой, наружной, напряжение замковой резьбы которой совпадает с направлением замковой резьбы перфорированного каркаса, и внутренней, направление замковой резьбы которой противоположно.
Сущность изобретения поясняется чертежом.
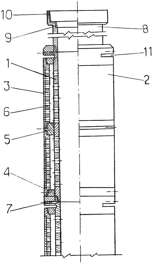
Фильтр включает перфорированный каркас 1, фильтровую рубашку 2, выполненную в виде автономных секций с проволочной обмоткой 3, концевыми гильзами 4, 5 и прокладочными элементами в виде перфорированных труб 6, связанными с концевыми гильзами 4, 5 посредством резьбового соединения. Концевые гильзы соединены с перфорированным каркасом посредством срезных штифтов 7. Перфорированный каркас 1 выполнен с гладкой наружной поверхностью и снабжен глухой трубой 8, выполненной с двойной соединительной муфтой из коррозийно-стойкого материала, внутренней соединительной муфтой 9, выполненной с замковой резьбой (левой), направление которой противоположно направлению замковой резьбы перфорированного каркаса (правой), а наружной соединительной муфтой 10, направление замковой резьбы которой совпадает с направлением замковой резьбы перфорированного каркаса.
На фильтровой рубашке 2 и замковой части перфорированного каркаса выполнены монтажные пазы 11.
В зависимости от длины фильтр может состоять из нескольких перфорированных каркасов 1 с фильтровыми рубашками 2.
Скважинный фильтр спускают в скважину на бурильной колонне, снабженной в нижней части переводником, замковая резьба ниппеля которого (левая) совпадает с замковой резьбой внутренней соединительной муфты 9, и после оборудования фильтра гравийной набивкой колонну бурильных труб извлекают.
При необходимости извлечения фильтра из скважины колонну бурильных труб спускают с переводником, замковая резьба которой совпадает с замковой резьбой наружной соединительной муфты 10, и после соединения продолжают вращение бурильной колонны, при этом срезаются срезные штифты 7 и перфорированные каркасы освобождаются от автономных секций фильтровой рубашки 2 и могут быть извлечены из скважины при незначительных тяговых усилиях.
Оставшиеся в скважине элементы фильтровой рубашки разбуриваются и извлекаются промывкой и скважина оборудуется новым фильтром, а извлеченные составные части фильтра после необходимого ремонта и сборки крепления новых секций фильтровой рубашки к перфорированному каркасу предназначаются для повторного использования.
Источники информации
1. Авторское свидетельство СССР №1213179, Е 21 В, 43/08, 23.02.86.
2. Авторское свидетельство СССР №1712591, Е 21 В, 43/08, 15.02.92.
3. Патент РФ №2074313, Е 21 В 43/08, 27.02.97.
Формула изобретения
1. Скважинный фильтр, включающий перфорированный каркас, фильтровую рубашку в виде автономных секций с проволочной обмоткой, прокладочными элементами и концевыми гильзами, соединенными с перфорированным каркасом, отличающийся тем, что фильтровая рубашка выполнена из легко разбуриваемого материала, например, из полиэтилена или пропилена, а соединение с перфорированным каркасом выполнено посредством срезных штифтов.
2. Фильтр по п.1, отличающийся тем, что прокладочные элементы фильтровой рубашки выполнены в виде перфорированных труб, соединенных с концевыми гильзами.
3. Фильтр по п.1, отличающийся тем, что перфорированный каркас выполнен с гладкой наружной поверхностью и снабжен глухой трубой, выполненной с двойной соединительной муфтой, наружной, направление замковой резьбы которой совпадает с направлением замковой резьбы перфорированного каркаса, и внутренней, направление замковой резьбы которой противоположно.
РИСУНКИ
PC4A – Регистрация договора об уступке патента Российской Федерации на изобретение
(73) Патентообладатель(и):
Керимов Ваид Амирджанович, Башкатов Алексей Дмитриевич
(73) Патентообладатель:
Закрытое акционерное общество “Русбурмаш”
Дата и номер государственной регистрации перехода исключительного права: 17.04.2007 № РД0020952
Извещение опубликовано: 27.05.2007 БИ: 15/2007
MM4A – Досрочное прекращение действия патента СССР или патента Российской Федерации на изобретение из-за неуплаты в установленный срок пошлины за поддержание патента в силе
Дата прекращения действия патента: 27.05.2007
Извещение опубликовано: 27.08.2008 БИ: 24/2008
NF4A Восстановление действия патента СССР или патента Российской Федерации на изобретение
Дата, с которой действие патента восстановлено: 20.04.2009
Извещение опубликовано: 20.04.2009 БИ: 11/2009
|
|