|
|
(21), (22) Заявка: 2004112271/03, 22.04.2004
(24) Дата начала отсчета срока действия патента:
22.04.2004
(45) Опубликовано: 20.08.2005
(56) Список документов, цитированных в отчете о поиске:
RU 2001118342 A, 20.06.2003. SU 185767 A, 28.09.1966. SU 198246 A, 03.08.1967. SU 876883 A, 05.11.1981. SU 1076547 A, 28.02.1984. SU 1671798 A1, 23.08.1991. RU 2135703 C1, 27.08.1999. DE 2657311 B2, 28.02.1982.
Адрес для переписки:
413800, Саратовская обл., г. Балаково, ул. Чапаева, 140, ИТТУ
|
(73) Патентообладатель(и):
Саратовский государственный технический университет (RU)
|
(54) УСТРОЙСТВО ДЛЯ РЫХЛЕНИЯ ПРОЧНЫХ ГРУНТОВ
(57) Реферат:
Изобретение относится к строительству и может найти применение для послойного рыхления прочных грунтов, а также снятия льда и снежного наката на автомобильных дорогах и тротуарах. Устройство дли рыхления прочных грунтов содержит раму, на которой в опорах вращения установлен вал, привод вращения вала, барабан с зубьями, установленный на валу с возможностью поворота, на ступице которого в опорах вращения смонтированы зубчатые колеса с дебалансами, входящие в зацепление с зубчатым колесом, установленным на валу в опорах вращения, привод зубчатого колеса и упругие элементы, выполненные в виде плоской рессоры, один конец которой закреплен на валу, а второй – на обечайке барабана. Повышается надежность устройства. 1 з.п.ф-лы, 3 ил. 
Изобретение относится к строительству и может найти применение для послойного рыхления прочных грунтов, а также снятия льда и снежного наката на автомобильных дорогах и тротуарах.
Известно устройство для фрезерования прочных грунтов, включающее раму, на которой в опорах вращения установлен вал с закрепленными к нему зубьями и привод вала [1].
Наиболее близким к предлагаемому по технической сущности и достигаемому результату является устройство для рыхления прочных грунтов, содержащее раму, на которой в опорах вращения установлен вал с закрепленными к нему зубьями и привод вращения вала, а на валу жестко закреплен кронштейн, на котором на опорах вращения смонтированы зубчатые колеса с дебалансами, входящие в зацепление с зубчатым колесом, установленным на валу на опорах вращения, и привод зубчатого колеса [2].
Недостатком известного устройства являются большие динамические нагрузки на привод, в результате чего снижется эффективность динамического воздействия на грунт.
Цель изобретения – повышение эффективности действия и снижение энергоемкости устройства.
Это достигается тем, что зубья и кронштейн закреплены на барабане, который установлен на валу с возможностью поворота и соединен с валом через упругие элементы, при этом упругие элементы могут быть выполнены в виде плоской рессоры, один конец которой закреплен на валу, а второй – на обечайке барабана.
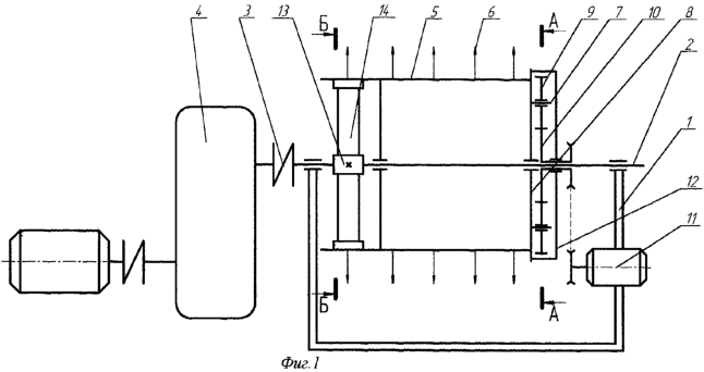
На фиг.1 представлен общий вид устройства; на фиг.2 – сечение А-А фиг.1; на фиг.3 – сечение Б-Б фиг.1
Устройство для рыхления прочных грунтов (фиг.1) содержит: раму 1, на которой в опорах вращения установлен вал 2 через муфту 3, соединенный с приводом 4, барабан 5 с зубьями 6, установленный на валу 2 с возможностью поворота осей 7, жестко закрепленных на ступице-кронштейне 8, на которых в опорах вращения установлены зубчатые колеса – дебалансы 9, входящие в зацепление с зубчатым колесом 10 (фиг.2), установленным на приводном валу 2 в опорах вращения, привод зубчатого колеса 11, кожух 12, ступица 13, жестко закрепленная на валу 2, и упругие рессоры 14, один конец которых установлен в пазы обечайки барабана 5, а второй – ступицы 13. (фиг.3)
Устройство навешивается на базовую машину, которая обеспечивает нужный контакт с разрабатываемым грунтом.
Устройство работает следующим образом: включается привод 4, который через муфту 3 вращает приводной вал 2, а вместе с ним и ступицу 13, жестко закрепленную на валу, которая через упругие рессоры 14 вовлекает в совместное вращение барабан 5 с зубьями 6, которые, воздействуя на грунт, деформируют (изгибают) рессоры 14 в направлении, противоположном вращению, накапливая потенциальную энергию от привода вала.
Одновременно с приводом барабана включают привод дебалансов 11, который через зубчатое колесо 10 приводит во вращение дебалансы 9, создающие возмущающую силу. (Фиг.2):
Pц=m·e· д 2,
где m – масса вращающихся дебалансов;
е – эксцентриситет;
д – угловая скорость вращения дебалансов.
Под действием этой возмущающей силы возникает динамический момент, изменяющийся по гармоническому закону. Максимальная величина динамического момента, создаваемая дебалансами:

где D0 – диаметр расстановки осей дебалансов.
Когда динамический момент, создаваемый дебалансами 9, направлен противоположно вращению барабана 5, он дополнительно увеличивает деформацию рессор 14, заряжая их дополнительной потенциальной энергией от динамического момента. При повороте дебалансов на 180° динамический момент будет направлен в сторону вращения барабана, что уменьшает нагрузку на рессоры, в результате чего потенциальная энергия, накопленная рессорами, от статического и динамического момента из предыдущей фазы используется для увеличения величины динамического воздействия зубьев 6 на грунт.
Наибольший эффект воздействия на грунт будет, когда частота вращения дебалансов д будет равна собственной частоте крутильных колебаний с барабана с зубьями, т.е. при д= с наступит резонанс. В результате чего при прочих равных условиях возрастает амплитуда колебаний зубьев, а следовательно, и динамический эффект их воздействия на грунт. При резонансном режиме работы фрезы значительно снижаются затраты энергии на единицу объема разрушаемого грунта. Передача крутящего момента от вала к обечайке барабана с зубьями через упругие рессоры снижает динамическое воздействие на элементы привода, что повышает надежность и долговечность работы устройства.
Применение устройства позволит не только повысить эффективность его работы, но и снизить затраты энергии на разработку грунта, увеличить надежность и долговечность элементов привода устройства.
Источники информации
1. Бородачев И.В. Справочник конструктора дорожных машин. – М.: Машиностроение 1965. – 725 с.
2. Заявка №2001118342/03 (019343), 20.06.2003.
Формула изобретения
1. Устройство для рыхления прочных грунтов, содержащее раму, на которой в опорах вращения установлен вал, зубья, привод вала и кронштейн, на котором в опорах вращения смонтированы зубчатые колеса с дебалансами, входящие в зацепление с зубчатым колесом, установленным на валу в опорах вращения, и привод зубчатого колеса, отличающееся тем, что зубья и кронштейн закреплены на барабане, который установлен на валу с возможностью поворота и соединен с валом через упругие элементы.
2. Устройство по п.1, отличающееся тем, что упругие элементы выполнены в виде плоской рессоры, один конец которой закреплен на валу, а второй – на обечайке барабана.
РИСУНКИ
MM4A – Досрочное прекращение действия патента СССР или патента Российской Федерации на изобретение из-за неуплаты в установленный срок пошлины за поддержание патента в силе
Дата прекращения действия патента: 23.04.2006
Извещение опубликовано: 27.04.2007 БИ: 12/2007
MM4A – Досрочное прекращение действия патента СССР или патента Российской Федерации на изобретение из-за неуплаты в установленный срок пошлины за поддержание патента в силе
Дата прекращения действия патента: 23.04.2006
Извещение опубликовано: 20.06.2007 БИ: 17/2007
|
|