|
(21), (22) Заявка: 2003137533/03, 25.12.2003
(24) Дата начала отсчета срока действия патента:
25.12.2003
(45) Опубликовано: 20.08.2005
(56) Список документов, цитированных в отчете о поиске:
US 3716994 A, 20.02.1973. SU 1362776 A1, 30.12.1987. SU 1620578 А1, 15.01.1991. US 3528254 A, 15.09.1970.
Адрес для переписки:
95015, г. Симферополь, ул. Севастопольская, 38, НВФ “Патент”
|
(72) Автор(ы):
Козлов Анатолий Валентинович (UA), Любимцев Владимир Александрович (UA), Рыжакова Елена Святославовна (UA), Степанов Николай Анатольевич (UA)
(73) Патентообладатель(и):
Общество с ограниченной ответственностью “Институт “ШЕЛЬФ” (UA)
|
(54) ДОННАЯ ОПОРНАЯ ПЛАТФОРМА
(57) Реферат:
Изобретение относится к строительству морских подводных сооружений, предназначенных для эксплуатации нефтяных и газовых скважин, преимущественно на мелководном континентальном шельфе, дно которого имеет большой слой илистых отложений, а также в условиях ледового покрытия акватории. Платформа содержит основание, соединенные с основанием вертикальные свайные обоймы и позиционирующий узел для фиксации буровой колонны и фонтанной арматуры. Основание представляет собой конструкцию с балластируемыми отсеками, выполненную из полых элементов и функционально разделенную на две зоны, в одной из которых размещен позиционирующий узел, а в другой образован улавливающий проем. Платформа дополнительно снабжена съемной монтажной рамой с установленным на ней технологическим оборудованием, в нижней части которой расположены наклонные направляющие для входа в улавливающий проем при стыковке монтажной рамы с основанием опорной платформы в подводном положении. Изобретение сокращает трудозатраты на монтаж и ремонт технологического оборудования, повышает надежность сооружения. 7 ил. 
Изобретение относится к строительству морских подводных сооружений, предназначенных для эксплуатации нефтяных и газовых скважин, преимущественно на мелководном континентальном шельфе, дно которого имеет большой слой илистых отложений, а также в условиях ледового покрытия акватории.
Известна морская конструкция, содержащая подводный ростверк со свайными обоймами и опорными колоннами. Ростверк представляет собой взаимопересекающиеся фермы, в которых стойки выполнены в виде свайных обойм, причем опорные колонны и свайные обоймы пропущены и закреплены в отверстиях ярусов ферм (см. авт. свидетельство СССР №1250615, кл. Е 02 В 17/00, 1986 г.).
Недостатком известной конструкции являются трудоемкость и большие капиталовложения. Сборку ростверка и опорных колонн высотой 8-10 метров производят в сухом доке порта, а для их транспортировки к месту установки требуется судно большого водоизмещения с мощным грузоподъемным устройством. В процессе эксплуатации вершины опорных колонн находятся над водной поверхностью, в связи с чем конструкция через опорные колонны испытывает большое силовое воздействие от перемещений ледяного покрытия акватории, что приводит к значительному усилению колонн и ростверка.
Известна также донная опорная платформа, содержащая основание, соединенные с основанием вертикальные свайные обоймы и позиционирующий узел (см. Проспект фирмы Cameron «Позиционирующие элементы системы Mosaic», США, стр.247).
Недостатком известной донной опорной платформы является невозможность использования ее на континентальном шельфе, имеющем илистые отложения из-за сложности монтажа технологического оборудования и периодического проведения профилактических осмотров.
Тем не менее, по ряду общих существенных признаков и достигаемому техническому результату этот аналог является наиболее близким из известного уровня техники и выбран в качестве прототипа.
Технической задачей изобретения является создание донной опорной платформы, отвечающей условиям установки ее на мелководном дне континентального шельфа, имеющем большие илистые отложения.
Техническим результатом изобретения является сокращение трудозатрат за счет упрощения монтажа технологического оборудования, а также его подъема на вспомогательное судно для периодического осмотра, ремонта и замены.
Технический результат при осуществлении изобретения достигается тем, что в донной опорной платформе, содержащей основание, соединенные с основанием вертикальные свайные обоймы и позиционирующий узел для фиксации буровой колонны и фонтанной арматуры, особенность заключается в том, что основание представляет собой конструкцию с балластируемыми отсеками, выполненную из полых элементов и функционально разделенную на две зоны, в одной из которых размещен позиционирующий узел, а в другой образован улавливающий проем; при этом донная опорная платформа дополнительно снабжена съемной монтажной рамой с установленным на ней технологическим оборудованием, в нижней части которой расположены наклонные направляющие для входа в улавливающий проем при стыковке монтажной рамы с основанием опорной платформы в подводном положении.
Приведенные выше существенные признаки изобретения «Донная опорная платформа» необходимы и достаточны для осуществления изобретения и достижения технического результата во всех случаях, подпадающих под правовую защиту.
Причинно-следственная связь существенных признаков и достигаемого технического результата состоит в следующем:
– выполнение основания донной опорной платформы в виде подводной конструкции с балластируемыми отсеками, выполненную из полых элементов, позволяет установить платформу в верхней зоне илистой части дна акватории и закрепить ее обоймами на сваях ниже водной поверхности, а также производить монтаж, демонтаж и профилактические осмотры оборудования над слоем ила и исключить возможность воздействия на платформу подвижного ледяного покрытия акватории;
– функциональное разделение основания на две зоны, в одной из которых размещен позиционирующий узел, а в другой образован улавливающий проем, позволяет исключить возможность повреждения дорогостоящей фонтанной арматуры при периодических подъемах технологического оборудования для ремонта или замены и последующего его монтажа на платформе в подводном положении;
– снабжение донной опорной платформы съемной монтажной рамой с установленным на ней технологическим оборудованием позволяет значительно сократить трудозатраты и время монтажа и демонтажа оборудования;
– расположение в нижней части монтажной рамы наклонных направляющих, предназначенных для входа в улавливающий проем, позволяет обеспечить дистанционную стыковку монтажной рамы с основанием опорной платформы в подводном положении.
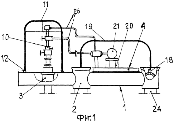
На фиг.1 изображена донная опорная платформа, вид сбоку; фиг.2 – то же, вид сверху; фиг.3 – место 1 на фиг.2, показано соединение монтажной рамы с основанием платформы; фиг.4 – разрез А-А на фиг.3; фиг.5 – разрез Б-Б на фиг.2 – показана продольная направляющая; фиг.6 – разрез В-В на фиг.2 показана поперечная направляющая; фиг.7 показана схема стыковки монтажной рамы с основанием платформы.
Донная опорная платформа (фиг.1-2) содержит основание 1, соединенные с основанием 1 свайные обоймы 2 и позиционирующий узел 3, а также съемную монтажную раму 4. Основание 1 представляет собой конструкцию из продольных 5 и поперечных 6 полых элементов с балластируемыми отсеками (не показаны). Средний поперечный элемент 6 разделяет основание 1 на две зоны – позиционирующую 7 и технологическую 8.
Позиционирующая зона 7 имеет решетку 9, на которой закреплен узел 3 с установленной на нем фонтанной арматурой 10, которая сверху закрыта защитной решеткой 11, имеющей возможность поворота вокруг шарниров 12. На технологическом участке 8 образован улавливающий проем 13 и приварены опорные пластины 14 (фиг.3 и 4) с отверстиями 15. Монтажная рама 4 представляет собой решетку, на которой приварены кронштейны 16 с отверстиями 17, совпадающими с отверстиями 15 пластин 14 при стыковке монтажной рамы с основанием 1 платформы. Сверху рамы 4 приварены стойки 20, на которых закреплено технологическое оборудование 21, а снизу закреплены наклонные продольные 22 и поперечные 23 (фиг.5 и 6) направляющие, предназначенные для центрирования съемной монтажной рамы 4 при ее стыковке в подводном положении с основанием 1.
Донную опорную платформу изготавливают отдельными частями в виде основания 1 с позиционирующим узлом 3 и монтажной рамы 4 с установленным на ней технологическим оборудованием 21. Отдельные части транспортируют к месту установки на дне акватории, где основание 1 плавкраном (на чертеже не показано) опускают на илистое дно, подбирая плавучесть балластировкой таким образом, чтобы основание 1 не всплывало в воде, а погружалось в илистое дно до среднего уровня его полых элементов 5 и 6. Затем производят забивку свай 24 в грунт и их цементирование в обоймах 2. После этого через позиционирующий узел 3 производят бурение скважины, удаляют буровую установку и производят монтаж фонтанной арматуры 10 на позиционирующем узле 3 и защитной решетки 11 на основании 1. После этого на технологическую часть 8 основания 1 по центру улавливающего проема 13 опускают монтажную раму 4 с установленным на ней технологическим оборудованием 21. При этом направляющие 22 и 23 (фиг.5 и 7) входят в улавливающий проем 13 и своими наклонными поверхностями, взаимодействующими с цилиндрическими поверхностями полых элементов 5 и 6, производят самокорректировку центровки монтажной рамы 4 и основания 1 платформы при возможных отклонениях их взаимного расположения в результате воздействия донных течений или неточности установки. В результате этого достигается точное совпадения отверстий 15 и 17 опорных пластин 14 и кронштейнов 16.
Стыковка монтажной рамы 4 с основанием 1 платформы производится дистанционно со вспомогательного судна, а водолаз только корректирует посредством средств связи действия оператора грузоподъемного устройства и производит соединение узлов монтажными болтами 25 через отверстия 15 и 17, а также технологического оборудования 21 с фонтанной арматурой 10 и трубопроводами 26. Затем технологическое оборудование накрывают защитной решеткой 19.
Защитные решетки 11 и 19 выполнены поворотными для возможности быстрого доступа к фонтанной арматуре 10 и технологическому оборудованию 21 при аварийной ситуации. Открывание решеток 11 и 19 осуществляют с судна обслуживания или буксирного катера.
Применение заявляемого изобретения позволяет упростить монтаж и эксплуатацию донной опорной платформы на мелководном континентальном шельфе, имеющем большие илистые отложения в условиях ледового покрытия акватории.
Формула изобретения
Донная опорная платформа, содержащая основание, соединенные с основанием вертикальные свайные обоймы и позиционирующий узел для фиксации буровой колонны и фонтанной арматуры, отличающаяся тем, что основание представляет собой конструкцию с балластируемыми отсеками, выполненную из полых элементов и функционально разделенную на две зоны, в одной из которых размещен позиционирующий узел, а в другой образован улавливающий проем, при этом донная опорная платформа дополнительно снабжена съемной монтажной рамой с установленным на ней технологическим оборудованием, в нижней части которой расположены наклонные направляющие для входа в улавливающий проем при стыковке монтажной рамы с основанием опорной платформы в подводном положении.
РИСУНКИ
MM4A Досрочное прекращение действия патента Российской Федерации на изобретение из-за неуплаты в установленный срок пошлины за поддержание патента в силе
Дата прекращения действия патента: 26.12.2005
Извещение опубликовано: 27.01.2007 БИ: 03/2007
|