|
|
(21), (22) Заявка: 2004133422/12, 16.11.2004
(24) Дата начала отсчета срока действия патента:
16.11.2004
(45) Опубликовано: 20.08.2005
(56) Список документов, цитированных в отчете о поиске:
GB 2175617 А, 03.12.1986. SU 397576 А, 15.02.1974. RU 2208674 C1, 20.07.2003. ЕР 0533412 A1, 24.03.1993.
Адрес для переписки:
601900, Владимирская обл., г. Ковров, ул. Труда, 4, ОАО “Завод им. В.А. Дегтярева”, ОПЛИР
|
(72) Автор(ы):
Коптев А.М. (RU), Москательников В.С. (RU)
(73) Патентообладатель(и):
Открытое акционерное общество “Завод им. В.А. Дегтярева” (RU)
|
(54) СТОЛ ДЛЯ ПРОМЫШЛЕННОЙ ШВЕЙНОЙ МАШИНЫ
(57) Реферат:
Изобретение относится к швейному машиностроению, а именно к устройству столов для промышленных швейных машин. Стол содержит станину с опорами и педалями. Станина выполнена из двух нижних U-образных трубчатых элементов и двух верхних -образных трубчатых элементов, соединенных между собой муфтами. Последние выполнены с возможностью регулировки верхних трубчатых элементов для фиксации стола на заданной высоте по рискам на концах верхних трубчатых элементов. Плоскости верхних трубчатых элементов расположены под прямым углом к плоскости нижних трубчатых элементов. Боковые стороны станины соединены стяжками, а нижние трубчатые элементы соединены между собой стяжкой. На последней установлены педали с возможностью перемещения и фиксации. Опоры выполнены в виде квадратных резиновых втулок, охватывающих нижние -образные трубчатые элементы. Столешница выполнена из трех частей, к центральной части которой изнутри прикреплена металлическая подложка с ребрами жесткости. Стол имеет пружинные зажимы на внутренней стороне столешницы для фиксации последней на станине. Технический результат – упрощение конструкции и технологии изготовления. 1 з.п. ф-лы, 11 ил. 
Изобретение относится к швейному машиностроению, а именно к устройству столов для промышленных швейных машин.
Известен стол для швейной машины (см. авт. свид. №397576, МПК D 05 B 75/00, 1974 г.). Стол содержит станину и установленную на ней столешницу. Столешница снабжена двумя съемными, шарнирно закрепленными частями и средствами для установки частей относительно столешницы в горизонтальное положение.
Недостатком этой конструкции стола является ненадежная система крепления и фиксации съемных частей относительно столешницы.
Известен стол для промышленной швейной машины (см. патент Великобритании №2175617, МПК D 05 В 75/00, 1986 г.), взятый за прототип. Стол содержит станину с опорами и педалями, на которой установлена столешница.
Недостатками прототипа являются:
1. Конструкция стола сложна и трудоемка в изготовлении.
2. Консольное крепление столешницы к станине создает предпосылки для возникновения значительной вибрации при работе швейной машины.
Задачей предлагаемого изобретения является создание конструкции стола для промышленной швейной машины с более высокими эксплуатационными характеристиками.
Технический результат, получаемый при осуществлении изобретения заключается в создании стола для промышленной швейной машины простого по конструкции и технологичного в изготовлении, отвечающего требованиям, предъявляемым к столам для промышленных швейных машин.
Указанный технический результат достигается тем, что в столе для промышленной швейной машины, содержащим станину с опорами и педалями, на которой установлена столешница, новым является то, что станина выполнена из двух нижних -образных трубчатых элементов и двух верхних -образных трубчатых элементов, соединенных между собой муфтами, выполненными с возможностью регулировки верхних трубчатых элементов для фиксации стола на заданной высоте по рискам, нанесенным на концах верхних трубчатых элементов, при этом плоскости верхних трубчатых элементов расположены под углом 90° к плоскостям нижних трубчатых элементов, боковые стороны станины соединены стяжками с помощью муфт, а нижние трубчатые элементы соединены между собой стяжкой, установленной с возможностью перемещения вперед – назад, с последующей фиксацией ее в нужном положении, на стяжке установлены с возможностью перемещения и фиксации педали, опоры выполнены в виде квадратных резиновых втулок, охватывающих нижние -образные трубчатые элементы, при этом отверстия втулок выполнены со смещением по отношению к центру квадратов, на внутренней стороне столешницы закреплены металлическая подложка с ребрами жесткости и пружинные зажимы, фиксирующие столешницу на станине.
Столешница выполнена из трех частей, к центральной части которой прикреплена изнутри металлическая подложка с ребрами жесткости, две другие части закреплены на верхних -образных трубчатых элементах с помощью пружинных зажимов и соединены с центральной частью.
Совокупность отличительных признаков обеспечивает создание простого по конструкции и технологичного в изготовлении стола, отвечающего требованиям, предъявляемым к столам для промышленных швейных машин.
Технические решения с признаками, отличающими заявляемое решение от прототипа, не известны и не следуют явным образом из уровня техники. Это позволяет считать, что заявляемое решение является НОВЫМ и обладает ИЗОБРЕТАТЕЛЬСКИМ УРОВНЕМ.
Сущность предлагаемого технического решения поясняется чертежами, где на:
фиг.1 изображен стол для промышленной швейной машины;
фиг.2 – стол для промышленной швейной машины, разрез Б-Б;
фиг.3-5 – станина для промышленной швейной машины в разрезах и сечениях В-В, Г-Г, Д-Д;
фиг.6 – регулируемая опора стола;
фиг.7 – столешница стола для промышленной швейной машины, вид А снизу;
фиг.8, 9 – столешница предлагаемого стола в разрезах и сечениях Е-Е, Ж-Ж;
фиг.10 – вариант исполнения столешницы, вид А снизу;
фиг.11 – вариант исполнения столешницы, разрез З-З.
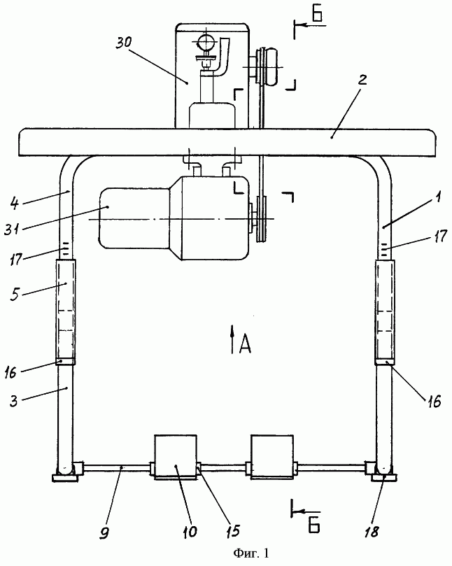
Стол для промышленной швейной машины (фиг.1, 2) состоит из станины, на которой установлена столешница 2. Станина 1 выполнена из двух нижних -образных трубчатых элементов 3 и двух верхних -образных трубчатых элементов 4, соединенных между собой муфтами 5. Плоскости верхних трубчатых элементов 4 расположены под углом 90° к плоскостям нижних трубчатых элементов 3, образуя пространственную трубчатую конструкцию станины. Боковые стороны станины укреплены стяжками 6, соединенными с муфтами 5 болтами 7 и гайками 8 (фиг.4). Муфты 5, охватывающие концы верхних 4 и нижних 3 трубчатых элементов, могут быть выполнены заодно со стяжками 6, укрепляющими боковые стороны станины (фиг.4). Середины нижних -образных трубчатых элементов соединены между собой стяжкой 9, на которой установлены с возможностью перемещения педали 10. Стяжка 9 (фиг.5) соединена с нижними -образными трубчатыми элементами 3 хомутами 11, вкладышами 12, болтами 13 и гайками 14. Положение педалей 10 на стяжке 9 фиксируется кольцами 15. На нижних -образных трубчатых элементах (фиг.1, 2) зафиксированы на равной высоте кольца 16, которые являются упорами для муфт 5. На концах верхних -образных трубчатых элементов нанесены риски 17.
Станина снабжена опорами 18, которые выполнены в виде пружинных скоб 19 (фиг.3), плотно охватывающих нижние -образные трубчатые элементы 3, на которых установлены резиновые башмаки 20. Опоры могут быть выполнены в виде квадратных резиновых втулок 20 (фиг.6), плотно охватывающих нижние -образные трубчатые элементы, при этом отверстия квадратных резиновых втулок выполнены со смещением “е” по отношению к центру квадратов.
Столешница 2 (фиг.7) выполнена из листовой пластмассы методом объемного вакуумного формования. В центре столешницы (фиг.7, 9) на внутренней стороне закреплена на трубчатых заклепках 21 стальная подложка 22 с ребрами жесткости “а”. Кроме того, на внутренней стороне столешницы заклепками 23 (фиг.8) закреплены пружинные зажимы 24 с амортизаторами 25. Пружинные зажимы 24 предназначены для крепления столешницы 2 на станине 1.
Столешница 2 (фиг.10, 11) может состоять из трех частей, центральной части 26 с прикрепленной изнутри стальной подложкой 22 с ребрами жесткости “а” и двух других частей 27, не имеющих подложек и присоединенных к центральной части болтами 28 и гайками 29. Крепление столешницы к станине осуществляется с помощью пружинных зажимов 24. Количество и расположение трубчатых заклепок 21 определяется количеством и расположением отверстий для крепления швейной машины 30 и ее электропривода 31 (фиг.1, 2). Крепление швейной машины 30 и электропривода 31 к столешнице 2 осуществляется болтами 32 и 33.
Установка стола осуществляется следующим образом.
Предлагаемый стол для промышленной швейной машины регулируется по высоте. Регулировку высоты удобнее производить без столешницы 2 во время сборки станины 1. Для этого необходимо ослабить гайки 8 (фиг.4) муфт 5, после чего поднять верхние -образные трубчатые элементы 4 на нужную высоту. Высота подъема определяется по рискам 17. Удерживая верхние -образные трубчатые элементы 4 на нужной высоте, завернуть гайки 8. Муфты 5 выполнены таким образом, что при отвинчивании гаек 8, они увеличиваются в диаметре за счет пружинящих свойств металла и, наоборот, при завинчивании гаек 8, муфты 5 уменьшаются в диаметре, плотно охватывая концы трубчатых элементов 3 и 4. При этом верхние -образные трубчатые элементы 4 надежно фиксируются на заданной высоте. После этого на станину 1 ставится столешница 2.
Стяжка 9 с педалями 10 перемещается вперед-назад, с последующей фиксацией в нужном положении. Для этого необходимо ослабить гайки 11 болтов 12 (фиг.5) и передвинуть стяжку 9 с педалями 10 в нужное положение, после чего завернуть гайки 11. Для перемещения педалей 10 на стяжке 9 необходимо ослабить стопорные кольца 15 и передвинуть педали 10 в новое положение. Зафиксировать педали 10 в новом положении стопорными кольцами 15.
Формула изобретения
1. Стол для промышленной швейной машины, содержащий станину с опорами и педалями, на которой установлена столешница, отличающийся тем, что станина выполнена из двух нижних U-образных трубчатых элементов и двух верхних трубчатых элементов, выполненных так, как это изображено на фиг.1, соединенных между собой муфтами, выполненными с возможностью регулировки верхних трубчатых элементов для фиксации стола на заданной высоте по рискам, нанесенным на концах верхних трубчатых элементов, при этом плоскости верхних трубчатых элементов расположены под углом 90° к плоскостям нижних трубчатых элементов, боковые стороны станины соединены стяжками с помощью муфт, а нижние трубчатые элементы соединены между собой стяжкой, установленной с возможностью перемещения вперед-назад, с последующей фиксацией ее в нужном положении, на стяжке установлены с возможностью перемещения и фиксации педали, опоры выполнены в виде квадратных резиновых втулок, охватывающих нижние U-образные трубчатые элементы, при этом отверстия втулок выполнены со смещением по отношению к центру квадратов, на внутренней стороне столешницы закреплены металлическая подложка с ребрами жесткости и пружинные зажимы, фиксирующие столешницу на станине.
2. Стол по п.1, отличающийся тем, что столешница выполнена из трех частей, к центральной части которой прикреплена изнутри металлическая подложка с ребрами жесткости, две другие части закреплены на верхних трубчатых элементах, выполненных так, как это изображено на фиг.1, с помощью пружинных зажимов и соединены с центральной частью.
РИСУНКИ
MM4A – Досрочное прекращение действия патента СССР или патента Российской Федерации на изобретение из-за неуплаты в установленный срок пошлины за поддержание патента в силе
Дата прекращения действия патента: 17.11.2007
Извещение опубликовано: 20.06.2009 БИ: 17/2009
|
|