|
|
(21), (22) Заявка: 2004115191/15, 20.05.2004
(24) Дата начала отсчета срока действия патента:
20.05.2004
(45) Опубликовано: 20.08.2005
(56) Список документов, цитированных в отчете о поиске:
SU 949979 A1, 07.12.1982. DE 3306515 A1, 30.08.1984. DE 3736341 A1, 11.05.1989.
Адрес для переписки:
142432, Московская обл., г. Черноголовка, ИФТТ РАН
|
(72) Автор(ы):
Брантов С.К. (RU), Кведер В.В. (RU), Кузнецов Н.Н. (RU)
(73) Патентообладатель(и):
ИНСТИТУТ ФИЗИКИ ТВЕРДОГО ТЕЛА РАН (RU)
|
(54) УСТРОЙСТВО ДЛЯ НЕПРЕРЫВНОГО ГРУППОВОГО ВЫРАЩИВАНИЯ ОРИЕНТИРОВАННЫХ СЛОЕВ КРЕМНИЯ НА УГЛЕРОДНОЙ ТКАНИ
(57) Реферат:
Изобретение относится к области выращивания из расплава поликристаллических слоев кремния и может найти применение в производстве солнечных элементов (фотопреобразователей). Сущность изобретения: устройство включает тигель для расплава, установленный внутри нагревателя, подложки, соединенные с механизмами их перемещения, и капиллярный питатель. Подложки выполнены из углеродной сетчатой ткани, а капиллярный питатель состоит из двух горизонтальных секций, размещенных слева и справа от тигля, каждая из которых имеет хвостовик, обмотанный жгутами из углеродной нити. Тигель выполнен с донным полым удлиненным носиком, снабженным независимым нагревателем, под тиглем установлена емкость для слива тигельного остатка, внутренняя поверхность которой покрыта слоем гексагонального нитрида бора, а над тиглем установлен вибрационный питатель для подачи дробленого кремния. 1 ил. 
Изобретение относится к области выращивания из расплава поликристаллических слоев кремния и может найти применение в производстве солнечных элементов (фотопреобразователей).
Известно устройство, содержащее тигель, нагреватель, вытягивающий механизм и приспособление для поддержания уровня расплава в тигле постоянным (Мейсон Б. Нанесение кремниевой пленки на керамические листовые подложки. “Электроника”, 1979, т.52, №15, с.10-11). Это устройство позволяет выращивать слои кремния на длинномерных керамических подложках, покрытых слоем углерода для смачивания расплавом кремния, с использованием горизонтальных желобообразных кварцевых тиглей.
Однако известное устройство имеет ряд недостатков. Так, поддержание уровня расплава в тигле постоянным представляет сложную техническую задачу. При проведении процесса выращивания слоя необходима процедура “затравливания”, состоящая в переполнении тигля расплавом при помощи приспособления для регулирования уровня, приведении подложки в контакт с расплавом и формировании мениска путем подъема подложки на необходимую высоту над стенками тигля, которая усложняет технологию и снижает производительность установки. Кроме того, керамическую подложку необходимо перфорировать, так как иначе невозможно создать тыльный контакт к выращенному слою кремния. Это дополнительно повышает стоимость продукции. Известно устройство для выращивания ориентированных кристаллических слоев на подложке (по авт. св. СССР №949979, опубл. 1982 г., Бюллетень изобретений и открытий, №45, с.283), включающее тигель для расплава, установленный внутри нагревателя, подложку, соединенную с механизмом ее перемещения, и питатель, вертикально расположенный в тигле, выполненный из смачиваемых расплавом пластин, образующих между собой капиллярный канал, и имеющий острые рабочие кромки для подачи расплава на подложку. Подложка расположена перпендикулярно пластинам питателя.
Недостатком устройства является необходимость использования только твердых подложек. При получении слоев кремния необходимо дополнительно выполнять в подложках отверстия для отверстия тыльного электрического контакта к слою кремния.
Другим недостатком известного устройства является неоправданно сложная конструкция питателя. Он выполнен сборным из пластин графита. Питатель экономически выгоднее выполнять монолитным, а капиллярные каналы – полуоткрытыми.
Известное устройство не предусматривает подачу шихты в плавильный тигель. Поддержание уровня расплава в тигле относительно уровня подложки обеспечивается постепенным перемещением тигля вверх. Это ограничивает производительность непрерывного процесса емкости тигля.
Другим недостатком известного устройства является однократное использование тигля, т.к. после каждого процесса он разрушается.
Вышеприведенное устройство наиболее близко по технической сущности к заявляемому устройству, поэтому выбрано в качестве прототипа.
Технический результат, получаемый при осуществлении настоящего изобретения, выражается в увеличении производительности устройства и снижении материальных затрат на устройство за счет группового выращивания слоев кремния на углеродной ткани, многократного использования тигля и применения вибрационного питателя для подачи дробленого кремния в тигель.
Сущность предлагаемого изобретения состоит в том, что в устройстве для выращивания ориентированных кристаллических слоев кремния, включающем тигель для расплава, установленный внутри нагревателя, подложки, соединенные с механизмами их перемещения, и капиллярный питатель, подложки выполнены из углеродной сетчатой ткани, капиллярный питатель состоит из двух горизонтальных секций, размещенных слева и справа от тигля, каждая из которых имеет хвостовик, обмотанный жгутами из углеродной нити, тигель выполнен с донным полым удлиненным носиком, снабженным независимым нагревателем, под тиглем устанавливается емкость для слива тигельного остатка, внутренняя поверхность которой покрыта слоем гексагонального нитрида бора, для непрерывной подачи дробленого кремния в тигель используется установленный над ним вибрационный питатель.
Благодаря наличию этих признаков возможно выращивание слоев кремния на поверхности группы подложек одновременно. Выполнение капиллярного питателя в виде двух горизонтальных секций позволяет при обеспечении высокой производительности использовать лишь один тигель с системами его подпитки кремнием и слива тигельного остатка по завершении процесса. Капиллярные каналы обеих секций питателя соединены и гидростатическое давление расплава в них одинаково.
Тигель с донным полым удлиненным носиком может использоваться неограниченное количество раз при условии слива остатка расплава после завершения процесса. Слитый тигельный остаток может также использоваться в качестве сырья для проведения следующих процессов.
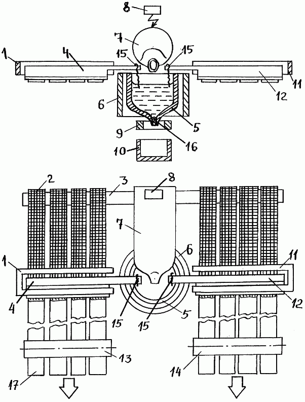
Предлагаемое устройство иллюстрируется чертежом. Тепловая изоляция, крепежные элементы и детали механизмов на нем не приведены.
Устройство для непрерывного группового выращивания ориентированных слоев кремния на углеродной ткани содержит левый нагреватель 1, выполненный из графита, подложки 2 из углеродной сетчатой ткани, намотанные на бобину 3, левую секцию капиллярного питателя 4, графитовый тигель 5, нагреватель тигля 6, установленный над тиглем 5 вибрационный питатель дробленного кремния 7 с виброприводом 8, нагреватель 9 носика тигля 5, емкость для слива тигельного остатка 10, правый нагреватель 11, правую секцию капиллярного питателя 12, левый роликовый механизм вытягивания 13 и правый механизм – 14. Хвостовик каждого из питателей обматывается жгутами 15 из углеродной нити для капиллярной подачи расплава. Подложка 2 из сетчатой углеродной ткани нарезается на мерные полосы, подвергается уплотнению пироуглеродом и термохимической очистке галогенами. Бобина 3 размещается в ростовой камере или за ее пределами и снабжается тормозом для натяжения подложек. Секции капиллярных питателей 4 и 12 выполняются из плотного графита и дополнительно подвергаются термохимической очистке и уплотнению пироуглеродом.
Внутренняя поверхность емкости 10 для слива тигельного остатка защищается слоем гексагонального гидрида бора для предотвращения смачивания расплавленным кремнием и последующего разрушения после кристаллизации и охлаждения. Слой может наноситься втиранием порошка нитрида бора в поверхность графита либо способом пульверизации из суспензии BN.
Тигель 5 изготавливается из высокоплотного графита и проходит до использования те же операции. Вибрационный питатель 7 изготовлен из плавленого кварца (графита, стали). Вибропривод 8 размещается над корпусом вибрационного питателя и управляется источником напряжения, размещенным за пределами ростовой камеры. Механизмы 13 и 14 размещены также за пределами ростовой камеры и включают пары обрезиненных горизонтальных роликов, редукторы и электроприводы с системами их управления.
Устройство работает следующим образом.
Нарезанная на мерные ленты, модифицированная пироуглеродом и подвергнутая термохимической очистке углеродная сетчатая подложка 2, намотанная на графитовую бобину 3, снабженную тормозом для натяжения подложки, устанавливается внутри ростовой камеры, либо в отдельном корпусе, связанном с ней вакуумно-плотными фланцами. В полости графитового нагревателя 6 устанавливается графитовый тигель 5. На электрически изолированных крепежных элементах устанавливаются левая 4 и правая 12 секции капиллярного питателя. Хвостовики каждой из секций обматываются жгутами 15 из углеродной нити. Вибрационный питатель 7 загружают очищенным дробленым кремнием. К вибрационному питателю 7 подключают вибропривод 8. Подложки 2 выводятся к выпускным щелям ростовой камеры, которые закрываются вакуумно-плотными крышками. После проведения откачки камеры включают систему нагрева и достигают температуры, превышающей точку плавления кремния. Затем включают вибропривод 8 и заполняют тигель 5 расплавом кремния. При этом в донном полом удлиненном носике тигля образуется пробка 16 кристаллического кремния, предотвращающая слив расплава. После этого выключают откачку и заполняют ростовую камеру чистым аргоном до атмосферного давления. Затем открывают крышки выпускных щелей ростовой камеры, вытягивают подложки и заправляют их концы между роликами механизмов вытягивания 13 и 14. В дальнейшем производят подачу аргона с расходом, обеспечивающим предотвращение окисления расплавленного кремния. После натяжения подложек 2 устанавливают скорость их перемещения и темп подачи дробленого кремния. По мере выхода продукции 17 (подложек со слоем кремния) их механически обламывают, при этом процесс продолжается вплоть до исчерпания запаса кремния в вибрационном питателе 7 или подложек на бобине 3.
После завершения процесса выключают механизмы вытягивания 13 и 14, механически обламывают выращенные подложки со слоем кремния до уровня, позволяющего закрыть выпускные щели ростовой камеры. Щели закрывают вакуумно-плотными крышками, подачу аргона прекращают и включают откачку. По достижении разрежения включают нагреватель носика тигля 9, после чего происходит плавления пробки 16 и слив тигельного остатка в приемную емкость 10.
Затем все нагревательные элементы выключаются. После охлаждения ростовой камеры производится удаление тигельного остатка из приемной емкости 10. При этом тигель 5 остается целым и может быть использован в неограниченном числе описанных циклов.
Формула изобретения
Устройство для непрерывного группового выращивания ориентированных слоев кремния, включающее тигель для расплава, установленный внутри нагревателя, подложки, соединенные с механизмами их перемещения, и капиллярный питатель, отличающееся тем, что подложки выполнены из углеродной сетчатой ткани, капиллярный питатель состоит из двух горизонтальных секций, размещенных слева и справа от тигля, каждая из которых имеет хвостовик, обмотанный жгутами из углеродной нити, тигель выполнен с донным полым удлиненным носиком, снабженным независимым нагревателем, под тиглем установлена емкость для слива тигельного остатка, внутренняя поверхность которой покрыта слоем гексагонального нитрида бора, а над тиглем установлен вибрационный питатель для подачи дробленого кремния.
РИСУНКИ
|
|