|
|
(21), (22) Заявка: 2004115050/02, 19.05.2004
(24) Дата начала отсчета срока действия патента:
19.05.2004
(45) Опубликовано: 20.08.2005
(56) Список документов, цитированных в отчете о поиске:
RU 2220222 С1, 27.12.2003. SU 1479542 А1, 15.05.1989. DE 1295196 А, 14.05.1969. ГАСИК М.И. и др. Теория и технология электрометаллургии ферросплавов. М., СП ИНТЕРМЕТ ИНЖИНИРИНГ, 1999, с.560-570.
Адрес для переписки:
144011, Московская обл., г. Электросталь, ул. Спортивная, 47, кв.191, А.В. Аладьину
|
(72) Автор(ы):
Баканов В.К. (RU), Федун М.П. (RU), Павлов А.В. (RU), Григорян В.А. (RU), Пастихин В.В. (RU)
(73) Патентообладатель(и):
Баканов Виталий Константинович (RU), Федун Марина Петровна (RU), Павлов Александр Васильевич (RU), Григорян Вули Аршакович (RU), Пастихин Валерий Васильевич (RU)
|
(54) СПОСОБ ОБОГАЩЕНИЯ ТИТАНОКРЕМНЕЗЕМИСТЫХ КОНЦЕНТРАТОВ
(57) Реферат:
Изобретение относится к металлургии и может быть использовано для получения искусственного рутила из титаносодержащего сырья, в частности из лейкоксеновых концентратов, полученных при обогащении титано-кремнеземистых руд. В способе плавку осуществляют в водоохлаждаемом кристаллизаторе, в который на дно загружают слой неэлектропроводной исходной шихты и создают в центре нее канал с диаметром, приблизительно равным двум диаметрам электрода, который заполняют токопроводящей шихтой. После чего соединяют кристаллизатор с минусом, а электрод с плюсом блока питания постоянного тока и опускают электрод до соприкосновения с токопроводящей шихтой до возникновения устойчивой дуги, а после начала кристаллизации титанового шлака осуществляют выход плавки на основной рабочий период – наплавление шлакового блока, в течение всего периода которого периодически до окончания плавки осуществляют порционную загрузку шихты заданной рецептуры. Токопроводящую шихту создают добавлением в исходную шихту не менее 33% коксика от массы шихты. Изобретение позволяет снизить теплопотери, связанные с нагревом металлической ванны до температуры плавления титано-кремнеземистого концентрата, а также дополнительно обогащать титанистый шлак оксидами титана за счет направленной кристаллизации титанистого шлака при наплавлении слитка в водоохлаждаемом кристаллизаторе. 2 з.п. ф-лы, 7 табл., 1 ил. 
Изобретение относится к металлургии и может быть использовано для получения искусственного рутила из титаносодержащего сырья, в частности из лейкоксеновых концентратов, полученных при обогащении титано-кремнеземистых руд.
Известен способ обогащения титано-кремнеземистых концентратов, заключающийся в создании в печи жидкой металлической ванны, на поверхность которой загружают шихту, содержащую лейкоксеновый концентрат, в повышении температуры в печи выше температуры плавления металлической ванны и выдержке расплава до разделения по плотности его на кремне-титановый и титано-кремнистый расплавы, которые затем сливают порознь. (См., например, патент RU 2220222 С1 с приоритетом от 16.09.2002 на “Способ обогащения титано-кремнистых концентратов”).
Данное изобретение является прототипом для заявленного решения.
Одним из основных недостатков известного изобретения является его инерционность и значительные теплопотери, связанные с нагревом металлической ванны до температуры плавления титано-кремнеземистого концентрата.
Предложенное изобретение свободно от вышеперечисленных недостатков.
Способ обогащения титано-кремнеземистых концентратов, включающий загрузку и плавку шихты, отличающийся тем, что плавку осуществляют в водоохлаждаемом кристаллизаторе, в который на дно загружают слой неэлектропроводной исходной шихты и создают в центре нее канал с диаметром, приблизительно равным двум диаметрам электрода, который заполняют токопроводящей шихтой, после чего соединяют кристаллизатор с минусом, а электрод с плюсом блока питания постоянного тока и опускают электрод до соприкосновения с токопроводящей шихтой до возникновения устойчивой дуги, а после начала кристаллизации титанового шлака осуществляют выход плавки на основной рабочий период – наплавление шлакового блока, в течение всего периода которого периодически до окончания плавки осуществляют порционную загрузку шихты заданной рецептуры. Токопроводяшую шихту создают добавлением в исходную шихту не менее 33% коксика от массы шихты. Слой неэлектропроводной исходной шихты, загружаемой на дно кристаллизатора, составляет 1,5-2 диаметра электрода.
Все перечисленные признаки позволяют устранить вышеперечисленные недостатки прототипа. Кроме того, в процессе плавки происходит дополнительное обогащение шихты за счет направленной кристаллизации шлака при наплавлении слитка. При этом более тугоплавкие кристаллы оксидов титана кристаллизируются первыми и оттесняют более легкий силикатный расплав вверх.
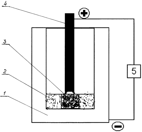
Сущность изобретения поясняется чертежом, где схематично изображено устройство для осуществления способа обогащения титано-кремнеземистых концентратов.
Обозначения на чертеже следующие.
Печь, которая выполнена в виде кристаллизатора 1, изготовленного из меди и охлаждаемого водой, на дне которого находится исходная шихта 2 с токопроводящим каналом 3 в центре. Токопроводящий канал 3 состоит из исходной шихты с содержанием в ней коксика не менее 33% от массы шихты и выполнен с диаметром, соответствующим двум диаметрам электрода 4, который коаксиально установлен в кристаллизаторе 1. Электрод 4 выполнен графитизированным и подключен к плюсу, а кристаллизатор 1 – к минусу блока питания 5 постоянного тока.
Способ осуществляется следующим образом.
На дно кристаллизатора 1 подают шихту 2, образуя слой высотой, соответствующей величине 1,5-2 диаметра электрода. Исходная шихта 2 состоит из титано-кремнеземистого концентрата и 5-6% коксика от массы концентрата фракции 0,1 мм, которая при комнатной температуре неэлектропроводна. Этот слой может быть также образован из исходного концентрата с материалом гарнисажного слоя; возможно – из чистого исходного концентрата или только из материала гарнисажа. В центре этого слоя создают токопроводящий канал 3, диаметр которого пропорционален внутреннему диаметру печи и приблизительно равен двум диаметрам электрода 4. Из этого следует, что при диаметре кристаллизатора 1, равном 1,6 м, и диаметре электрода 300 см начальный слой на дне кристаллизатора будет выглядеть следующим образом. При насыпной плотности концентрата, равной 1420 кг/м3, и при насыпной плотности порошка коксика 863 кг/м3 расчетная плотность смеси из 67% концентрата и 33% коксика составит 1240 кг/м3. Соответственно, масса проводящей шихты в токопроводящем канале 4 будет равна 346 кг, из которых 232 кг чистого концентрата и 114 кг коксика. Масса “заполнителя” вокруг токопроводящего канала 3 составит 1600 кг. После создания токопроводящего канала 3 электрод 4 опускают внутрь кристаллизатора 1 до соприкосновения с шихтой токопроводящего канала 3 и возникновения устойчивой дуги.
Общая масса концентрата на дне кристаллизатора начального слоя составляет 1832 кг. При стартовой мощности печи в 3000 кВт/ч время расплавления такого количества шихты составит 1,2-1,5 часа, при этом получится 1212 кг титанового шлака и 426 кг силикатного шлака, которые образуют жидкий шлаковый слой толщиной 25 см. В это же время начинается кристаллизация титанового шлака, что означает выход печи на основной рабочий период плавки – наплавление шлакового блока.
После выхода на основной рабочий период плавки мощность снижают до 2535 кВт/ч и в печь загружают в течение всего периода наплавления шлакового блока шихту 2 заданной рецептуры. Углерод, введенный в шихту в виде коксика, способствует лучшему разделению жидких фаз, энергичному замешиванию подаваемой сыпучей шихты 2 в расплав и переводит горение электрической дуги в слой пенистого шлака, экранируя дугу и уменьшая потери тепла за счет излучения дуги в пустое пространство печи. В ходе плавки за счет углерода происходит также восстановление высших оксидов титана до низших. Обогащение титанистого шлака протекает за счет эффекта расслоения в жидком состоянии титано-кремнеземистого концентрата на две несмешивающиеся жидкости – титанистоцелевой шлак и кремнеземистый побочный шлак, и дальнейшего разделения расплавов по плотности. Дополнительное обогащение титанистого шлака оксидами титана достигается за счет направленной кристаллизации титанистого шлака при наплавлении слитка на водоохлаждаемый кристаллизатор. При этом более тугоплавкие кристаллы оксидов титана кристаллизуются первыми и оттесняют более легкий силикатный расплав вверх. При плавке на постоянном токе полярности: “-” на ванне, “+” на электроде, обеспечивается дополнительное удаление оксидов железа из шлака в металл, уменьшение содержания в шлаке оксида кремния за счет улета моноокиси кремния и ускорение оседания капель электропроводного титанистого шлака из силикатного шлака с преимущественно ионной проводимостью.
Загрузку печи осуществляют периодически, порциями по 50-150 кг, сообразуя подачу шихты с расходом электроэнергии и визуальным наблюдением за проплавлением шихты, не допуская “раскрытие” колошника, т.е. поверхность расплава должна быть закрыта слоем непроплавленной шихты 2, причем во время плавки осуществляют равномерное перемещение электрода вверх. Длительность этого периода плавки составляет 11-12 часов.
Для выведения усадочной раковины титанистой части блока и создания ровной поверхности раздела титанистой и силикатной частей шлакового блока в конце плавки проводят постепенное уменьшение снимаемой мощности в течение 1,5-2 часов. При завершении плавки прекращается подача шихты в печь и проводится проплавление колошника печи для более полного осаждения капель титанистого шлака из силикатного шлака и, соответственно, для максимально возможного разделения титанистого и кремнистого шлака. После окончания плавки печь обесточивается и кристаллизатор 1 без отключения водяного охлаждения выкатывают.
При использовании 100 кг титано-кремнеземистого концентрата и коксика состава, представленного в Таблице 1:

На 1000 кг титанового шлака:


Фазовая структура титанистого шлака состоит из вытянутых в вертикальном направлении кристаллов полуторного оксида титана TiO3, разделенных прослойками силикатного стекла с редкими металлическими включениями углеродистого железа.

Фазовая структура силикатного шлака состоит из силикатного стекла. Иногда встречаются не успевшие осесть глобули титанистого шлака.

Основным отходом производства является силикатный шлак состава с 75% SiO2 и 20% Ti2O3, образующийся при использовании 67,5% исходного концентрата в количестве 350 кг на 1 т титанистого шлака с 82% Ti2О3 (92% TiO2 в пересчете). Данный шлак может быть использован для производства шлакоситаллового литья при последующем разбавлении силикатного шлака известьсодержащими материалами до SiO2/CaO=1,5.
В процессе проведения разделительной плавки образуется до 38 кг пыли на 1000 кг титанового шлака.
Пыль не абразивная. Удельное электрическое сопротивление пыли неблагоприятно для улавливания ее в электрофильтрах, пыль имеет высокий угол естественного отсоса и плохо удаляется из бункеров, хорошо смачивается водой. Пыль с такими свойствами хорошо улавливается в тканевых фильтрах.
Учитывая, что такая пыль будет обогащена оксидом кремния за счет селективного испарения моноксида кремния в ходе плавки, целесообразно не использовать ее для нового переплава в печи, а совместно с силикатным шлаком использовать для производства шлакоситаллового литья. Пыль, улавливаемая при дроблении титанового шлака, в дальнейшем идет на переплав в электропечь.
Состав отходящих газов при плавке в закрытом режиме, об.%: СО – до 41%; CO2 -11,606%; Н2О – 1,675%; N2 – 44,676%; СН4 – 0,778% (возможно наличие водорода Н2 – до 2%). Количество отходящих газов – 370 м3/1000 кг титанистого шлака.
Отходящие газы, кроме очистки от пыли, необходимо очищать от угарного газа и других горючих газов. Целесообразно использовать колошниковые газы в качестве вспомогательного технологического топлива в других технологических процессах.
Данный способ позволяет производить без дополнительных масштабных восстановительных процессов обогащение титанистого шлака оксидами титана за счет направленной кристаллизации титанистого шлака при наплавлении слитка в водоохлаждаемом кристаллизаторе.
Формула изобретения
1. Способ обогащения титанокремнеземистых концентратов, включающий загрузку и плавку шихты, отличающийся тем, что плавку осуществляют в водоохлаждаемом кристаллизаторе, в который на дно загружают слой неэлектропроводной исходной шихты и создают в центре нее канал с диаметром, приблизительно равным двум диаметрам электрода, который заполняют токопроводящей шихтой, после чего соединяют кристаллизатор с минусом, а электрод с плюсом блока питания постоянного тока и опускают электрод до соприкосновения с токопроводящей шихтой до возникновения устойчивой дуги, а после начала кристаллизации титанового шлака осуществляют выход плавки на основной рабочий период – наплавление шлакового блока, в течение всего периода которого периодически до окончания плавки осуществляют порционную загрузку шихты заданной рецептуры.
2. Способ по п.1, отличающийся тем, что токопроводяшую шихту создают добавлением в исходную шихту не менее 33% коксика от массы шихты.
3. Способ по п.1, отличающийся тем, что слой неэлектропроводной исходной шихты, загружаемой на дно кристаллизатора, составляет 1,5-2 диаметра электрода.
РИСУНКИ
MM4A – Досрочное прекращение действия патента СССР или патента Российской Федерации на изобретение из-за неуплаты в установленный срок пошлины за поддержание патента в силе
Дата прекращения действия патента: 20.05.2006
Извещение опубликовано: 27.04.2007 БИ: 12/2007
MM4A – Досрочное прекращение действия патента СССР или патента Российской Федерации на изобретение из-за неуплаты в установленный срок пошлины за поддержание патента в силе
Дата прекращения действия патента: 20.05.2006
Извещение опубликовано: 20.06.2007 БИ: 17/2007
|
|