|
|
(21), (22) Заявка: 2004107212/02, 10.03.2004
(24) Дата начала отсчета срока действия патента:
10.03.2004
(45) Опубликовано: 20.08.2005
(56) Список документов, цитированных в отчете о поиске:
RU 2100462 C1, 27.12.1997. RU 2149199 С1, 20.05.2000. GB 2119490 А, 16.11.1983. ЕР 0091414 А1, 12.10.1983. WO 03/040418 А1, 15.05.2003. WO 03/020992 А1, 13.03.2003.
Адрес для переписки:
618421, Пермская обл., г. Березники, пр. Ленина, 101, ОАО “РИТМ”
|
(72) Автор(ы):
Путин А.А. (RU), Путина О.А. (RU), Гулякин А.И. (RU), Рымкевич Д.А. (RU), Чутков А.П. (RU), Танкеев А.Б. (RU)
(73) Патентообладатель(и):
Открытое акционерное общество “Российский научно-исследовательский и проектный институт титана и магния” (ОАО “РИТМ”) (RU), Открытое акционерное общество “АВИСМА титано-магниевый комбинат” (ОАО “АВИСМА”) (RU)
|
(54) АППАРАТ ДЛЯ ВАКУУМНОЙ СЕПАРАЦИИ ГУБЧАТОГО ТИТАНА
(57) Реферат:
Изобретение относится к цветной металлургии, в частности к устройствам для очистки губчатого титана. Технический результат – повышение производительности аппарата за счет снижения трудозатрат на его обслуживании и ускорение процесса вакуумной сепарации за счет стабилизации температурного режима в реторте-конденсаторе. Аппарат включает реторту-реактор с донным патрубком и ложным дном, закрытую крышкой с центральным патрубком, закрытым легкоплавкой заглушкой, реторту-конденсатор с донным патрубком с заглушкой, кессон с распределителем воды, тепловой экран с легкоплавкой заглушкой. Он дополнительно снабжен металлическим насадком, жестко установленным в центральном патрубке крышки под легкоплавкой заглушкой и выполненным в виде усеченного конуса, обращенного меньшим основанием к легкоплавкой заглушке, с входным и выходным отверстиями, металлической обечайкой, установленной в донном патрубке реторты-конденсатора и жестко соединенной с заглушкой; и жестко установленной в верхней части кессона герметичной крышкой, под которой размещены донный патрубок реторты-конденсатора и распределитель воды. 6 з.п. ф-лы, 1 ил. 
Изобретение относится к цветной металлургии, в частности к устройствам для получения губчатого титана магнитермическим восстановлением его тетрахлорида, в частности к устройствам для очистки губчатого титана от магния и его хлорида путем вакуумной высокотемпературной отгонки.
Известен аппарат для вакуумной сепарации губчатого титана (Титан. В.А.Гармата и др. – М.: Металлургия, 1983 г., с.391), который состоит из реторты-реактора с крышкой с центральным патрубком, донным патрубком, теплового экрана, верхнего конденсатора (реторта-конденсатор с открытым кессоном) с распределителем воды и верхним вакуум-отводом, подсоединенного к донному патрубку.
Недостатками данного устройства является то, что производительность такого аппарата низкая, а трудозатраты на его обслуживание повышены из-за осаждения конденсата (магний и его хлорид) в монтажные зазоры (между стенкой реторты-конденсатора и экраном) и на поверхности экрана. Это затрудняет демонтаж аппарата вакуумной сепарации, снижая его производительность и увеличивая трудозатраты при его демонтаже. В ходе процесса вакуумной сепарации требуется постоянное наблюдение за вакуумной прокладкой на донном патрубке реторты-конденсатора, проплавление которой ведет к разгерметизации аппарата и возгоранию губчатого титана и конденсатного магния. Следовательно, при этом непомерно возрастают трудозатраты и снижается производительность аппарата.
Наиболее близким к заявляемому аппарату является известное устройство по патенту №2100462 (опубл. 22.02.1996) – прототип, состоящее из реторты-реактора с донным патрубком, ложным дном, крышкой с центральным патрубком и с фланцем, через который проходит вакуум-отвод (боковой отсос), реторты-конденсатора с донным патрубком, закрытым заглушкой, ложным дном, с открытым кессоном, распределителем воды, размещенным на реторте-конденсаторе, теплового экрана.
Недостатками данного устройства является то, что эта конструкция аппарата вакуумной сепарации имеет пониженную производительность и повышенные трудозатраты при его обслуживании. При эксплуатации такого устройства происходит осаждение конденсатных продуктов (магния и его хлорида) в монтажных зазорах между экраном и стенкой реторты-конденсатора, а также в донном патрубке, что значительно затрудняет демонтаж аппарата, т.е. снижает его производительность и повышает трудозатраты. В ходе процесса вакуумной сепарации требуется постоянное наблюдение за вакуумной прокладкой на донном патрубке реторты-конденсатора, проплавление которой ведет к разгерметизации аппарата и возгоранию губчатого титана и конденсатного магния. Кроме того, использование реторты-конденсатора с открытым кессоном приводит к большому парообразованию и загазованности атмосферы.
Технический результат заявляемого изобретения заключается в устранении недостатков прототипа и в повышении производительности аппарата за счет снижения трудозатрат на его обслуживание и ускорения процесса вакуумной сепарации за счет стабилизации температурного режима в реторте-конденсаторе.
Технический результат достигается тем, что в аппарате для вакуумной сепарации губчатого титана, включающем реторту-реактор с донным патрубком и ложным дном, закрытую крышкой с центральным патрубком, закрытым легкоплавкой заглушкой реторту-конденсатор с донным патрубком с заглушкой, кессон с распределителем воды, тепловой экран с легкоплавкой заглушкой, новым является то, что он дополнительно снабжен металлическим насадком, жестко установленным в центральном патрубке крышки под легкоплавкой заглушкой и выполненным в виде усеченного конуса, обращенным меньшим основанием к легкоплавкой заглушке, с входным и выходным отверстиями металлической обечайкой, установленной в донном патрубке и жестко соединенной с заглушкой; и жестко установленной в верхней части кессона герметичной крышкой, под которой размещен донный патрубок и распределитель воды.
Кроме того, металлический насадок приварен к внутренней стороне центрального патрубка.
Кроме того, металлическая обечайка приварена к внутренней поверхности донного патрубка.
Кроме того, металлическая обечайка выполнена П-образной формы. Кроме того, крышка приварена к кессону.
Кроме того, отношение высоты центрального патрубка с насадком к высоте крышки равно 1,0-1,5.
Кроме того, отношение меньшего и большего диаметров усеченного конуса равно 0,4-0,6.
Снабжение центрального патрубка крышки насадком с соотношением диаметров выходного к входному отверстию как 0,4-0,6, а отношение высоты патрубка с насадком к высоте крышки 1,0-1,5 создают направленный поток паров магния и его хлорида в реторту-конденсатор, что позволяет равномерно сконденсировать их на внутренней поверхности реторты-конденсатора выше монтажных зазоров и поверхности теплового экрана. Такое расположение конденсата в реторте-конденсаторе снижает трудозатраты при демонтаже аппарата, сокращает время демонтажа аппарата, тем самым повышает его производительность.
Снабжение донного патрубка П-образной металлической обечайкой, жестко прикрепленной заглушке и установленной внутри донного патрубка реторты-конденсатора, позволяет исключить забивание донного патрубка конденсатом, что снижает трудозатраты при демонтаже заглушки. Следовательно, повышается производительность аппарата и снижаются трудозатраты при его демонтаже.
Применение закрытого кессона с крышкой и установка под крышкой распределителя воды позволяет осуществлять процесс конденсации без дополнительных трудозатрат для обслуживания распределителя воды, который в известном устройстве установлен непосредственно на реторте-конденсаторе. Кроме того, условия конденсации в реторте-конденсаторе с использованием закрытого кессона позволяют регулировать температуру в реторте-конденсаторе, что способствует образованию более плотного конденсата, тем самым ускоряет процесс вакуумной сепарации, повышает производительность аппарата вакуумной сепарации.
Следовательно, все признаки заявляемого изобретения способствуют повышению производительности аппарата для вакуумной сепарации губчатого титана и снижению трудозатрат на его обслуживание.
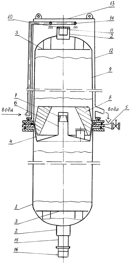
Аппарат для вакуумной сепарации губчатого титана изображен на чертеже. Аппарат состоит из реторты-реактора 1 с донным патрубком 2, ложным дном 3, крышкой 4 с боковым вакуумным отводом 5 во фланце крышки 4, центральным патрубком 6 с жестко прикрепленным внутри него насадком 7 в форме усеченного конуса, в котором соотношение диаметров выходного отверстия к входному составляет 0,4-0,6, а соотношение высоты патрубка 6 с насадком 7 к высоте крышки 4 составляет 1,0-1,5. Сверху крышки 4 установлен тепловой экран 8 и реторта-конденсатор 9 с ложным дном 3 и донным патрубком 2, к которому жестко прикреплена (приварена) заглушка 10 с металлической П-образной обечайкой 11. На реторту-конденсатор 9 установлен кессон 12, герметично закрытый крышкой 13 (например, приваренной), под которой установлен распределитель воды 14. К донному патрубку 2 реторты-реактора 1 приварено сливное устройство 15 с заглушкой 16.
Аппарат для вакуумной сепарации губчатого титана работает следующим образом.
В реторте-реакторе 1 с ложным дном 3, донным патрубком 2, сливным устройством 15, герметизированной крышкой 4 с центральным патрубком 6 и приваренным к нему насадком 7 в ходе процесса магниетермического восстановления тетрахлорида титана предварительно получают реакционную массу губчатого титана, состоящую из губчатого титана (4,3 т), поры которого заполнены магнием (3 т) и хлористым магнием (1,0 т). После окончания процесса восстановления сливное устройство 15 герметизируют заглушкой 16 и монтируют аппарат вакуумной сепарации. На крышку 4 реторты-реактора 1 с реакционной массой устанавливают тепловой экран 8 и реторту-конденсатор 9 с донным патрубком 2 с заглушкой 10, к которой приварена металлическая П-образная обечайка 11, фланцы аппарата сепарации герметизируют болтовыми соединениями. На реторту-конденсатор устанавливают кессон 12, герметично закрытый крышкой 13, например, приваренной электросваркой. К кессону 12 закреплен распределитель воды 14. Собранный таким образом аппарат для вакуумной сепарации помещают в печь вакуумной сепарации. Боковой отсос 5 подсоединяют к вакуумной системе и вакуумируют аппарат. Реторту-реактор нагревают до 1000°С, реторту-конденсатор 9 охлаждают водой, подаваемой на ее поверхность через распределитель воды 14, закрепленный на кессоне 12.
При нагреве реакционной массы из нее испаряются магний и его хлорид. Их пары проходят через патрубок 6 и насадок 7, который направляет их в реторту-конденсатор 9 и способствует равномерному их осаждению на внутренней поверхности реторты-конденсатора. Пары магния и его хлорида осаждаются выше экрана 8 и не забивают монтажные зазоры и донный патрубок реторты-конденсатора 9, что способствует быстрому демонтажу аппарата вакуумной сепарации и снижает трудозатраты на его демонтаж. Таким образом, повышается производительность аппарата вакуумной сепарации и снижаются трудозатраты на его обслуживание.
Применение кессона 12, герметично закрытого сверху крышкой 13 с закрепленным под ней распределителем воды 14, позволяет управлять процессом конденсации магния и его хлорида, получать плотный конденсат, тем самым ускорять этот процесс: с ростом плотности конденсата увеличивается его теплопроводность и температуропроводность, т.е. снижается температура в реторте-конденсаторе, что увеличивает перепад давления между ретортой-реактором и ретортой-конденсатором – главной движущей силы процесса.
Следовательно, использование закрытого кессона 12 и закрепленного к нему распределителя воды 14 увеличивает производительность аппарата и снижает трудозатраты на его эксплуатацию.
Простота конструкции описанного аппарата позволяет на 15% сократить время его монтажа и демонтажа, что повышает его производительность. Кроме того, данная конструкция позволяет создать условия равномерного распределения конденсатного магния и его хлорида на внутренней поверхности реторты, что увеличивает производительность аппарата на 10%.
Формула изобретения
1. Аппарат вакуумной сепарации губчатого титана, включающий реторту-реактор с донным патрубком и ложным дном, закрытую крышкой с центральным патрубком, закрытым легкоплавкой заглушкой, реторту-конденсатор с донным патрубком с заглушкой, кессон с распределителем воды, тепловой экран с легкоплавкой заглушкой, отличающийся тем, что он дополнительно снабжен металлическим насадком, жестко установленным в центральном патрубке крышки под легкоплавкой заглушкой и выполненным в виде усеченного конуса, обращенного меньшим основанием к легкоплавкой заглушке, с входным и выходным отверстиями, металлической обечайкой, установленной в донном патрубке реторты-конденсатора и жестко соединенной с заглушкой, и жестко установленной с верхней части кессона герметичной крышкой, под которой размещен донный патрубок реторты-конденсатора и распределитель воды.
2. Аппарат по п.1, отличающийся тем, что металлический насадок приварен к внутренней стороне центрального патрубка.
3. Аппарат по п.1, отличающийся тем, что металлическая обечайка приварена к внутренней поверхности донного патрубка.
4. Аппарат по п.1, отличающийся тем, что металлическая обечайка выполнена П-образной формы.
5. Аппарат по п.1, отличающийся тем, что крышка приварена к кессону.
6. Аппарат по п.1, отличающийся тем, что отношение высоты центрального патрубка с насадком к высоте крышки реторты-реактора равно 1,0-1,5.
7. Аппарат по п.1, отличающийся тем, что отношение меньшего и большего диаметров оснований усеченного конуса равно 0,4-0,6.
РИСУНКИ
|
|