|
|
(21), (22) Заявка: 2003120766/02, 07.07.2003
(24) Дата начала отсчета срока действия патента:
07.07.2003
(43) Дата публикации заявки: 27.02.2005
(45) Опубликовано: 20.08.2005
(56) Список документов, цитированных в отчете о поиске:
SU 168449 А, 22.02.1965. ХУДЯКОВ И.Ф. и др. Металлургия вторичных тяжелых цветных металлов. М.: Металлургия, 1987, с.149. RU 2171853 С2, 10.08.2001.
Адрес для переписки:
663310, г. Норильск, ул. 50 лет Октября, 7, Норильский индустриальный институт
|
(72) Автор(ы):
Томилина Т.Н. (RU), Рогова Л.И. (RU)
(73) Патентообладатель(и):
Норильский индустриальный институт (RU)
|
(54) СПОСОБ ПЕРЕРАБОТКИ ВЫЛОМОК СЛУЖИВШИХ ФУТЕРОВОК
(57) Реферат:
Способ относится к переработке техногенного сырья производства цветных металлов. Выломки служивших футеровок электролизных ванн электролитического рафинирования никеля, пропитанные электролитом, измельчают, а затем выщелачивают разбавленной серной кислотой при перемешивании пульпы, причем измельчение материала осуществляют до крупности – 0,075 мм, а выщелачивание проводят при температуре 60-70°С в течение 1-2 часов при концентрации серной кислоты 15-20%. Из раствора после выщелачивания осаждают медь цементацией никелевым порошком с последующей переработкой цементной меди и никельсодержащего раствора соответственно в медном и никелевом производстве, обеспечивается повышение степени извлечения цветных металлов из медьсодержащего сырья. 1 ил., 1 табл. 
Изобретение относится к переработке техногенного сырья производства цветных металлов и может быть использовано для извлечения цветных металлов из отходов производства, а именно из кислотоупорной футеровки электролизных ванн производства меди.
На медеплавильных заводах из электролизных ванн во время ремонта удаляется кислотоупорная отслужившая футеровка, слои которой, пропитанные электролитом, содержат меди до 2%, никеля до 0,05%. В настоящее время данная футеровка в переработку не вовлекается и является постоянным каналом техногенного рассеяния цветных металлов. Так, например, только для ЗФ ОАО ГМК «Норильский никель», масса пропитанной электролитом футеровки превышает 1200 тонн в год.
Известен способ гидрометаллургической переработки отходов металлургического производства с извлечением из отходов железа и сопутствующих цветных металлов [1]. Способ включает обжиг отходов совместно с сульфатом аммония, выщелачивание обоженной массы раствором серной кислоты с последующим осаждением железа аммиаком, выделившимся при обжиге, и осаждением цветных металлов.
Недостатком данного способа является его довольно сложная многостадийная схема переработки и непригодность данного способа для извлечения цветных металлов из выломок футеровки.
Наиболее близким по технической сущности и достигаемому положительному эффекту к заявляемому способу является способ переработки выломок служивших огнеупоров и настылей отражательных печей и отстойников шахтных печей медеплавильных заводов [2]. По прототипу выломки огнеупоров, предварительно измельченные до минус 0,3 мм, флотируют в слабой сернокислой среде с использованием в качестве собирателей бутилового ксантогената и аэрофлота.
Недостатком данного способа является то, что он пригоден только для утилизации выломок футеровки плавильных агрегатов, то есть только для переработки огнеупоров.
Сущность способа заключается в измельчении выломок кислотоупорной футеровки ванн электролитического рафинирования меди до крупности -0,075 мм. Измельченный материал выщелачивают разбавленной серной кислотой с концентрацией 15-20% при температуре 60-70°С в течение 1-2 часов при перемешивании.
Задачей способа является вовлечение в переработку техногенного сырья, образующегося при переработке металлосодержащего сырья и не подвергающегося переработке, а именно выломок кислотоупорной футеровки ванн электролитического рафинирования меди с получением технического результата, заключающегося в повышении извлечения цветных металлов из медьсодержащего сырья.
Указанный технический результат достигается тем, что заявляемый способ переработки выломок служивших футеровок включает их измельчение с последующим извлечением цветных металлов. Согласно изобретению переработке подвергают выломки кислотоупорной футеровки ванн электролитического рафинирования меди, измельченные до крупности -0,075 мм, которые после измельчения выщелачивают разбавленной серной кислотой с концентрацией 15-20% при температуре 60-70°С в течение 1-2 часов при перемешивании пульпы.
Способ осуществляют следующим образом.
Выломки пропитанной электролитом футеровки подвергают крупному дроблению в щнековой дробилке, затем среднему дроблению – в конусной дробилке. Куски кислотоупорного кирпича крупностью не более 50 мм измельчают в шаровой мельнице и после грохочения подрешетный продукт с крупностью частиц не более 0,075 мм направляют на выщелачивание раствором серной кислоты при перемешивании пульпы.
Из раствора после выщелачивания осаждают медь цементацией никелем с последующей переработкой цементной меди и никельсодержащего раствора соответственно в медном и никелевом производстве. Например, можно использовать раствор после выщелачивания выломки кислотоупоурной футеровки для приготовления медистого раствора, направляемого на перколяцию первичной цементной меди, получаемой при обезмеживании никелевого электролита. На участке гидрометаллургической очистки никелевого анолита от меди в цехе электролитического рафинирования никеля для повышения в цементной меди соотношения меди к никелю ее перед отправкой на переработку в медеплавильное производство обрабатывают медистым раствором. Медистый раствор готовят из электролита цеха электролиза меди, в котором содержится меди – 50- 55 г/л, серной кислоты – 160-170 г/л. При обработке первичной цементной меди медистым раствором за счет протекания процесса цементации никель переходит в раствор, а медь из медистого раствора в твердую фазу.
Изобретение иллюстрируется следующим примером.
Отбирались выломки пропитанной электролитом кислотоупорной футеровки, которые подвергались дроблению в щнековой дробилке крупного дробления с шириной и длиной загрузочного отверстия 600х900 мм. Ширина и длина разгрузочной щели: 75х200 мм. Размер разгружаемых кусков до 150 мм. Куски крупностью плюс 150 мм возвращались в щековую дробилку, а фракция минус 150 мм направлялась на вторую стадию дробления в конусную дробилку среднего дробления с шириной приемочной щели 170 мм, а разгрузочной -100 мм, размер разгружаемых кусков не более 40-50 мм. Надрешетный продукт направляли на доработку в дробилку среднего дробления, а подрешетный – на измельчение в шаровую мельницу, где его измельчали до крупности 0,075 мм. После измельчения фракцию материала крупностью минус 0,075 мм направляли на выщелачивание, а фракцию плюс 0,075 мм возвращали на доизмельчение в шаровую мельницу. Подготовка материала к выщелачиванию осуществляли на оборудовании медного завода ЗФ ОАО Горно-металлургического комбината «Норильский никель».
Перед выщелачиванием из измельченного материала методом кольца и конуса отбирались три параллельные пробы для химического анализа. Метод кольца и конуса заключается в следующем: пробу материала раскладывают равномерным слоем в кольцо, а затем с внутренней стороны кольца совком насыпают в центре конус, обходя по периметру кольца. Затем плоским предметом вершину конуса вдавливают до получения плоского диска, после чего пробу сокращают квартованием, то есть разделяют плоский диск на четыре части, из которых выбирают две взаимно противоположные. Анализ проб проводили в центральной химической лаборатории ГМК «Норильский никель». Анализ проб кислотоупорной футеровки показал, что содержание в ней составляет, % (массовые доли): меди – 1,56 и никеля – 0,024.
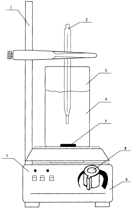
Для выщелачивания методом кольца и конуса отбиралась проба массой 50 г каждая. Выщелачивание проводили в лабораторных условиях при атмосферном давлении и механическом перемешивании раствора на установке, изображенной на чертеже. На штативе 1 закреплен термометр 2, который опущен в стакан 3, ниже уровня раствора серной кислоты 4. Поддержание твердых частиц выщелачиваемого материала во взвешенном состоянии осуществляли перемешивателем 5, помещая в стакан магнитную мешалку 6 типа ММ-6. Необходимая температура раствора поддерживалась включением регулятора температуры 7, а скорость вращения мешалки регулировали регулятором скорости вращения 8.
В ходе эксперимента осуществлялся подбор режима выщелачивания: концентрация серной кислоты, температура и время выщелачивания. Для каждого опыта было взято по три параллельных навески массой 50 г. Навеску массой 50 г помещали в термостойкий стакан и заливали 300 мл разбавленной серной кислоты, предварительно подогретой на плитке до температуры, при которой проводится выщелачивание. Затем стакан с навеской ставили на магнитную мешалку типа ММ-6, включали магнитную мешалку. Скорость вращения мешалки регулировалась таким образом, чтобы твердые частицы находились во взвешенном состоянии и не выпадали на дно. Заданная температура раствора поддерживалась с помощью регулятора температуры и контролировалась по показаниям термометра, закрепленного на штативе и опущенного в раствор.
Время опыта замеряли с помощью часов с секундомерной стрелкой. По истечению времени эксперимента отключали перемешиватель 5 и нагрев. Снимали стакан 3 с установки и раствор отфильтровывали с помощью вакуум-насоса. Отбирали пробу фильтрата на определение содержания в нем меди и никеля. Содержание меди в фильтрате определяли титрометрическим йодометрическим методом, а содержание никеля – гравиметрическим методом.
Результаты исследований приведены в таблице.
В результате эксперимента были определены закономерности поведения выхода меди и никеля от температуры раствора, времени выщелачивания и концентрации серной кислоты, результаты исследований сведены в таблицу. Наиболее существенное влияние на процесс выщелачивания оказывает концентрация кислоты, причем при концентрации серной кислоты меньше 15% извлечение цветных металлов в раствор не достигает даже 60%, а при концентрации серной кислоты выше 20% процесс выщелачивания замедляется из-за уменьшения растворения цветных металлов с ростом концентрации сульфат-иона в растворе, что приводит к снижению извлечения цветных металлов в раствор. При времени выщелачивания менее одного часа извлечение меди и никеля в раствор не превышает 60%, а при увеличении времени выщелачивания более чем два часа наблюдается незначительный прирост извлечения. С увеличение температуры раствора извлечение цветных металлов в раствор возрастает. При температуре выше 60°С извлечение превышает 90%. Однако увеличение температуры раствора выше 70°С нецелесообразно из-за наличия высоких энергетических затрат на нагревание раствора при реализации выщелачивания в промышленных условиях.
Вовлечение в металлургическую переработку выломок футеровки ванн электролитического рафинирования меди не только позволит доизвлекать дополнительное количество цветных металлов, но и улучшить экологическую обстановку региона, на территории которого расположено медеплавильное производство за счет сокращения поступления цветных металлов в экосистему региона.
Источники информации
1. Авт. свид. № 1423617. Бюлл. 1988, № 34.
2. Авт. свид. № 168449. Бюлл. 1965, № 4.
| Таблица 1 |
| Содержание в футеровке, % |
Концентрация серной кислоты,% |
Температура выщела-чивания, °С |
Время выщела-чивания, час |
Количество осадка, г |
Количество раствора, пошедшего на титрование, мл |
Эквивалентное содержание, мг |
Коэффициент извлечения, % |
| Cu |
Ni |
Ni |
Cu |
Cu |
Ni |
Cu |
Ni |
| 1.56 |
0,024 |
20 |
30 |
1,0 |
0,323 |
0,5 |
3,18 |
0,07 |
12,2 |
17,5 |
| 1.56 |
0,024 |
20 |
40 |
1,0 |
0,651 |
1,2 |
7,62 |
0,13 |
29,3 |
32,5 |
| 1.56 |
0,024 |
20 |
50 |
1,0 |
1,233 |
1,7 |
10,80 |
0,25 |
41,5 |
62,5 |
| 1.56 |
0,024 |
20 |
60 |
1,0 |
1,504 |
2,7 |
17,16 |
0,31 |
66,0 |
77,5 |
| 1.56 |
0,024 |
20 |
70 |
1,0 |
1,827 |
3,5 |
22,24 |
0,37 |
85,5 |
92,5 |
| 1.56 |
0,024 |
20 |
70 |
0,5 |
1,217 |
2,5 |
15,89 |
0,25 |
61,1 |
62,5 |
| 1.56 |
0,024 |
20 |
70 |
1,0 |
1,750 |
3,6 |
22,87 |
0,36 |
88,0 |
90,0 |
| 1.56 |
0,024 |
20 |
70 |
1,5 |
1,814 |
3,7 |
23,51 |
0,37 |
90,4 |
92,5 |
| 1.56 |
0,024 |
20 |
70 |
2,0 |
1,852 |
3,8 |
24,15 |
0,38 |
92,9 |
95,0 |
| 1.56 |
0,024 |
20 |
70 |
2,0 |
1,867 |
3,8 |
24,15 |
0,38 |
92,9 |
95,0 |
| 1.56 |
0,024 |
10 |
70 |
1,0 |
0,107 |
1,2 |
7,62 |
0,02 |
29,3 |
5,0 |
| 1.56 |
0,024 |
14 |
70 |
1,0 |
1,051 |
3,7 |
23,51 |
0,21 |
90,4 |
52,5 |
| 1.56 |
0,024 |
15 |
70 |
1,0 |
1,328 |
3,9 |
24,78 |
0,27 |
95,3 |
67,5 |
| 1.56 |
0,024 |
16 |
70 |
1,0 |
1,698 |
4,0 |
25,42 |
0,35 |
97,8 |
87,5 |
| 1.56 |
0,024 |
17 |
70 |
1,0 |
2,013 |
4,1 |
26,05 |
0,41 |
100 |
100 |
| 1.56 |
0,024 |
18 |
70 |
1,0 |
2,043 |
4,0 |
25,42 |
0,42 |
97,8 |
100 |
| 1.56 |
0,024 |
20 |
70 |
1,0 |
1,761 |
3,7 |
23,51 |
0,36 |
90,4 |
90,0 |
| 1.56 |
0,024 |
30 |
70 |
1,0 |
1,007 |
1,8 |
11,44 |
0,20 |
44,0 |
50,0 |
| 1.56 |
0,024 |
50 |
70 |
1,0 |
0,394 |
1,1 |
6,99 |
0,08 |
26,9 |
20,0 |
| 1.56 |
0,024 |
70 |
70 |
1,0 |
Следы |
0,7 |
4,45 |
Следы |
17,1 |
|
Формула изобретения
Способ переработки выломок служивших футеровок, включающий их измельчение с последующим извлечением цветных металлов, отличающийся тем, что переработке подвергают выломки кислотоупорной футеровки ванн электролитического рафинирования меди, измельченные до крупности 0,075 мм, которые после измельчения выщелачивают разбавленной серной кислотой с концентрацией 15-20% при температуре 60-70°С в течение 1-2 ч при перемешивании пульпы.
РИСУНКИ
MM4A Досрочное прекращение действия патента Российской Федерации на изобретение из-за неуплаты в установленный срок пошлины за поддержание патента в силе
Дата прекращения действия патента: 08.07.2005
Извещение опубликовано: 27.01.2007 БИ: 03/2007
|
|