|
(21), (22) Заявка: 2004127527/15, 14.09.2004
(24) Дата начала отсчета срока действия патента:
14.09.2004
(45) Опубликовано: 20.08.2005
(56) Список документов, цитированных в отчете о поиске:
RU 2220919 C1, 10.01.2004. SU 782766 А, 30.11.1980. SU 679185 А, 15.08.1979. RU 2220104 C1, 27.12.2003. US 5660723 A, 26.08.1997.
Адрес для переписки:
346421, Ростовская обл., г. Новочеркасск-21, Баклановский пр-т, 190, ФГНУ “РосНИИПМ”, Директору
|
(72) Автор(ы):
Салдаев А.М. (RU), Щедрин В.Н. (RU), Снипич Ю.Ф. (RU)
(73) Патентообладатель(и):
Федеральное государственное научное учреждение “Российский научно-исследовательский институт проблем мелиорации” (RU)
|
(54) УСТАНОВКА ДЛЯ ОЧИСТКИ ВОДЫ И РАСТВОРОВ ПИТАТЕЛЬНОЙ СМЕСИ, ПРЕИМУЩЕСТВЕННО ДЛЯ СИСТЕМ КАПЕЛЬНОГО ОРОШЕНИЯ
(57) Реферат:
Изобретение относится к сельскохозяйственной мелиорации, в частности к капельному орошению, и может быть использовано для очистки воды и питательных смесей при орошении овощных культур, виноградников, садов, лесных питомников, плодово-ягодных и т.п. насаждений. Установка для очистки воды и растворов питательной смеси содержит заполненную фильтрационным материалом горизонтально установленную герметичную емкость, верхнюю и нижнюю распределительные системы для подвода воды из водоема и отвода очищенной воды, соответственно, и сеть для отвода продуктов загрязнения. Установка снабжена герметичной емкостью растворов питательной смеси, гидроциклонами, пневмогидроаккумулятором и двухпозиционным распределителем потоков воды и растворов питательной смеси. Верхняя и нижняя распределительные системы герметичной емкости двухпозиционным распределителем потоков воды связаны с сетью для отвода продуктов загрязнения и последовательно установленным на входе и выходе в гидравлической сети гидроциклонами. В полости гидроциклонов смонтированы самоочищающиеся сетчатые фильтры. Донные части гидроциклонов сопряжены со сборниками продуктов загрязнения. Герметичная емкость растворов питательной смеси посредством вентилей гидравлически связана с напорным трубопроводом гидроциклона на входе гидравлической сети и через верхнюю полость распределителя потоков воды и растворов питательной смеси с сетью для отвода продуктов загрязнения. Корпус двухпозиционного распределителя потоков воды гидравлически связан патрубками с верхней и нижней распределительными системами для подвода воды из водоема и отвода очищенной воды из герметичной емкости, сетью для отвода продуктов загрязнения и посредством вентилей с гидравлической полостью пневмогидроаккумулятора. Мембрана пневмогидроаккумулятора кинематически связана с плунжером двухпозиционного распределителя потоков воды. Технический результат заключается в снижении себестоимости растениеводческой продукции, повышении эксплуатационной надежности и снижении затрат труда на обслуживание установки. 3 з.п. ф-лы, 2 ил. 
Изобретение относится к сельскохозяйственной мелиорации, в частности к капельному орошению, и может быть использовано для очистки воды при орошении овощных культур, виноградников, садов, лесных питомников, плодово-ягодных культур и т.п. насаждений.
Известна система капельного орошения [1], включающая источник водоснабжения, подводящую сеть, распределительную сеть и увлажнители с инъекторами, в которой с целью улучшения аэрации увлажняемой зоны и обеспечения контроля за подачей воды в почву на входе в каждый инъектор установлено гидравлическое сопротивление, а под ним, в стенке инъектора, выполнено отверстие; с целью стабилизации и регулирования расхода воздуха, подаваемого в почву, каждый инъектор снабжен гидрозатвором, расположенным ниже отверстия; с целью равномерного распределения воды по увлажненным зонам при изменении напора по длине увлажнителя инъекторы подключены к увлажнителям через трубчатые вставки различной длины; гидравлическое сопротивление выполнено в виде поплавкового регулятора уровня воды.
К недостаткам данной системы капельного орошения относятся неудовлетворительная очистки воды, подаваемой из водопроводящей сети в увлажнители инъекторами. Последние забиваются растительными остатками и иловатыми взвесями в оросительной воде.
Часть указанных недостатков устраняется в системе капельного орошения [2], включающей водоисточник, бассейн-отстойник, насосную станцию и оросительную сеть с капельницами, которая с целью повышения надежности работы и снижения эксплуатационных затрат снабжена линейно-протяженными трубчатыми фильтрами, уложенными в грунте вдоль берега водоисточника и заглубленными под уровень грунтовых вод, при этом трубчатые фильтры сообщены с бассейном-отстойником, который выполнен закрытым.
К недостаткам данной системы капельного орошения относятся большие материальные и трудовые затраты на укладку линейно-протяженных трубчатых фильтров в грунт на нижний уровень залегания грунтовых вод.
Известен горизонтальный отстойник [3], содержащий емкость, верхнюю и нижнюю распределительные системы подвода нефтесодержащей воды и отвода очищенной воды, соответственно, трубку слива нефтепродуктов, входной и выходной патрубки, в котором с целью повышения эффективности очистки нефтесодержащих вод верхняя и нижняя распределительные системы выполнены в виде соединенных с коллектором горизонтальных перфорированных труб, при этом трубы верхней и нижней систем выполнены с диаметром, увеличивающимся и уменьшающимся соответственно от входного патрубка к выходному, суммарная площадь поперечного сечения верхней и нижней распределительных систем составляет не более 1, 3 площади поперечного сечения соответствующего коллектора, а входной и выходной патрубки расположены в диаметрально противоположных концах емкости.
К недостаткам описанного отстойника относятся ограниченные функциональные возможности – сбор аварийных разливов нефтепродуктов.
Наиболее близким техническим решением является установка для очистки воды [4], содержащая корпус с патрубками, верхним и нижним распределительными устройствами, согласно формулы полезной модели, в которой размещена ионообменная смола, а в корпусе дополнительно размещен с возможностью перемещения фильтрационный материал с плотностью ниже плотности воды, причем над поверхностью материала в корпусе имеется свободное от сорбентов пространство.
К недостаткам данной установки, принятой в качестве наиближайшего аналога, относятся неудовлетворительное качество очистки воды, малая производительность, незначительный и разовый срок службы сорбента.
Задача, на решение которой направлено заявленное изобретение, – повышение качества очистки воды.
Технический результат – снижение себестоимости растениеводческой продукции, повышение эксплуатационной надежности и снижение затрат труда на обслуживание установки.
Указанный технический результат при осуществлении изобретения достигается тем, что известная установка для очистки воды и растворов питательной смеси, преимущественно для систем капельного орошения, содержащая заполненную фильтрационным материалом горизонтально установленную герметичную емкость, верхнюю и нижнюю распределительные системы для подвода воды из водоема и отвода очищенной воды, соответственно, и сеть для отвода продуктов загрязнения, согласно изобретению, снабжена герметичной емкостью растворов питательной смеси, гидроциклонами, пневмогидроаккумулятором и двухпозиционным распределителем потоков воды и растворов питательной смеси, верхняя и нижняя распределительные системы герметичной емкости с двухпозиционным распределителем потоков воды связаны с сетью для отвода продуктов загрязнения и последовательно установленными на входе и выходе в гидравлической сети гидроциклонами, в полости которых смонтированы самоочищающиеся сетчатые фильтры, при этом донные части гидроциклонов сопряжены со сборниками продуктов загрязнения, герметичная емкость растворов питательной смеси посредством вентилей гидравлически связана с напорным трубопроводом гидроциклона на входе гидравлической сети и через верхнюю полость распределителя потоков воды и растворов питательной смеси с сетью для отвода продуктов загрязнения, корпус двухпозиционного распределителя потоков воды гидравлически связан патрубками с верхней и нижней водораспределительными системами для подвода воды из водоема и отвода очищенной воды из герметичной емкости, сетью для отвода продуктов загрязнения и посредством вентилей с гидравлической полостью пневмогидроаккумулятора, мембрана которого кинематически связана с плунжером двухпозиционного распределителя потоков воды.
За счет того, что установка снабжена емкостью растворов питательной смеси, гидроциклонами, пневмогидроаккумулятором и распределителем потоков воды и растворов питательной смеси, достигается указанный выше технический результат.
Изобретение поясняется фигурами.
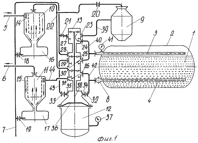
На фиг.1 схематично изображена установка для очистки воды и растворов питательной смеси для системы капельного орошения в режиме очистки воды и маточного раствора питательной смеси от сора.
На фиг.2 – то же, в режиме промывки фильтрационного материала и удаления кольматажа.
Для нормальной и бесперебойной работы капельниц и инъекторов систем капельного орошения к оросительной воде предъявляются следующие требования: содержание твердых осадков на 1 литр воды не более 3 г; степень минерализации воды не более 6 г/л.
Установка для очистки воды и растворов питательной смеси, преимущественно для систем капельного орошения (фиг.1 и 2), содержит заполненную фильтрационным материалом 1 горизонтально установленную герметичную емкость 2, верхнюю 3 и нижнюю 4 распределительные системы для подвода из водоема посредством трубопровода 5 и отвода очищенной воды посредством трубопровода 6 к магистральному трубопроводу системы капельного орошения и сеть 7 для отвода продуктов загрязнения.
Фильтрационный материал 1 представлен крупнозернистым просеянным песком с размерами гранул 1…5 мм и абсорбционной поверхностью 103 м2.
Верхняя распределительная система 3 смонтирована в герметичной емкости 2 выше фильтрационного материала 1 на 0,2…0,3 м и представлена в виде перфорированной трубы. Нижняя распределительная система 4 смонтирована в нижней части герметичной емкости 2 под слоем фильтрационного материала 1, представлена в виде горизонтальных перфорированных труб. Поверхность щелей на трубах нижней распределительной системы 4 покрыта многослойным тканым материалом. Перфорированные трубы нижней распределительной системы 4 соединены через коллектор 8 для подвода воды из водоема трубопроводом 5 и отвода очищенной воды трубопроводом 6, соответственно.
Установка для очистки воды и питательной смеси снабжена герметичной емкостью 9 растворов питательной смеси, гидроциклонами 10 и 11, пневмогидроаккумулятором 12 и двухпозиционным распределителем 13 потоков воды и растворов питательной смеси. Двухпозиционный распределитель 13 потоков воды и растворов питательной смеси и пневмогидроаккумулятор 12 выполнены моноблоком.
Верхняя и нижняя распределительные системы 3 и 4 герметичной емкости 2 двухпозиционным распределителем 13 потоков воды связаны с сетью 7 для отвода продуктов загрязнения и последовательно установленными на входе (трубопроводе 5) и выходе (трубопроводе 6) гидравлической сети гидроциклонами 10 и 11. В полости гидроциклонов смонтированы самоочищающиеся сетчатые фильтры 14 и 15. Донные части гидроциклонов сопряжены со сборниками 16 и 17 продуктов загрязнения. Последние вентилями 18 и 19 связаны с сетью 7 для отвода продуктов загрязнения.
Герметичная емкость 9 растворов питательной смеси посредством вентилей 20 и 21 гидравлически связана с напорным трубопроводом 22 гидроциклона 10 на входе гидравлической сети и через верхнюю полость двухпозиционного распределителя 13 потоков воды и растворов питательной смеси с сетью 7 для отвода продуктов загрязнения.
Корпус двухпозиционного распределителя 13 имеет патрубки 23-31 и ими гидравлически связан с верхней 3 и нижней 4 распределительными системами для подвода воды из водоема и отвода очищенной воды из герметичной емкости 2, сетью 7 для отвода продуктов загрязнения и посредством вентилей 32 и 33 и патрубков 34 и 35 с гидравлической полостью пневмогидроаккумулятора 12.
Мембрана 36 делит пневмогидроаккумулятор 12 на две полости – пневматическую и гидравлическую. Пневматическая полость пневмогидроаккумулятора 12 снабжена манометром 37, ниппелем для заправки воздухом и краном для сбора конденсата. Мембрана 36 пневмогидроаккумулятора 12 кинематически связана с плунжером 38 двухпозиционного распределителя 13 потоков воды.
Герметичная емкость 9 растворов питательной смеси трубопроводом 39 соединена с патрубком 23 двухпозиционного распределителя 13. Двухпозиционный распределитель 13 патрубками 24 и 25 и тройником 40 гидравлически связан с верхней водораспределительной системой 3. Верхняя распределительная система 3 герметичной емкости 2 снабжена манометром 41. Патрубок 26 с нижней водораспределительной системой 4 и патрубком 34 пневмогидроаккумулятором 12 соединен с тройником 42. Патрубки 27 и 28 двухпозиционного распределителя 13 соединены с сетью 7 для отвода продуктов загрязнения. Патрубок 29 двухпозиционного распределителя 13 гидравлически связан рукавом 43 через вентиль 33 с патрубком 35 пневмогидроаккумулятора 12. Патрубок 30 двухпозиционного распределителя 13 сопряжен с напорным трубопроводом 22 гидроциклона 10.
Гидроциклон 11 третьей ступени для тонкой очистки оросительной воды трубопроводом 44 соединен с патрубком 31 двухпозиционного распределителя 13 потоков воды и питательной смеси.
Установка для очистки воды и растворов питательной смеси, преимущественно для систем капельного орошения, функционирует следующим образом.
Работу установки рассмотрим на трех примерах:
в режиме очистки воды от сора, взвесей и микроорганизмов;
в режиме удаления кольматажа из фильтрационного материала;
в режиме подкормки поливаемых с-х растений макро- и микроэлементами из питательной смеси.
Из прилегающего водоема вода насосной установкой по трубопроводу 5 подается в корпус гидроциклона 10. При тангенциальной подаче воды под давлением в корпусе гидроциклона 10 массе воды придается вращение вокруг вертикальной оси симметрии гидроциклона. Крупные растительные примеси, минеральный сор и взвеси из общей массы очищаемой воды за счет силового поля и сетчатой поверхности самоочищающегося фильтра 14 оседают вниз, т.е. в сторону донной конической части корпуса гидроциклона 10, и поступают в сборник продуктов загрязнения из очищаемой воды. Из гидроциклона 10 по напорному трубопроводу 22 через патрубок 30 поступают в полость корпуса двухпозиционного распределителя 13 потоков воды (см. фиг.1).
В исходном положении пневмогидроаккумулятора 12 за счет избыточного давления воздуха в пневматической полости, отслеживаемого манометром 37, мембрана 36 занимает крайнее верхнее положение. Кинематически связанный с мембраной 36 плунжер 38 перемещается в полости корпуса распределителя 13 и гидравлически кратчайшим путем соединяет патрубки 30 и 25, 31 и 36, 23, 24 и 25. Вентили 20, 21 и 33 закрыты, а вентили 32 и 33 пневмогидроаккумулятора 12 открыты. При таком положении плунжера 38 вода после первой ступени очистки с более мелкими размерами взвесей из полости гидроциклона 10, пройдя самоочищающийся сетчатый фильтр 14, поступает по напорному трубопроводу 22, патрубкам 30 и 25, тройнику 40 в перфорированную трубу верхней распределительной системы 3 в герметичной емкости 2. При заполнении герметичной емкости 2 в ней создается избыточное давление, фиксируемое манометром 41. Очищаемая вода под давлением продавливается через фильтрационный материал 1. Взвеси и микроорганизмы задерживаются в порах между песчинками. Очищенная таким образом вода через тканые фильтры на поверхности перфорированных труб нижней распределительной системы 3 и коллектор 8 поступает в тройник 42. Из тройника 42 часть воды поступает через открытый вентиль 32 в патрубок 34 в гидравлической полости пневмогидроаккумулятора 12. Основная масса воды транзитом через патрубки 26 и 31 и трубопровод 44 сбрасывается в полость гидроциклона 11 для окончательной очистки воды. Для повышения эксплуатационной надежности систем капельного орошения самоочищающийся сетчатый фильтр 15 снабжен отверстиями диаметром менее 0,5 мм. Из корпуса гидроциклона 11 по трубопроводу 6 трехкратно очищенная вода поступает в магистральный трубопровод системы капельного орошения, а от распределительной сети – к капельницам для распределения осадков, к корням растений, кустарников, винограда.
Нормальную работу установки оператор отслеживает по количественным показателям манометров насосной установки (на трубопроводе 5), манометра 41 на перфорированном трубопроводе верхней распределительной системы 3 и манометра 37 пневмогидроаккумулятора 12. При давлении воды в полости двухпозиционного распределителя 13 потоков воды между патрубками 30 и 25, равным образом в герметичной емкости 2, равной P1, в гидравлической полости пневмогидроаккумулятора 12 выдерживается усредненное давление (P1+Р2):2, которое ниже давления Р2 воздуха в пневматической полости пневмогидроаккумулятора 12. Это гидравлическое условие удерживает мембрану 36 и плунжер 38 в крайних верхних положениях.
Рассмотрим режим работы установки при кольматации слоев фильтрационного материала 1. Кольматаж из герметичной емкости 2 удаляют следующим образом. При забивании пор между песчинками фильтрационного материала 1 давление воды в герметичной емкости 2 резко возрастает. Это увеличение давления воды в герметичной емкости 2, тройнике 40, в корпусе двухпозиционного распределителя 13 между патрубками 25, 29 и рукаве 43 через вентиль 33 передается в гидравлическую полость пневмогидроаккумулятора 12. Мембрана 36 под давлением воды перемещается вниз, увеличивая давление воздуха в пневматической полости пневмогидроаккумулятора 12. Мембрана 36 перемещает плунжер 38 вниз (фиг.2). При таком положении плунжера 38 вода из гидроциклона 10 по напорному трубопроводу 22 через патрубок 30, патрубок 26 и тройник 42 подается в коллектор 8, а из него – в перфорированные трубы нижней водораспределительной системы 3. Сор, взвеси и микроорганизмы из микропор фильтрационного материала 1 поднимаются вверх вместе с восходящими потоками воды, и далее через перфорированный трубопровод верхней распределительной системы 3 сбрасываются в тройник 40 и в патрубки 25 и 28 двухпозиционного распределителя 13 потоков воды. Из двухпозиционного распределителя 13 взвеси с водой сливаются в сеть 7 для отвода продуктов загрязнения. После удаления кольматажа давление воды в герметичной емкости 9 падает за счет снижения гидравлического сопротивления фильтрационного материала 1. Избыточным давлением воздуха в пневматической полости пневмогидроаккумулятора 12 мембрана 36 перемещает плунжер 38 в верхнее положение, приводя установку в режим очистки воды от наносов.
При внесении быстрорастворимых минеральных удобрений, жидких комплексных удобрений, раствора бишофита и других комплексных минеральных удобрений с микроэлементами в герметичную емкость 9 закладывают порцию удобрений, рассчитанную на площадь под орошаемые с-х культуры. Крышку герметичной емкости 9 закрывают. Вентиль 20 открывают. Из напорного трубопровода 22 гидроциклона 10 вода под рабочим давлением подается в герметичную емкость 9. Из удобрений в герметичной емкости 9 создается высококонцентрированный маточный раствор. Под давлением маточный раствор поступает в верхнюю полость двухпозиционного распределителя 13 потоков воды и через патрубки 23 и 24 поступает в тройник 40, а из него в верхнюю распределительную систему 3. Минеральный сор из удобрений задерживается фильтрационным материалом 1, а растворенные макро- и микроэлементы вместе с поливной водой поступают к корням растений.
Для удаления шлама из герметичной емкости 9 (см. фиг.2) достаточно последовательно открыть вентили 21 и 20. Шламы вместе с водой сливаются в сеть 7 для отвода продуктов загрязнения.
Аналогичным образом из сборников 16 и 17 при открытых вентилях 18 и 19 удаляют минеральный сор и растительные примеси при осаждении в гидроциклонах 10 и 11.
Простота конструкции установки и доступность фильтрационного материала в любом хозяйстве, эксплуатирующем систему капельного орошения, обеспечивают бесперебойную работу фильтров и подачу оросительной воды в течение вегетационного периода возделываемых растений.
Описанная совокупность существенных отличительных признаков в заявленном объекте обеспечивает достижение поставленной задачи – повышение качества очистки воды и питательной смеси при сохранении высокой производительности.
Источники информации
1. Авторское свидетельство СССР №545305, А 01 G 25/02, оп. БИ №5, 1987 г.
2. Авторское свидетельство СССР №1551285 A1, A 01 G 25/02, оп. БИ №11, 1990 г.
3. Авторское свидетельство СССР №1544712 A1, С 02 F 1/40, В 01 D 21/24, 17/032, оп. БИ №7, 1990 г.
4. Авторское свидетельство СССР №21912 U1, С 02 F 1/42, оп. БИ №6, 2002 г.
Формула изобретения
1. Установка для очистки воды и растворов питательной смеси, преимущественно для систем капельного орошения, содержащая заполненную фильтрационным материалом горизонтально установленную герметичную емкость, верхнюю и нижнюю распределительные системы для подвода из водоема и отвода очищенной воды, соответственно, и сеть для отвода продуктов загрязнения, отличающаяся тем, что она снабжена герметичной емкостью растворов питательной смеси, гидроциклонами, пневмогидроаккумулятором и двухпозиционным распределителем потоков воды и растворов питательной смеси, верхняя и нижняя распределительные системы герметичной емкости двухпозиционным распределителем потоков воды связаны с сетью для отвода продуктов загрязнения и последовательно установленным на входе и выходе в гидравлической сети гидроциклонами, в полости которых смонтированы самоочищающиеся сетчатые фильтры, при этом донные части гидроциклонов сопряжены со сборниками продуктов загрязнения, герметичная емкость растворов питательной смеси посредством вентилей гидравлически связана с напорным трубопроводом гидроциклона на входе гидравлической сети и через верхнюю полость распределителя потоков воды и растворов питательной смеси с сетью для отвода продуктов загрязнения, корпус двухпозиционного распределителя потоков воды гидравлически связан патрубками с верхней и нижней распределительными системами для подвода воды из водоема и отвода очищенной воды из герметичной емкости, сетью для отвода продуктов загрязнения и посредством вентилей с гидравлической полостью пневмогидроаккумулятора, мембрана которого кинематически связана с плунжером двухпозиционного распределителя потоков воды.
2. Установка по п.1, отличающаяся тем, что пневматическая полость пневмогидроаккумулятора снабжена манометром.
3. Установка по п.1, отличающаяся тем, что верхняя распределительная система герметичной емкости снабжена манометром.
4. Установка по п.1, отличающаяся тем, что двухпозиционный распределитель потоков воды и растворов питательной смеси и пневмогидроаккумулятор выполнены моноблоком.
РИСУНКИ
MM4A – Досрочное прекращение действия патента СССР или патента Российской Федерации на изобретение из-за неуплаты в установленный срок пошлины за поддержание патента в силе
Дата прекращения действия патента: 15.09.2006
Извещение опубликовано: 20.02.2008 БИ: 05/2008
|