|
|
(21), (22) Заявка: 2002108148/11, 01.04.2002
(24) Дата начала отсчета срока действия патента:
01.04.2002
(43) Дата публикации заявки: 27.01.2004
(45) Опубликовано: 20.08.2005
(56) Список документов, цитированных в отчете о поиске:
К.ГЭТЛАНД “Космическая техника”, иллюстрированная энциклопедия. М.: Издательство “МИР”, 1986, с.41. RU 2097675 C1, 27.11.1997. RU 2099255 C1, 20.12.1997. US 4932607 А, 12.06.1990.
Адрес для переписки:
111024, Москва, ЦКБ ТМ, Начальнику патентного отдела С.Ю. Краснолобову
|
(72) Автор(ы):
Леднев В.Г. (RU)
(73) Патентообладатель(и):
Федеральное государственное унитарное предприятие “Центральное конструкторское бюро тяжелого машиностроения” (ЦКБ ТМ) (RU)
|
(54) УСТРОЙСТВО ДЛЯ КРЕПЛЕНИЯ РАКЕТЫ-НОСИТЕЛЯ НА ОПОРНЫХ ЛОЖЕМЕНТАХ ГРУЗОПОДЪЕМНОЙ СТРЕЛЫ ТРАНСПОРТНО-УСТАНОВОЧНОГО АГРЕГАТА
(57) Реферат:
Изобретение относится к наземному оборудованию стартовых позиций ракет-носителей, в частности к устройствам для крепления ракет-носителей на грузоподъемных стрелах транспортно-установочных агрегатов. Устройство содержит размещенные по обеим сторонам грузоподъемной стрелы две силовые тяги, шарнирно сочлененные одними своими концами через балансирное устройство с грузоподъемной стрелой, а другими – с узлами крепления на обоих бортах ракеты-носителя. При вертикальном положении ракеты-носителя силовые тяги воспринимают вес этой ракеты. В устройстве силовые тяги прикреплены к узлам ракеты-носителя с образованием угла их наклона к вертикали при вертикальном положении ракеты-носителя с возможностью прижатия ракеты-носителя к опорным ложементам на грузоподъемной стреле силой, превышающей по величине расчетную ветровую нагрузку на ракету-носитель, приложенную со стороны грузоподъемной стрелы. Эта сила соответствует горизонтальным составляющим от веса этой ракеты-носителя в узлах крепления обоих силовых тяг к ракете. Изобретение позволяет обеспечить повышение надежности устройства. 3 ил. 
Предлагаемое изобретение относится к наземному оборудованию стартовых позиций ракет-носителей (РН) и предназначается, в частности, для крепления РН на грузоподъемных стрелах транспортно-установочных агрегатов (ТУА), предназначенных для транспортировки РН от мест их сборки, в монтажно-испытательных корпусах (МИКах), до пусковых устройств (ПУ), подъема РН из горизонтальных в вертикальные положения и установки РН на свои ПУ.
Предлагаемое устройство предназначено для крепления РН “Аврора” – модификация известной РН “Восток” для доставки, в частности, космических кораблей (КК) “Союз” и “Прогресс” к обитаемым орбитальным станциям.
ТУА для РН “Аврора” – модернизированный ТУА 11У219, предназначенный, в частности, для транспортировки и установки на ПУ РН “Восток” (см. там же) с КК “Союз” и “Прогресс”.
Для удержания РН в горизонтальных и вертикальных положениях от поперечных перемещений под действием ветровых нагрузок на грузоподъемных стрелах ТУА используются опорные ложементы, охватывающие корпуса РН в поперечных направлениях по дугам, равным 90°-120° и размещаемые вдоль грузоподъемных стрел в их начальных (нижние ложементы), средних (средние ложементы) и концевых (верхние ложементы) частях.
Для удержания РН от поперечных перемещений в вертикальных положениях под действием расчетных ветровых нагрузок, приложенных к ним со стороны грузоподъемных стрел ТУА, верхние опорные ложементы снабжаются ветровыми захватами в виде парных криволинейных рычагов, которые, охватывая РН с обоих бортов и прижимая их к опорным ложементам, препятствуют таким образом отходу РН от опорных ложементов под действием указанных выше сил. Сводятся и разводятся рычаги ветровых захватов электромеханическими приводами. Однако надежность этих устройств ограничивается как надежностью многочисленных электрических устройств, входящих в их системы управления, так и надежностью исполнительных электрических устройств – электродвигателей, в частности, что снижает общую надежность ТУА и увеличивает вероятность срыва пуска РН по вине ТУА, что недопустимо.
Для удержания РН от продольных перемещений (вдоль их продольных осей) и скольжения по опорным ложементам используются устройства, воспринимающие веса РН в процессе их подъема из горизонтальных в вертикальные положения и в вертикальном положении.
Предлагаемое устройство для крепления РН на грузоподъемной стреле ТУА направлено на увеличение общей надежности ТУА. Такое увеличение надежности обеспечивается тем, что вместо усилий рычагов ветрового захвата, прижимающих РН к верхнему опорному ложементу с их возможными неисправностями и отказами, в предлагаемом устройстве для прижатия РН к верхнему опорному ложементу в вертикальном положении используется безотказная сила гравитации, т.е. вес самой РН, а конструкция устройства включает в себя только механические узлы и детали с надежностью, равной 1. Кроме того, предлагаемое устройство за счет отказа от ветрового захвата на конце грузоподъемной стрелы упрощает конструкцию ТУА и вследствие этого снижает его стоимость.
Известен ряд устройств для удержания РН на грузоподъемных стрелах ТУА в продольном направлении, размещаемых на начальных частях грузоподъемных стрел.
Известны также устройства для удержания РН на грузоподъемных стрелах ТУА в продольном направлении, размещаемые на средних частях грузоподъемных стрел.
Известно, например, устройство (механизм подвески) для удержания от продольных перемещений РН на грузоподъемной стреле ТУА 11У219. Этот механизм изображен, в частности, на фотографии ТУА 11У219 с РН на нем, приведенной на форзаце книги В.В.Фаворского и И.В.Мещерякова “Военно-космические силы”, книга 1 “Космонавтика и вооруженные силы”, Москва, 1997 г. Издательство типографии №1 ВО “Наука”, С.-Петербург.
Этот механизм подвески содержит (см. прилагаемую ксерокопию вышеуказанной фотографии) две, размещенные по обеим сторонам грузоподъемной стрелы ТУА силовые тяги, шарнирно сочлененные двумя своими концами через балансирное рычажное устройство с грузоподъемной стрелой ТУА, а двумя другими – с узлами крепления на обоих бортах РН так, что при вертикальном положении грузоподъемной стрелы и РН на ней силовые тяги воспринимают вес РН, а балансирное рычажное устройство обеспечивает равенство нагрузок в обоих силовых тягах и передачу их на грузоподъемную стрелу.
Описанное устройство по количеству совпадающих признаков является ближайшим аналогом предлагаемого устройства. Однако использование описанного устройства требует применения ветрового захвата на конце грузоподъемной стрелы ТУА для удержания РН от поперечных перемещений под действием ветровой нагрузки, приложенной к PH со стороны грузоподъемной стрелы, что снижает общую надежность ТУА, т.к. ветровой захват, являясь электромеханическим узлом с электрической системой управления, обладает надежностью менее 1.
Таким образом, необходимость использования ветрового захвата является недостатком известного устройства – механизма подвески для удержания РН на опорных ложементах грузоподъемной стрелы ТУА 11У219 от продольного перемещения под действием собственного веса.
Предлагаемое устройство направлено на устранение этого недостатка, т.е. наличия ветрового захвата в конструкции ТУА 11У219 и снижения вследствие этого его надежности. С этой целью в нем силовые тяги выполнены с таким углом к вертикали, при котором горизонтальные составляющие от веса РН при ее вертикальном положении, приложенные в узлах крепления к ней двух силовых тяг, прижимают РН к ее опорным ложементам на грузоподъемной стреле ТУА с силой, превышающей по величине расчетную ветровую нагрузку на РН, приложенную со стороны грузоподъемной стрелы ТУА, что делает положение РН на грузоподъемной стреле ТУА стабильно неподвижным без использования ветрового захвата на ее конце.
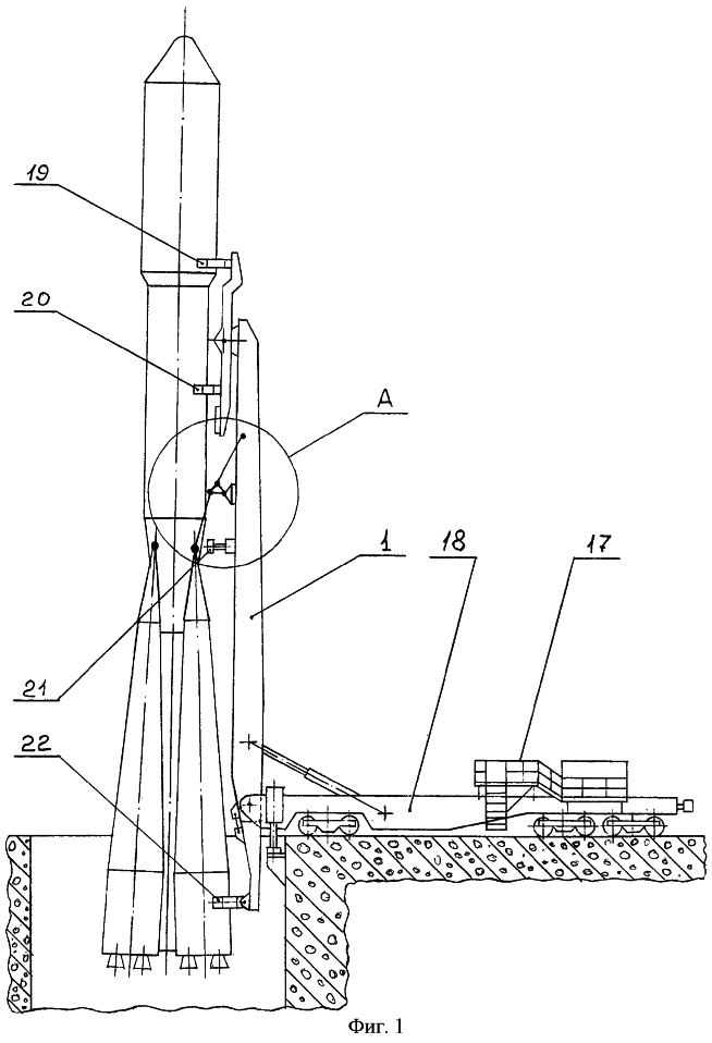
На фиг.1 изображен вид сбоку на ТУА с предложениям устройством на его грузоподъемной стреле.
На фиг.2 изображена выноска А (фиг.1).
На фиг.3 изображен разрез по Б-Б (фиг.2).
Устройство для крепления РН на грузоподъемной стреле ТУА состоит (см. фиг.1 и 2) из двух, размещенных с обеих сторон грузоподъемной стрелы 1 силовых тяг 2, шарнирно присоединенных двумя своими концами к узлам крепления 3 на обоих бортах РН 4, а двумя другими – к двум вертикальным рычагам 5, закрепленным на осях 6 на кронштейнах 7 на поперечной, закрепленной на грузоподъемной стреле 1 ТУА балке 8. К вертикальным рычагам 5, кроме силовых тяг 2, шарнирно закреплены двумя своими концами две тяги 9, которые двумя другими своими концами шарнирно сочленены с балансирами 10 (см. фиг.3), закрепленными пальцами 11 на оси 12, пропущенной через втулки 13 на боковых листах 14 грузоподъемной стрелы 1 с возможностью поворота в них. Балансиры 10, в свою очередь, шарнирно сочленены друг с другом поперечной тягой 15 с помощью пальцев 16. Доступ к узлам крепления 3 силовых тяг 2 на бортах РН 4 осуществляется при ее горизонтальном положении 17 с площадок, закрепленных с обеих сторон рамы 18 ТУА. Стрела 1 снабжена ложементами 19, 20, 21, 22.
Работает предлагаемое устройство следующим образом.
После укладки РН 4 в МИКе на опорные ложементы 19, 20, 21, 22 грузоподъемной стрелы 1 ТУА для доставки ее на стартовую позицию и установки на ПУ с площадок 17 производится присоединение концов силовых тяг 2 к узлам крепления 3 на обоих бортах РН 4. По окончании подъезда ТУА к ПУ РН 4 и установки ТУА в надлежащее для подъема грузоподъемной стрелы 1 положение производят подъем грузоподъемной стрелы 1 гидравлическими средствами ТУА. При этом по мере подъема грузоподъемной стрелы 1 силовые тяги 2 начинают воспринимать вначале часть веса РН 4, а при угле подъема грузоподъемной стрелы 1, равном 90°, – весь вес РН 4, который равномерно распределяется по обоим силовым тягам 2, т.к. нагрузка от силовых тяг 2 передается через рычаги 5 на тяги 9, а последние – на балансиры 10, связанные между собой поперечной тягой 15 и присоединенные к грузоподъемной стреле 1 осью 12, с помощью которой нагрузка от балансиров 10 передается через втулки 13 на боковых листах 14 грузоподъемной стрелы 1 на грузоподъемную стрелу 1 в целом. При неравномерном нагружени силовых тяг 2 вследствие, например, смещения центра тяжести РН 4 относительно ее продольной оси более нагруженная силовая тяга 2 с одного борта РН 4 передает через один из рычагов 5 и тягу 9 большую нагрузку на один из балансиров 10, чем менее нагруженная силовая тяга 2 (с другого борта РН 4) на другой балансир. Эта большая нагрузка через тягу 15 передается на другой, менее нагруженный балансир и, увеличивая в нем нагрузку, уравнивает таким образом нагрузки в обоих силовых тягах 2. При этом величина этих нагрузок, определяемая только весом РН 4 и углом наклона силовых тяг 2 к вертикали, подобрана за счет величины угла силовых тяг 2 к вертикали таким образом, что горизонтальные составляющие от веса РН 4 при ее вертикальном положении, приложенные в узлах крепления 3 на обоих бортах РН 4, прижимают ее к опорным ложементам 19, 20, 22 на грузоподъемной стреле 1 с суммарной силой, превышающей по величине расчетную ветровую нагрузку на РН 4, приложенную со стороны грузоподъемной стрелы 1 ТУА, что делает положение РН 4 на грузоподъемной стреле 1 ТУА стабильно неподвижным без использования ветрового захвата на ее конце, а сам ТУА за счет отказа от ветрового захвата более надежным в эксплуатации и более простым по конструкции.
Формула изобретения
Устройство для крепления ракеты-носителя на опорных ложементах грузоподъемной стрелы транспортно-установочного агрегата, содержащее размещенные по обеим сторонам грузоподъемной стрелы две силовые тяги, шарнирно сочлененные одними своими концами через балансирное устройство с грузоподъемной стрелой, а другими – с узлами крепления на обоих бортах ракеты-носителя таким образом, что в вертикальном положении грузоподъемной стрелы и ракеты-носителя эти тяги воспринимают вес последней, отличающееся тем, что в нем силовые тяги прикреплены к узлам ракеты-носителя с образованием угла их наклона к вертикали при вертикальном положении ракеты-носителя для обеспечения возможности прижатия ракеты-носителя к опорным ложементам на грузоподъемной стреле силой, превышающей по величине расчетную ветровую нагрузку на ракету-носитель, приложенную со стороны грузоподъемной стрелы и соответствующей горизонтальным составляющим от веса этой ракеты-носителя в узлах крепления обоих силовых тяг к ракете.
РИСУНКИ
MM4A – Досрочное прекращение действия патента СССР или патента Российской Федерации на изобретение из-за неуплаты в установленный срок пошлины за поддержание патента в силе
Дата прекращения действия патента: 02.04.2006
Извещение опубликовано: 20.03.2007 БИ: 08/2007
NF4A Восстановление действия патента СССР или патента Российской Федерации на изобретение
Дата, с которой действие патента восстановлено: 10.01.2009
Извещение опубликовано: 10.01.2009 БИ: 01/2009
MM4A – Досрочное прекращение действия патента СССР или патента Российской Федерации на изобретение из-за неуплаты в установленный срок пошлины за поддержание патента в силе
Дата прекращения действия патента: 02.04.2009
Извещение опубликовано: 27.09.2010 БИ: 27/2010
NF4A Восстановление действия патента СССР или патента Российской Федерации на изобретение
Дата, с которой действие патента восстановлено: 27.12.2010
Извещение опубликовано: 27.12.2010 БИ: 36/2010
|
|