|
|
(21), (22) Заявка: 2003124717/11, 07.08.2003
(24) Дата начала отсчета срока действия патента:
07.08.2003
(43) Дата публикации заявки: 10.02.2005
(45) Опубликовано: 20.08.2005
(56) Список документов, цитированных в отчете о поиске:
SU 1401006 A1, 08.06.1988. GB 2116517 А, 16.04.1985. DE 2904180 A1, 14.08.1980. СН 639350 А, 15.11.1983.
Адрес для переписки:
400002, г.Волгоград, ул. Институтская, 8, ВГСХА, патентная служба
|
(72) Автор(ы):
Салдаев А.М. (RU), Сусляев А.Л. (RU), Попов А.Г. (RU), Рогачев А.Ф. (RU)
(73) Патентообладатель(и):
Федеральное государственное образовательное учреждение высшего профессионального образования “Волгоградская государственная сельскохозяйственная академия” (RU)
|
(54) ПОДЪЕМНИК
(57) Реферат:
Изобретение относится к подъемно-транспортному машиностроению, в частности к грузоподъемным устройствам с механизмом типа «нюрнбергские ножницы». Согласно изобретению, в подъемнике привод раздвижения содержит приводной вал, снабженный звездочками и связанный ветвями втулочно-роликовых цепей через свободно вращающиеся звездочки с осями шарнирно соединенных пересекающихся пар рычагов. Свободные концы ветвей втулочно-роликовых цепей соединены с основанием посредством упругих элементов, например пружин растяжения. Геометрические оси свободно вращающихся звездочек могут быть совмещены с осями вращения нижних концов пересекающихся шарнирно соединенных пар рычагов. Конец приводного вала раздвижного привода кинематически связан с электромеханическим приводом, выполненным в виде мотор-редуктора. Подъемник снабжен пультом управления, который выполнен переносным, и имеет кронштейн для установки на основании. Изобретение позволяет обеспечить повышение грузоподъемности, снижение материалоемкости и себестоимости. 3 з.п. ф-лы, 6 ил. 
Изобретение относится к подъемно-транспортному машиностроению, в частности к грузоподъемным устройствам типа «нюрнбергские ножницы».
Известен подъемник, содержащий опорную и грузовую площадки, соединенные между собой шарнирно-рычажной системой типа «нюрнбергские ножницы», плечи смежных пар которой выполнены разной длины, и винтовой привод подъема, в котором, с целью снижения энергетических затрат привода подъема, каждое из наружных звеньев шарнирно-рычажной системы выполнено с клиновым выступом, привод снабжен дополнительной гайкой с упором, взаимодействующим с указанным выступом, а концы приводного винта выполнены с гладкими участками, при этом гайки привода подъема выполнены с отверстиями, в которых свободно установлены тяги с упорами на концах (SU, авторское свидетельство №656960. М. кл.2
Описанный подъемник имеет ограниченную грузоподъемность, неустойчив в крайнем верхнем положении грузовой площадки.
Известен передвижной подъемник, содержащий опорную платформу, смонтированную на ходовой части, и грузовую платформу, опирающуюся на приводной от силового элемента рычажный механизм, состоящий из четного числа пар рычагов, образующих при взаимном соединении подвижные параллелограммы, первая из которых связана с опорной платформой, а последняя – с грузовой платформой, в котором, с целью уменьшения габаритов подъемника в транспортном положении и повышения надежности, рычаги выполнены Г-образными и неравноплечими, подвижные параллелограммы образованы посредством шарнирного соединения коротких плеч рычагов четных пар с короткими плечами рычагов предыдущих нечетных пар и длинных плеч рычагов четных пар с длинными плечами рычагов последующих нечетных пар, при этом шарнир, связывающий между собой рычаги каждой пары, расположен ниже шарнира, связывающего между собой рычаги предыдущей нечетной пары, а рычаги каждой пары соединены между собой в средней точке так, что их одноименные плечи расположены по одну сторону от соединяющего их шарнира (SU, авторское свидетельство №703493. М. кл.2
К недостаткам передвижного подъемника относятся низкие техническая и эксплуатационная надежность.
Известен также подъемник, содержащий основание и грузонесущую платформу, соединенные между собой посредством приводного шарнирно-рычажного механизма типа «нюрнбергских ножниц», состоящих из синхронизирующего вала с двумя жестко закрепленными рычагами, один из которых соединен посредством тяги с грузонесущей платформой, и силового цилиндра, в котором, с целью повышения надежности в работе, привод шарнирно-рычажного механизма снабжен двумя шарнирно соединенными между собой дополнительными тягами, одна из которых шарнирно соединена со вторым рычагом синхронизирующего вала, а другая – с основанием, причем силовой цилиндр наклонно закреплен на основании, а шток его связан с шарниром соединения дополнительных тяг (SU, авторское свидетельство №751792. М. кл.2
К недостаткам описанного подъемника относятся сложность конструкции, большая материалоемкость, сложность и трудоемкость технологического обслуживания.
Кроме описанных грузоподъемных средств известен подъемник, содержащий верхнюю и нижнюю платформы, связанные между собой шарнирно-рычажным механизмом типа «нюрнбергских ножниц», вертикальные направляющие, смонтированные на нижней платформе, в котором, с целью уменьшения его высоты в сложенном состоянии, он снабжен балкой, размещенной в вертикальных направляющих, и тягами, которые одними концами жестко закреплены на балке, а другими шарнирно соединены с нижними рычагами шарнирно-рычажного механизма (SU, авторское свидетельство №893839. М. кл.3
К недостаткам описанного подъемника относятся низкая техническая надежность, сложность конструкции и высокая цена.
При подъеме грузов на большую высоту представляет интерес передвижной подъемник, содержащий опорную платформу с ходовой частью и рабочую площадку, соединенные между собой шарнирно-рычажным механизмом типа «нюрнбергских ножниц», крайние шарниры рычагов которого связаны звеньями, шарнирно соединенными между собой и образующими две боковые складные лестницы, привод перемещения рычагов шарнирно-рычажного механизма, в котором, с целью повышения его надежности в работе путем увеличения жесткости шарнирно-рычажной системы, он снабжен двумя параллельными плоскости шарнирно-рычажного механизма кронштейнами, жестко соединенными с опорной платформой и выполненными в виде треугольных рам, одна из сторон которых имеет криволинейный паз, причем в этих пазах размещены концы оси центрального нижнего шарнира указанного механизма, снабженные стопорами для фиксации рычагов, шарнирно сочлененные звенья лестниц выполнены в виде жестких рам трапецеидальной формы, шарнирно связанных между собой меньшими основаниями, причем подъемник снабжен трособлочной системой, блоки которой установлены на осях крайних шарниров, соединяющих основания указанных жестких рам, при этом тросы запасованы через блоки и закреплены верхними концами на рабочей площадке, а нижние концы их соединены с натяжным устройством, установленным на опорной платформе (SU, авторское свидетельство №1087459. А. М. кл.3
К недостаткам передвижного подъемника относятся сложность конструкции и малая грузоподъемность.
Близким аналогом к заявленному объекту является подъемник, содержащий основание, грузовую платформу, расположенный между ними шарнирно-рычажный механизм, включающий по меньшей мере два шарнирно соединяющих переключающихся рычага, одни концы которых смонтированы в горизонтальных направляющих, закрепленных соответственно на платформе и на основании, с которыми шарнирно связаны другие концы рычагов, смонтированный на основании раздвижной привод, связанный с валом, на котором закреплен рычаг, шарнирно связанный с шатуном, шарнирно смонтированным на выдвижной части привода, в котором, с целью повышения надежности, конец рычага, шарнирно связанный с основанием, закреплен на каретке, смонтированной на основании с возможностью перемещения параллельной прямой, проходящей через оси вала и шарнира крепления шатуна к приводу, причем параметры шарнирно-рычажного механизма определяются из соотношения

где а1 и а2 – расстояния между осями крепления рычагов на основании в верхнем и нижнем положениях грузовой платформы;
в1 и в2 – расстояния между осью крепления шатуна на приводе и осью крепления неподвижного конца рычага соответственно в верхнем и нижнем положениях грузовой платформы;
1 и 2 – углы, образованные шатуном с осью перемещения каретки в верхнем и нижнем положениях платформы (SU, авторское свидетельство №1232641. А1. М. кл.4
К недостаткам описанного подъемника, принятого нами в качестве аналога, относятся низкая эксплуатационная надежность, недостаточная устойчивость, высокая материалоемкость и высокая цена.
В качестве наиближайшего аналога нами принят грузоподъемный стол, содержащий основание и подвижную платформу, шарнирно связанные между собой перекрещиващимися рычагами типа «нюрнбергских ножниц», и привод подъема, включающий в себя ходовой винт, смонтированный в корпусе зубчатого редуктора, зацепленного с гайкой, шарнирно смонтированной на плече одного из рычагов, и двигатель, связанный передачей с гибким бесконечным звеном с редуктором, в котором, с целью снижения габаритов в нижнем положении платформы, редуктор и двигатель закреплены на соответствующих рамах, каждая из которых снабжена шарниром, который с возможностью возвратно-поступательного движения смонтирован в соответствующей направляющей, причем направлящие выполнены в основании, а рамы связаны между собой верхними и нижними шарнирными тягами, верхняя их которых параллельна линии, проходящей по нормали через оси валов редуктора и двигателя, и равна расстоянию между ними, а шарниры нижней тяги соосны с осями шарниров рам, причем обеими рамами и тягами образован шарнирно-рычажный параллелограммный четырехзвенник, нижняя тяга связана с нижним плечом другого рычага, а гайка – с верхним плечом одного рычага; с целью повышения надежности, он снабжен дополнительными перекрещивающимися рычагами типа «нюрнбергские ножницы», причем опоры шарниров основных и дополнительных указанных рычагов закреплены по краям стола, а подвижные плечи рычагов соединены между собой трособлочной системой (SU, авторское свидетельство №1401006. А1. М. Кл. 4
К недостаткам описанного грузоподъемного стола относятся сложность конструкции привода подъема подвижной платформы, низкая эксплуатационная надежность и высокая себестоимость.
Сущность заявленного изобретения.
Задача, на решение которой направлено заявленное изобретение, – повышение технической и эксплуатационной надежности подъемника.
Технический результат – повышение грузоподъемности, снижение материалоемкости и себестоимости, простота технического обслуживания.
Указанный технический результат достигается тем, что в известном подъемнике, содержащем основание, грузовую платформу, пары шарнирно-рычажных механизмов, расположенных между основанием и грузовой платформой, каждый из которых включает в себя по меньшей мере два шарнирно соединенных пересекающихся рычага, одни концы которых смонтированы в направляющих, закрепленных соответственно на платформе и основании, с которыми шарнирно связаны другие концы рычагов, пары шарнирно-рычажных механизмов смонтированы оппозитно на основании и грузовой платформе и кинематически связаны приводом раздвижения указанных механизмов, согласно изобретению, привод раздвижения выполнен в виде приводного вала, снабженного звездочками, и связан ветвями втулочно-роликовых цепей через свободно вращающиеся звездочки с осями шарнирно соединенных пересекающихся пар рычагов, при этом свободные концы ветвей втулочно-роликовых цепей соединены с основанием посредством упругих элементов, например пружин растяжений.
За счет того, что привод раздвижения выполнен описанным способом, достигается указанный выше технический результат.
Изобретение поясняется чертежами.
На фиг.1 изображен подъемник в сложенном при минимальных габаритных размерах положении, вид со стороны электромеханического привода. На фиг.2 – то же, при крайнем верхнем положении грузовой платформы. На фиг.3 – то же, вид сзади. На фиг.4 – то же, вид в плане. На фиг.5 схематично представлен раздвижной механизм и его привод.
На фиг.6 – то же, вид в плане.
Сведения, подтверждающие возможность реализации заявленного изобретения, заключаются в следующем.
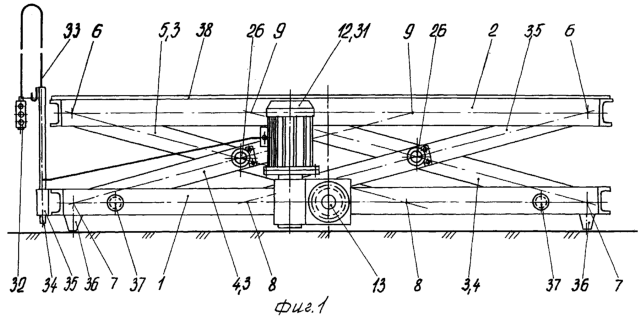
Подъемник содержит основание 1, грузовую платформу 2, расположенный между ними шарнирно-рычажной механизм 3. Он включает по меньшей мере два шарнирно соединенных пересекающихся рычага 4 и 5. Концы 6, 7, 8 и 9 рычагов 4 и 5 смонтированы в направляющих 10 и 11. Концы 6, 9 и направляющие 11 закреплены соответственно на грузовой платформе 2, а концы 7, 8 и направляющие 10 размещены на основании 1. Концы 7, 9 рычагов 4 и концы 6, 8 рычагов 5 смонтированы соответственно на платформе 2 и на основании 1. Концы 6 и 7 рычагов 4 и 5 шарнирно связаны с платформой 2 и основанием 1. Другие концы 8 и 9 рычагов 4 и 5 смонтированы посредством опор качения в направляющих 10 и 11 платформы 2 и основания 1. На основании 1 смонтирован раздвижной привод 12.
Раздвижной привод 12 выполнен в виде приводного вала 13. Он снабжен звездочками 14, 15, 16 и 17 и связан ветвями 18, 19, 20 и 21 втулочно-роликовых цепей через свободно вращающиеся звездочки 22, 23, 24 и 25 с осями 26 шарнирно соединенных пересекающихся пар рычагов 4 и 5. Свободные концы ветвей втулочно-роликовых цепей соединены с основанием 1 посредством упругих элементов 27, 28, 29 и 30. Упругие элементы 27-30 могут быть выполнены как в виде пружин растяжений, так и пружин сжатия. Геометрические оси свободно вращающихся звездочек 22-25 совмещены с осями нижних концов 7 пересекающихся шарнирно соединенных пар рычагов 4 и 5. Конец приводного вала 13 раздвижного привода 12 кинематически связан с электромеханическим приводом 31, выполненным в виде мотор-редуктора. Последний имеет самотормозящий червячный редуктор. Пульт 32 управления мотор-редуктора привода 31 выполнен переносным и соединен с ним кабелем 33. Пульт 32 управления имеет стойку 34, которая смонтирована в кронштейне 35 основания 1. Описанный механизм обеспечивает высокую надежность подъема платформы 2 на высоту до 2,5 м при грузоподъемности 5 т.
Устойчивость грузовой платформы 2 достигнута тем, что пары шарнирно-рычажных механизмов 3 смонтированы оппозитно на основании 1 и грузовой платформе 2. Основание 1 снабжено опорами 36 и грузозахватными средствами 37. Верхняя плоскость грузовой платформы 2 снабжена перекрытием 38 из рифленого металлического листа.
Подъемник работает следующим образом.
При включенном приводе вращение вала мотор-редуктора электромеханического привода 31, приводной вал 13 раздвижного привода 12 вместе со звездочками 14, 15, 16 и 17 вращаются в направлении, указанной стрелкой на фиг.6. Ветви 18-21 втулочно-роликовых цепей натягиваются. Усилия натяжений в ветвях 18-21 передается на венцы свободно вращающихся звездочек 22-25, а с них – на оси 26 шарнирно-рычажных механизмов 3, установленных на основании 1 оппозитно. Четырьмя концами 9 рычагов 5 своими опорами качений в виде подшипников, перекатываясь в направляющих 11, равным образом и синхронно, двумя парами концов 8 рычагов 4, перемещаясь в направляющих 10, грузовая платформа 2 строго параллельно поднимается над основанием 1.
Ненагруженные участки ветвей 18-21, охватывающих звездочки 14-17 на приводном валу 13, удерживаются в натянутом положении пружинами растяжений 27-30. При крайних верхнем и нижнем положениях срабатывают концевые выключатели, которые исключают чрезмерные, недопустимые нагрузки в ветвях 18-21 втулочно-роликовых цепей.
Самотормозящий червячный редуктор в электромеханическом приводе 31 исключает самопроизвольное опускание грузовой платформы 2.
Электромеханический привод 31 снабжен механизмом блокировки опускания грузовой платформы 2. Опускание грузовой платформы 2 в направлении основания 1 производится в обратном порядке. Подъемник обеспечит грузоподъемность до 5 т при высоте подъема 2,5 м при габаритах 3000×4500×400 мм, устойчивость, увеличение полезной площади верхней грузовой платформы 2, снижение материалоемкости и себестоимости. Подъемник прост в конструкции и не требует больших затрат на проведение технического обслуживания.
Формула изобретения
1. Подъемник, содержащий основание, грузовую платформу, пары шарнирно рычажных механизмов, расположенные между основанием и грузовой платформой, каждый из которых включает в себя, по меньшей мере, два шарнирно соединенных пересекающихся рычага, одни концы которых смонтированы в направляющих, закрепленных соответственно на платформе и основании, с которыми шарнирно связаны другие концы рычагов, пары шарнирно рычажных механизмов смонтированы оппозитно на основании и грузовой платформе и кинематически связаны приводом раздвижения указанных механизмов, отличающийся тем, что привод раздвижения содержит приводной вал, снабженный звездочками для втулочно-роликовых цепей и связанный ветвями этих цепей через свободно вращающиеся звездочки с осями шарнирно соединенных пересекающихся пар рычагов, при этом свободные концы ветвей втулочно-роликовых цепей соединены с основанием посредством упругих элементов, например пружин растяжения.
2. Подъемник по п.1, отличающийся тем, что геометрические оси свободно вращающихся звездочек совмещены с осями вращения нижних концов пересекающихся шарнирно-соединенных пар рычагов.
3. Подъемник по п.1, отличающийся тем, что конец приводного вала кинематически связан с электромеханическим приводом, выполненным в виде мотор-редуктора.
4. Подъемник по п.3, отличающийся тем, что пульт управления мотор-редуктора выполнен переносным и снабжен кронштейном для установки на основании.
РИСУНКИ
MM4A – Досрочное прекращение действия патента СССР или патента Российской Федерации на изобретение из-за неуплаты в установленный срок пошлины за поддержание патента в силе
Дата прекращения действия патента: 08.08.2005
Извещение опубликовано: 10.06.2007 БИ: 16/2007
|
|