|
|
(21), (22) Заявка: 2000121538/12, 08.08.2000
(24) Дата начала отсчета срока действия патента:
08.08.2000
(30) Конвенционный приоритет:
09.08.1999 (пп.1-7) SE 9902873-0
(43) Дата публикации заявки: 20.10.2002
(45) Опубликовано: 20.08.2005
(56) Список документов, цитированных в отчете о поиске:
DE 2362872 А, 12.09.1974. US 4142635 А, 06.03.1979. WO 8807005 А, 22.09.1988. FR 2285305 А, 16.04.1976. US 4032061 A, 28.06.1977.
Адрес для переписки:
129010, Москва, ул. Большая Спасская, 25, стр.3, ООО “Юридическая фирма Городисский и Партнеры”, Е.В.Томской
|
(72) Автор(ы):
БЬЕРКЛУНД Бенгт (SE), ЛАРССОН Леннарт (SE)
(73) Патентообладатель(и):
О ЭНД Р КАРТОН АБ (SE)
|
(54) УПАКОВОЧНАЯ СКЛАДНАЯ КОРОБКА
(57) Реферат:
Упаковочная складная коробка, выполненная из картона или соответствующего материала и снабженная выливным или высыпным приспособлением. При этом коробка содержит корпус с двумя парами противоположных стенок, собранный из плоской заготовки, снабженной клеевой створкой, прикрепленной к внутренней стороне соответствующей стенки корпуса для образования корпуса. Кроме того, коробка содержит закрывающие створки, выполненные за одно целое с заготовкой на каждом конце корпуса для образования другой пары противоположных стенок корпуса, и отрывной язычок с захватываемой частью для открывания, по меньшей мере, одного выливного или высыпного отверстия. Причем язычок образован в клеевой створке и проходит в стенке корпуса, к которой прикреплена клеевая створка, поверх линии сгиба, отделяющей эту стенку корпуса от закрывающей створки, и в примыкающей стенке складной коробки из другой пары стенок складной коробки, образованных закрывающими створками. Кроме того, коробка содержит дополнительную закрывающую створку, расположенную непосредственно под соответствующей закрывающей створкой, в которой образована захватываемая часть отрывного язычка, и образующую продолжение клеевой створки и не прикрепленную к закрывающей створке, снабженной захватываемой частью. Причем пара противоположных закрывающих створок, размещенных поверх закрывающей створки, снабженной захватываемой частью, имеет пробитые участки, частично открывающие захватываемую часть. Предложенное решение обеспечивает создание легко открываемой и повторно закрываемой упаковочной складной коробки, не допускающей утечек содержимого в закрытом состоянии, обеспечивающей легкое высыпание содержимого порошка в открытом состоянии и свободной от вышеприведенных недостатков известных конструкций. 6 з.п. ф-лы, 7 ил. 
Упаковочные складные коробки для выливаемых или высыпаемых продуктов, например пищевых продуктов, имеют различные конструкции. Типом складной коробки, к которой относится настоящее изобретение, является складная коробка, предназначенная для сухих, выливаемых или высыпаемых потребительских продуктов, например пищевых продуктов, моющих средств, чистящих средств или других гигиенических продуктов.
К таким упаковочным складным коробкам предъявляется множество требований. Складная коробка не должна допускать утечек, по крайней мере, порошка, в закрытом состоянии, она должна легко открываться и позволять легкое высыпание, и она должна быть повторно закрываемой.
Поскольку складная коробка, как таковая, не представляет собой ценности для потребителя, она, конечно же, должна быть недорогой. Для того чтобы сделать ее недорогой, все стоимостные параметры, следовательно, должны быть оптимизированы, начиная с выбора материала, способа, используемого производителем складных коробок и обработкой упаковок в машине для заполнения их продуктом.
Все это должно быть сделано в контексте обеспечения конкурентоспособности упаковочного продукта. Как известно, конкурентоспособность основана на том, чтобы сделать продукт отличным (от других) для потребителя или покупателя продукта. Однако по стоимостные причинам его отличия не могут обеспечиваться посредством добавления разных дополнений к конструкции складной коробки. Универсальность в этом плане, то есть возможность обеспечения отличий, должна быть заложена в основной конструкционной концепции складной коробки.
Известно множество конструкций упаковочных складных коробок упомянутого во вступлении типа. Разновидность упаковочных складных коробок, имеющих выливное или высыпное приспособление, размещенное наверху складной коробки, раскрыта в описаниях следующих патентов США: 4706875, 4799594, 5205480, 3395848, 5452850, 5145111, 4308956, 5597115 и 5582344. Некоторые из этих складных коробок имеют повторно закрываемые выливные или высыпные отверстия, но во всех случаях отрывные язычки с захватываемыми частями, а также высыпные отверстия образованы полностью в створках, закрывающих складную коробку.
Такая конструкция означает, во-первых, что операция пробивания является сложной, и что требуется множество сложных, точно расположенных пробивных приспособлений. Во-вторых, обширное удаление материала при пробивании из закрывающих створок складной коробки означает, что последние являются ослабленными. Это, в свою очередь, ведет к проблемам прочности в сборочной или заполняющей машине. Кроме того, соединение вместе запечатывающих створок складной коробки, имеющих расположенные в них отверстия и приспособления для повторного закрывания, требует особых мероприятий для нанесения клея, которое невозможно в обычных заполняющих и сборочных машинах.
Касательно указанных выливных или высыпных отверстий, если желательно повернуть ориентацию складной коробки, то есть сделать верх складной коробки ее боковой стенкой, чтобы простым и недорогим образом добиться ее отличия от других, то такая основная конструкционная концепция не работает с выливными отверстиями, распределенными по всему верху складной коробки, или в любых конструкциях с отверстием, продолжающимся, по существу, по всей ширине верха складной коробки, или с отверстиями, распределенными по ширине.
Еще один пример известной упаковочной складной коробки, снабженной повторно закрываемым выливным или высыпным приспособлением, раскрыт в публикации международной заявки WO 88/07005. Эта складная коробка имеет отрывной язычок, продолжающийся поверх края между двумя смежными стенками складной коробки, а захватываемая часть отрывного язычка расположена против клеевого язычка складной коробки. Точно так же, как и в случае вышеупомянутого типа складных коробок, выливные или высыпные отверстия образованы в закрывающей створке складной коробки и закрыты отрывным язычком в запечатанном состоянии. Однако такое расположение выливных из высыпных отверстий и здесь имеет тот недостаток, что операция склеивания в сборочной и заполняющей машине требует, чтобы клей наносился, по меньшей мере, в двух перпендикулярных направлениях, или так называемым “рисунком”, что значительно затрудняет механическую обработку. Если такая механизация вообще экономически жизнеспособна, приклеивание клеевой створки складной коробки вероятно происходит одновременно с приклеиванием закрывающих складную коробку створок, то есть предварительно проклеенные заготовки складных коробок не используются. По этой причине, заполнение и сборка требуют механизмов, специально сконструированных для этой цели.
Известное выливное или высыпное приспособление с отрывным язычком, продолжающимся поверх края между смежными стенками складной коробки дополнительно требует, в одном варианте выполнения, наличия четырех, по существу, полностью идентичных слоев материала в стенке складной коробки, в которой образованы выливные или высыпные отверстия, чтобы стало возможным повторное закрывание. Это увеличивает стоимость конструкции в целом. В другом варианте выполнения требуется сложная пробивка вверху складной коробки и соответствующая перфорация стенки складной коробки. Оба варианта выполнения требуют больших клеевых створок, которые повышают расходы на материал.
Непроницаемость в запечатанном состоянии, в частности, для порошка, у первого из упомянутых типов известных упаковочных складных коробок, а также у тех, которые только что обсуждались, требует, чтобы склеивание закрывающих створок складной коробки осуществлялось достаточно надежным образом. Однако нанесение клея в виде рисунка, осуществляемое в скоростных клеящих или сборочных машинах, является сложной операцией, которая не всегда дает удовлетворительные результаты.
Техническим результатом настоящего изобретения является создание легко открываемой и повторно закрываемой упаковочной складной коробки, не допускающей утечек содержимого в закрытом состоянии, обеспечивающей легкое высыпание содержимого порошка в открытом состоянии и свободной от вышеприведенных недостатков известных конструкций.
Этот технический результат достигается тем, что упаковочная складная коробка, выполненная из картона или соответствующего материала и снабженная выливным или высыпным приспособлением, содержит корпус складной коробки с двумя парами противоположных стенок складной коробки, собранный из плоской заготовки, снабженной клеевой створкой складной коробки, прикрепленной к внутренней стороне соответствующей стенки складной коробки для образования корпуса, закрывающие створки складной коробки, выполненные за одно целое с заготовкой на каждом конце корпуса для образования другой пары противоположных стенок складной коробки, и отрывной язычок с захватываемой частью для открывания, по меньшей мере, одного выливного или высыпного отверстия, образованный в клеевой створке складной коробки и проходящий в стенке складной коробки, к которой прикреплена клеевая створка, поверх линии сгиба, отделяющей эту стенку корпуса от закрывающей створки, и в примыкающей стенке складной коробки из другой пары стенок складной коробки, образованных закрывающими створками складной коробки, дополнительную закрывающую створку, расположенную непосредственно под соответствующей закрывающей створкой складной коробки, в которой образована захватываемая часть отрывного язычка, и образующую продолжение клеевой створки складной коробки и не прикрепленную к закрывающей створке складной коробки, снабженной захватываемой частью. Согласно изобретению пара противоположных закрывающих створок, размещенных поверх закрывающей створки, снабженной захватываемой частью, имеет пробитые участки, частично открывающие захватываемую масть.
Захватываемая часть может иметь пару концевых участков, каждый из которых расположен внутри и непосредственно под ограничивающим краем выбитых участков, даже после повторного закрывания.
Мембрана, герметизирующая корпус складной коробки, может быть прикреплена к дополнительной створке и к другим закрывающим створкам, не имеющим захватываемых частей. Соответствующая мембрана также может быть прикреплена к закрывающим створкам складной коробки на противоположном конце корпуса складной коробки.
Украшение на упаковочной складной коробке может быть выполнено так, что, по меньшей мере, одно выливное отверстие расположено, с точки зрения обращения с коробкой, на боковой стенке складной коробки.
Украшение на упаковочной складной коробке может быть выполнено так, что, по меньшей мере, одно выливное или высыпное отверстие расположено, с точки зрения обращения с коробкой, на верхней панели складной коробки.
На коробку может быть нанесена удаляемая полоска, например из ленты, чтобы покрыть, по меньшей мере, одно высыпное отверстие в клеевой створке на той ее стороне, которая предназначена для наложения на внутреннюю сторону соответствующей стеночной панели складной коробки, снабженной отрывным язычком.
Далее приводится подробное описание настоящего изобретения со ссылками на чертежи, на которых;
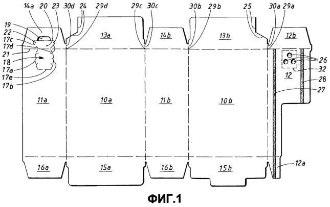
фиг.1 изображает вид сверху заготовки упаковочной складной коробки по первому варианту выполнения изобретения, с той стороны, которая должна быть снаружи упаковочной складной коробки;
фиг.2 – вид второго варианта выполнения заготовки упаковочной складной коробки;
фиг.3 – вид третьего варианта выполнения заготовки упаковочной складной коробки;
фиг.4 – вид упаковочной складной коробки, собранной из заготовки, показанной на фиг.1;
фиг.5 – схематичный вид воображаемого промежуточного положения заготовки, показанной на фиг.1;
фиг.6 – вид упаковочной складной коробки, показанной на фиг.4 при ее открывании;
фиг.7 – вид промежуточного положения упаковочной складной коробки, снабженной покрывающей мембраной и собранной из заготовки, показанной на фиг.1.
В терминах их обработки в клеящей или сборочной или заполняющей машине заготовки и упаковочные складные коробки, показанные на чертежах, должны рассматриваться как традиционные складные коробки, то есть то, что показано в верхней части каждого чертежа, является, с точки зрения обработки, верхом заготовки или упаковочной складной коробки; то, что показано в нижней части чертежа является дном, а то, что показано между верхом и низом – это боковые стенки. Однако следует отметить, что здесь украшения на заготовках не должны наноситься соответствующим образом, но могут быть сориентированы так, что противоположные боковые стенки складной коробки станут верхом и дном. Это, следовательно, означает, что выливное или высыпное приспособление может быть расположено или на боковой стенке, или наверху складной коробки.
Заготовка, показанная на фиг.1, содержит две пары панелей 10а, 10b и 11а, 11b, образующих стенки складной коробки, а также клеевую створку 12 складной коробки, граничащую со стеночной панелью 10b. Каждая из этих панелей граничит с примыкающими панелями традиционным образом, посредством линий сгиба (показанных пунктирными линиями). Закрывающие створки 15а, 15b и 16а, 16b, и часть 12а клеевой створки складной коробки граничат, в нижней части фиг.1, с соответствующими стеночными панелями и клеевыми створками складной коробки. Эти нижние закрывающие створки складной коробки, показанные на чертеже, имеют традиционное выполнение и далее не будут описываться подробно. Вместе с верхними закрывающими створками 14а, 14b и 13а, 13b, показанными на фиг.1, а также с продолжением 12b клеевой створки, они образуют противоположную пару стенок складной коробки, которые, в соответствии с изложенным выше, не обязательно должны быть верхом и дном.
В стеночной панели 11а складной коробки имеются линии 17а, 17b отрыва, продолжающиеся участками 17с, 17d в закрывающую створку 14а складной коробки. Между линиями 17а, 17b отрыва имеется ослабленная линия 17е, которая должна служить в качестве шарнира для отрывного язычка 18, образуемого между линиями отрыва и отверстием 19, выбитым в закрывающей створке 14а складной коробки. Рядом с этим отверстием, отрывной язычок 18 имеет захватываемую часть 20. Линия 21 сгиба, отделяющая стеночную панель 11а складной коробки от закрывающей створки 14а складной коробки, продолжается через отрывной язычок 18. Линии 17с, 17d отрыва образуют пару противоположных концевых участков 22, 23 в паре закрывающих створок 13а, 13b складной коробки, расположенных поверх закрывающей створки 14а складной коробки.
Выливные или высыпные отверстия 26 выбиты в закрывающей створке 12 складной коробки и расположены таким образом, что когда складная коробка склеивается, эти отверстия располагаются под отрывным язычком 18 в оценочной панели 11а складной коробки. Как было объяснено выше, заготовка, показанная на фиг.1, предназначена для предварительной проклейки традиционным образом, и для этой цели в клеящей машине наносятся нити клея, а более точно, нити, продолжающиеся в направлении обработки, как показано на фиг.1. Таким образом, в клеящей машине клеевая створка 12 складной коробки размещается против задней стороны стеночной панели 11а складной коробки, при этом часть 12а язычка также приклеивается к створке 16а, тогда как часть 12b язычка, по причине, которая объясняется ниже, остается не приклеенной к створке 14а.
На пересечениях 29a-29d между линиями сгиба, образующими четыре угла собранной складной коробки, оставлены участки 30а-30d материала по причинам, которые будут объяснены ниже.
После того, как заготовка, показанная на фиг.1, будет проклеена указанным образом в традиционной клеящей машине, заготовка готова к подаче в сборочную и заполняющую установку. Последняя может быть, например, такой установкой, которая подает заготовки из накопителя, удерживающего предварительно проклеенные заготовки складных коробок указанного типа, на периодически движущийся конвейер, снабженный сборочным устройством, в котором из предварительно проклеенных плоских заготовок собираются складные коробки, и имеются рабочие посты запечатывания дна складных коробок, возможно с нанесением на донные створки 15а, 15b, 16а, 16b, закрывающей дно пленки, рабочий пост для заполнения складной коробки через верх и рабочий пост для закрывания складной коробки закрывающими створками 13а, 13b и 14а, 14b, а также, возможно, для нанесения пленки. В последнем случае пленку 31 прикрепляют к закрывающим створкам, которые согнуты в горизонтальном положении. В частности, в таких случаях, использующих мембрану, оставленные сверху участки 30а-30d материала также участвуют в закрывании углов, и таким образом способствуют лучшей непроницаемости, в частности для порошка. Участки 30а-30d материала способствуют непроницаемости для порошка, даже если отсутствует мембрана. Отверстия 26 в клеевой створке складной коробки обычно находятся в непосредственном контакте с продуктом в складной коробке, и, поскольку склеивание обеспечено только клеевыми нитями 27, 28, то продукт мог бы вытекать из закрытой коробки между клеевой створкой 12 и стеночной панелью 11а складной коробки в углах 29а, 29d, однако участки 30а, 30d эффективно препятствуют такой утечке.
На фиг.4 показана заполненная и закрытая упаковочная складная коробка, полученная из заготовки, показанной на фиг.1. Закрывающие створки 12b, 14 складной коробки согнуты внутрь без приклеивания друг к другу, и закрывающая створка 14b подобным образом согнута внутрь. Створки 13а, 13b лежат поверх этих створок и они прикреплены друг к другу в той области, где они перекрываются, например, посредством термосваривания пластикового внутреннего слоя, обычно имеющегося в упаковочных складных коробках рассматриваемого типа. В другом варианте выполнения может быть нанесена капля горячего расплавленного клея. Как видно на фиг.4, выбитые участки 24, 25 в закрывающих створках 13а, 13b обеспечивают доступ к захватываемой части 20 отрывного язычка. Однако концевые участки 22, 23 захватываемой части расположены под соответствующей закрывающей створкой складной коробки. Целью этого является обеспечение возможности повторного закрывания складной коробки после того, как отрывной язычок был оторван в положение, показанное на фиг.6. Повторное запечатывание может быть, таким образом, осуществлено очень просто, посредством вставления концевых участков 22, 23 под соответствующую закрывающую створку складной коробки.
Фиг.5 ясно показывает, что закрывающие створки 12b, 14а складной коробки не соединены друг с другом, и что створки могут быть, таким образом, согнуты внутрь по отдельности, без возникновения в них напряжений материала.
Заготовки, показанные на фиг.2, 3, предназначены для иллюстрации закрывающих створок складных коробок типа, отличающегося от показанного на фиг.1. Так, заготовка, показанная на фиг.2, снабжена так называемыми вставными створками 15а-15b. Поскольку они в общем известны в данной области, то дальнейшего описания заготовки, показанной на фиг.2, не требуется. Части этой заготовки, необходимые для выливного или высыпного приспособления такие же. Заготовка, показанная на фиг.3, демонстрирует другой тип вставной створки 15b-13b, и конструкция повторно закрываемого выливного или высыпного приспособления в принципе такая же, как и у заготовки, показанной на фиг.1.
Повторно закрываемый отрывной язычок 18 был показан с шарнирной частью 17е, обладающей некоторой тенденцией к возврату, и чтобы противодействовать возвращению язычка, может быть полезным, например, обеспечить захватываемую часть 20 прикрепленным к ней холодным способом слоем, который может прилипать к стенке 11а складной коробки при высыпании содержимого упаковки. Это может быть особенно предпочтительным, когда отрывной язычок расположен наверху складной коробки в готовой упаковке.
Пунктирными линиями 32 на фиг.1 показана самоклеящаяся или иным образом прикрепляемая полоска, например лента, на той стороне клеевой створки 12, которая должна накладываться на стеночную панель 11а складной коробки. Эта полоска 32 покрывает выливные отверстия 26 и должна удаляться потребителем после того, как отрывной язычок 18 будет оторван. Эта полоска улучшает непроницаемость, если это необходимо, пока потребитель не откроет упаковку в первый раз. Кроме того, эта полоска уменьшает поступление влаги и потери при транспортировке.
Полоску 32 наносят на клеевую створку 12 перед тем, как эту створку 12 прикрепляют к стеночной панели 11а складной коробки.
Хотя изобретение было описано здесь со ссылкой на предпочтительные варианты выполнения, будет понятно, что его модификации и эквивалентные варианты находятся в объеме прилагаемой формулы изобретения.
Формула изобретения
1. Упаковочная складная коробка, выполненная из картона или соответствующего материала и снабженная выливным или высыпным приспособлением, содержащая корпус с двумя парами противоположных стенок, собранный из плоской заготовки, снабженной клеевой створкой, прикрепленной к внутренней стороне соответствующей стенки корпуса для образования корпуса, закрывающие створки, выполненные за одно целое с заготовкой на каждом конце корпуса для образования другой пары противоположных стенок корпуса, и отрывной язычок с захватываемой частью для открывания, по меньшей мере, одного выливного или высыпного отверстия, образованный в клеевой створке и проходящий в стенке корпуса, к которой прикреплена клеевая створка, поверх линии сгиба, отделяющей эту стенку корпуса от закрывающей створки, и в примыкающей стенке складной коробки из другой пары стенок складной коробки, образованных закрывающими створками, дополнительную закрывающую створку, расположенную непосредственно под соответствующей закрывающей створкой, в которой образована захватываемая часть отрывного язычка, и образующую продолжение клеевой створки и не прикрепленную к закрывающей створке, снабженной захватываемой частью, отличающаяся тем, что пара противоположных закрывающих створок, размещенных поверх закрывающей створки, снабженной захватываемой частью, имеет пробитые участки, частично открывающие захватываемую часть.
2. Коробка по п.1, отличающаяся тем, что захватываемая часть имеет пару концевых участков, каждый из которых расположен внутри и непосредственно под ограничивающим краем выбитых участков, даже после повторного закрытия.
3. Коробка по п.2, отличающаяся тем, что мембрана, герметизирующая корпус, прикреплена к дополнительной створке и к другим закрывающим створкам, не имеющим захватываемых частей.
4. Коробка по п.3, отличающаяся тем, что соответствующая мембрана также прикреплена к закрывающим створкам на противоположном конце корпуса.
5. Коробка по любому из пп.1-4, отличающаяся тем, что имеет украшение, выполненное так, что, по меньшей мере, одно выливное отверстие расположено, при обращении с коробкой, на боковой стенке корпуса.
6. Коробка по любому из пп.1-4, отличающаяся тем, что имеет украшение, выполненное так, что, по меньшей мере, одно выливное или высыпное отверстие расположено, при обращении с коробкой, на верхней стенке корпуса.
7. Коробка по любому из пп.1-6, отличающаяся тем, что имеет наложенную на нее удаляемую полоску, например, из ленты для покрытия, по меньшей мере, одного высыпного отверстия в клеевой створке на ее стороне, предназначенной для наложения на внутреннюю сторону соответствующей стенки корпуса, снабженной отрывным язычком.
РИСУНКИ
MM4A Досрочное прекращение действия патента Российской Федерации на изобретение из-за неуплаты в установленный срок пошлины за поддержание патента в силе
Дата прекращения действия патента: 09.08.2005
Извещение опубликовано: 20.10.2006 БИ: 29/2006
|
|