|
|
(21), (22) Заявка: 2003122401/11, 23.07.2003
(24) Дата начала отсчета срока действия патента:
23.07.2003
(43) Дата публикации заявки: 20.10.2004
(45) Опубликовано: 20.08.2005
(56) Список документов, цитированных в отчете о поиске:
SU 820862, 15.04.1981. SU 43825, 10.05.1934. DE 19857430, 15.06.2000. US 5277636, 11.01.1994.
Адрес для переписки:
119571, Москва, пр-т Вернадского, 117, кв.69, С.А. Пищальникову
|
(72) Автор(ы):
Пищальников С.А. (RU)
(73) Патентообладатель(и):
Пищальников Сергей Александрович (RU)
|
(54) НАДВОДНЫЕ ЛЫЖИ ЖАБЕРНОГО ТИПА
(57) Реферат:
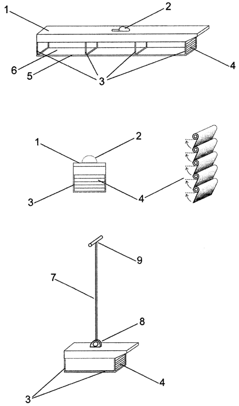
Изобретение относится к плавучим средствам для развлечения и спорта, а именно к надводным лыжам. Надводные лыжи состоят из поплавка, расположенного на трубе с твердым каркасом, имеющей спереди и сзади решетку, к которой прикреплены клапаны в виде полосок, жабер или чешуи, пропускающие воду при движении лыжи вперед и закрывающие объем воды в трубе при движении лыжи назад, и лыжных палок, имеющих на одном конце рукоятку, а на другом – уменьшенную по размеру лыжу. Технический результат заключается в увеличении полезной тяги при движении на лыжах. 1 з.п. ф-лы, 1 ил. 
Область техники
Надводные лыжи могут использоваться для спортивных целей и преодоления водных преград.
Уровень техники
Надводные лыжи заводского и самодельного изготовления не нашли широкого применения из-за неудачных конструкторских разработок. Предлагались сигарообразные лыжи с местом для упора ног. Они изготовлялись надувными из прорезиненной ткани или в виде твердых каркасов, обшитых фанерой, металлом, пластмассой, прорезиненной тканью; некоторые конструкции имели на днище плицы или мягкие карманы, которые при движении лыжи вперед прижимались к днищу, а при движении назад должны были раскрываться и наполняться водой, благодаря чему лыжник должен был получить движение вперед.
До Великой Отечественной войны советская промышленность выпускала надувные надводные лыжи из прорезиненной ткани с мягкими карманами на днище. Автору настоящего изобретения удалось испытать такие лыжи на воде. Опыт показал, что карманы раскрываются полностью и становятся работоспособными только в самом конце движения ноги назад и на полезную работу не хватает длины шага. Эти недостатки явились причиной того, что они не нашли применения и распространения. Надводные лыжи были описаны в отечественной печати в журнале «Огонек» в 1925 году и в 1997, №13, с.16, в журнале «Моделист-конструктор», 1989 год, №4, с.6-8.
Сущность изобретения
В отличие от существовавших поплавков и надувных лыж с наличием или без плиц или мягких карманов на днище, открывающихся при движении ноги лыжника назад, предлагаемые лыжи (см. чертеж) имеют в подводной части твердый каркас (3) с постоянно неизменным объемом воды в нем, свободно протекаемой при движении лыжи вперед и перекрываемой передней стенкой полосками (типа жабер, чешуи) (4).
Предлагаемые лыжи состоят из двух лыжиц, каждая из них состоит их двух частей: верхней из поплавка (1) с креплением для ног (2) (башмак, туфля, спог и т.д.) и нижней – жесткой трубы различного профиля. Труба открыта сзади и имеет переднюю стенку (4), обеспечивающую свободный проход воды при движении лыжи вперед и перекрывающую воду при движении лыжи назад. Так как полоски (жабры, чешуя) (4) малы по размерам (1-2 см или менее), то перекрытие их под напором воды осуществляется почти мгновенно при движении ноги назад.
Передняя стенка лыжи изготовляется в виде решетки или сетки (4) на задней стенке, к которой крепятся мягкие или твердые полоски, чешуя. Они перекрывают друг друга, а для избежания переворачивания на 180 градусов, они связываются нитками, проволокой, обеспечивая этим одновременность действия и исключая их залипание.
Верхняя часть лыжи – поплавок – служит для удержания веса лыжника и нижней части лыжи. Изготовляется из материалов с малым удельным весом – из пористой пластмассы, дерева, надувной или полой емкости из металла и пластмасс. Нижняя часть лыжи имеет твердые негнущиеся стенки и дно, также из легкого металла и/или пластмасс. Наружные боковые стенки, при движении соприкасающиеся друг с другом, должны иметь гладкую поверхность или ролики на одной из соприкасающихся стенок лыжи. На одной из этих стенок крепится шнур (или стержень), на другой – два кольца, ограничивающие длину шага лыжами.
Для торможения в задней части ласты предусматривается подпружиненная крышка, которая с помощью троса или рычага закрывает свободный проток воды через подводную часть лыжи.
Для ускорения движения на лыжах и для поворотов предусматриваются лыжные палки, состоящие из рукоятки, палки и надводной части, которая является уменьшенной копией лыжи. Для того чтобы палки не расходились в стороны, они скользят вдоль шнура или направляющих. Поворот палок на 180 градусов способствует торможению лыж.
Предлагаемое изделие может быть изготовлено вручную, в мастерских и на предприятиях.
Формула изобретения
1. Надводные лыжи, включающие поплавки, удерживающие лыжника на воде, и содержащие лыжные палки, отличающиеся тем, что каждый поплавок расположен на трубе с твердым каркасом и неизменным объемом, имеющей спереди и сзади решетку или сетку, на которой с внутренней стороны крепятся клапаны в виде полосок, жабер или чешуи, пропускающие воду при движении лыжи вперед и закрывающие объем воды в трубе при движении лыжи назад.
2. Лыжи по п.1, отличающиеся тем, что лыжные палки на одном конце имеют рукоятку, на другом – уменьшенную по размеру лыжу, включающую указанные поплавок и трубу с решетками или сетками и клапанами, при этом для того, чтобы лыжные палки и лыжи не расходились в стороны, они движутся вдоль шнура или направляющих.
РИСУНКИ
MM4A – Досрочное прекращение действия патента СССР или патента Российской Федерации на изобретение из-за неуплаты в установленный срок пошлины за поддержание патента в силе
Дата прекращения действия патента: 24.07.2008
Извещение опубликовано: 20.07.2010 БИ: 20/2010
|
|