|
|
(21), (22) Заявка: 2003127186/11, 08.09.2003
(24) Дата начала отсчета срока действия патента:
08.09.2003
(43) Дата публикации заявки: 27.03.2005
(45) Опубликовано: 20.08.2005
(56) Список документов, цитированных в отчете о поиске:
RU 2171194 С1, 27.07.2001. RU 94024222 А1, 27.07.1996. RU 2009936 С1, 30.03.1994. WO 95/29836 А1, 09.11.1995. US 5219410, 15.06.1993.
Адрес для переписки:
400002, г.Волгоград, ул. Институтская, 8, ВГСХА, патентная группа
|
(72) Автор(ы):
Лапынин Ю.Г. (RU), Величкин Н.А. (RU)
(73) Патентообладатель(и):
Волгоградская государственная сельскохозяйственная академия (RU)
|
(54) МНОГООПОРНАЯ ШАГАЮЩАЯ МАШИНА
(57) Реферат:
Изобретение относится к транспортным средствам высокой проходимости, а именно к конструкции рулевого управления шагающих машин. Шагающая машина с парной походкой и с не менее шестью опорами включает стойку с приводным кривошипом, верхний конец которой установлен в направляющей, выполненной в виде рычажного качающегося механизма, подъемный кривошип, реверсивный привод поворота с рычагом управления, рулевой механизм, например, в виде рулевой трапеции. Привод поворота машины выполнен из двух реверсивных приводов поворота, каждый из которых связан с рычагами рычажных механизмов половины опор общим качающимся валом и имеет общий рычаг управления. Рычаги рычажных механизмов установлены в среднем положении под углом к вертикали машины, определяемым математическим выражением, приведенным в описании. Технический результат – повышение экономичности и надежности. 11 ил. 
Изобретение относится к транспортным средствам высокой проходимости, а именно к конструкции рулевого управления шагающих машин.
Известно многоопорное шагающее транспортное средство, содержащее ортогональные шагающие опоры, направляющие которых смонтированы с возможностью поворота вокруг вертикальных осей, причем указанный привод вращения выполнен в виде цепной передачи с некруглыми звездочками (см. А.с. СССР №821282, В 62 D 57/02).
Технический недостаток известного шагающего транспортного средства то, что конструкция не обеспечивает движение концов опор по кривым, близким к окружности заданного радиуса поворота, а лишь по касательным к ней, что приводит к повышенному скольжению опор. Кроме того, направляющие сильно нагружены, что делает цепную передачу тяжелой и требует мощного привода для управления поворотом машины.
Известна также шагающая машина с парной походкой и с опорами, каждая из которых содержит стойку с приводным кривошипом, верхний конец которой подвижно установлен в направляющей, подъемный кривошип и реверсивный привод поворота с рычагом управления (см. RU 2171194 С1, В 62 D 57/032 от 27.07.2001).
Технические недостатки указанного устройства:
– велико скольжение опор по грунту (разница между идеальной окружностью поворота и кривой, по которой движется опора);
– большое количество механизмов поворота (равного числу опор);
– делает систему управлений сложной и ненадежной;
– большая часть приводов поворота не использует своего диапазона полностью даже при минимальном радиусе поворота опоры, т.к. требуемое поперечное отклонение опор разное, а приводы поворота на всех опорах одинаковые;
– соединение между собой управляющих рычагов приводов поворота посредством рулевой трапеции вносит накопленную погрешность в систему управления (т.к. управляющий рычаг определяет радиус поворота опоры, то для разных опор – разные по величине рычаги управления, а для их соединения нужна трапеция).
Техническая задача: повышение экономичности и надежности. Сущность предлагаемого технического решения состоит в том, что в шагающей машине с парной походкой и с не менее шестью опорами, каждая из которых содержит стойку с приводным кривошипом, верхний конец которой подвижно установлен в направляющей, подъемный кривошип и реверсивный привод поворота с рычагом управления, указанный верхний конец стойки выполнен в виде поршня, навальцованного на сферу, и подвижно установлен в качающейся поперек машины цилиндрической направляющей, установленной на рычажном параллелограммном механизме, содержащем кронштейн и четыре рычага, одна пара осей которых связана с кронштейном, а другая – с направляющей, причем через пару осей, связанных с кронштейном, пропущен качающийся приводной вал от механизма поворота, при этом реверсивный привод поворота машины выполнен из двух реверсивных приводов механизмов поворота, каждый из которых связан с качающимися рычажными механизмами половины опор общим качающимся приводным валом и имеет общий рычаг управления, при этом рычаги рычажных механизмов установлены в среднем положении под углом к вертикали машины, равным

а размер каждого из них равен

где

R – минимальный радиус поворот опоры, L- расстояние от среднего положения опоры до середины базы машины, В – полуразмах шагающей опоры движителя, – полуразмах приводного кривошипа стойки, С – отношение длины нижней части стойки, от крепления приводного кривошипа, к длине верхней ее части, k – передаточное отношение механизма поворота, k=1.
Независимый привод механизма поворота позволяет избежать циркуляции мощности, которая характерна для прототипа; где энергия от основного привода разделяется на два потока – на продольное движение опоры и, через механизм поворота, на наклон ее, а затем вновь соединяется на опоре.
Введение общего (единого) для половины опор механизма поворота позволяет работать на максимальном диапазоне его (при минимальном радиусе поворота машины), в отличие от прототипа, где крайние опоры (с максимальным боковым отклонением) использовали весь диапазон механизма поворота, а средние лишь малую его часть. Кроме того, общий элемент привода – качающийся вал – исключает ошибку управления, накапливающуюся в прототипе при переходе от одной опоры (ее механизма поворота) к следующей. Повышение точности работы опоры ведет к уменьшению скольжения ее по грунту и повышению экономичности машины.
Одно из главных достоинств устройства – это простота и надежность
– единый связывающий элемент (качающийся вал), который соединяет качающиеся механизмы половины опор и от общего для этих опор реверсивного привода поворота.
Для задачи преимущественного поворота в одну сторону (например, шагающие дождевальные машины) наклон в среднем положении рычажного механизма на угол позволяет обеспечить требуемое соотношение уП/уЛ, где уП – требуемое боковое отклонение опоры от среднего положения в конце трека при движении по идеальной окружности, уЛ – то же, но в начале трека.
Указанная система управления применима для шагающих машин с парными походками (с не менее шестью опорами) – например, трешками – для 6-опорной машины, четверками – для 8-ми опорной машины и т.д.
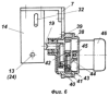
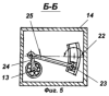
На фиг.1 изображена система управления поворотом. На фиг.2 – общий вид опоры – стойки с приводом. На фиг.3 – сечение А-А на фиг.2. На фиг.4 – механизм поворота. На фиг.5 – сечение Б-Б на фиг.4. На фиг.6 – привод механизма поворота. На фиг.7 – вид А на фиг.2. На фиг.8 – вид Б на фиг.7. На фиг.9 – схема опоры стойки с приводом. На фиг.10 вид В – на фиг.9. На фиг.11 – схема к расчету шагающего механизма.
Шагающий движитель содержит опорную пяту 1, шарнирно соединенную с вертикальной качающейся стойкой 2, связанной через ползун 3, сидящий на шлицах стойки 2, с приводным кривошипом 4.
Вертикальная стойка 2 шарнирно соединена с шейкой подъемного кривошипа 5, который своим валом подвижно установлен в вертикальной направляющей 6, выполненной в виде паза в корпусе 7. Верхний конец вертикальной стойки 2, выполненный в виде поршня 8, навальцованного на сферу 9, подвижно установлен в цилиндрической качающейся (поперек машины) направляющей 10.
Направляющая 10 установлена на рычажном параллелограммом механизме, содержащем кронштейн 11, жестко закрепленный на корпусе 7, и рычаги 12 (четыре штуки), одна ось которых связана с кронштейном 11, а другая – о направляющей 10. Через одну пару осей, связанных с кронштейном 11, пропущен приводной вал 13 от механизма поворота 14. Размеры рычагов 12 пропорциональны расстоянию данной опоры относительно середины базы машины. На валу 15 кривошипа 4 установлены кулачки 16, которые контактируют с выключателями 17 и 18, управляя подъемом стойки 2.
Механизм поворота 14 содержит входной вал 19, который соединен с кулисой 22, в пазу которой установлен ползун 23. В зависимости от положения ползуна 23 относительно оси качания кулисы 22 рычаг 24 меняет амплитуду и фазу колебаний, что определяет поворот налево или направо всей машины.
Рычаг 24 жестко связан (заштифтован) с приводным валом 13 (общим для половины опор машины находящихся в одной фазе). Для передвижения ползуна имеется механизм, состоящий из рычага 25, оси 26, вала 27, тяги 28, втулки 29, соосной с осью 30 качания кулисы 22, приводного винта 31 и управляющего рычага 32, причем рычаг 24 соединен с камнем-ползуном 23 тягой 33. Входной вал 19 соединен с валом 30 через зубчатую пару 34. Стойка 2 соединена через сферический шарнир 35 с шейкой кривошипа 5, вал которого соединен с реверсивным силовым приводом 36, управляемым выключателями 17 и 18.
Электромеханический привод кулисного типа 37 механизма поворота 14 может быть выполнен различным образом, например в виде механизма по а.с. 1293933. Кулиса 38 механизма установлена в подшипниках 39 в корпусе 40, жестко закрепленном на раме. В корпусе 40 жестко установлено коронное колесо 41, в зацепление с которым входит сателлит 42, содержащий эксцентрично расположенный ползун 43, сопрягающийся с кулисой 38. Сателлит 42 шарнирно связан с водилом 44, установленным на выходном валу 45 электродвигателя 46 вращения. Ось кулисы 38 жестко связана с входным валом 19 механизма поворота 14.
Шагающая машина работает следующим образом.
Кривошип 4, равномерно вращаясь, качает стойку 2 и кривошип 5. Опора при этом перемещается равномерно по прямой. Кулачки 16 дают команду приводу 36 на подъем и опускание. Для поворота машины стойку 2 необходимо наклонять в поперечной плоскости вокруг шарнира 35 путем воздействия на сферу 9 через направляющую 10 рычагом 12. Рычаги 12 опор жестко связаны с приводным валом 13 механизма поворота 14. Величина наклона стойки 2 (а значит радиус и направление поворота машины) определяется наклоном рычага 12 (рычаги рычажных механизмов установлены в среднем положении под углом
,
амплитуда и фаза которого определяется положением управляющего рычага 32 механизма поворота 14.
Так как у всех стоек машины рычаги 12 разные

где

R – минимальный радиус поворот опоры, L- расстояние от среднего положения опоры до середины базы машины, В – полуразмах шагающего движителя, – полуразмах приводного кривошипа стойки, С – отношение длины нижней части стойки (от крепления приводного кривошипа) к длине верхней ее части, k – передаточное отношение механизма поворота), то и отклонение соответствует положению каждой опоры на машине. Имеется два механизма поворота (можно три и более, но это усложняет машину), что позволяет иметь парную походку – у 6-ногой машины трешками, у 8-ногой четверками и т.д.
Опоры, находящиеся в одной фазе, отклоняются рычагами 12 на разные боковые расстояния, но при этом угловые отклонения самих рычагов одинаковы для всех опор; что позволяет работать механизму поворота на максимальном диапазоне, а кроме того, общий приводной вал 13 позволяет избежать накопления ошибки в рулевом механизме.
Таким образом, привод поворота машины, выполненный из двух реверсивных приводов поворота, каждый из которых связан с рычагами рычажных механизмов половины опор общим качающимся валом и имеющих общий рычаг управления, а рычаги рычажных механизмов установлены в среднем положении под углом

к вертикали рамы машины и размеры их равны

позволяет:
– снизить (практически исключить) скольжение опоры по грунту за счет лучшего приближения к идеальной траектории путем более широкого использования диапазона работы механизма поворота при минимальных радиусах, а также за счет установки рычага рычажного механизма направляющей на угол , ликвидации накопленной ошибки в рулевом механизме;
– упростить систему управления машиной за счет установки двух (только 2-х !) механизмов поворота.
Все это способствует повышению экономичности и надежности.
Формула изобретения
Шагающая машина с парной походкой и с не менее шестью опорами, каждая из которых содержит стойку с приводным кривошипом, верхний конец которой подвижно установлен в направляющей, подъемный кривошип и реверсивный привод поворота с рычагом управления, отличающаяся тем, что указанный верхний конец стойки выполнен в виде поршня, навальцованного на сферу, и подвижно установлен в качающейся поперек машины цилиндрической направляющей, установленной на рычажном параллелограммном механизме, содержащем кронштейн и четыре рычага, одна пара осей которых связана с кронштейном, а другая – с цилиндрической направляющей, причем через пару осей, связанных с кронштейном, пропущен качающийся приводной вал от механизма поворота, при этом реверсивный привод поворота машины выполнен из двух реверсивных приводов механизмов поворота, каждый из которых связан с качающимися рычажными механизмами половины опор общим качающимся приводным валом и имеет общий рычаг управления, при этом рычаги рычажных механизмов установлены в среднем положении под углом к вертикали машины, равным

а размер каждого из них равен

где

R – минимальный радиус поворот опоры, L – расстояние от среднего положения опоры до середины базы машины, В – полуразмах шагающей опоры движителя, – полуразмах приводного кривошипа стойки, С – отношение длины нижней части стойки от крепления приводного кривошипа к длине верхней ее части, k – передаточное отношение механизма поворота, k=1.
РИСУНКИ
MM4A – Досрочное прекращение действия патента СССР или патента Российской Федерации на изобретение из-за неуплаты в установленный срок пошлины за поддержание патента в силе
Дата прекращения действия патента: 09.09.2005
Извещение опубликовано: 10.06.2007 БИ: 16/2007
|
|