|
|
(21), (22) Заявка: 2003118767/02, 23.06.2003
(24) Дата начала отсчета срока действия патента:
23.06.2003
(43) Дата публикации заявки: 27.12.2004
(45) Опубликовано: 20.08.2005
(56) Список документов, цитированных в отчете о поиске:
RU 2084348 C1, 20.07.1997. SU 440274 A1, 13.03.1975. SU 529092 A1, 12.01.1977. RU 2206457 С2, 20.06.2003. US 3889586 A1, 17.06.1975. DE 2015342 A1, 31.03.1970.
Адрес для переписки:
663310, г. Норильск, ул. 50 лет Октября, 7, Норильский индустриальный институт, Проректору по У и НР
|
(72) Автор(ы):
Потапенков А.П. (RU), Чернобай В.М. (RU), Пилипенко С.С. (RU), Миняков О.В. (RU), Никоноров Л.В. (RU)
(73) Патентообладатель(и):
Норильский индустриальный институт (RU)
|
(54) ГИДРАВЛИЧЕСКИЙ ПРЕСС
(57) Реферат:
Изобретение относится к области машиностроения, а именно к конструкциям и системам управления гидравлических прессов. Пресс содержит неподвижную и подвижную траверсы, два силовых и два возвратных цилиндра, дозатор с двумя равными дозирующими цилиндрами высокого давления, насосную станцию и систему управления синхронным движением подвижной траверсы. На общем трубопроводе силовых и возвратных цилиндров установлен открытый двухпозиционный двухходовой отсечной золотник. Система управления включает трехпозиционный четырехходовой реверсивный золотник и снабжена двумя двухпозиционными трехходовыми переключающими золотниками. Дозатор выполнен с двумя равными дозирующими цилиндрами низкого давления, полости которых попарно с полостями дозирующих цилиндров высокого давления подключены соответственно к закрытым для дозирующих цилиндров низкого давления и открытым для дозирующих цилиндров высокого давления выходам двух двухпозиционных трехходовых переключающих золотников. Эти же пары полостей дозирующих цилиндров подключены соответственно к закрытым для цилиндров высокого давления и открытым для цилиндров низкого давления выходам двух дополнительных двухходовых трехпозиционных переключающих золотников. Полости дозирующих цилиндров высокого давления и полости дозирующих цилиндров низкого давления попарно сами с собой общими трубопроводами с закрытыми двухпозиционными двухходовыми отсечными золотниками соединены со сливом. В результате обеспечивается повышение КПД и надежности пресса, а также уменьшение капитальных и эксплуатационных затрат. 2 з.п. ф-лы, 1 ил. 
Изобретение относится к машиностроению, а именно к конструкции и системам управления гидравлических прессов.
Известен гидравлический вырубной пресс, содержащий подвижную траверсу и стол с двумя гидравлическими цилиндрами, дозатор-мультипликатор с управляющей и двумя нагнетательными полостями с равными площадями, регулятор потока жидкости, систему регулирующей и управляющей аппаратуры (а.с. СССР № 1224182, 1986, В 30 В 15/24).
Недостатками данного пресса являются:
сложность конструкции пресса ввиду наличия цилиндров с тремя гидравлическими и двумя вспомогательными полостями;
пониженная надежность ввиду наличия зоны разряжения при подпитке одной из двух управляющей полости дозатора из бака для жидкости.
Наиболее близким по технической сущности и достигаемому результату к настоящему изобретению является гидравлический пресс, содержащий неподвижную и подвижную траверсы, два силовых и два возвратных цилиндра, гидропривод, систему управления синхронным движением подвижной траверсы, включающую мультипликатор-дозатор, редуктор-дозатор и систему управляющей и переключающей аппаратуры (патент РФ № 2084348, 1997, В 30 В 15/24).
Недостаток данного пресса – повышенные затраты при изготовлении и эксплуатации, связанные с использованием в системе управления двух подобных металлоемких устройств: мультипликатора-дозатора и редуктора-дозатора.
Целью изобретения является повышение кпд и надежности пресса, уменьшение капитальных и эксплуатационных затрат, что достигается за счет снижения установленной мощности и давления насосов, обеспечением синхронной работы двух параллельно установленных силовых цилиндров, использованием мультипликатора-дозатора и в качестве редуктора-дозатора.
Поставленная цель достигается тем, что в гидравлическом прессе, содержащем неподвижную и подвижную траверсы, два силовых и два возвратных цилиндра, на общем трубопроводе которых установлен открытый двухпозиционный двухходовой отсечной золотник, насосную станцию, систему управления синхронным движением подвижной траверсы, включающую трехпозиционный четырехходовой реверсивный золотник, входы которого раздельно соединены со сливной и напорной магистралями насосной станции, а один из выходов – с общим трубопроводом возвратных цилиндров, дозатор с двумя равными дозирующими цилиндрами высокого давления, согласно изобретению дозатор выполнен с двумя равными дозирующими цилиндрами низкого давления, полости которых попарно с полостями дозирующих цилиндров высокого давления подключены соответственно к закрытым (цилиндры низкого давления) и открытым (цилиндры высокого давления) выходам двух двухпозиционных трехходовых переключающих золотников, входы которых соединены со вторым выходом реверсивного золотника, и эти же пары полостей дозирующих цилиндров подключены соответственно к закрытым (цилиндры высокого давления) и открытым (цилиндры низкого давления) выходам двух дополнительных двухпозиционных трехходовых переключающих золотников, вход каждого из которых независимым трубопроводом соединен с одним из силовых цилиндров, при этом полости дозирующих цилиндров высокого давления и полости дозирующих цилиндров низкого давления попарно сами с собой общими трубопроводами с закрытыми двухпозиционными двухходовыми отсечными золотниками соединены со сливом.
Для повышения надежности работы пресса дозатор выполнен в виде соосно установленных плунжерных гидроцилиндров, при этом корпусы цилиндров жестко соединены между собой в блок неподвижных (подвижных) элементов, а плунжеры – в блок подвижных (неподвижных) элементов.
Выполнение дозатора с двумя равными дозирующими цилиндрами низкого давления, подключение полостей этих цилиндров попарно с полостями дозирующих цилиндров высокого давления соответственно к закрытым (цилиндры низкого давления) и открытым (цилиндры высокого давления) выходам двух двухпозиционных трехходовых переключающих золотников, входы которых соединены со вторым выходом реверсивного золотника; подключение этих же пар полостей дозирующих цилиндров соответственно к закрытым (цилиндры высокого давления) и открытым (цилиндры низкого давления) выходам двух дополнительных двухпозиционных трехходовых переключающих золотников, вход каждого из которых независимым трубопроводом соединен с одним из силовых цилиндров; соединение полостей дозирующих цилиндров высокого давления и полостей дозирующих цилиндров низкого давления попарно самих с собой общими трубопроводами с закрытыми двухпозиционными двухходовыми отсечными золотниками со сливом обеспечивает функционирование дозатора при рабочем ходе в качестве мультипликатора-дозатора, при холостом ходе – в качестве редуктора-дозатора и к окончанию рабочего цикла пресса – вывод блока подвижных элементов дозатора в исходное положение.
Использование одного устройства вместо двух потребует меньших затрат при изготовлении и эксплуатации системы управления прессом. В то же время редуктор-дозатор обеспечивает повышенную скорость холостого хода по сравнению со скоростью рабочего хода, обеспечиваемую мультипликатором-дозатором, и потому использование редуктора-дозатора позволяет в совокупности с другими существенными признаками повысить кпд пресса за счет снижения установленной мощности насосов. Одновременно подключение полостей дозирующих цилиндров высокого давления и полостей дозирующих цилиндров низкого давления попарно самих с собой общими трубопроводами с закрытыми двухпозиционными двухходовыми отсечными золотниками к сливу обеспечивает независимое от подвижных элементов силового узла пресса перемещение блока подвижных элементов дозатора, что необходимо при наладке (настройке) системы управления и при перезарядке редуктора-мультипликатора.
Изготовление дозатора в виде соосно установленных плунжерных гидроцилиндров делает его конструкцию технологичной, создает благоприятные условия силового нагружения его подвижных элементов, исключая их перекос, что в итоге повышает его надежность, а значит, и надежность всей системы управления прессом.
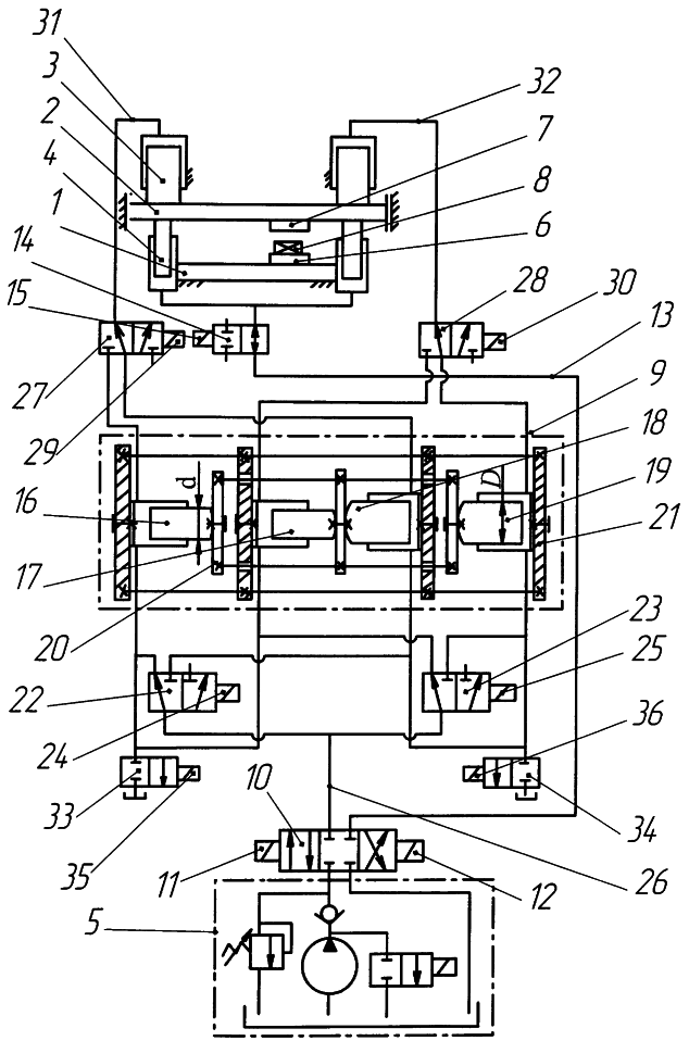
Гидравлический пресс поясняется чертежом, где показана схема пресса.
Гидравлический пресс содержит неподвижную траверсу 1, подвижную траверсу 2, два силовых цилиндра 3, два возвратных цилиндра 4, насосную станцию 5. На траверсах 1 и 2 закреплены рабочие части инструмента 6 и 7, между которыми располагается обрабатываемое изделие 8. Система управления прессом содержит дозатор 9 и трехпозиционный четырехходовой реверсивный золотник 10 с электромагнитами 11 и 12. Входы реверсивного золотника соединены соответственно с напорной и сливной магистралями, а один из выходов – с общим трубопроводом возвратных цилиндров 13, на котором установлен открытый двухпозиционный двухходовой отсечной золотник 14 с электромагнитом 15. Дозатор имеет два дозирующих цилиндра 16 и 17 высокого давления с диаметром плунжеров d и два дозирующих цилиндра 18 и 19 низкого давления с диаметром плунжеров D (D > d). Плунжеры всех цилиндров дозатора соединены между собой в блок 20 подвижных элементов, корпусы всех цилиндров дозатора соединены в блок 21 неподвижных элементов. Полости цилиндров дозатора высокого и низкого давления попарно (16 и 18, 17 и 19) соединены соответственно с закрытыми (цилиндры низкого давления) и открытыми (цилиндры высокого давления) выходами двух двухпозиционных трехходовых переключающих золотников 22 и 23 с электромагнитами 24 и 25 соответственно. Входы этих золотников общим трубопроводом 26 соединены со вторым выходом реверсивного золотника. Эти же пары полостей дозирующих цилиндров соединены соответственно с закрытыми (цилиндры высокого давления) и открытыми (цилиндры низкого давления) выходами двух дополнительных двухпозиционных трехходовых переключающих золотников 27 и 28 с электромагнитами 29 и 30 соответственно. Входы этих золотников независимыми трубопроводами 31 и 32 соединены с силовыми цилиндрами. Полости дозирующих цилиндров высокого давления (16, 17) и полости дозирующих цилиндров низкого давления (18, 19) общими трубопроводами с закрытыми двухпозиционными двухходовыми отсечными золотниками 33, 34 с электромагнитами 35 и 36 соответственно соединены со сливом.
Гидравлический пресс работает следующим образом. Рабочий цикл пресса происходит при работающих насосах станции 5 и включает периоды холостого, рабочего и возвратного ходов с выведением подвижной траверсы пресса и блока подвижных элементов дозатора в исходное положение.
Холостой ход пресса начинается из исходного положения, при котором подвижная траверса 2 пресса занимает верхнее положение, а блок 20 подвижных элементов дозатора – расчетное промежуточное положение (см. чертеж). Для его осуществления включается электромагнит 11. Реверсивный золотник 10 занимает позицию, при которой трубопровод 26 соединяется с напорной магистралью насосной станции, а трубопровод 13 – со сливом. При этом жидкость от насосной станции 5 через золотники 22 и 23, находящиеся в исходной позиции, поступает в цилиндры высокого давления 16 и 17 дозатора 9 и при движении его блока подвижных элементов 20 вправо вытесняется из цилиндров низкого давления 18 и 19 через золотники 27 и 28 по трубопроводам 31 и 32 соответственно в силовые цилиндры 3. Плунжеры силовых цилиндров, перемещаясь синхронно, обеспечивают холостой ход пресса с вытеснением жидкости из возвратных цилиндров 4 через отсечной золотник 14, по трубопроводу 13 и через реверсивный золотник 10 на слив. Учитывая соотношение диаметров плунжеров дозирующих цилиндров высокого и низкого давления (d
Холостой ход продолжается до контакта подвижной части инструмента 7 с изделием 8. Связанное с этим возрастание давления в напорном трубопроводе насосной станции обеспечивает включение электромагнитов 24, 25, 29 и 30 и переключение золотников 22, 23, 27 и 28. Теперь жидкость от насосной станции через золотники 22 и 23 поступает в дозирующие цилиндры низкого давления 18 и 19 дозатора 9 и при движении его блока подвижных элементов 20 влево вытесняется из дозирующих цилиндров 16 и 17 высокого давления через золотники 27 и 28 по трубопроводам 31 и 32 соответственно, в силовые цилиндры 3. Дозатор в этом случае работает как гидравлический мультипликатор-дозатор, обеспечивая повышенное давление в силовых цилиндрах по сравнению с давлением насосной станции.
При обратном ходе одновременно с возвратом подвижной траверсы 2 в исходное положение осуществляется возврат в исходное положение и блока 20 подвижных элементов дозатора. При этом для заполнения полостей цилиндров дозатора используется жидкость, вытесняемая из полостей силовых цилиндров 3, что обеспечивает синхронную работу возвратных цилиндров 4. Возвратный ход начинается с включения электромагнита 12. Реверсивный золотник 10 занимает позицию, при которой трубопровод 26 соединяется со сливом, а трубопровод 13 – с напорной магистралью. На первом этапе возвратного хода дополнительно к электромагниту 12 включаются электромагниты 24, 25, 29 и 30. При этом золотники 22, 23, 27 и 28 меняют позиции: золотники 22 и 23 соединяют полости дозирующих цилиндров 18 и 19 низкого давления с трубопроводом 26, а золотники 27 и 28 – полости дозирующих цилиндров 16 и 17 высокого давления с трубопроводами 31 и 32 и силовыми цилиндрами. При таком положении золотников жидкость от насосной станции поступает в возвратные цилиндры, подвижная траверса 2 движется вверх, а жидкость, вытесняемая из силовых цилиндров, заполняет полости дозирующих цилиндров высокого давления. Блок 20 подвижных элементов дозатора движется вправо (см. фиг.) и вытесняет жидкость из полостей дозирующих цилиндров низкого давления на слив через реверсивный золотник. Данное перемещение блока подвижных элементов дозатора соответствует режиму зарядки мультипликатора-дозатора (в дозатор возвращаются объемы жидкости, вытесненные из него в силовые цилиндры при рабочем ходе). После перемещения блока подвижных элементов дозатора вправо (см. чертеж) на расчетную величину происходит отключение электромагнитов 24, 25, 29 и 30 и золотники 22, 23, 27 и 28 занимают исходные позиции. Золотники 22 и 23 соединяют полости дозирующих цилиндров 16 и 17 высокого давления через реверсивный золотник и трубопровод 26 со сливом, золотники 27 и 28 – силовые цилиндры с полостями дозирующих цилиндров 18 и 19 низкого давления. При этом подвижная траверса продолжает движение вверх, а жидкость из силовых цилиндров вытесняется в полости дозирующих цилиндров 18 и 19 низкого давления. Блок 20 подвижных элементов дозатора движется влево и вытесняет жидкость из полостей дозирующих цилиндров 16 и 17 высокого давления на слив через реверсивный золотник. Данное перемещение блока подвижных элементов дозатора соответствует режиму зарядки редуктора-мультипликатора (в дозатор возвращаются объемы жидкости, вытесненные из него в силовые цилиндры при холостом ходе) и продолжается оно до выхода подвижной траверсы пресса в исходное положение. В идеальном варианте к этому моменту в исходное положение должен выйти и блок подвижных элементов дозатора, что соответствует началу нового рабочего цикла пресса. Однако вследствие возможных утечек жидкости из замкнутых объемов (силовой цилиндр – дозирующий цилиндр), вследствие разброса параметров обрабатываемых на прессе заготовок и др. наиболее вероятным будет то, что в момент выхода подвижной траверсы пресса в исходное положение блок подвижных элементов дозатора будет занимать позицию слева или справа (по схеме) от исходного положения. В этом случае до начала нового рабочего цикла пресса осуществляется корректировка положения блока подвижных элементов дозатора. При этом отключается электромагнит 12 и включаются электромагниты 11 и 15. Сменив позицию, золотник 15 закрывает выход из возвратных цилиндров 4, что обеспечивает фиксацию подвижной траверсы пресса в исходном положении, реверсивный золотник соединяет трубопровод 26 с напорной магистралью. Далее, в зависимости от позиции блока подвижных элементов дозатора, осуществляется дополнительное переключение золотников. В случае, если блок 20 находится слева от исходного положения, включается электромагнит 36 и золотник 34 соединяет дозирующие цилиндры 18 и 19 со сливом. Теперь жидкость от насосной станции поступает через золотники 22 и 23 в дозирующие цилиндры 16 и 17. Блок 20 движется вправо к исходному положению, вытесняя жидкость из дозирующих цилиндров 18 и 19 через золотник 34 на слив. В случае, если блок 20 находится справа от исходного положения, включаются электромагниты 24, 25 и 35 и золотник 33 соединяет дозирующие цилиндры 16 и 17 со сливом, а золотники 22 и 23 – дозирующие цилиндры 18 и 19 с напорной магистралью. Теперь жидкость от насосной станции поступает через золотники 22 и 23 в дозирующие цилиндры 18 и 19. Блок 20 движется влево к исходному положению, вытесняя жидкость из дозирующих цилиндров 16 и 17 через золотник 33 на слив.
Сигналы на необходимые включения электромагнитов золотников можно получить, например, от концевых переключателей, контролирующих положение подвижных элементов пресса, блока подвижных элементов дозатора и реле давлений.
Подача жидкости в силовые цилиндры и слив жидкости из них во все периоды работы пресса осуществляется через полости дозирующих цилиндров высокого или низкого давления. Этим обеспечивается движение подвижной траверсы без перекосов (синхронное движение) во все периоды рабочего цикла. Использование дозатора при холостом ходе в качестве редуктора-дозатора уменьшает расход жидкости от насосной станции, а значит, уменьшает установленную мощность насосов и повышает кпд пресса. Использование дозатора в качестве мультипликатора-дозатора при рабочем ходе снижает давление в напорной магистрали, что повышает ее надежность. При этом функции редуктора-дозатора и функции мультипликатора-дозатора выполняет один агрегат, что потребует меньших затрат на изготовление и эксплуатацию пресса. Этим и достигается экономический эффект при использовании данного пресса.
Формула изобретения
1. Гидравлический пресс, содержащий неподвижную и подвижную траверсы, два силовых и два возвратных цилиндра, на общем трубопроводе которых установлен открытый двухпозиционный двухходовой отсечной золотник, дозатор с двумя равными дозирующими цилиндрами высокого давления, насосную станцию и систему управления синхронным движением подвижной траверсы, включающую трехпозиционный четырехходовой реверсивный золотник, входы которого раздельно соединены со сливной и напорной магистралями насосной станции, а один из выходов – с общим трубопроводом возвратных цилиндров, отличающийся тем, что система управления снабжена двумя двухпозиционными трехходовыми переключающими золотниками, дозатор выполнен с двумя равными дозирующими цилиндрами низкого давления, полости которых попарно с полостями дозирующих цилиндров высокого давления подключены соответственно к закрытым для дозирующих цилиндров низкого давления и открытым для дозирующих цилиндров высокого давления выходам двух двухпозиционных трехходовых переключающих золотников, входы которых соединены со вторым выходом трехпозиционного четырехходового реверсивного золотника, и эти же пары полостей дозирующих цилиндров подключены соответственно к закрытым для цилиндров высокого давления и открытым для цилиндров низкого давления выходам двух дополнительных двухходовых трехпозиционных переключающих золотников, вход каждого из которых независимым трубопроводом соединен с одним из силовых цилиндров, при этом полости дозирующих цилиндров высокого давления и полости дозирующих цилиндров низкого давления попарно сами с собой общими трубопроводами с закрытыми двухпозиционными двухходовыми отсечными золотниками соединены со сливом.
2. Пресс по п.1, отличающийся тем, что дозатор выполнен в виде соосно установленных плунжерных гидроцилиндров, при этом их корпуса соединены между собой в блок неподвижных элементов, а плунжеры – в блок подвижных элементов.
3. Пресс по п.1, отличающийся тем, что дозатор выполнен в виде соосно установленных плунжерных гидроцилиндров, при этом их корпуса соединены между собой в блок подвижных элементов, а плунжеры – в блок неподвижных элементов.
РИСУНКИ
MM4A Досрочное прекращение действия патента Российской Федерации на изобретение из-за неуплаты в установленный срок пошлины за поддержание патента в силе
Дата прекращения действия патента: 24.06.2005
Извещение опубликовано: 27.01.2007 БИ: 03/2007
),>
|
|