|
|
(21), (22) Заявка: 2004109721/12, 01.04.2004
(24) Дата начала отсчета срока действия патента:
01.04.2004
(45) Опубликовано: 20.08.2005
(56) Список документов, цитированных в отчете о поиске:
RU 2036097 C1, 27.05.1995. RU 2178736 С2, 27.01.2002. US 3931935 А, 13.01.1976. GB 638364 А, 07.07.1950. ЕР 0434975 А1, 03.07.1991.
Адрес для переписки:
105066, Москва, ул. Старая Басманная, 21/4, МГУИЭ, проректору по научной работе
|
(72) Автор(ы):
Балашов М.М. (RU), Чистов В.И. (RU), Рыжов В.В. (RU)
(73) Патентообладатель(и):
Московский государственный университет инженерной экологии (RU)
|
(54) УСТРОЙСТВО ДЛЯ ПЕРЕРАБОТКИ ТЕРМОПЛАСТИЧНОГО МАТЕРИАЛА
(57) Реферат:
Изобретение относится к переработке вторичных полимерных материалов, в частности отходов полиэтилена высокого и низкого давления, поливинилхлоридных материалов в виде пленки без ткани и на тканевой основе, синтетических текстильных материалов и т.п. Устройство для переработки термопластичного материала содержит корпус с загрузочной зоной и выходными каналами, размещенные в стенке корпуса нагреватели и расположенный в полости корпуса рабочий орган в виде зацепляющихся зубчатых валков, два из которых являются загрузочными. Зона загрузки ограничена валками и поверхностью корпуса, расположенной вдоль образующей валков. Поверхность, которая проходит через ребра загрузочной зоны корпуса, примыкающие к загрузочным валкам, расположена на расстоянии от плоскости, проходящей через оси загрузочных валков меньшим их радиуса. Отсутствие части корпуса, покрывающего загрузочные валки, дает возможность подавать в загрузочную зону вторсырье, габариты которого превышают размеры самой установки. Конфигурация загрузочной зоны обеспечивает возможность переработки крупногабаритных материалов, а также улучшает условия эксплуатации. 2 ил. 
Изобретение относится к переработке вторичных полимерных материалов, в частности отходов полиэтилена высокого и низкого давления, поливинилхлоридных материалов в виде пленки без ткани и на тканевой основе, синтетических текстильных материалов и т.п.
Известно устройство для переработки пластичного материала, содержащее корпус с загрузочной зоной и выходными отверстиями, нагревателями и рабочий орган, выполненный в виде последовательности зацепляющихся зубчатых валков (Патент №2178736 С2, кл. В 29 В 17/00, 1999).
Наиболее близким к предлагаемому решению по технической сущности и достигаемому эффекту является устройство для переработки пластичного материала, содержащее корпус с загрузочной зоной и выходными отверстиями, нагреватели и размещенный в корпусе рабочий орган, выполненный в виде последовательности зацепляющихся зубчатых валков. Зубья валков, расположенных под загрузочным отверстием корпуса, на части валка выполнены уменьшенной высоты (Патент RU №2036097 С1, кл. В 29 В 17/00, 1995).
Задачей изобретения является возможность переработки крупногабаритного материала и улучшение условий переработки.
Для решения поставленной задачи устройство для переработки термопластичного материала содержит корпус с загрузочной зоной и выходными каналами, размещенные в стенке корпуса нагреватели и расположенный в корпусе рабочий орган, выполненный в виде зацепляющихся зубчатых валков, два из которых являются загрузочными, при этом зона загрузки ограничена валками и поверхностью корпуса, расположенной вдоль образующей валков, в котором, согласно изобретению, поверхность (у-у), проходящая через ребра загрузочной зоны корпуса, примыкающие к загрузочным валкам, расположена на расстоянии от плоскости (х-х) осей этих валков меньшем их радиуса (R).
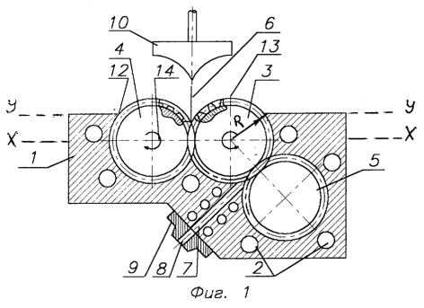
На фиг.1 изображен поперечный разрез, на фиг.2 – поперечный разрез – вариант.
Устройство состоит из корпуса 1, снабженного нагревателями 2, размещенными в стенке корпуса. В полости корпуса расположен рабочий органов в виде системы из зацепляющихся зубчатых валков 3, 4, 5 находящихся в нормальном эвольвентном зацеплении друг с другом, причем валки 3 и 4 являются загрузочными. Данная конфигурация загрузочной зоны 6 позволяет, в отличие от предыдущих установок, перерабатывать крупногабаритные отходы и пленки, причем в области переработки вторичного сырья эта необходимость возникает часто. Направление вращения показано на фиг.1 стрелками. Рабочий орган содержит приводной зубчатый валок 3, входящий в зацепление одновременно с двумя другими рядом расположенными зубчатыми валками 4, 5. Зубчатые валки 4, 5 могут быть свободно размещены в полости корпуса и выполнены без подшипниковых опор, а опорами вращения этих валков, в этом случае, служат внутренние стенки корпуса. Загрузочная зона 6 расположена над зоной зацепления горизонтально расположенных зубчатых валков 3, 4. Валок 5 расположен со смещением вниз. Выходной канал 7 сообщается с формующими каналами 8 формующей головки 9. Устройство также может быть снабжено толкателем 10. Показанное на фиг.1 устройство предназначено, преимущественно, для переработки пленок любой толщины, а также для крупногабаритных отходов без стадии дробления. При переработке сыпучих материалов, для удобства их загрузки, корпус этого устройства может иметь съемную часть 11 (см. фиг.2) с направляющими щеками, при этом расстояние поверхности, проходящей через ребра 12 корпуса 1 от плоскости симметрии зубчатых валков меньше радиуса валков 3 и 4.
Устройство работает следующим образом. Корпус 1 и формующая головка 9 прогреваются до необходимой температуры. Затем включается привод вращения зубчатого валка 3. Приводной валок 3 передает вращение на валки 4 и 5. В загрузочную зону 6 подается перерабатываемый материал, который при необходимости может прижиматься и уплотняться толкателем 10 для обеспечения его захвата загрузочными валками 3, 4. Последние, вращаясь, затягивают перерабатываемый материал в рабочую полость устройства. Благодаря тому, что у валка 4 вершины зубьев срезаны на части длины валка, материал не выдавливается полностью из впадин зубчатого валка 3, а наоборот уплотняется в них. Перерабатываемый материал прогревается от горячих зубчатых валков и корпуса, а также в результате диссипации энергии в перерабатываемом материале. В результате сложной траектории движения частиц материала в области переработки происходит хорошее перемешивание и достигается гомогенизация высокого давления, поэтому материал выдавливается в выходной канал 7 и, проходя через формующие каналы 8, выдавливается из формующей головки 9.
Данное изобретение может быть применено в зубчатых пластикаторах, имеющих любое количество валков.
Отсутствие части корпуса, покрывающего загрузочные валки, дает возможность подавать в загрузочную зону вторсырье, габариты которого превышают размеры самой установки. Представленная конфигурация загрузочной зоны обеспечивает возможность переработки крупногабаритных материалов, а также улучшает условия эксплуатации.
Формула изобретения
Устройство для переработки термопластичного материала, содержащее корпус с загрузочной зоной и выходными каналами, размещенные в стенке корпуса нагреватели и расположенный в полости корпуса рабочий орган в виде зацепляющихся зубчатых валков, два из которых являются загрузочными, при этом зона загрузки ограничена валками и поверхностью корпуса, расположенной вдоль образующей валков, отличающееся тем, что поверхность, которая проходит через ребра загрузочной зоны корпуса, примыкающие к загрузочным валкам, расположена на расстоянии от плоскости, проходящей через оси загрузочных валков, меньшем их радиуса.
РИСУНКИ
|
|