|
|
(21), (22) Заявка: 2003127478/02, 10.09.2003
(24) Дата начала отсчета срока действия патента:
10.09.2003
(43) Дата публикации заявки: 27.03.2005
(45) Опубликовано: 20.08.2005
(56) Список документов, цитированных в отчете о поиске:
SU 1649753 A1, 20.02.2003. SU 1302576 A1, 20.02.2003. SU 174501 A1, 01.01.1965. GB 1403283 A, 28.08.1975.
Адрес для переписки:
445051, г. Тольятти, ул. Маршала Жукова, 22, кв.148, А.М. Царёву
|
(72) Автор(ы):
Царёв А.М. (RU), Хусаинов Т.Д. (RU), Мустафаев Р.А. (RU)
(73) Патентообладатель(и):
Царев Анатолий Михайлович (RU), Хусаинов Тимур Дамирович (RU), Мустафьев Роман Алиевич (RU)
|
(54) МНОГОМЕСТНОЕ ПРИСПОСОБЛЕНИЕ-СПУТНИК
(57) Реферат:
Изобретение относится к области машиностроения, в частности к приспособлениям и устройствам для многоместного крепления и обработки корпусных деталей на станках с ЧПУ, автоматических линиях. В многоместном приспособлении-спутнике рама выполнена звездообразной, с исходящими изнутри корпуса от центра рамы ребрами, на концах ребер имеются приливы, каждый из приливов имеет расположенные в различных плоскостях взаимноприлегающие внутренние и наружные поверхности, завершающие ребра снаружи корпуса так, что наружные поверхности приливов составляют группы комплектов опорных плоскостей с различных сторон рамы, на которых размещены сменные плиты с элементами базирования и крепления обрабатываемых деталей, при этом плиты являются боковыми гранями корпуса. Обеспечивается расширение технологических возможностей, упрощение конструкции корпуса спутника с возможностью смены плит при переналадке приспособления и смене обрабатываемых деталей. 4 ил. 
Изобретение относится к области машиностроения, в частности к приспособлениям и устройствам для многоместного крепления и обработки корпусных деталей на станках с ЧПУ, автоматических линиях.
Сущность изобретения. Предложена конструкция приспособления – спутника с многоместным расположением деталей для обработки на боковых гранях корпуса приспособления – спутника. Приспособление-спутник позволяет осуществлять многостороннюю обработку одновременно нескольких деталей. Детали базируются и крепятся на сменных плитах. В качестве основного базового узла, воспринимающего основные нагрузки при многоинструментальной обработке, принята рама крестообразной формы. Рама имеет ребра, которые исходят от центра рамы внутри корпуса приспособления-спутника. На концах ребер имеются приливы с взаимноприлегающими опорными поверхностями. С каждой из сторон рамы опорные поверхности на приливах образуют группы комплектов опорных плоскостей рамы, на которых базируются и крепятся сменные плиты с обрабатываемыми деталями.
По проведенным литературно-патентным исследованиям выявлены аналоги приспособлений-спутников для многоместной обработки деталей на автоматических линиях. Известно многоместное приспособление спутник [1], применяемое для многоместного базирования и крепления корпусных деталей на различных сторонах корпуса. Корпус приспособления-спутника выполнен в виде многогранной рамы с боковыми гранями, на которых крепятся сменные блоки с обрабатываемыми деталями. Рама в виде куба имеет боковые окна, внутреннюю полость, боковые ребра. Многоместное расположение обрабатываемых деталей с различных сторон корпуса позволяет вести многостороннюю, многоинструменатльную обработку деталей. Для аналога [1] при многоместной обработке деталей распределение нагрузки и действующих сил инструментального воздействия направляется вдоль боковых ребер рамы. Для решения задачи взаимного уравновешивания сил и нагрузок при обработке деталей предлагается конструкция приспособления-спутника с звездообразной рамой в отличие от аналога. Силы, действующие при обработке, будут направлены от боковых граней корпуса ребра внутри корпуса, сходящихся к центру рамы, и взаимно уравновешиваются. При этом упрощается конструкция приспособления-спутника, обеспечивается при этом многоместная, многосторонняя и многоинструментальная обработка деталей, смена плит с деталями.
Признаками предлагаемого технического решения, совпадающими с известными по уровню техники техническими решениями и аналогами, являются: приспособление-спутник имеет многогранный полый корпус, содержит сменные плиты с зажимными механизмами обрабатываемых деталей, обрабатываемые детали имеют многоместное расположение со стороны боковых граней корпуса, корпус имеет внутреннюю полость.
Задачами изобретения являются: расширение технологических возможностей приспособлений-спутников для многоместной обработки деталей с различных сторон корпуса приспособления; упрощение конструкции корпуса спутника с возможностью смены плит при переналадке приспособления и смене обрабатываемых деталей гибкого автоматизированного производства.
Технический результат изобретения. Впервые предложена конструкция многоместного приспособления-спутника, в котором корпус выполнен в виде звездообразной рамы с исходящими из внутренней полости корпуса ребрами с приливами. На приливах базируются и крепятся сменные плиты, обеспечивая оптимальное перераспределение сил и нагрузки, действующих на корпус в процессе обработки деталей. Улучшаются эксплуатационные свойства конструкции и уменьшаются вибрации, повышается жесткость.
Существенные признаки. Многогранный полый корпус приспособления-спутника содержит раму со сменными плитами на боковых гранях. Рама выполнена звездообразной с исходящими изнутри корпуса ребрами. На концах ребер, направленных от центра рамы, имеются приливы, каждый из которых выполнен в свою очередь с боковыми гранями. Боковые грани образованы взаимно прилегающими опорными поверхностями и расположены в различных плоскостях. Приливы завершают ребра снаружи корпуса приспособления-спутника. Опорные поверхности приливов составляют с каждой стороны корпуса группы комплектов опорных плоскостей, на которых размещены сменные плиты с элементами базирования, крепления и обрабатываемыми деталями на плитах. Плиты образуют боковые грани полого корпуса приспособления – спутника.
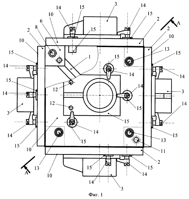
На фиг.1 показан общий вид многоместного приспособления-спутника с установленными на нем сменными плитами, базирующими и зажимными элементами для крепления деталей на плитах; на фиг.2 разрез А-А, фиг.1, без детали на плите; на фиг.3 – рама звездообразной формы корпуса многоместного приспособления-спутника, аксонометрия; на фиг.4 – рама звездообразной формы, проекция вид сбоку.
Многоместное приспособление-спутник, фиг.1, 2, выполнено в виде многогранного полого корпуса призматической формы. Корпус содержит раму 1, на которой установлены сменные плиты 2 с возможностью их базирования и крепления на раме 1 с различных сторон. На плитах 2 базируются и крепятся обрабатываемые, например, корпусные детали 3. Рама 1, фиг.3, 4, выполнена крестообразной так, что изнутри корпуса приспособления-спутника от центра 4 рамы 1 исходят в разных направлениях, как лучи, ребра 5. На концах ребер 5 имеются приливы 6. Приливы 6 выполнены призматической формы и имеют взаимноприлегающие поверхности 7. Поверхности 7 расположены в различных плоскостях на приливах 6. Поверхности 7 приливов 6 составляют группы комплектов опорных плоскостей 72 и направлены относительно центра 4 рамы 1 в различные стороны. Из числа поверхностей 7 часть поверхностей 7′ направлена вовнутрь корпуса, в сторону центра рамы 1 и составляют внутренние группы поверхностей, а другая часть поверхностей 7 составляет наружные группы плоскостей 72, фиг.4. На наружных плоскостях 72 приливов 6 имеются элементы базирования и крепления, например базирующие втулки 8 и резьбовые отверстия 9, фиг.3, 4. На наружных группах плоскостей 72, направленных в разные стороны от центра 4 рамы 1, размещены сменные плиты 2, фиг.1, 2. Установленные сменные плиты 2 внутренними поверхностями прилегают к плоскостям 72 приливов 6, наружными поверхностями 10 образуют боковые грани корпуса приспособления-спутника. Для базирования плиты 2 имеют установочные пальцы 11. Плита 2 закрепляется на приливах 6, например, винтами 13. На наружных поверхностях 10 плиты 2 установлена обрабатываемая деталь 3 с помощью базирующих элементов 12 и механизмов крепления 14 детали 3, фиг.1.
Многоместное приспособление-спутник собирается и работает следующим образом. Рама 1 выполнена звездообразной так, что нагрузки, силы, действующие при многоинструментальной обработке деталей 3, направлены от плит 2 через приливы 6 и ребра 5 к центру 4 рамы 1, что способствует гашению и нейтрализации сил, уменьшению вибраций приспособления-спутника при обработке деталей. Сменные плиты 2 установливают с различных сторон на комплекте наружных опорных плоскостей 72. Относительно комплекта наружных опорных плоскостей 72 сменная плита 2 имеет несколько вариантов углового положения при установке. Для корпуса приспособления – спутника кубической формы, фиг.1, каждая плита 2 имеет 4 установочных положения базирования и крепления. При этом с помощью двух установочных пальцев 11 на плите 2 и двух базирующих втулок 8 из числа четырех на комплекте наружных опорных плоскостей 72 выставляют плиту 2 в одно из угловых положений и закрепляют винтами 13 на боковых сторонах рамы 1. Для корпуса кубической формы на раме устанавливают шесть сменных плит 2. Обрабатываемые детали 3 размещают на корпусе приспособления-спутника, фиг.1, обеспечивая многоместное базирование и крепление на плитах 2 со стороны различных боковых граней корпуса. Базирование осуществляют с применением установочных пальцев 12 на плите 2 по наружной поверхности 10 плиты 2. С помощью прихватов механизмов крепления 14 осуществляется фиксация детали 3 на поверхности 10 плиты 2. Корпус 15 механизма крепления 14 расположен на плите 2 и его внутренняя часть 16 размещена под плитой 2, внутри корпуса приспособления – спутника.
Литературные и патентные источники
1. A.C. 1649753. Многоместное приспособление-спутник / А.М.Царев, Е.Н.Бабушкина, 1991.
Формула изобретения
Многоместное приспособление-спутник, имеющее многогранный полый корпус призматической формы, состоящее из рамы со сменными плитами и зажимными механизмами крепления обрабатываемых деталей с разных сторон корпуса, отличающееся тем, что рама выполнена звездообразной, с исходящими изнутри корпуса от центра рамы ребрами, на концах ребер имеются приливы, каждый из приливов имеет расположенные в различных плоскостях взаимноприлегающие внутренние и наружные поверхности, завершающие ребра снаружи корпуса так, что наружные поверхности приливов составляют группы комплектов опорных плоскостей с различных сторон рамы, на которых размещены сменные плиты с элементами базирования и крепления обрабатываемых деталей, при этом плиты являются боковыми гранями корпуса.
РИСУНКИ
MM4A – Досрочное прекращение действия патента СССР или патента Российской Федерации на изобретение из-за неуплаты в установленный срок пошлины за поддержание патента в силе
Дата прекращения действия патента: 11.09.2007
Извещение опубликовано: 10.03.2009 БИ: 07/2009
|
|