|
|
(21), (22) Заявка: 2003127477/02, 10.09.2003
(24) Дата начала отсчета срока действия патента:
10.09.2003
(43) Дата публикации заявки: 27.03.2005
(45) Опубликовано: 20.08.2005
(56) Список документов, цитированных в отчете о поиске:
SU 1649753 A1, 20.02.2003. SU 1302576 A1, 20.02.2003. SU 174501 A1, 01.01.1965. DE 2415966 A, 17.10.1974.
Адрес для переписки:
445051, г. Тольятти, ул. Маршала Жукова, 22, кв.148, А.М. Царёву
|
(72) Автор(ы):
Царёв А.М. (RU), Левашкин Д.Г. (RU)
(73) Патентообладатель(и):
Царев Анатолий Михайлович (RU), Левашкин Денис Геннадьевич (RU)
|
(54) МНОГОМЕСТНОЕ ПРИСПОСОБЛЕНИЕ-СПУТНИК
(57) Реферат:
Изобретение относится к машиностроению, в частности к многоместным приспособлениям агрегатных станков, автоматических линий и гибких производственных систем. В многоместном приспособлении-спутнике рама, являющаяся сборной, состоит из трехпалых крестовин, каждая из которых выполнена с расходящимися от вершин выступами призматического сечения со сквозными ступенчатыми отверстиями и опорными торцами, при этом крестовины между собой соеденены парами противоположно направленных выступов, устройствами базирования и крепления в них так, что каждая крестовина своими выступами соединина с выступами различных крестовин, у которых оси отверстий выступов соосно совмещены и внутри отверстий в месте расположения опорных торцев выступов установлены устройства базирования и крепления крестовин между собой. Устройство базирования и крепления выступов состоит из установочного пальца с резьбовым отверстием и двух винтов внутри соосных ступенчатых отверстий совмещенных выступов, при этом выступы стянуты с двух сторон винтами, ввинченными в установочный палец. Выступ имеет одноступенчатое отверстие, состоящее из двух частей с измененением диаметров от большего к меньшему или двухступенчатое отверстие, которое состоит из трех частей с изменением диаметров от большего к меньшему и наоборот. Рама выполнена с жестким креплением крестовин, у которых выступы состыкованы с прилеганием опорных торцев выступов или с плавающими крестовинами относительно установочных пальцев, при этом между опорными торцами выступоь на установочных пальцах размещены упругие элементы. Обеспечивается высокоточная многоместная обработка. 5 з.п ф-лы, 7 ил. 
Изобретение относится к машиностроению, в частности к многоместным приспособлениям агрегатных станков автоматических линий и гибких производственных систем.
Сущность изобретения. Многоместное приспособление – спутник имеет раму сборной конструкции, которая состоит из трехпалых крестовин с выступами. Крестовины состыкованы между собой устройствами базирования и крепления, размещенными внутри выступов крестовин. Рама, собранная из крестовин, выполнена правильной призматической формы с боковыми гранями, окнами и внутренней полостью, что позволяет на боковых гранях базировать и крепить сменные плиты с обрабатываемыми деталями на них. Имеются варианты жесткого и плавающего соединения крестовин в раме.
В качестве аналога принято многоместное приспособление – спутник [1, 2] для закрепления деталей при обработке на станках и автоматических линиях. Приспособление – спутник состоит из корпуса и сменных блоков с установленными на них обрабатываемыми деталями. Корпус выполнен в виде многогранника – куба, с внутренней полостью, имеет ребра. Своими наружными плоскостями ребра образуют наружные боковые грани с окнами с различных сторон корпуса. На плите сменного блока размещены элементы базирования и крепления детали. Детали крепятся, обеспечивая многостороннюю и многоместную обработку корпусных деталей. Конструкция приспособления – спутника позволяет вести одновременную обработку деталей, закрепленных в сменных блоках на нескольких гранях корпуса. Также возможно осуществлять переустановку и замену сменных блоков для обработки деталей различной номенклатуры. Однако изготовление приспособления – спутника осложняется цельной конструкцией корпуса, требует значительных трудозатрат на его изготовление.
Признаками предлагаемых технических решений и совпадающих с известными по уровню техники техническими решениями и аналогами являются: корпус приспособления – спутника имеет раму в виде многогранника, ребра, наружные боковые грани с окнами, внутреннюю полость. На боковых гранях корпуса, его раме базируются и крепятся сменные плиты и блоки с обрабатываемыми деталями. Детали, размещенные на боковых гранях, позволяют осуществлять многоместное их базирование и крепление с различных сторон корпуса.
Задачей изобретения является: создание приспособлений – спутников призматической формы с применением рамы сборной конструкции повышенной жесткости, позволяющих осуществлять высокоточную многоместную обработку.
Технический результат изобретения. Предложено многоместное приспособление – спутник со сборной конструкцией рамы, что сократит трудозатраты на его изготовление и сборку. Многоместные приспособления – спутники предложенной конструкции обеспечивают высокоточную многоместную, многоинструментальную и многостороннюю обработку корпусных деталей на автоматических линиях, гибких производственных системах.
Существенные признаки. Многоместное приспособление – спутник содержит многогранную раму призматической формы, которая выполнена сборной. Рама состоит и собрана из трехпалых крестовин с расходящимися от вершины крестовины выступами призматического сечения. Выступы оканчиваются опорными торцами. Вдоль каждого выступа крестовины имеется ступенчатое отверстие, при этом отверстия всех выступов крестовины расположены в различных направлениях, но сходятся и взаимопересекаются в одной точке у вершины крестовины. Отверстие в выступе выполнено сквозным, имеет вход со стороны вершины на боковой грани крестовины и выход со стороны опорного торца выступа крестовины. Каждая пара крестовин между собой взаимно состыкована парами противоположно направленных выступов этих крестовин с прилеганием их опорных торцов и соединена устройством базирования и крепления. Имея несколько выступов, каждая крестовина своими выступами соединена с выступами различных крестовин. Устройства базирования и крепления установлены в соосных ступенчатых отверстиях выступов состыкованных крестовин в месте расположения опорных торцев выступов. Устройство базирования и крепления состоит, например, из установочного пальца с резьбовым отверстием и двух винтов. Выступы крестовин стянуты с двух сторон винтами, ввинченными в резьбовое отверстие установочного пальца. Имеется вариант рамы с плавающими крестовинами, при этом между опорными торцами выступов на установочных пальцах дополнительно размещены упругие элементы, например пружины и крестовины, имеют возможность скольжения относительно установочных пальцев. Техническое решение имеет два варианта исполнения ступенчатых отверстий в выступах для размещения в них устройств базирования и крепления, размещения установочных пальцев с винтами. По первому варианту отверстие внутри выступа крестовины выполнено одноступенчатым и состоит из двух частей с изменением диаметров от большего к меньшему. По второму варианту отверстие в выступе выполнено двухступенчатым и состоит из трех частей изменения диаметров с изменением от большего к меньшему и от меньшего к большему.
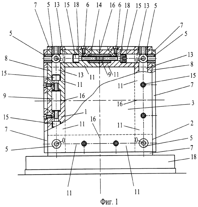
На фиг.1 показано многоместное приспособление – спутник, вид сбоку; на фиг.2 – рама многоместного приспособления – спутника, аксонометрия; на фиг.3 – крестовина, аксонометрия; на фиг.4 – крестовина, сечение с одноступенчатым отверстием в выступах; на фиг.5 – крестовина, сечение с двухступенчатым отверстием в выступах; на фиг.6 – вариант устройства базирования и крепления выступов с одноступенчатым отверстием; на фиг.7 – рама с плавающими крестовинами, вид сбоку.
Многоместное приспособление – спутник содержит раму 1, фиг.1, 2, корпус которой выполнен призматической формы, например в виде куба, с ребрами 2. Рама 1 является сборной, имеет окна 3 и внутреннюю полость 4. Со стороны боковых сторон, на гранях рамы 1 установлены с помощью базирующих втулок 5 и закреплены винтами 6 сменные плиты 7. На плитах 7, с различных сторон приспособления – спутника базируются и крепятся детали традиционными способами (не показаны) для многоместной обработки. Рама 1 выполнена сборной и состоит из трехпалых крестовин 8. Крестовины 8 соединены между собой устройствами базирования и крепления 9. Рама 1 включает восемь крестовин 8. Крестовины 8 имеют трехпалую конструкцию для рамы кубической формы. Каждая крестовина 8 содержит расходящиеся от вершины 10 выступы 11. Выступы 11 расположены несимметрично в различных направлениях относительно вершины 10 крестовины 8. Выступы 11 выполнены призматического сечения, имеют боковые грани, сходящиеся к вершине 10, и опорные торцы 12, фиг.3, 4, 5. Опорные торцы 12 расположены во взаимно перпендикулярных координатных плоскостях для рамы фиг.1, 2, 7. Внутри выступов 11 имеются продольные ступенчатые отверстия 13 вдоль оси выступов 11. Отверстия 13 выступов 11 сходятся и взаимопересекаются в точке 0 у вершины 10 внутри крестовины 8, фиг.1, 4, 5. Ступенчатые отверстия 13 выполнены сквозными и имеют вход со стороны вершины 10 на боковой грани крестовины 10 и выход со стороны опорного торца 12 выступа 11 крестовины 8. Ступенчатые отверстия 13 внутри выступа 11 имеют два исполнения: одноступенчатое, фиг.4, и двухступенчатое, фиг.5. Одноступенчатое отверстие 13, фиг.4, состоит из двух частей 131 и 132 с изменением от большего диаметра 131 меньшему 132. Двухступенчатое отверстие 13, фиг.5, состоит из трех частей 131, 132, 133 с изменением и чередованием ступеней от большего диаметра 131 к меньшему 132 и от меньшего 132 к большему 133 диаметру. Каждая пара крестовин 8 взаимно соединена между собой парами противоположно направленных выступов 11 и устройства базирования и крепления. Каждая пара противоположно направленных выступов 11 двух соединенных крестовин 8 составляет многогранное ребро 2 рамы 1. Внутри состыкованных выступов 11 установлено устройство базирования и крепления 9 крестовин между собой. Устройство базирования и крепления 9 размещено внутри ступенчатых отверстий 13 и состоит из установочного пальца 14 со сквозным резьбовым отверстием и двух винтов 15, фиг.1, 6. Установочный палец 14 размещен в месте 16 расположения опорных торцев 12. Винты 15 ввинчены в установочный палец 14 с двух сторон. Выступы 11 стянуты винтами 15. Имея несколько выступов, каждая крестовина 8 рамы 1 своими выступами 11 соединена с помощью устройства базирования и крепления 9 с выступами 11 различных крестовин 8 рамы 1. Для рамы 1 с жестко соединенными крестовинами 8, фиг 1, 2, выступы состыкованы с прилеганием опорных торцов 12. Рама 1 имеет вариант с плавающими крестовинами 8 относительно установочных пальцев 14 устройства базирования и крепления 9, фиг.7. Между опорными торцами 12 выступов 11 каждого ребра 2 размещены на установочных пальцах 14 устройства базирования и крепления 9 упругие элементы, например цилиндрические пружины 17.
Многоместное приспособление – спутник собирается и работает следующим образом. Приспособление – спутник применяют для многоместного базирования и крепления обрабатываемых деталей со стороны граней рамы 1 на сменных плитах 7. Обрабатываемые детали, элементы базирования и крепления их на плитах 7 на чертежах условно не показаны. Приспособление – спутник может установлено на рабочей позиции 18, фиг.1, например, агрегатного станка, автоматической линии, гибкой производственной системы. Рама 1 собрана из крестовин 8. Крестовины 8 взаимно установлены и соединены между собой устройствами базирования и крепления 9, образуя корпус рамы 1 призматической формы с боковыми ребрами 2, боковыми гранями, окнами 3 и внутренней полостью 4. На боковых гранях с различных сторон рамы 1 базируют плиты 7 с применением базирующих втулок 5 и закрепляют их винтами 6 на раме 1. Крестовины своими выступами 11 пространственно ориентированы и базируются установочными пальцами 14, затем стягиваются винтами 15 устройства базирования и крепления 9. Устройство базирования и крепления 9, включая установочный палец 14 и винты 15 размещены внутри соосно расположенных ступенчатых отверстий 13 каждой пары выступов 11 соединяемых крестовин 8. При этом трехпалые крестовины 8 взаимно соединены своими выступами 11 в трех взаимно перпендикулярных направлениях, базируясь относительно друг друга по скользящей посадке на установочных пальцах 14 и стянуты между собой винтами 15. Пальцы 14 размещают в месте 16 стыка выступов 11. При жестком соединении крестовин 8 выступы 11 состыкованы с прилеганием опорных торцов 12. Для варианта с плавающими крестовинами 8, фиг.7, между опорными торцами 12 выступов 11 дополнительно размещают на установочных пальцах 14 устройств базирования и крепления 9 цилиндрические пружины 17 в качестве упругих элементов с возможностью обеспечения скольжения крестовин 8 в осевом направлении относительно установочных пальцев 14. Для соединения крестовин 8 применяют два варианта исполнения ступенчатых отверстий 13 в выступах 11 и размещения в них устройств базирования и крепления 9. По первому варианту применяют крестовины 8 с одноступенчатыми отверстиями 13 в выступах 11, которые имеют две части изменения диаметров: 131, 132, фиг.4. По первому варианту каждый установочный палец 14 расположен в двух соосных отверстиях диаметров 132 выступов 11 соединяемых крестовин, фиг.6. По второму варианту применяют крестовины 8 с двухступенчатыми отверстиями 13, которые имеют три части изменения диаметров: 131, 132, 133, фиг.5. Установочные пальцы 14 расположены в соосных отверстиях диаметров 133, фиг.1. При соединении крестовин 8 их стягивают винтами 15 с прилеганием в упор головки каждого винта 15 к торцу 18 ступени изменения отверстия 131 от диаметра 132 к диаметру 132.
Источники информации
1. A.C. 1649753. Многоместное приспособление – спутник / А.М.Царев, Е.Н.Бабушкина, 1991.
2. A.C. 134694. Спутник к многопозиционным автоматизированным системам обработки / А.М.Царев, 1987.
Формула изобретения
1. Многоместное приспособление-спутник, содержащее многогранную раму призматической формы с ребрами, окнами и внутренней полостью, сменные плиты с обрабатываемыми деталями на боковых гранях рамы, отличающееся тем, что рама, являющаяся сборной, состоит из трехпалых крестовин, каждая из которых выполнена с расходящимися от вершин выступами призматического сечения со сквозными ступенчатыми отверстиями и опорными торцами, при этом крестовины между собой соединены парами противоположно направленных выступов, устройствами базирования и крепления в них так, что каждая крестовина своими выступами соединена с выступами различных крестовин, у которых оси отверстий выступов соосно совмещены, и внутри отверстий в месте расположения опорных торцов выступов установлены устройства базирования и крепления крестовин между собой.
2. Многоместное приспособление-спутник по п.1, отличающееся тем, что устройство базирования и крепления выступов состоит из установочного пальца с резьбовым отверстием и двух винтов внутри соосных ступенчатых отверстий совмещенных выступов, при этом выступы стянуты с двух сторон винтами, ввинченными в установочный палец.
3. Многоместное приспособление-спутник по п.1 или 2, отличающееся тем, что выступ имеет одноступенчатое отверстие, состоящее из двух частей с изменением диаметров от большего к меньшему.
4. Многоместное приспособление-спутник по п.1 или 2, отличающееся тем, что выступ имеет двухступенчатое отверстие, которое состоит из трех частей с изменением диаметров от большего к меньшему и от меньшего к большему.
5. Многоместное приспособление-спутник по любому из пп.1-4, отличающееся тем, что рама выполнена с жестким креплением крестовин, у которых выступы состыкованы с прилеганием опорных торцов выступов.
6. Многоместное приспособление-спутник по любому из пп.2-4, отличающееся тем, что рама выполнена с плавающими крестовинами относительно установочных пальцев, при этом между опорными торцами выступов на установочных пальцах размещены упругие элементы, например цилиндрические пружины.
РИСУНКИ
MM4A – Досрочное прекращение действия патента СССР или патента Российской Федерации на изобретение из-за неуплаты в установленный срок пошлины за поддержание патента в силе
Дата прекращения действия патента: 11.09.2008
Извещение опубликовано: 20.08.2010 БИ: 23/2010
|
|