|
|
(21), (22) Заявка: 2002123242/02, 30.08.2002
(24) Дата начала отсчета срока действия патента:
30.08.2002
(43) Дата публикации заявки: 10.03.2004
(45) Опубликовано: 20.08.2005
(56) Список документов, цитированных в отчете о поиске:
RU 2139179 А, 10.10.1999. SU 579178 A, 05.11.1977. SU 1340971 A, 30.09.1987. US 5423716 A, 13.06.1995.
Адрес для переписки:
141400, Московская обл., г. Химки, ул. Бурденко, 1, ОАО “НПО Энергомаш им. акад. В.П. Глушко”, начальнику отдела В.С. Судакову
|
(72) Автор(ы):
Бедов Ю.А. (RU), Мовчан Ю.В. (RU), Никонов В.П. (RU)
(73) Патентообладатель(и):
ОАО “НПО Энергомаш им. акад В.П. Глушко” (RU)
|
(54) ВАКУУМНОЕ УСТРОЙСТВО ДЛЯ КРЕПЛЕНИЯ НА ОБРАБАТЫВАЮЩЕМ СТАНКЕ
(57) Реферат:
Изобретение относится к устройствам, используемым в различных технологических процессах, в частности к устройствам для крепления изделий из листового материала на металлообрабатывающих станках. В вакуумном устройстве для крепления на обрабатывающем станке изделий газопроводящее основание с одного торца выполнено глухим, устройство снабжено подвижным хомутом, охватывающим газопроводящее основание, которое выполнено из магнитопроводного металла, при этом уплотнительное кольцо размещено во внутренней части хомута и прикреплено к нему с помощью металлического кольца, прижимаемого к уплотнительному кольцу с помощью расположенных по окружности винтов, ввернутых на резьбе в хомут, выполненный с возможностью совершения хода от исходного положения до упора в плиту стола с упругой деформацией уплотнительного кольца и обеспечением герметизации этого кольца в местах его контакта с изделием, газопроводящим основанием, подвижным хомутом и металлическим кольцом, уплотнительное кольцо выполнено из эластичного уплотнительного материала, а газопроводящее основание снабжено горизонтальным каналом, соединенным со штуцером, который сообщен с вакуумирующим устройством. Обеспечивается уменьшение осевого габарита устройства, надежность крепления изделий. 4 з.п. ф-лы, 3 ил. 
Область техники
Изобретение относится к устройствам, используемым в различных технологических процессах, на обрабатывающих преимущественно металлообрабатывающих станках. Более конкретно изобретение относится к устройствам для крепления изделий из листового материала на металлообрабатывающих станках.
Предшествующий уровень техники
В настоящее время в технике известны различные устройства для крепления листовых материалов. Так из авторского свидетельства СССР №579178 с приоритетом от 16.07.73 г. по МКИ B 23 Q 3/08 и B 41 F 15/20 известен вакуумный стол для крепления листовых материалов, содержащий вакуумирующее средство, соединенное с источником вакуума. Устройство снабжено рабочей поверхностью с отверстиями. Это изобретение выбираем в качестве аналога заявляемого изобретения. Недостаток аналога в том, что из него неясно, каким образом может быть надежно закреплено изделие на металлообрабатывающем станке, чтобы избежать недопустимое попадание стружки и пыли во внутренние полости устройства. Кроме того, отсутствие в устройстве уплотнительных элементов не обеспечивает высокую эффективность использования вакуумирующего средства.
Из авторского свидетельства СССР №1097484 с приоритетом от 03.01.83 года по МКИ В 25 В 11/00 известен держатель для захвата деталей, содержащий полости для соединения со средством вакуумирования. Устройство предназначено для захвата плоских тонколистовых заготовок и содержит перфорированный сквозными отверстиями экран.
Это устройство также применяем в качестве аналога заявляемого изобретения. Недостаток аналога в том, что из него неясно, каким образом крепить на обрабатывающем станке плоскую листовую заготовку. В то же время конструкция держателя не обеспечивает достаточно высокую эффективность средства вакуумирования.
Из патента РФ на изобретение №2139179 с приоритетом от 13.05.98 года по МКИ B 23 Q 3/08; B 41 F 15/20 и F 16 J 15/40 известно вакуумное устройство для фиксации изделий. Это устройство применяют в качестве фиксирующего при технологической обработке изделий. Устройство содержит вакуумирующее средство, газопроводящее основание, одна из поверхностей которого является базовой опорной поверхностью (например, плоскостью), во многих местах контактирующей с ответной поверхностью крепящегося изделия. Устройство снабжено источником электромагнитного поля. По периметру указанных поверхностей изделия и газопроводящего основания устройство снабжено уплотнительным кольцом. Это устройство принимаем в качестве прототипа заявляемого изобретения. Недостаток прототипа в том, что в нем требуется корпус с полостью, из которой с помощью средства вакуумирования необходимо откачивать воздух. Это снижает эффективность работы, увеличивает время вакуумирования, так как необходимо вакуумировать значительный объем, стенки которого должны быть выполнены из не пропускающего воздух материала, например соответствующей стали.
Кроме того, представленное в материалах прототипа техническое решение предусматривает применение в качестве материала уплотнительного кольца такой специальной реологической жидкости, которая бы меняла свою структуру под действием электромагнитного поля для обеспечения герметизации уплотнения. Выполнение газопроводящего основания в прототипе из пористого материала также делают во многих случаях увеличенными габариты конструкции в сравнении с тем, если бы в этой детали был применен высокопрочный конструкционный металл или сплав.
Раскрытие изобретения
В основу настоящего изобретения положена задача уменьшения осевого габарита устройства, использования в устройстве обычных резиновых уплотнительных материалов, в частности вакуумной резины, а вместо специального корпуса, к которому крепится обрабатываемое изделие, использование стола обрабатывающего станка, например металлообрабатывающего шлифовального станка.
Сущность изобретения заключается в том, что разработано вакуумное устройство для крепления на обрабатывающем станке листовых изделий из конструкционных немагнитопроводных материалов, преимущественно металлов. Изобретение позволяет надежно крепить тонколистовые изделия, несмотря на наличие пыли и стружек, получаемых при обработке изделия.
Устройство содержит вакуумирующее средство, газопроводящее основание, одна из поверхностей которого является базовой опорной поверхностью, например плоскостью для обрабатываемой детали. Эта поверхность во многих местах контактирует с основной поверхностью крепящегося изделия. Устройство снабжено источником электромагнитного поля. Это могут быть электромагниты, размещенные под поверхностью станка, на которую устанавливается газопроводящее основание аналогично магнитному столу станка. По периметру контактирующих поверхностей изделия и газопроводящего основания устройство снабжено уплотнительным кольцом. Важным обстоятельством является то, что газопроводящее основание с одного торца (противоположного торцу, на который устанавливают обрабатываемую деталь) выполнено глухим. Другой отличительной особенностью является то, что устройство снабжено подвижным хомутом, охватывающим газопроводящее основание и выполненным из магнитопроводного металла. Уплотнительное кольцо размещено во внутренней части хомута и прикреплено к нему с помощью металлического кольца, прижимаемого к уплотнительному кольцу с помощью расположенных по окружности винтов, ввернутых на резьбах в хомут, причем хомут может совершать ход от исходного положения до упора, например в выступ на газопроводящем основании (или до упора в плиту стола станка, или его планшайбу при соответствующей установке устройства и его монтаже). При этом уплотнительное кольцо упруго деформируется и обеспечивается герметизация этого кольца в местах его контакта с изделием, газопроводящим основанием, подвижным хомутом и металлическим кольцом. В принципе, металлическое кольцо может быть выполнено и из полимерного конструкционного материала.
Следует также отметить, что уплотнительное кольцо выполнено из эластичного уплотнительного материала, например вакуумной резины, а газопроводящее основание снабжено штуцером и сообщенным с ним горизонтальным клапаном. Штуцер сообщен с вакуумирующим средством.
В частном случае в хомуте может быть выполнено боковое окно, через которое в газопроводящее основание ввернут штуцер вакуумирующего средства.
Кроме того, при повышенных габаритах (например, диаметральных) изделия в изделии и газопроводящем основании возможно выполнение центральных отверстий, в которых с двух сторон пакета изделия в газопроводящее основание вставлены две втулки из магнитопроводного металла, при этом между втулками со стороны тонколистового изделия, этим изделием и газопроводящим основанием установлено малое уплотнительное кольцо. Втулки скреплены между собой с помощью винта (возможно вместо винта выполнить резьбовое соединение на самих втулках, по которому втулки должны быть свинчены). Втулка, которая расположена со стороны газопроводящего основания, выполнена с фланцеобразным буртом и может перемещаться совместно с втулкой, расположенной со стороны тонколистового изделия на расстояние, аналогичное расстоянию перемещения подвижного хомута, обеспечивая упругую деформацию малого уплотнительного кольца и герметизацию в местах его контакта с изделием, с втулкой со стороны изделия и газопроводящим основанием. Следует отметить, что, как и для подвижного хомута, указанные втулки могут перемещаться до упора в газопроводящее основание или в стол станка в зависимости от конструктивного исполнения устройства. Возможно также выполнение упора в местах сжатия уплотнительного кольца и малого уплотнительного кольца.
В частном случае возможно также выполнение контактирующих поверхностей газопроводящего основания и крепящегося изделия плоскими, причем на такой плоскости газопроводящего основания выполнены кольцевые канавки, сообщающиеся с выполненными в газопроводящем основании горизонтальными каналами через отверстия.
Техническим результатом изобретения является уменьшение осевого габарита устройства применительно к металлообрабатывающим станкам, таким как шлифовальный, фрезерный и др. Предложенное техническое решение позволяет использовать в устройстве обычные уплотнительные материалы, такие как вакуумная резина, и нет необходимости применять реологические жидкости, в которых бы изменялась структура под действием электромагнитного поля. В устройстве по сравнению с прототипом отсутствует корпус со специальной полостью, которую следует соединить со средством вакуумирования. Как следствие этого, в устройстве нет необходимости герметизировать электрические выводы электромагнитов.
Еще одним дополнительным техническим результатом является повышенная надежность уплотнения уплотнительным и малым уплотнительным кольцами от попадания стружки и пыли в места уплотнения, т.е. надежность крепления изделий из листового материала на обрабатывающем станке, в частности на шлифовальном станке. Кроме того, патентуемое устройство дешевле прототипа, так как не содержит пористого дорогостоящего металлокерамического материала.
Краткое описание чертежей
На фиг.1 представлено вакуумное устройство для крепления на обрабатывающем станке с одним уплотнительным кольцом.
На фиг.2 представлено вакуумное устройство для крепления на обрабатывающем станке с двумя уплотнительными кольцами.
На фиг.3 представлен вид А (см. фиг.2) на вакуумное устройство для крепления на обрабатывающем станке с двумя уплотнительными кольцами без крепящегося на станке изделия.
Примеры реализации изобретения
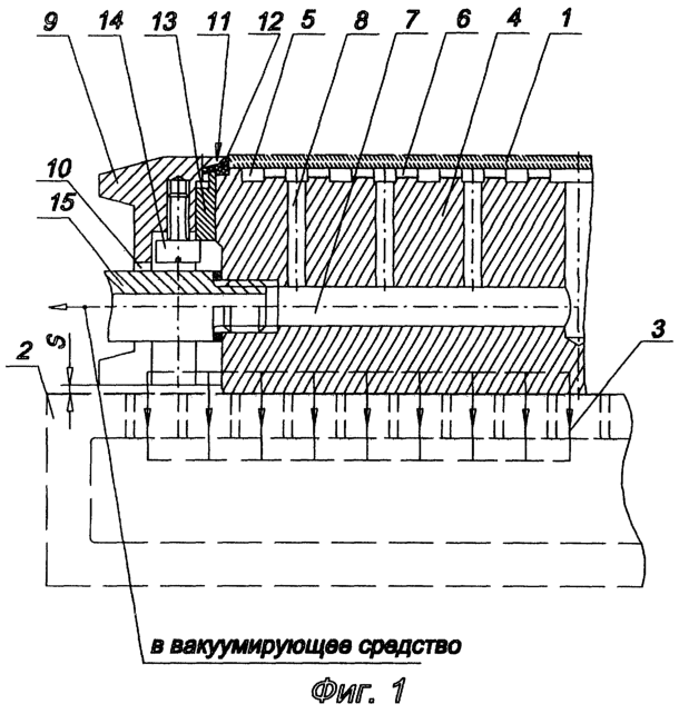
На фиг.1 изображено в разрезе вакуумное устройство (половина) с одним уплотнительным кольцом для крепления на шлифовальном станке изделия из листа, где:
1 – обрабатываемое изделие, крепящееся на станке,
2 – плита стола шлифовального станка, который снабжен блоком электромагнитов (на чертеже не показаны).
Пространственное распределение и направление магнитного потока, генерируемого источником магнитного поля, то есть блоком электромагнитов, который установлен внутри плиты 2, условно обозначено силовыми линиями 3.
На плите 2 стола установлено газопроводящее основание 4, на котором выполнены кольцевые канавки 5 (см. и фиг.3), сообщающиеся между собой радиальными канавками 6. Газопроводящее основание 4 имеет горизонтальный канал 7, с которым сообщены кольцевые канавки 5 посредствам отверстий 8, расположенных в направлении параллельно оси газопроводящего основания 4.
На газопроводящее основание 4 надет охватывающий его подвижной хомут 9, имеющий боковое окно 10. В подвижном хомуте 9 имеется внутреннее гнездо 11, состоящее из внутренних конической и цилиндрической поверхностей. В это гнездо вставлено уплотнительное кольцо 12, выполненное из вакуумной резины. Это уплотнительное кольцо 12 закреплено в гнезде 11 подвижного хомута 9 с помощью металлического кольца 13. В принципе это кольцо может быть выполнено не только из металла, например, стали, а и из какого-либо полимерного конструкционного материала. Металлическое кольцо 13 поджато к уплотнительному кольцу 12 винтами 14, ввернутыми в резьбовые глухие, равнорасположенные по окружности отверстия в подвижном хомуте 9. Через окно 10 в подвижном хомуте 9 в газопроводящее основание 4 на резьбе ввернут штуцер 15, герметично скрепленный с этим основанием 4. Благодаря упругим свойствам уплотнительного кольца 12 подвижный хомут 9 отжат в крайнее (верхнее) положение от плиты стола 2 на величину зазора S. При установке изделия 1 и устранении зазора S при работе устройства за счет поджатия подвижного хомута 9 до упора в плиту стола 2 либо механическим путем, либо за счет создания магнитного поля блоком электромагнитов (на чертежах не показаны), причем пространственное распределение и направление магнитного потока, генерируемое блоком электромагнитов на фиг.1 и 2, условно обозначено силовыми линиями 3 магнитного поля, подвижный хомут 9 упруго деформирует уплотнительное кольцо 12, выполненное из вакуумной резины, обеспечивая герметизацию уплотнения этим кольцом в местах контакта этого кольца с изделием 1, газопроводящим основанием 4, металлическим кольцом 13 и подвижным хомутом 9. Такая герметизация обеспечивает возможность надежного вакуумирования, а значит, и крепления изделия 1 на плите стола 2. Следует отметить, что зазор S в результате поджатия подвижного хомута 9 может быть выбран не полностью, если усилие, действующее на это поджатие, меньше усилия полной деформации кольца 12, требуемой для полной выборки зазора S.
Другой пример реализации изобретения представлен на фиг.2. Здесь изображено вакуумное устройство, аналогичное изображенному на фиг.1, однако с деталями и элементами, обеспечивающими возможность использования второго, то есть малого уплотнительного кольца. Детали и элементы, аналогичные изображенным на фиг.1, остались под теми же номерами и на фиг.2 и 3, а новым деталям и измененным деталям конструкции фиг.1, на фиг.2 и 3 присвоены новые номера.
Таким образом на фиг.2 и 3:
16 – обрабатываемое изделие, крепящееся на станке,
2 – плита стола шлифовального станка, который снабжен блоком электромагнитов (на чертеже не показаны).
Пространственное распределение и направление магнитного потока, генерируемого источником магнитного поля, то есть блоком электромагнитов, который установлен внутри плиты 2 на фиг.1,2, условно обозначено силовыми линиями 3.
Обрабатываемое изделие 16 установлено на газопроводящем основании 17, на котором выполнены кольцевые канавки 5, сообщающееся между собой радиальными канавками 6. Газопроводящее основание 17 имеет горизонтальный канал 7, с которым сообщены кольцевые канавки 5 посредством отверстий 8, расположенных в направлении параллельно оси газопроводящего основания 17. На газопроводящее основание 17 надет охватывающий его подвижный хомут 9, имеющий боковое окно 10. В подвижном хомуте 9 имеется внутреннее гнездо 11, состоящее из внутренних, конической и цилиндрической поверхностей. В это гнездо вставлено уплотнительное кольцо 12, закрепленное в гнезде 11 подвижного хомута 9 с помощью металлического кольца 13. Это кольцо поджато к уплотнительному кольцу 12 винтами 14, ввернутыми в резьбовые глухие, равнорасположенные по окружности отверстия в подвижном хомуте 9. Через окно 10 в подвижном хомуте 9 в газопроводящее основание 17 на резьбе герметично ввернут штуцер 15. В изделии 16 выполнено центральное отверстие 18, а в газопроводящем основании 17 выполнено центральное отверстие 19, в которые вставлены втулки 20 и 21. Втулка 20 имеет бурт 22, который упирается в малое уплотнительное кольцо 23. Втулка 21 имеет фланцеобразный бурт 24. Втулки 20 и 21 скреплены между собой с помощью винта 25. Между втулкой 21 и плитой стола шлифовального станка 2 имеется зазор Т, а между подвижным хомутом 9 и плитой стола шлифовального станка 2 имеется зазор S, как и в случае на фиг.1.
Т примерно равен S.
При установке изделия 16 и устранении зазора S за счет поджатая подвижного хомута 9 до упора в плиту стола 2 либо механическим путем, либо за счет создания магнитного поля блоком электромагнитов (на чертеже не показаны), а пространственное распределение и направление магнитного потока, генерируемое блоком электромагнитов, на фиг.1 и 2 условно обозначено силовыми линиями 3 магнитного поля. При работе устройства подвижный хомут 9 упруго деформирует уплотнительное кольцо 12, выполненное из вакуумной резины, обеспечивает герметизацию уплотнения этим кольцом в местах контакта этого кольца с изделием 16, газопроводящим основанием 17, металлическим кольцом 13 и подвижным хомутом 9. Одновременно с этим выбирают зазор Т. При этом втулка 20 перемещается на расстояние Т вместе со втулкой 21, упруго деформируя малое уплотнительное кольцо 23, обеспечивающее герметизацию по контактирующим с ней поверхностям изделия 16, втулки 20 и газопроводящего основания 17.
Такая герметизация обеспечивает возможность надежного вакуумирования, а значит, и крепления изделия 16 на плите стола 2.
Изделие 1(16) выполнено из немагнитопроводного материала. Детали 4, 9, 20, 21 выполнены из магнитопроводного материала Ст.45, а остальные детали изготовлены из немагнитопроводных материалов. Кольца 12 и 23 выполнены из вакуумной резины. Газопроводящее основание 4(17) крепится к станку за счет магнита стола при включении его.
Работает вакуумное устройство для крепления на обрабатывающем (в нашем примере на шлифовальном станке) следующим образом.
В устройство устанавливается изделие 1(16). Подводится электропитание к блоку электромагнитов (на чертеже не показаны), а пространственное распределение и направление магнитного потока, генерируемое блоком электромагнитов на фиг.1 и 2, условно обозначено силовыми линиями 3 магнитного поля. Образовавшееся магнитное поле осуществляет притяжение газопроводящего основания 4, подвижного хомута 9 и фланца 24, а также выбирание практически до 0 зазора S (S и Т), вследствие чего обеспечивается герметизация уплотнения прокладкой 12 (12 и 23). Включается вакуумирующее средство, что обеспечивает вакуумирование внутреннего тракта штуцера 15, и каналов 7 и 8, а также каналов 5 и 6, а значит и всего пространства между изделием 1(16) и газопроводящим основанием 4(17).
Благодаря этому изделие 1(16) прикрепляется к газопроводящему основанию 4(17), что дает возможность производить механическую обработку, например, шлифование (в принципе это может быть и фрезеровка, и токарная обработка) плоских тонкостенных изделий. Для изделий иной конфигурации базовая опорная поверхность между изделием 1(16) и газопроводящим основанием 4(17) будет иметь иную форму, соответствующую измененным требованиям крепления и механической обработки.
После окончания механической обработки выключают вакуумирующее средство, отключают питание с блока электромагнитов (на чертежах не показаны) и снимают обрабатываемое изделие 1(16) с устройства.
Следует отметить, что включение вакуумирующего средства и питания блока электромагнитов (на чертежах не показано) может осуществляться как одновременно, так и с заданным небольшим рассогласованием. Аналогичным образом может осуществляться и их выключение.
Промышленная применимость
Изобретение предназначено для использования в металлообрабатывающей промышленности. Работоспособность изобретения не вызывает сомнения и оно готово к промышленному применению.
Формула изобретения
1. Вакуумное устройство для крепления на обрабатывающем станке изделий из листовых конструкционных немагнитопроводных материалов, преимущественно металлов, содержащее вакуумирующее средство, газопроводящее основание, одна из поверхностей которого является базовой опорной поверхностью, при этом устройство снабжено источником электромагнитного поля, а по периметру поверхностей изделия и газопроводящего основания устройство снабжено уплотнительным кольцом, отличающееся тем, что газопроводящее основание с одного торца выполнено глухим, устройство снабжено подвижным хомутом, охватывающим газопроводящее основание, которое выполнено из магнитопроводного металла, при этом уплотнительное кольцо размещено во внутренней части хомута и прикреплено к нему с помощью металлического кольца, прижимаемого к уплотнительному кольцу с помощью расположенных по окружности винтов, ввернутых на резьбе в хомут, выполненный с возможностью совершения хода от исходного положения до упора в плиту стола с упругой деформацией уплотнительного кольца, и обеспечением герметизации этого кольца в местах его контакта с изделием, газопроводящим основанием, подвижным хомутом и металлическим кольцом, уплотнительное кольцо выполнено из эластичного уплотнительного материала, а газопроводящее основание снабжено горизонтальным каналом, соединенным со штуцером, который сообщен с вакуумирующим устройством.
2. Вакуумное устройство по п.1, отличающееся тем, что в хомуте выполнено боковое окно, через которое в газопроводящее основание ввернут штуцер вакуумирующего средства.
3. Вакуумное устройство по п.1, отличающееся тем, что в изделии и газопроводящем основании выполнены центральные отверстия, в которые вставлены две втулки из магнитопроводного металла, при этом между втулкой со стороны тонколистового изделия, этим изделием и газопроводящим основанием установлено малое уплотнительное кольцо, втулки скреплены между собой с помощью винта, втулка со стороны газопроводящего основания выполнена с фланцеобразным буртом и с возможностью перемещения совместно со втулкой, расположенной со стороны крепящегося изделия на расстояние, аналогичное расстоянию перемещения подвижного хомута для обеспечения упругой деформации малого уплотнительного кольца и герметизации в местах его контакта с изделием, с втулкой со стороны изделия и с газопроводящим основанием.
4. Вакуумное устройство по п.1, отличающееся тем, что контактирующие поверхности газопроводящего основания и изделия выполнены плоскими, причем на плоскости газопроводящего основания выполнены кольцевые канавки, сообщающиеся с выполненным в газопроводящем основании горизонтальным каналом через отверстия.
5. Вакуумное устройство по п.1, отличающееся тем, что опорная поверхность выполнена в виде плоскости, во многих местах контактирующей с ответной поверхностью крепящегося изделия.
РИСУНКИ
|
|