|
|
(21), (22) Заявка: 2004123240/02, 29.07.2004
(24) Дата начала отсчета срока действия патента:
29.07.2004
(45) Опубликовано: 20.08.2005
(56) Список документов, цитированных в отчете о поиске:
СУЛТАНОВ Т.А. Резьбонакатные головки. М.: Машиностроение, 1966, с.106. SU 795675 A1, 15.01.1981. RU 2214883 C2, 27.10.2003. US 4771625 А, 20.09.1988. FR 2236582 А, 07.02.1975.
Адрес для переписки:
141371, Московская обл., г. Хотьково, а/я 2, Н.В. Богачуку
|
(72) Автор(ы):
Богачук Н.В. (RU), Борисов С.Н. (RU), Жаров А.В. (RU)
(73) Патентообладатель(и):
Богачук Николай Владимирович (RU)
|
(54) РЕЗЬБОНАКАТНАЯ ГОЛОВКА
(57) Реферат:
Изобретение относится к машиностроению, в частности к устройствам для получения многозаходной резьбы с большим углом подъема. Сущность изобретения заключается в том, что резьбонакатная головка снабжена закрепленными на концах каждой эксцентриковой оси параболическими опорами. Одна опора вмонтирована в крышку, а другая – в кольцо. Кроме того, резьбонакатная головка снабжена Т-образными крестовинами с закругленными торцами. При этом на конце каждой эксцентриковой оси, соединенной с кольцом, выполнен паз, в который вставлен один торец крестовины, а другой введен в гнездо зубчатого колеса. Технический результат изобретения состоит в повышении эффективности работы резьбонакатной головки. 7 ил. 
Изобретение относится к технологии машиностроения, в частности к устройствам для получения многозаходной резьбы с большим углом подъема.
Известна резьбонакатная головка, включающая размещенные в корпусе переднюю и заднюю крышки, упорные ролики, размещенные в пазах корпуса, накатные ролики, смонтированные на эксцентриковых осях и охватывающей корпус державке (см. патент РФ №2098213, кл. В 21 Н 3/04, 1997).
Недостатком этого устройства является низкая надежность работы.
Наиболее близкой к предлагаемому изобретению является резьбонакатная головка, включающая размещенные в корпусе крышку и кольцо, установленные на эксцентриковых осях резьбонакатные ролики с кольцевыми профильными витками и зубчатые колеса (см. Т.А.Султанов. Резьбонакатные головки. Машиностроение, 1966, с. 106).
Эта резьбонакатная головка состоит из хвостовика, на котором установлены корпус и кольцо, закрепленное на корпусе колонками. Между кольцом и крышкой надеваются проставочные втулки, а также между кольцом и крышкой находятся эксцентриковые оси, которые располагаются в отверстие кольца и крышки под углом, приблизительно равным углу подъема накатываемых резьб.
На кольце и крышке выполнены скосы совместно с отверстием под одним и тем же углом, что усложняет технологию изготовления этих деталей под большим углом. На эксцентриковые оси надеваются резьбонакатные ролики, имеющие на наружной поверхности кольцевые профильные витки. Между эксцентриковыми осями и резьбонакатными роликами засыпаются игольчатые ролики. На задней цилиндрической ступице эксцентриковых осей установлены шестерни, которые находятся в зацеплении с зубчатым венцом хвостовика. Раскрывающий механизм резьбонакатной головки скомбинирован из двух коленообразных пазов, выполненных в хвостовике и корпусе, в которых помещены пальцы и ролики. Пальцы установлены в отверстиях кольца включения и сердечника, в котором размещен упорный винт, закрепленный контргайкой.
Однако данное устройство имеет низкую надежность и ограниченные технологические возможности, т.к. резьбонакатные ролики, установленные на эксцентриковых осях, не способны охватить большие углы подъема резьбы из-за небольших величин скосов и отверстий под цапфы осей. Кроме того, невозможно конструктивно расположить зубчатые шестерни на ступице эксцентриковых осей из-за большого угла подъема резьбы. При накатывании многозаходных и с крупным шагом резьб с малыми диаметрами возникают большие радиальные и тангенциальные усилия, способствующие выработке на трущихся поверхностных осях, что влечет за собой изменение диаметра изделия. Детали механизма раскрытия не выдерживают усилия, выходят из строя.
Предлагаемым изобретением решается задача повышения эффективности работы резьбонакатной головки. Техническим результатом является повышение надежности и расширение технологических возможностей за счет охвата больших углов подъема резьбы.
Технический результат достигается в резьбонакатной головке, включающей размещенные в корпусе крышку и кольцо, установленные на эксцентриковых осях резьбонакатные ролики с кольцевыми профильными витками и зубчатые колеса, закрепленные на концах каждой эксцентриковой оси параболические опоры, одна из которых вмонтирована в крышку, а другая – в кольцо, -образные крестовины с закругленными торцами, при этом на конце каждой эксцентриковой оси, соединенной с кольцом, выполнен паз, в который вставлен один торец крестовины, а другой введен в гнездо зубчатого колеса.
Отличительными признаками предлагаемого устройства являются параболические опоры и крестовины. Параболические опоры и крестовины способствуют повороту эксцентриковых осей на большие углы охвата при резьбонакатке (подъем резьбы на изделиях), выдерживают большие радиальные и тангенциальные нагрузки при резьбонакатывании.
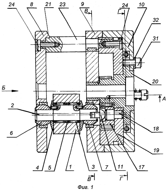
Предлагаемое устройство поясняется чертежами, где на фиг.1 представлен общий вид резьбонакатной головки, на фиг.2 – сечение А-А фиг.1, на фиг.3 – виды крестовины справа, слева и снизу и ее соединение, на фиг.4 – вид Б фиг.1, на фиг.5 – сечение В-В фиг.1, на фиг.6 – сечение Г-Г фиг.1, на фиг.7 – схема расположения эксцентриковых осей с резьбонакатными роликами при повороте крышки относительно изделия.
Резьбонакатная головка состоит из резьбонакатных роликов 1, свободно сидящих на средней части эксцентриковых осей 2. Между роликами 1 и осями 2 расположены игольчатые ролики 3. Между роликами 3 и специальными шайбами 4 находятся проставочные кольца 5.
От осевого перемещения резьбонакатные ролики 1 удерживаются шайбами 4. На концах эксцентриковых осей 2 установлены параболические опоры 6 и 7. Опоры 6 вмонтированы в крышку 8, а опоры 7 – в кольцо 9 корпуса 10. Крестовины 11 выполнены -образной формы, т.е. в виде двух перпендикулярных направляющих поверхностей 12 и 13 с закругленными торцами 14 и 15. Направляющая поверхность 12 крестовины 11 параллельна эксцентриковым осям 2, а направляющая поверхность 13 перпендикулярна осям 2. Торцы 14 и 15 выполнены с образованием радиусных поверхностей с радиусами R и R1 (D=2R, D1=2R1). Закругленная поверхность торцов может быть полусферической или частью сферы. Место соединения направляющих поверхностей 12 и 13 выполнено с закруглением по радиусу r. Количество эксцентриковых осей 2 соответствует количеству крестовин 11.
На конце каждой эксцентриковой оси 2, соединенной с кольцом 9, выполнен паз 16, в который вставлен торец 15 крестовины 11. Торец 14 крестовины 11 введен в гнездо зубчатого колеса 17. Такое соединение создает условие для плавного взаимного перемещения осей 2, сидящих на параболических опорах 6 и 7, и зубчатых колес 17.
На средней части эксцентриковых осей 2 расположены резьбонакатные ролики 1, игольчатые ролики 3, проставочные кольца 5 и специальные шайбы 4. Зубчатые колеса 17 свободно посажены на оси 18, которые запрессованы в сердечник 19. Зубчатые колеса 17 имеют зацепление с центральным зубчатым колесом 20.
Крышка 8 снабжена тремя выступами 21 с расфрезерованными дугообразными пазами 22. Колонки 23 выполнены ступенчатыми с разными диаметрами ступеней, при этом один конец колонки 23 введен в паз 22, а другой стягивающими винтами 24 закрепляет между собой сердечник 19 и кольцо 9. Регулирование угла установки резьбонакатных роликов 1 относительно оси изделия осуществляется освобождением стягивающих винтов 24, расположенных в дугообразных пазах 22 крышки 8, с поворотом крышки 8 регулировочными винтами 25 на угол, который необходим для данного изделия. На торце одного из выступов 21 крышки 8 имеется шкала с нанесенными 20 рисками по обе стороны от нулевого деления. Цена деления шкалы 1°.
Торцы регулировочных винтов 25 при ввертывании и отвертывании упираются в колонки 23, изменяя по дугообразным пазам 22 положение крышки 8 на углы 1 и 2, в которую вмонтированы параболические опоры 6 эксцентриковых осей 2 с резьбонакатными роликами 1, относительно кольца 9, в которое вмонтированы параболические опоры 7, тем самым изменяя угол подъема резьбы 1 и 2 резьбонакатных роликов 1 относительно изделия.
Колонки 23 находятся на одном расстоянии от центра головки, что дает возможность при изменении угловых параметров эксцентриковых осей с резьбонакатными роликами 1 располагаться в плоскостях, параллельных осевой составляющей изделия.
Механизм раскрытия резьбонакатной головки в конце рабочего хода состоит из ползуна 26, который вставлен в паз 27 корпуса 10 и закреплен с корпусом 10 направляющим пальцем 28, на который надевается пружина 29. На цилиндрическом участке ползуна 26 свободно посажен ролик обкатной 30, который входит в сердечник 19. Корпус 10 соединяется с центральным зубчатым колесом 20 болтом 31 через проставочную шайбу 32.
Раскрытие резьбонакатной головки в конце рабочего хода осуществляется следующим образом: при достижении упора, который закрепляется на станине силового вращателя, ползун 26 останавливается, а резьбонакатная головка продолжает движение вдоль оси изделия до выхода обкатного ролика 30 из сердечника 19 и при помощи двух пружин 33, один конец которых соединен винтами 34 с сердечником 19, а другой с корпусом 10. Вся накатывающая часть поворачивается относительно корпуса 10 и центрального зубчатого колеса 20, зубчатые колеса 17 обкатываются по зубчатому венцу центрального зубчатого колеса 20, повернув синхронно эксцентриковые оси 2, на которых находятся резьбонакатные ролики 1. Резьбонакатная головка раскрылась и ее можно свободно вывести без свинчивания в исходное положение при помощи ускоренной подачи суппорта станка. Закрытие резьбонакатной головки в рабочее положение осуществляется рукояткой 35, завернутой в резьбовое гнездо кольца 9.
Механизм регулировки на нужный диаметр накатываемой резьбы осуществляется поворотом центрального колеса зубчатого 20 при помощи упорных винтов 36, ввернутых в резьбовые гнезда корпуса 10. При освобождении крепежных болтов 31 и повороте центрального зубчатого колеса 20 в одну или другую сторону относительно корпуса 10 упорными винтами 36, контактирующими с винтом 37, завернутым в центральное зубчатое колесо 20, поворачиваются зубчатые колеса 17 и эксцентриковые оси 2, на которых расположены ролики резьбонакатные 1, приближая или удаляя их от центра резьбонакатной головки.
Крепление резьбонакатной головки к приспособлению для установки резьб головки осуществляется болтами, завернутыми в резьбовые гнезда корпуса 10.
Приспособление для установки резьб головки в свою очередь устанавливается на силовой вращатель, например токарновинторезный станок. Резьбонакатная головка конструктивно имеет большой диапазон накатываемых резьб.
Резьбонакатная головка работает следующим образом.
Резьбонакатные ролики 1 устанавливаются под наибольшим углом скрещивания, что позволяет значительно снизить усилие захвата заготовки.
Резьбонакатные ролики 1 в условии воздействия сил трения с изделием (заготовкой) начинают движение вперед, перемещаясь за один оборот изделия на величину, равную образующемуся на нем шагу резьбы. Шаг резьбы, образованный на изделии, может регулироваться винтами 25 крышки 8 колонок 23 относительно кольца 9 с большой точностью. Таким образом, резьбонакатные ролики 1 и связанные с ними детали – эксцентриковые оси 2, параболические опоры 6 и 7, крышка 8, кольцо 9 и корпус 10 получают осевое перемещение, равное шагу резьбы с учетом класса точности посредством силового вращателя.
При достижении заданной длины резьбы ползун 26 останавливается, а резьбонакатная головка продолжает движение вдоль оси изделия до выхода ролика 30 из сердечника 19 и при помощи 2-х пружин 33, один конец которых соединен винтами 34 с сердечником 19, а другой с корпусом 10. Зубчатые колеса 7 обкатываются по центральному зубчатому колесу 20, повернув синхронно эксцентриковые оси 2, на которых находятся резьбонакатные ролики 1.
Резьбонакатная часть головки раскрылась и ее можно свободно вывести без свинчивания в исходное положение ускоренной подачей силового вращателя.
Закрытие резьбонакатной головки в рабочее положение осуществляется рукояткой 35, завернутой в резьбовое гнездо кольца 9.
Параболические опоры 6 и 7 и крестовины 11 способствуют повороту накатывающей части на большие углы подъема резьбы и корректировки шага с учетом класса точности резьбы.
Резьбонакатная часть головки и корпус 10 с центральным зубчатым колесом 20 посредством силового вращателя получают осевое перемещение в первый момент принудительно, а дальше – самозатягиванием на величину, равную шагу резьбы.
Формула изобретения
Резьбонакатная головка, включающая размещенные в корпусе крышку и кольцо, установленные на эксцентриковых осях резьбонакатные ролики с кольцевыми профильными витками и зубчатые колеса, отличающаяся тем, что она снабжена закрепленными на концах каждой эксцентриковой оси параболическими опорами, одна из которых вмонтирована в крышку, а другая – в кольцо, и Т-образными крестовинами с закругленными торцами, при этом на конце каждой эксцентриковой оси, соединенной с кольцом, выполнен паз, в который вставлен один торец крестовины, а другой введен в гнездо зубчатого колеса.
РИСУНКИ
|
|