|
|
(21), (22) Заявка: 2004114641/02, 13.05.2004
(24) Дата начала отсчета срока действия патента:
13.05.2004
(45) Опубликовано: 20.08.2005
(56) Список документов, цитированных в отчете о поиске:
RU 2089359 C1, 10.09.1997. SU 1090513 A, 04.05.1981. SU 1804378 A3, 23.03.1993. DE 4119941 A1, 17.12.1992.
Адрес для переписки:
347928, Ростовская обл., г. Таганрог, ГСП-17А, Некрасовский, 44, “Таганрогский государственный радиотехнический университет”, Проректору по научной работе В.М.Курейчику
|
(72) Автор(ы):
Бутенко В.И. (RU), Рыбинская Т.А. (RU), Диденко Д.И. (RU)
(73) Патентообладатель(и):
Государственное образовательное учреждение высшего профессионального образования “Таганрогский государственный радиотехнический университет” (ТРТУ) (RU)
|
(54) ПЛАШКА
(57) Реферат:
Изобретение относится к области машиностроения, получению резьбы при обработке труднообрабатываемых материалов. Плашка содержит сменные гребенки, установленные в корпусе и зафиксированные посредством втулки с винтами. Для повышения точности, надежности и технологичности изготовления она снабжена пластически деформирующими гребнями, расположенными по винтовой линии, а резьбообразующий профиль сменных гребенок выполнен с тупым углом. При этом сменные гребенки расположены по ходу перед пластически деформирующими гребнями. 2 ил. 
Изобретение относится к области машиностроения, в частности к механической обработке материалов, и может быть использовано для получения резьбы при обработке труднообрабатываемых материалов.
Известна плашка, резьбонарезная, в цилиндрическом корпусе которой выполнены центральное резьбовое и стружечные отверстия, образующие режущие перья, с целью улучшения качества нарезаемой резьбы за счет сохранения геометрии режущей части перьев при регулировке размеров резьбы, на наружной поверхности корпуса симметрично оси каждого режущего пера выполнены впадины со скосами, направленными в стороны торцов корпуса и соединенными радиусным закруглением (см. авторское свидетельство №1583232, B 23 G 5/00, бюл. №29, 1990 г.).
Признаки, совпадающие: плашка, резьбонарезная, в цилиндрическом корпусе которой выполнены центральное резьбовое и стружечные отверстия.
Причины, препятствующие поставленной задаче: сложность конструкции.
Известна круглая плашка, содержащая корпус, в котором установлены резьбообразующие элементы в виде сегментов, сопряженные между собой по винтовым поверхностям, с целью расширения функциональных возможностей за счет нарезания полукруглых резьб в деталях из древесины и пластмасс резьбообразующие элементы представляют собой гофры, на выступах которых в точке наибольшего их приближения к оси корпуса выполнены вырезы, образующие зубья (см. авторское свидетельство №1785850, B 23 G 5/04, бюл. №1, 1993 г.).
Признаки, совпадающие: содержит корпус, в котором установлены резьбообразующие элементы в виде сегментов, расположенных по винтовым поверхностям.
Причины, препятствующие поставленной задаче: конструктивная сложность, не эффективно при обработке труднообрабатываемых материалов, малая надежность.
Известна плашка со сменными гребенками, установленными в корпусе на осях и зафиксированными шпонками, введенными в стружечные канавки соответствующих гребенок и жестко связанными с корпусом, с целью повышения качества нарезанной резьбы задняя поверхность зубьев гребенок выполнена по радиусу, величина которого возрастает от передней поверхности к спинке зубьев, при этом гребенки установлены с возможностью ограниченного поворота вокруг осей и попеременного взаимодействия передней поверхностью и спинкой зубьев с соответствующими шпонками (см. авторское свидетельство №1804378, B 23 G 5/04, бюл. №11, 1993 г.).
Признаки, совпадающие: содержит сменные гребенки, установление и зафиксированные в корпусе.
Причины, препятствующие поставленной задаче: конструктивная сложность, не приемлемо при обработке труднообрабатываемых материалов вследствие низкой надежности и технологичности.
В качестве ближайшего аналога принята плашка, в корпусе которой размещен регулировочный элемент и установлены с возможностью взаимодействия с ним резьбообразующие элементы, она дополнительно снабжена фланцами, на периферии корпуса выполнены пазы и резьбовые отверстия, а на торцах корпуса – кольцевые проточки, при этом резьбообразующие элементы установлены в указанных пазах, регулировочные элементы выполнены в виде размещенных в резьбовых отверстиях винтов, а фланцы расположены в кольцевых проточках и предназначены для ориентации и закрепления резьбообразующих элементов (см. авторское свидетельство №2089359, 6 В 23 G 5/04, бюл. №25, 1997 г.).
Признаки, совпадающие: содержит корпус, в котором размещен регулировочный элемент и установлены с возможностью взаимодействия с ним резьбообразующие элементы, резьбообразующие элементы установлены в пазах корпуса.
Причины, препятствующие поставленной задаче: конструктивная сложность, не приемлемо при обработке труднообрабатываемых материалов вследствие низкой надежности и технологичности.
Задачей настоящего изобретения является создание плашки, обладающей высокой точностью, надежностью и высокотехнологичной в эксплуатации.
Технический результат заключается в том, что плашка со сменными гребенками, установленными в корпусе и зафиксированными посредством втулки с винтами, снабжена пластически деформирующими гребнями, расположенными по винтовой линии, а резьбообразующий профиль сменных гребенок выполнен с тупым углом, при этом сменные гребенки расположены по ходу перед пластически деформирующими гребнями. Совмещение процесса резания и процесса выдавливания уменьшает количество чешуек, отрывающихся с поверхности резьбы при пластическом воздействии, дополнительно влечет снижение разбивания профиля и повышает преодоление упругих деформаций.
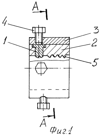
Предлагаемая плашка поясняется чертежами: фиг.1 – общий вид плашки с разрезом, фиг.2 – разрез А-А на фиг.1.
Плашка со сменными гребенками 1, установленными в корпусе 2 и зафиксированными посредством втулки 3 с винтами 4, снабжена пластически деформирующими гребнями 5, расположенными по винтовой линии, а резьбообразующий профиль сменных гребенок 1 выполнен с тупым углом, при этом сменные гребенки расположены по ходу перед пластически деформирующими гребнями 5.
Обработка резьбы предлагаемой плашкой заключается в том, что первоначально производится предварительное нарезание резьбового профиля резьбы посредством сменных гребенок 1, имеющих тупой угол резьбового профиля, после чего они подвергаются пластической деформации пластически деформирующими гребнями 5, расположенными по винтовой линии с нарастающим углом затылования по ходу. Особенность заключается в том, что обработка производится за счет смещения поверхностного слоя и вследствие того, что волокна перерезаются в малой степени, в основном, по боковым поверхностям профиля на малую глубину, и уже при последующем выдавливании пластически деформирующими гребнями 5 формируется сам профиль и вершина на конечном этапе калибровочной пластической обработкой. Совмещение процесса резания и процесса выдавливания значительно улучшает процесс получения резьбового профиля и уменьшает количество чешуек, отрывающихся с поверхности резьбы при пластическом воздействии. Конструкция плашки позволяет производить быстро замену сменных гребенок при простой и надежной фиксации, что упрощает процесс их переточки. Это повышает технологические параметры – стойкость и долговечность инструмента при обработке труднообрабатываемых и вязких материалов. Резьба получается более точной при высоких прочностных характеристиках, уменьшается разбивание профиля, улучшается преодоление упругих деформаций, что позволяет повысить класс точности и класс чистоты.
Перечисленные факторы позволяют улучшить эффективность обработки резьбового профиля и повысить его надежность, а также исключается брак по срываемости профиля в процессе его получения, что особенно важно для мелкопрофильных резьб среднего и более крупного типоразмера, а также для резьб, получаемых на труднообрабатываемых материалах и материалах, обладающих повышенной вязкостью.
Формула изобретения
Плашка со сменными гребенками, установленными в корпусе и зафиксированными посредством втулки с винтами, отличающаяся тем, что она снабжена пластически деформирующими гребнями, расположенными по винтовой линии, а резьбообразующий профиль сменных гребенок выполнен с тупым углом, при этом сменные гребенки расположены по ходу перед пластически деформирующими гребнями.
РИСУНКИ
MM4A – Досрочное прекращение действия патента СССР или патента Российской Федерации на изобретение из-за неуплаты в установленный срок пошлины за поддержание патента в силе
Дата прекращения действия патента: 14.05.2006
Извещение опубликовано: 20.01.2008 БИ: 02/2008
|
|