|
(21), (22) Заявка: 2002129600/02, 27.03.2001
(24) Дата начала отсчета срока действия патента:
27.03.2001
(30) Конвенционный приоритет:
01.04.2000 GB 0007948.3
(43) Дата публикации заявки: 20.05.2004
(45) Опубликовано: 20.08.2005
(15) Информация о коррекции:
Версия коррекции № 1 (
Настоящее изобретение относится к экструзионной матрице, используемой при экструзии металлов, и, в частности, к матрице, которая может быть использована при экструзии алюминия. Изобретение также касается способа изготовления матрицы этого типа.
При экструдировании алюминия важно гарантировать равномерность движения алюминия через экструзионную матрицу. В прошлом это достигалось в результате использования матрицы, имеющей полость с конечной длиной рабочего пояска, и изменения длины рабочего пояска поперек матрицы. Однако при этом было установлено, что прессованный профиль иногда содержит дефекты поверхности, возникающие вследствие контакта между поверхностью рабочего пояска и экструдируемым алюминием. Более известным, чем создание поверхности рабочего пояска за входом в полость матрицы, является использование матрицы, имеющей так называемый нулевой рабочий поясок и снабженной камерой, расположенной до входа в полость матрицы и имеющей меняющуюся длину рабочего пояска, что позволяет управлять скоростью экструзии по всей матрице. Несмотря на то что термин “нулевой рабочий поясок” означает, что полость матрицы имеет нулевую длину рабочего пояска, на практике полость матрицы, вероятно, будет иметь конечную, но очень маленькую длину рабочего пояска.
Другая проблема, возникающая при экструдировании алюминия, состоит в том, что при экструзии, например, профиля П-образного сечения стенки профиля могут менять свое направление таким образом, что если матрица имеет полость, в которой части этой полости, формирующие стенки профиля, параллельны друг другу, то стенки детали, полученной экструзией с использованием этой матрицы, становятся уширенными и не параллельными друг другу. Известно, что для исправления такого уширения используют камеру предварительной формовки, размещенную со стороны входа в полость матрицы, камеру, ширина которой превышает ширину части полости матрицы, непосредственно примыкающей к этой камере, причем сама камера смещена в сторону относительно полости матрицы. Такой способ приводит к приложению боковой нагрузки к металлу, который подвергают экструдированию. Несмотря на то что смещение камеры предварительной формовки в сторону от полости матрицы позволяет предотвратить уширение стенок детали при экструзии в некоторых случаях, этот способ имеет ограниченное применение и не может быть достаточно действенным для предотвращения уширения стенок детали, например, при экструзии детали с относительно малой толщиной стенок. Подобные проблемы возникают тогда, когда полые детали получают экструдированием с использованием матрицы, имеющей охватываемый участок и охватывающий участок, т.е. части матрицы, входящие друг в друга.
В соответствии с настоящим изобретением предлагается экструзионная матрица, содержащая корпус, имеющий сформированную в нем полость и образующий охватываемый участок, который входит в охватывающий участок, при этом передняя кромка части полости матрицы, образуемая охватываемым участком, и передняя кромка, расположенная напротив части полости матрицы, образуемой охватывающим участком, при неиспользовании матрицы находятся в смещенном друг относительно друга положении, т.е. они не являются компланарными.
Было установлено, что в предшествующих конструкциях величина нагрузки, прикладываемой к металлу, который подвергают экструзии, и, следовательно, к матрице, является достаточной, чтобы вызвать отклонение охватываемого участка относительно охватывающего участка. Если матрица представляет собой матрицу с нулевым рабочим пояском, то это отклонение приводит к смещению передних кромок полости матрицы в направлении экструзии. Такое смещение вызывает боковые нагрузки, испытываемые металлом, который подвергают экструзии, и может приводить к описанному выше уширению стенок детали при экструзии. При проектировании матрицы, у которой при неиспользовании передние кромки являются некомпланарными, этот эффект может быть уменьшен, поскольку матрица может иметь такую конструкцию, что при использовании матрицы в процессе отклонения передние кромки становятся компланарными или по существу компланарными. Несмотря на то что, как правило, передние кромки становятся компланарными, преимущества изобретения проявляются также и в том случае, если по всей матрице передняя кромка части полости на одной стороне совмещается с частью полости на другой стороне.
Следует отметить, что в общем случае отклоняются оба участка полости матрицы – как охватываемый участок, так и охватывающий участок, – и целью изобретения является компенсация относительного отклонения между этими участками.
Несмотря на то что в описании рассматривается отклонение участков матрицы, следует принять во внимание, что при использовании матрицы под действием прикладываемых нагрузок может также происходить некоторое сжатие материала матрицы и что изобретение может быть также использовано с целью преодоления недостатков, связанных с рассовмещением рабочих поясков, вызываемым при использовании матрицы таким сжатием.
Предпочтительной формой полости матрицы является такая форма, при которой ее ширина увеличивается от минимального значения, которое полость имеет у своих передних кромок. Такая конструкция называется в дальнейшем матрицей с нулевым рабочим пояском.
Изобретение имеет особые преимущества при использовании применительно к матрицам с нулевым рабочим пояском, поскольку относительно небольшая величина отклонения вызывает полное рассовмещение рабочих поясков таких матриц. В матрицах ненулевого типа даже при возникновении отклонения существует вероятность того, что часть каждой направляющей поверхности останется совмещенной частью направляющей поверхности, расположенной напротив.
Полость матрицы может иметь определенную форму охватываемого и охватывающего участков с образованием охватываемого участка в виде шипа. В такой конструкции матрица используется для формирования экструзией детали, имеющей, по меньшей мере, одну П-образную область.
Полость матрицы может иметь определенную форму с образованием, по меньшей мере, одного дополнительного участка в виде шипа. Корпус матрицы может образовывать, по меньшей мере, одну дополнительную полость матрицы.
Корпус матрицы может иметь по существу плоскую переднюю поверхность, на которой выполнено углубление неравномерной глубины. Передние кромки полости матрицы образуются линией пересечения между полостью матрицы и углублением.
В другом варианте конструкции корпус матрицы может иметь неплоскую переднюю поверхность, подвергнутую обработке на станке с целью образования передних кромок полости матрицы.
Камера предварительной формовки может быть размещена со стороны входа в полость матрицы и иметь определенную форму, обеспечивающую одинаковую скорость экструзии через матрицу. Камера предварительной формовки может иметь неравномерную глубину и, следовательно, неравномерную длину рабочего пояска и/или может иметь неравномерную ширину.
В другом варианте конструкции матрица может быть спроектирована с целью изготовления детали полой формы, в процессе экструзии которой участвует охватываемый участок, выступающий в очко, сформированное на охватывающем участке.
В соответствии с другой особенностью изобретения предлагается способ изготовления экструзионной матрицы, содержащий этап расчета возможного отклонения охватываемого участка матрицы при ее использовании и этап формирования углубления вокруг, по меньшей мере, части полости матрицы, причем это углубление имеет неравномерную глубину, а форма его такова, что при использовании матрицы передняя кромка части полости матрицы с одной стороны совмещается с передней кромкой части полости матрицы, расположенной напротив.
Формирование углубления, как правило, осуществляют шлифованием, но следует принять во внимание, что могут быть использованы и другие способы.
Этап расчета возможного отклонения, как правило, осуществляют, используя методику расчета по конечным элементам.
Далее приводится описание изобретения на примере. Описание сопровождается ссылками на прилагаемые чертежи, на которых:
Фигура 1 – вид в разрезе алюминиевой детали, полученной экструзией;
Фигура 2 – часть матрицы, использованной при экструзии детали, изображенной на фигуре 1;
Фигура 3 – увеличенное изображение части фигуры 2;
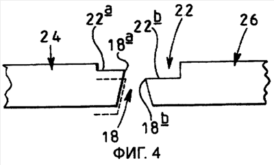
Фигура 4 – схематическое изображение фигуры 3 в разрезе по линии 4-4;
Фигура 5 – вид, аналогичный фигуре 4, иллюстрирующий другой пример осуществления изобретения;
Фигура 6 – вид, аналогичный фигуре 2, иллюстрирующий другой вариант конструкции матрицы;
Фигура 7 – схематическое изображение одной из полостей матрицы, представленной на фигуре 6;
Фигура 8 – схематическое изображение фигуры 7 в разрезе по линии 8-8;
Фигура 9 – вид, аналогичный фигуре 6, иллюстрирующий еще один вариант конструкции матрицы;
Фигура 10 – схематическое изображение варианта конструкции матрицы в разрезе;
Фигура 11 – вид сверху на матрицу, представленную на фигуре 10; и
Фигура 12 – схематическое изображение, иллюстрирующее способ, используемый при изготовлении матриц, представленных на фигурах с 1 по 11.
Обратимся к фигурам с 1 по 4. На фигуре 1 представлена полученная экструзией алюминиевая деталь 10 относительно сложной формы. Деталь 10 имеет несколько областей, которые можно рассматривать как области П-образного сечения 12 с ответвлениями 14, в общем параллельными друг другу. Пары ответвлений 14, формирующие несколько областей П-образного сечения 12, показанных на фигуре 1, обозначены на этой фигуре позициями 14а, 14b и 14с.
На фигуре 2 изображена часть корпуса 16 экструзионной матрицы, использованной при изготовлении детали 10. Корпус 16 матрицы имеет очки, образующие пару полостей 18 матрицы, причем каждая из полостей 18 предназначена для экструзии детали 10. Фигура 3 представляет собой увеличенное изображение одной из полостей 18 матрицы.
Как показано на фигуре 3, каждая полость 18 матрицы имеет очко, форма которого, в общем, соответствует форме поперечного сечения детали 10, полученной экструзией. Ширина полости 18 увеличивается от минимального значения, которое полость 18 имеет в окрестности своих передних кромок 18а, 18b (см. фигуру 4), в соответствии с чем матрица представляет собой матрицу с нулевым рабочим пояском.
Передняя поверхность корпуса 16 матрицы имеет, в общем, плоскую форму и снабжена углублением 20, совмещенным с полостью 18, имеющим ту же самую общую форму, что и полость 18, но отличающимся большей шириной. В основании углубления 20 сформировано дополнительное углубление 22 (см. фигуру 4), имеющее также ту же самую общую форму, что и полость матрицы 18, но большей ширины. Как показано на фигуре 4, передние кромки 18а, 18b полости 18 матрицы образованы линией пересечении между полостью 18 матрицы и углублением 22.
Как лучше всего показано на фигуре 3, часть корпуса 16 матрицы, расположенная между частями полости 18 матрицы, которая при ее использовании формирует каждую пару ответвлений 14, выполнена в форме участка 24 в виде шипа, расположенного внутри охватывающего участка 26 корпуса 16 матрицы соответствующей формы. При использовании матрицы приложение нагрузки к материалу, подвергаемому экструзии, может вызывать отклонение участка 24 в виде шипа относительно охватывающего участка 26. Для снижения риска такого отклонения, вызывающего уширение ответвлений 14 детали 10, или снижения степени такого уширения, матрицу изготавливают таким образом, что при ее неиспользовании передние кромки 18а полости 18 матрицы, образованные частями участков 24 в виде шипов, некомпланарны с передними кромками полости 18 матрицы, образованными частями охватывающих участков 26, и размещены так, чтобы в результате отклонения участков 24 в виде шипов (до положения, показанного на фигуре 4 прерывистыми линиями), соответствующие им передние кромки 18а приближаются к плоскости расположения передних кромок 18b, соответствующих охватывающим участкам 26, в которые входят другие участки, и располагаются в той же самой плоскости. Гарантия по существу компланарности передних кромок 18а, 18b при использовании матрицы позволяет прикладывать боковые нагрузки к материалу, который подвергают экструзии, и, следовательно, уменьшить уширение ответвлений 14.
В примере осуществления, иллюстрируемом фигурами с 1 по 4, углубление 22 имеет не равномерную глубину, а, как показано на фигуре 4, содержит области 22а сравнительно малой глубины с одной стороны полости 18 матрицы и области 22b большей глубины с другой стороны полости 18 матрицы. Области 22а выполнены на участках 24 в виде шипов, а глубины областей 22а, 22b выбраны так, чтобы гарантировать по существу компланарность передних кромок 18а, 18b в результате отклонений участков 24 в виде шипов при использовании матрицы.
По желанию углубление 22 может быть смещено в сторону от очка полости 18 матрицы в некоторых частях матрицы. Такое поперечное смещение также приводит к приложению боковых нагрузок к металлу, который подвергают экструзии, с целью предотвращения уширения ответвлений 14 обычным способом. Этот способ может использоваться, например, в тех случаях, когда величина уширения ответвлений 14 относительно мала и возникновение уширения может быть предотвращено относительно легко с помощью этого способа или когда использование частей углубления 22 различной глубины невозможно осуществить на практике, или это не позволяет полностью предотвратить уширение с помощью этого способа.
Несмотря на то что, как описано выше, при использовании матрицы передние кромки ее полости становятся компланарными или по существу компланарными, это не является обязательным. Достаточным условием для проявления преимущества изобретения служит совмещение или по существу совмещение передних кромок полости матрицы с противоположных сторон друг с другом при использовании матрицы. Плоскость, с которой совмещены передние кромки одной части матрицы, может не совпадать с плоскостью, с которой совмещены передние кромки другой части полости матрицы.
На фигуре 5 представлен другой вариант конструкции матрицы, изображенной на фигурах с 1 по 4. В конструкции матрицы, иллюстрируемой фигурой 5, вместо углубления 22, используемого для обеспечения некомпланарности передних кромок 18а, 18b, передней поверхности корпуса 16 матрицы придана не плоская форма, а форма, при которой, например, передняя поверхность частей корпуса 16 матрицы, образующих участки 24 в виде шипов, приподняты относительно частей, образующих охватывающие участки 26.
Следует принять во внимание, что в обеих конструкциях, описанных выше, смещение между передними кромками 18а, 18b в направлении экструзии меняется плавно и непрерывно по всей поверхности матрицы, например, от максимума на вершинах участков 24 в виде шипов к минимуму на концах, удаленных от этих вершин.
Несмотря на то что в конструкциях, описанных выше, углубление 22 имеет плоскую донную поверхность, по желанию этой донной поверхности может быть придана наклонная форма. По желанию со стороны входа в полость матрицы для контроля за технологическим процессом может быть размещена камера предварительной формовки с меняющейся длиной рабочего пояска или формой, обеспечивающая по существу равномерность экструзии через матрицу. В другом варианте для достижения этого эффекта использована направляющая поверхность с переменной длиной рабочего пояска, выполненная за передними кромками 18а, 18b полости матрицы. Далее, несмотря на то что в предложенном выше тексте описания рассмотрены участки 24 в виде шипов, имеющие параллельные боковые стенки, следует принять во внимание, что это не является обязательным, и изобретение может быть использовано применительно к матрицам с участками в виде шипов, имеющими любую форму, например изогнутую или V-образную форму. Несколько участков в виде шипов, имеющих V-образную форму, представлены на фигуре 3 и обозначены номером позиции 28.
Величины отклонений участков в виде шипов и, следовательно, величины смещений передних кромок полости при неиспользовании матрицы очень малы. На фигуре 6 изображена матрица, имеющая сформированные в ней четыре полости 18, каждая из которых имеет несколько участков 24 в виде шипов и соответствующих им охватывающих участков 26. Фигура 7 представляет собой изображение одной из полостей 18, представленных на фигуре 6, в увеличенном виде. Заштрихованный участок на фигуре 7 соответствует полости 18 матрицы. Вокруг полости 18 сформировано углубление 22, так что передние кромки 18а частей полости, образованные участками 24 в виде шипов, лежат в одной плоскости, а передние кромки 18b, образованные охватывающими участками 26, лежат вне этой плоскости. Углубление 22 сформировано только на охватывающих участках 26 и имеет неравномерную глубину. Размер углубления 22 в различных местах указан на чертеже. Далее, углубление 22 имеет неплоскую донную поверхность. Этой донной поверхности, как показано на фигуре 8, придана наклонная форма.
На фигуре 9 изображена матрица для изготовления детали другого профиля – матрица с двумя полостями. Нагрузка, испытываемая корпусом матрицы, является не равномерной, а изменяется в зависимости от расстояния от краевой кромки корпуса матрицы. В результате участок в виде шипа, расположенный в окрестности центра матрицы, отклоняется на величину, отличную от величины отклонения подобного участка в виде шипа, расположенного в окрестности краевой кромки корпуса матрицы. Соответственно должно меняться и смещение передних кромок полостей при неиспользовании матрицы. На фигуре 9 указано смещение передних кромок 18а, 18b в различных точках вокруг этих двух полостей 18 при неиспользовании матрицы.
При сравнении фигуры 9 с фигурой 2 следует принять во внимание, что на фигуре 9 эти две полости являются идентичными друг другу, в то время как на фигуре 2 – зеркальными изображениями друг друга. Проведение экструзии идентичных деталей является выгодным с точки зрения возможности упрощения любых процессов обработки, выполняемых сразу же после экструзии. Способ, предлагаемый в настоящем изобретении, позволяет относительно легко изготавливать матрицы с несколькими полостями для экструзии идентичных деталей. Указанные на фигуре 9 размеры камер 22 позволяют гарантировать подачу металла, подвергаемого экструзии, в две полости 18 матрицы в правильных пропорциях.
Конструкция, представленная на фигурах 10 и 11, отличается от конструкций, описанных выше и показанных на предыдущих фигурах, тем, что предназначена для использования при экструзии полых деталей. Матрица содержит охватывающий участок 30, который образует множество очков. В образовании каждого очка участвует охватываемый участок 32. Области, образованные между охватывающим участком 30 и охватываемым участком 32, являются полостями 18 матрицы. Каждая полость 18 матрицы представляет собой полость с нулевым рабочим пояском и имеет передние кромки 18а, образованные охватывающим участком 30 и охватываемым участком 32. При использовании матрицы охватываемый участок 32 отклоняется относительно охватывающего участка 30, в который входит другой участок, как описано выше. Такое отклонение в типичной конструкции привело бы к рассовмещению передних кромок 18а, 18b. В соответствии же с настоящим изобретением матрица спроектирована так, что при неиспользовании матрицы передние кромки 18а, образованные охватываемым участком 32, располагаются со смещением по отношению к передним кромкам, образованным охватывающим участком 30 в направлении экструзии, причем при использовании матрицы отклонение охватываемого участка 32 приводит к уменьшению смещения передних кромок 18а, 18b и снижает, таким образом, вероятность получения эллиптического поперечного сечения, например, при экструзии детали с круглым поперечным сечением. В предпочтительном варианте смещение передних кромок 18а, 18b в направлении экструзии при использовании матрицы уменьшается до нуля, однако в некоторых случаях приемлемым является уменьшение смещения до очень малого значения.
Для изготовления экструзионной матрицы в соответствии с настоящим изобретением необходимо определить величину отклонения каждой части матрицы при использовании. Полученная величина отклонения позволяет проектировать матрицу с гарантией совмещения или практического совмещения передней кромки полости матрицы с одной стороны и передней кромки полости матрицы с противоположной стороны для всех частей матрицы при ее использовании.
Определение величины отклонения можно проводить разными методами. Например, специалист способен определить величину возможного отклонения с приемлемой степенью точности исходя из своих собственных знаний. В другом варианте для определения сил, которые могут воздействовать на части матрицы, и, следовательно, для определения возможного отклонения этих частей может быть использована машинная модель, позволяющая использовать метод расчета по конечным элементам. В третьем варианте используют матрицу, которая может иметь приложенную нагрузку и измеренное отклонение своих частей, с полостью и другими характеристиками, подобными матрице, которая должна быть изготовлена.
После определения вероятного отклонения вокруг полости матрицы выполняют углубления определенной формы. Контроль, в частности, глубины этих углублений в процессе формирования должен гарантировать точное совмещение передних кромок в состоянии отклонения. Формирование углублений, как правило, осуществляют с помощью шлифования. На фигуре 12 изображен шлифовальный круг 40, имеющий рабочую поверхность 42 в форме усеченного конуса. Шлифовальный круг 40 установлен с возможностью вращения вокруг оси, расположенной под углом к предполагаемому направлению экструзии с целью формирования углубления, основание которого наклонено под углом 10° к передней поверхности матрицы. Зубчатое колесо 40 обычно имеет диаметр приблизительно 15 мм.
Для повышения износостойкости матрицы следует подвергнуть ее также азотированию.
Несмотря на то что выше было описано формирование углубления методом шлифования, это не исключает, в случае желания, использования и других методов.
Формула изобретения
1. Экструзионная матрица, содержащая корпус, имеющий сформированную в нем полость, корпус матрицы образуется охватываемым участком, который входит в охватывающий участок, отличающаяся тем, что передняя кромка части полости матрицы, образуемой охватываемым участком, и передняя кромка расположенной напротив части полости матрицы, образуемой охватывающим участком, при неиспользовании матрицы находятся в смещенном относительно друг друга положении, причем смещение передней кромки части полости матрицы, образуемой охватываемым участком, в направлении экструзии по отношению к передней кромке расположенной напротив части полости матрицы, образуемой охватывающим участком, является неравномерным по окружности полости матрицы и имеет такую величину, что при использовании матрицы в результате отклонения охватываемого участка эти передние кромки по существу совмещаются друг с другом.
2. Матрица п.1, отличающаяся тем, что на матрице выполнено углубление неравномерной глубины и, по меньшей мере, часть, по меньшей мере, одной из передних кромок образована линией пересечения между полостью матрицы и углублением.
3. Матрица по любому из пп.1 и 2, отличающаяся тем, что полость матрицы имеет форму с нулевым рабочим пояском.
4. Матрица по любому из пп.1-3, отличающаяся тем, что охватываемый и охватывающий участки при использовании матрицы участвуют в экструзии, по меньшей мере, одной П-образной области.
5. Матрица по любому из пп.1-4, отличающаяся тем, что охватываемый и охватывающий участки при использовании матрицы участвуют в экструзии, по меньшей мере, одной полой области.
6. Способ изготовления экструзионной матрицы, содержащий этап определения отклонения, по меньшей мере, части матрицы при использовании и этап формирования углубления вокруг, по меньшей мере, части полости матрицы, отличающийся тем, что это углубление имеет неравномерную глубину, значение которой выбирают так, чтобы при использовании матрицы гарантировать по существу совмещение передней кромки части полости матрицы с одной стороны и передней кромки расположенной напротив части полости матрицы между собой.
7. Способ по п.6, отличающийся тем, что углубление формируют с помощью шлифования.
8. Способ по п.6, отличающийся тем, что отклонение определяют, используя методику расчета по конечным элементам.
РИСУНКИ
TH4A – Переиздание описаний изобретений к патентам Российской Федерации
Причина переиздания: Коррекция текста описания изобретения
Извещение опубликовано: 27.11.2005 БИ: 33/2005
|
|