|
|
(21), (22) Заявка: 2004111765/12, 20.04.2004
(24) Дата начала отсчета срока действия патента:
20.04.2004
(45) Опубликовано: 20.08.2005
(56) Список документов, цитированных в отчете о поиске:
US 4779803 A, 25.10.1988. RU 2036381 C1, 27.05.1995. RU 2184619 C1, 10.07.2002. US 4013228 A, 22.03.1977.
Адрес для переписки:
121467, Москва, а/я 58, А.Р. Мельяну
|
(72) Автор(ы):
Карпышев А.В. (RU), Душкин А.Л. (RU), Рязанцев Н.Н. (RU)
(73) Патентообладатель(и):
Карпышев Александр Владимирович (RU), Душкин Андрей Леонидович (RU), Рязанцев Николай Николаевич (RU)
|
(54) РАСПЫЛИТЕЛЬ ЖИДКОСТИ
(57) Реферат:
Изобретение относится к технике распыления жидкости и может быть использовано в системах пожаротушения и технологическом оборудовании различного назначения. Распылитель жидкости содержит сопло, канал которого включает выходной цилиндрической участок, пластину с отверстием, соосным выходному цилиндрическому участку канала сопла. Средство перемещения пластины в осевом направлении относительно выходной торцевой поверхности сопла выполнено в виде корпуса цилиндрической формы, установленного соосно соплу. Внутренний диаметр корпуса превышает диаметр выходного цилиндрического участка канала сопла. Одна торцевая часть корпуса соединена с соплом с помощью, по меньшей мере, одного уплотнительного элемента, обеспечивающего герметичное соединение корпуса и сопла при перемещении корпуса относительно сопла в осевом направлении. На противоположной торцевой части корпуса закреплена пластина, образующая торцевую стенку корпуса. Диаметр D отверстия, выполненного в пластине, выбран из условия: d D 1,3d, где d – диаметр выходного цилиндрического участка канала сопла. Толщина пластины у кромок отверстия не превышает 3d. В предпочтительном варианте выполнения распылителя максимальное расстояние от выходной торцевой поверхности сопла до пластины, обеспечиваемое при осевом перемещении корпуса, не превышает 5d. В этом случае диаметр D отверстия, выполненного в пластине, выбирается из условия: d D 1,1d. Длина выходного цилиндрического участка канала сопла составляет от 1 до 5d. Канал сопла может быть выполнен с входным сужающимся участком конической или коноидальной формы. Распылитель может содержать цилиндрическую камеру, сообщенную с входом в сопло и установленную соосно каналу сопла. Длина цилиндрической камеры составляет от 5 до 20 диаметров входного отверстия канала сопла, а ее диаметр равен диаметру входного отверстия канала сопла. Изобретение позволяет с минимальными потерями энергии генерировать компактные капельные потоки как не распыленной, так и мелкораспыленной струи жидкости при высокой степени равномерности и интенсивности по сечению газокапельного потока распыления. 6 з.п. ф-лы, 1 ил. 
Изобретение относится к технике распыления жидкости и может быть использовано в системах пожаротушения, сантехническом оборудовании, устройствах сжигания жидкого топлива, поливочных агрегатах и т.д.
Известны различные типы распылителей жидкости. Так, например, из патента RU 2036381 С1 известно устройство для распыления жидкости, содержащее сопло, вставку с центральным сужающимся отверстием конической формы, соосным выходному расширяющемуся участку канала сопла (RU 2036381 С1, МПК F 23 D 11/34, В 05 В 17/06, дата публикации 27.05.1995). В состав устройства также входит средство перемещения вставки в осевом направлении относительно выходного участка канала сопла. Вставка установлена в камере цилиндрической формы, соосной каналу сопла.
В цилиндрической камере устройства между выходной торцевой частью вставки и торцевой частью выходного канала сопла образована кольцевая резонирующая полость, в которой происходит преобразование постоянного давления жидкости в переменное. При перемещении вставки происходит изменение объема кольцевой резонирующей полости и, как следствие этого, изменение частоты колебаний давления жидкости. В результате осуществляется генерация пульсирующей струи жидкости, вследствие чего обеспечивается эффективное распыление жидкости и образование мелкодисперсного газокапельного потока. Дополнительное воздействие на распыляемую струю жидкости осуществляется посредством генерации вокруг основного потока кольцевого ряда струй малого диаметра, которые создаются посредством подачи части потока жидкости из канала сопла через дополнительные сопловые насадки.
При использовании известного технического решения достигается повышение эффективности распыления потока жидкости при снижении энергетических затрат. Однако в известном устройстве происходит снижение кинетической энергии струи из-за подсоса воздуха из окружающей среды в зазор между поверхностью канала сопла и истекающей струей жидкости, а затем в резонирующую полость. Кроме того, следует отметить, что резонансные явления, используемые в однофазном потоке, обладают меньшей эффективностью с точки зрения получения распыленных потоков жидкости по сравнению с кавитационными явлениями.
Вследствие этого известное устройство не обеспечивает требуемый диапазон изменения дисперсности распыления жидкости: от дальнобойных крупнодисперсных фракций до тонкодисперсного газокапельного потока средней дальности подачи.
Из патента US 4013228 (МПК-2 В 05 В 1/30, дата публикации 22.03.1977) известно устройство для распыления жидкости, содержащее сопло, канал которого включает цилиндрический участок. Распылитель содержит камеру, установленную на выходе из цилиндрического участка сопла. На торцевой конической стенке камеры установлено дополнительное сопло с выходным цилиндрическим каналом. Перемещение торцевой стенки камеры с выходным каналом в осевом направлении осуществляется посредством перемещения корпуса, установленного коаксиально основному соплу устройства. Между внутренней поверхностью корпуса с конической стенкой и внешней поверхностью корпуса сопла образованы продольные каналы, через которые обеспечивается подсос воздуха из окружающего пространства в полость камеры между срезом выходного цилиндрического участка сопла и конической стенкой с выходным цилиндрическим отверстием.
Изменение характеристик распыленной струи, которая генерируется на выходе из выходного цилиндрического канала, достигается за счет перемещения корпуса с конической стенкой в осевом направлении. В различных положениях корпуса расширяющаяся часть струи на выходе из цилиндрического канала сопла соударяется либо с внутренней конической поверхностью камеры (при наибольшем удалении от среза канала сопла), либо с внутренней поверхностью цилиндрического канала, выполненного в конической стенке корпуса (при наименьшем расстоянии от среза канала сопла).
Описанное выше устройство обеспечивает генерацию распыленных струй жидкости с заданными характеристиками в требуемом диапазоне параметров. Однако при использовании устройства происходит снижение кинетической энергии струи за счет потерь, связанных с подсосом воздуха из окружающей среды через продольные каналы (проточки). Кроме этого, известное устройство не позволяет регулировать дисперсность генерируемого распыленного потока в заданном диапазоне.
Наиболее близким аналогом заявленного изобретения является распылитель жидкости, описанный в патенте US 4779803 (МПК В 05 В 1/26; В 05 В 1/34, дата публикации 25.10.1988). Распылитель содержит сопло, канал которого включает выходной цилиндрической участок, пластину с отверстием, соосным выходному цилиндрическому участку канала сопла и средство перемещения пластины в осевом направлении относительно выходной торцевой поверхности сопла. Средство перемещения пластины в виде стоек (перегородок), расположенных на определенном расстоянии друг от друга в азимутальном направлении. Стойки крепления пластины фиксируются на внешней поверхности сопла с возможностью совместного перемещения с пластиной в осевом направлении относительно среза сопла.
Диаметр отверстия, выполненного в пластине, превышает диаметр выходного цилиндрического участка канала сопла, по меньшей мере, в десять раз. Размер отверстия в пластине выбирается в зависимости от размера поперечного сечения струи жидкости, истекающей из цилиндрического канала сопла, на заданном расстоянии от среза канала сопла. В положении пластины, максимально приближенном к срезу канала сопла, генерируемая струя жидкости свободно истекает через отверстие пластины, не контактируя с кромками пластины. В положении пластины, максимально удаленном от выходной торцевой поверхности сопла, происходит распыление потока жидкости в виде мелкодисперсной фракции за счет захвата потока воздуха, подсасываемого из окружающего пространства через зазоры, образованные стойками пластины. Распыление потока жидкости, предварительно смешенного с воздухом на участке между срезом сопла и пластиной, и образование мелкодисперсного газокапельного потока происходит при обтекании кромок отверстия пластины.
Максимально удаленное положение пластины обеспечивает поступление потоков воздуха в струю непосредственно после ее выхода из канала сопла и способствует турбулизации потока в направлении, перпендикулярном оси симметрии сопла. В результате указанных процессов увеличивается интенсивность столкновений частиц распыляемой жидкости и происходит смешение жидкости с воздушной массой, что способствует дроблению струи жидкости на мелкие капли.
Следует отметить, что при использовании рассматриваемого аналога эффективное распыление жидкости достигается за счет предварительного смешения потока жидкости с воздухом, поступающим из окружающей среды. Однако такой процесс распыления жидкости сопряжен с существенными потерями кинетической энергии струи жидкости. В результате протекания такого рода процессов происходит или снижение скорости распыленного потока жидкости, или увеличение затрат энергии на генерацию мелкодисперсных газокапельных потоков.
Задачей настоящего изобретения является создание распылителя жидкости, позволяющего генерировать при минимальных затратах энергии мелкодисперсные газокапельные потоки с различными углами конусности факела распыленного потока жидкости потоки при условии высокой интенсивности и равномерности распыленного потока. При этом ставится задача обеспечить возможность регулирования структуры распыленного потока и переход от нераспыленной струи жидкости к распыленному мелкодисперсному потоку с максимальным углом раскрытия. Решение указанных технических задач требуется для ряда практических областей применения распылителя. В частности, это необходимо при тушении очагов возгорании различных классов, когда требуется эффективно доставить огнетушащий состав в очаг, удаленный на достаточно большое расстояние, а также в случае, если необходимо производить дотушивание непогашенных областей очага направленным мелкодисперсным потоком воды с небольших расстояний.
Решение перечисленных технических задач связано с достижением технического результата, заключающегося в снижении затрат энергии на генерацию регулируемого как по структуре, так и по форме потока жидкости.
Данный технический результат достигается при использовании распылителя жидкости, содержащего сопло, канал которого включает выходной цилиндрической участок, пластину с отверстием, соосным выходному цилиндрическому участку канала сопла, и средство перемещения пластины в осевом направлении относительно выходной торцевой поверхности сопла. Согласно настоящему изобретению средство перемещения пластины выполнено в виде корпуса цилиндрической формы, установленного соосно соплу. Внутренний диаметр корпуса превышает диаметр выходного цилиндрического участка канала сопла. При этом одна торцевая часть корпуса соединена с соплом с помощью, по меньшей мере, одного уплотнительного элемента, обеспечивающего герметичное соединение корпуса и сопла при перемещении корпуса относительно сопла в осевом направлении, а на противоположной торцевой части корпуса закреплена пластина, образующая торцевую стенку корпуса. Диаметр D отверстия, выполненного в пластине, выбран из условия: d D 1,3 d, где d – диаметр выходного цилиндрического участка канала сопла.
Указанная выше совокупность существенных признаков изобретения позволяет создать условия, при которых происходит запирание отверстия, выполненного в пластине, струей жидкости, истекающей из сопла, в результате чего прекращается подсос воздуха из окружающего пространства в камеру (полость корпуса) и, вследствие этого, осуществляется кавитационное вскипание жидкости в области отверстия пластины.
Таким образом, при использовании заявленного изобретения процесс преобразования струи жидкости в мелкодисперсный газокапельный поток обеспечивается за счет кавитационных процессов, которые обладают наибольшей энергетической эффективностью по сравнению с другими традиционно используемыми процессами распыления жидкости. Необходимо отметить, что технический результат, связанный с указанным выше эффектом, проявляется во всем диапазоне давлений жидкости от 0,50 до 5 МПа, практически используемом для создания распыленных потоков жидкости.
Эффект запирания струей жидкости выходного отверстия пластины, размер которого выбирается из условия согласно формуле изобретения, обусловлен возможностью перемещения корпуса с пластиной в осевом направлении относительно среза сопла. При этом в зависимости от давления жидкости на входе в сопло может варьироваться и максимальное расстояние от выходной торцевой поверхности сопла до пластины.
В предпочтительном варианте выполнения конструкции распылителя, когда максимальное расстояние от выходной торцевой поверхности сопла до пластины, которое обеспечивается при осевом перемещении корпуса, не превышает 5d, диаметр D отверстия, выполненного в пластине, выбирается из условия: d D 1,1 d.
Длина выходного цилиндрического участка канала сопла предпочтительно выбирается в диапазоне от 1 до 5 d. Данный диапазон обусловлен, с одной стороны, формированием узконаправленной струи жидкости и, с другой стороны, минимальными гидравлическими потерями в канале сопла.
Для снижения гидравлических потерь на входе в сопло, которые связаны с сужением канала сопла, сопло выполняется с входным сужающимся коническим участком конической или коноидальной формы. Данный входной участок соединяется с входом выходного цилиндрического участка.
С целью дальнейшего снижения гидравлических потерь распылитель может содержать цилиндрическую камеру, сообщенную с входом в сопло и установленную соосно каналу сопла. Длина такой цилиндрической камеры составляет от 5 до 20 диаметров входного отверстия канала сопла, а ее диаметр равен диаметру входного отверстия канала сопла.
Целесообразно также, чтобы толщина пластины у кромок отверстия не превышала 3d. В этом случае снижаются гидравлические потери, а эффект кавитационного распыления струи жидкости проявляется в большей степени.
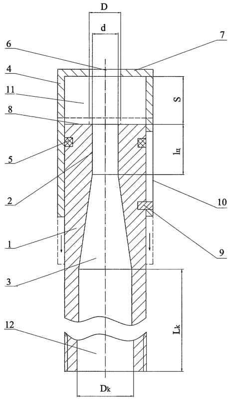
Далее патентуемое изобретение поясняется примером конкретного выполнения распылителя жидкости и прилагаемым чертежом, на котором изображен продольный разрез распылителя жидкости в положении генерирования распыленной струи жидкости. Пунктирными линиями на чертеже показано положение корпуса распылителя при генерировании нераспыленной струи. Стрелками на чертеже показано направление перемещения корпуса распылителя в положение, в котором пластина (торцевая стенка корпуса) с отверстием контактирует с торцевой поверхностью сопла.
Изображенный на чертеже распылитель жидкости содержит сопло 1, канал которого включает выходной цилиндрической участок 2 и входной сужающийся конический участок 3. Угол при вершине конуса, образующего поверхность конического участка 3, составляет 30°. Оптимальные значения угла конусности сужающегося участка сопла выбираются в диапазоне от 10° до 50°, для которого характерны минимальные гидравлические потери потока жидкости.
Длина цилиндрического участка 2 канала сопла 1 в рассматриваемом примере реализации составляет 2d=10 мм, где d=5 мм – диаметр выходного цилиндрического участка канала сопла. Длина участка 2 канала сопла 1 выбрана согласно предпочтительно используемому условию, в соответствии с которым длина выходного цилиндрического участка канала сопла составляет от 1 до 5 d.
Распылитель включает в свой состав также корпус 4, установленный коаксиально соплу 1. Корпус 4 выполнен с возможностью осевого перемещения относительно выходной торцевой поверхности сопла 1. Между корпусом 4, в области его торцевой части, и соплом 1 установлен кольцевой уплотнительный элемент 5, обеспечивающий герметичное соединение корпуса 4 и сопла 1 при перемещении корпуса 4 относительно сопла 1.
На противоположной торцевой части корпуса 4 установлена пластина с выходным отверстием 6, соосным выходному цилиндрическому участку 2 канала сопла 1. Пластина образует торцевую стенку 7 корпуса 4, который в целом выполняет функцию средства перемещения пластины.
Диаметр D отверстия, выполненного в торцевой стенке 7 корпуса, составляет D=1,1 d, где d – диаметр выходного цилиндрического участка 2 канала сопла, т.е. согласно условию d D 1,3 d. Толщина торцевой стенки 7 у кромок отверстия 6 не превышает 3d и составляет в рассматриваемом примере 1,2 мм.
Ограничение перемещения торцевой стенки 7 корпуса 4 относительно торцевой поверхности 8 сопла 1 осуществляется с помощью ограничителя перемещения, выполненного в виде упора 9, который установлен в продольной проточке 10 корпуса 4. Максимальное расстояние S от торцевой поверхности 8 сопла 1 до внутренней поверхности торцевой стенки 7 корпуса 4 составляет 4d, что соответствует оптимальному размеру полости 11 корпуса 4. При этом внутренний диаметр корпуса 4 превышает диаметр d выходного цилиндрического участка 2 канала сопла.
Поскольку диаметр d в рассматриваемом примере реализации изобретения составляет 5 мм, размеры корпуса распылителя равны соответственно: D=5,5 мм, S=10 мм.
С входом конического участка 3 канала сопла 1 сообщена цилиндрическая камера 12, которая расположена соосно каналу сопла 1. Диаметр Dk цилиндрической камеры 12 равен диаметру входного отверстия конического участка 3. Длина Lk цилиндрической камеры 12 составляет 10DK в соответствии с диапазоном оптимальных значений Lk: 5Dк Lк 20Dк.
Распылитель жидкости работает следующим образом.
Распылитель жидкости подключается к трубопроводу подачи воды с рабочим давлением от 0,5 до 1 МПа. При открытии клапана подачи, установленного в трубопроводе (на чертеже не показан), вода поступает в цилиндрическую камеру 12 распылителя, выполняющую функцию успокоителя потока жидкости. В камере 12 происходит выравнивание скорости потока вдоль его поперечного сечения. Затем жидкость разгоняется в коническом участке 3 канала сопла 1 и поступает в выходной цилиндрический участок 2 канала сопла, в котором осуществляется формирование струи жидкости, истекающей в полость 11 корпуса 4.
В положении корпуса 4, при котором осуществляется генерация мелкодисперсного потока жидкости, торцевая стенка 7 удалена от торцевой поверхности 8 сопла 1. Корпус 4 перемещают в осевом направлении до пересечения расширяющейся струей жидкости, истекающей из выходного отверстия цилиндрического участка 2, внутренней поверхности отверстия 6 торцевой стенки 7. В процессе перемещения корпуса 4 между выходной торцевой поверхностью 8 сопла 1 и обращенной к нему поверхностью торцевой стенки 7 вокруг струи жидкости образуется кольцевая полость 11, ограниченная стенками корпуса 4. За счет эжектирующего действия генерируемой струи жидкости в полости 11 возникает разрежение. В результате данного явления происходит подсос воздуха в полость 11 из окружающей среды через зазор, образованный между расширяющейся струей жидкости и внутренней поверхностью отверстия 6 в торцевой стенке 7.
Соединение сопла 1 с корпусом 4 в процессе перемещения последнего герметизируется с помощью кольцевого уплотнительного элемента 5.
В момент перекрытия расширяющейся струей жидкости отверстия 6 поступление воздуха в полость 11 прекращается, после чего происходит полное запирание отверстия 6 струей жидкости. В результате в полости 11 резко падает статическое давление и, как следствие этого, происходит кавитационное вскипание жидкости в области отверстия 6. Данное явление приводит к дроблению сплошной струи жидкости на мелкие капли жидкости и к последующему формированию мелкодисперсного газокапельного потока.
Минимальные гидравлические потери при течении потока распыляемой жидкости через выходное отверстие 6, выполненное в торцевой стенке 7 корпуса 4, обеспечиваются, если толщина торцевой стенки у кромок отверстия 6 и, следовательно, длина канала выходного отверстия 6 не превышает 3d.
Существенным условием для возникновения эффекта запирания отверстия пластины потоком жидкости в рабочем диапазоне давлений жидкости является условие, ограничивающее диаметр D отверстия 6, выполненного в торцевой стенке 7 камеры, в зависимости от величины диаметра d выходного цилиндрического участка 2 канала сопла 1: d D 1,3d.
Как показали экспериментальные исследования, в случае если диаметр D отверстия 6 превышает 1,3d, эффект запирания выходного отверстия не проявляется для рабочего диапазона давлений жидкости, поскольку воздух из окружающего пространства может свободно проникать в полость 11 через не полностью перекрытое сечением струи жидкости отверстие 6. Это связано с тем, что гравитационные силы отклоняют струю жидкости от оси симметрии отверстия 6, и струя жидкости попадает на поверхность торцевой стенки 7 корпуса 4.
При отсутствии указанного эффекта запирания выходного отверстия не происходит кавитационное вскипание жидкости в области отверстия 6, и, следовательно, не создаются условия для эффективного образования мелкодисперсного потока жидкости. Распыление жидкости в данном случае может осуществляться лишь при свободном истечении струи жидкости в окружающее пространство. Однако такой процесс распыления жидкости происходит при максимальных затратах энергии за счет действия сил трения.
Следует также отметить, что при увеличении диаметра D более 1,3 d требуется существенное увеличение рабочего давления жидкости и увеличение длины полости корпуса 4, В этом случае соответственно увеличивается объем полости корпуса, что препятствует созданию требуемого уровня вакуума в полости. При отсутствии требуемого уровня вакуума эффект кавитационного вскипания жидкости в области выходного отверстия практически не наблюдается. Вследствие этого энергетические затраты на распыление струи жидкости не могут быть существенно снижены.
В другом случае, если диаметр D выходного отверстия меньше диаметра d цилиндрического канала сопла, то эффект кавитационного вскипания жидкости в области выходного отверстия также не наблюдается по следующим причинам.
Поскольку сечение струи жидкости превышает диаметр выходного отверстия D торцевой стенки корпуса 4, в начальный момент истечения жидкости через выходное отверстие цилиндрического участка 2 канала сопла 1 происходит полное запирание выходного отверстия 6 струей жидкости. В этом случае вследствие отсутствия эжекции воздуха из окружающего пространства будет происходить отражение струи жидкости от торцевой стенки 7, вытеснение воздуха из полости 11 и последующее ее заполнение жидкостью. Таким образом, полость 11 будет выполнять функцию бустерной емкости, из которой осуществляется струйное истечение жидкости. При этом потери кинетической энергии струи жидкости резко возрастут, а эффективность распыла струи жидкости снизится.
Проведенные экспериментальные исследования показали, что наиболее оптимальным, с точки зрения габаритов конструкции распылителя жидкости, является условие выбора диаметра D отверстия 6: d D 1,1 d. Соблюдение данного условия при максимальном расстоянии S от выходной торцевой поверхности 8 сопла 1 до внутренней поверхности торцевой стенки 7 не более 5d позволяет получить наилучшие результаты по энергетической эффективности распыления струи жидкости.
Наибольшая динамическая устойчивость струи жидкости достигается в рассматриваемом примере реализации изобретения при использовании канала сопла с выходным цилиндрическим участком 2, протяженность которого составляет от d до 5d. При меньшей длине цилиндрического участка 2 ускорение потока жидкости происходит не по всему проходному сечению канала сопла. Это связано с отрывом струи от стенок канала, что приводит к снижению коэффициента расхода сопла. При большей длине цилиндрического участка 2 увеличиваются потери кинетической энергии за счет действия сил трения о стенки канала сопла. Вследствие этого уменьшается скорость истечения жидкости из выходного отверстия канала сопла.
Наибольшая дальнобойность струи жидкости и, соответственно, наибольшая кинетическая энергия струи обеспечивается при выполнении канала сопла с входным сужающимся участком 3 конической или коноидальной формы. Такая форма входного участка канала сопла приближена по форме к линиям течения жидкости.
В рассматриваемом примере реализации изобретения угол при вершине конуса, образующего поверхность канала входного участка, выбран в диапазоне от 10° до 50°. В указанном диапазоне углов конусности обеспечивается максимальная дальнобойность генерируемого газокапельного потока.
В результате проведенных экспериментов было установлено, что при использовании распылителя жидкости, выполненного согласно настоящему изобретению, осуществляется генерация компактного и мелкораспыленного капельного потока с равномерной интенсивностью и дисперсностью по сечению потока при минимальных затратах энергии.
Изобретение может использоваться в системах пожаротушения, в частности, в составе ранцевых и переносных установок пожаротушения. Кроме того, изобретение может использоваться в составе технологического оборудования различного назначения, а также для увлажнения окружающей среды и распыления дезинфицирующих веществ и инсектицидов.
Формула изобретения
1. Распылитель жидкости, содержащий сопло, канал которого включает выходной цилиндрической участок, пластину с отверстием, соосным выходному цилиндрическому участку канала сопла, и средство перемещения пластины в осевом направлении относительно выходной торцевой поверхности сопла, отличающийся тем, что средство перемещения пластины выполнено в виде корпуса цилиндрической формы, установленного соосно соплу, внутренний диаметр корпуса превышает диаметр выходного цилиндрического участка канала сопла, при этом одна торцевая часть корпуса соединена с соплом с помощью, по меньшей мере, одного уплотнительного элемента, обеспечивающего герметичное соединение корпуса и сопла при перемещении корпуса относительно сопла в осевом направлении, а на противоположной торцевой части корпуса закреплена пластина, образующая торцевую стенку корпуса, причем диаметр D отверстия, выполненного в пластине, выбран из условия d D 1,3d, где d – диаметр выходного цилиндрического участка канала сопла.
2. Распылитель по п.1, отличающийся тем, что для максимального расстояния от выходной торцевой поверхности сопла до пластины, обеспечиваемого при осевом перемещении корпуса, величина которого не превышает 5d, диаметр D отверстия, выполненного в пластине, выбран из условия d D 1,1d.
3. Распылитель по п.1, отличающийся тем, что длина выходного цилиндрического участка канала сопла составляет от 1 до 5d.
4. Распылитель по п.1, отличающийся тем, что канал сопла выполнен с входным сужающимся коническим участком, который соединен с входом выходного цилиндрического участка.
5. Распылитель по п.1, отличающийся тем, что канал сопла выполнен с входным сужающимся участком коноидальной формы, который соединен с входом выходного цилиндрического участка.
6. Распылитель по п.1, отличающийся тем, что содержит цилиндрическую камеру, сообщенную с входом в сопло и установленную соосно каналу сопла, при этом длина цилиндрической камеры составляет от 5 до 20 диаметров входного отверстия канала сопла, а ее диаметр равен диаметру входного отверстия канала сопла.
7. Распылитель по п.1, отличающийся тем, что толщина пластины у кромок отверстия не превышает 3d.
РИСУНКИ
|
|