|
|
(21), (22) Заявка: 2004103715/15, 09.02.2004
(24) Дата начала отсчета срока действия патента:
09.02.2004
(45) Опубликовано: 20.08.2005
(56) Список документов, цитированных в отчете о поиске:
SU 488595 A, 25.10.1975. SU 666375 А, 10.06.1979. SU 1818336 A1, 30.05.1993. FR 2156619 В, 06.07.1973.
Адрес для переписки:
614099, г.Пермь, ГСП, ул. Ленина, 62, ООО “ЛУКОЙЛ-ПЕРМЬ”, отдел инноваций, Г.И. Селезневой
|
(72) Автор(ы):
Виноградов М.Г. (RU), Гуляев М.И. (RU), Ипанов А.С. (RU), Коймов Е.А. (RU), Пестов В.М. (RU), Саков Ю.Л. (RU), Соколовский М.И. (RU), Чекменев В.А. (RU)
(73) Патентообладатель(и):
Открытое акционерное общество “Научно-производственное объединение “ИСКРА” (RU), Общество с ограниченной ответственностью “ЛУКОЙЛ-ПЕРМЬ” (RU)
|
(54) УСТРОЙСТВО ДЛЯ ОТДЕЛЕНИЯ ВОДЫ ОТ ДВИЖУЩЕЙСЯ ПО ТРУБОПРОВОДУ ВОДОНЕФТЯНОЙ ЭМУЛЬСИИ
(57) Реферат:
Изобретение относится к области обезвоживания нефти и предназначено для отделения воды от движущейся по трубопроводу водонефтяной эмульсии (ВНЭ). Устройство содержит корпус в виде горизонтальной трубы прямоугольного сечения, разделительный элемент в виде прямоугольной пластины, закрепленной шарнирно на перегородке, частично перекрывающей сечение корпуса со стороны днища. Фронтальная кромка пластины упирается в срез патрубка подвода ВНЭ с минимальным зазором, причем срез выполнен по дуге в продольном сечении, радиус которой равен радиусу дуги, по которой перемещается кромка пластины. Патрубок отвода воды размещен под нижней поверхностью пластины. Технический результат состоит в повышении эффективности отделения воды при изменяющейся обводненности эмульсии. 2 з.п. ф-лы, 1 ил. 
Изобретение относится к области подготовки (обезвоживания) нефти, а именно к отделению воды от водонефтяной эмульсии в процессе ее транспортирования по трубопроводу с нефтяных месторождений.
Известна и экспериментально подтверждена идея использования промысловых и магистральных трубопроводов для деэмульсации и расслоения водонефтяных смесей. На прямых горизонтальных участках трубопроводов определенной длины при отсутствии каких-либо механических возмущений, предположительно при любых числах Рейнольдса и наличии промежуточного слоя обратной эмульсии, происходит процесс ламинаризации потока водонефтяной эмульсии и последующее расслоение ее на фазы: нефть и воду, что позволяет осуществлять раздельный отбор фаз [1, 2].
На основе указанной теории разработаны устройства, включающие трубопроводы с постепенно увеличивающимся диаметром (успокоители течения) и концевые делители фаз, представляющие собой трубу, с отводами на конце для отделения свободной воды (снизу трубы) и для отделения нефти (сверху трубы). После концевого делителя фаз устанавливаются дополнительно отстойники, в которых производится окончательное отделение воды [1, 2].
Однако известное устройство для отделения воды от движущейся по трубопроводу водонефтяной эмульсии имеет недостатки, связанные со сложностью регулирования процесса отделения воды из трубопровода при изменении обводненности водонефтяной эмульсии, низкую производительность процесса, поскольку отбор воды необходимо вести медленно, чтобы исключить возможность попадания нефтяной эмульсии в воду из-за того, что в месте выпуска воды могут возникать завихрения с охватом большой зоны, а также требуются дополнительные затраты на оборудование, деэмульгаторы и энергоносители.
Наиболее близким к предлагаемому устройству для отделения воды от движущейся по трубопроводу водонефтяной эмульсии является трубный разделитель с попутным отбором нефти и воды, содержащий соединенный с трубопроводом, по которому транспортируется водонефтяная эмульсия, корпус в виде горизонтальной трубы с патрубком подвода водонефтяной эмульсии из трубопровода и патрубками отвода отделившейся воды, нефти и газа. Трубопровод отвода воды размещен в нижней части корпуса и снабжен затвором. Внутри корпуса установлены разделительные элементы в виде перегородок с подвижными лопастями для отделения воды и отделения нефти. Лопасти связаны с механизмом регулирования отбора нефти и воды. Лопасти при помощи механизма регулирования устанавливаются на определенный уровень, который определяется предварительным расчетом. Для определения соотношения фаз по сечению трубы разделительные перегородки связаны с датчиком удельного веса [3].
По мере движения по горизонтальной трубе потока водонефтяной эмульсии в верхней части трубы постепенно накапливается нефть и газ, а в нижней – вода. При установившемся (ламинарном) потоке формируется четкое разделение водонефтяной эмульсии на фазы по всему сечению горизонтальной трубы. Для обеспечения раздельного отбора нефти и воды механизмом регулирования перемещают разделительные перегородки на определенный уровень, который определяют предварительным расчетом. Для определения состава жидкости в трубопроводах отвода нефти и воды используются датчики удельного веса (для подрегулирования положения разделительных перегородок).
Однако известное устройство не обеспечивает высокую эффективность отделения воды от движущейся по трубопроводу водонефтяной эмульсии из-за того, что не исключено попадание в отделяемую воду нефтяной эмульсии, что влечет за собой потери нефти. Это объясняется недостаточной точностью и инертностью определения границы уровня раздела фаз и неточным регулированием положения разделительного элемента по отношению к этому уровню.
Другим существенным недостатком является отсутствие контроля и регулирования разности давления (перепада давления) в трубопроводах отвода воды и нефтяной эмульсии при отборе фаз, что может привести к перетеканию нефтяной эмульсии и даже, при определенных условиях, к засасыванию всего потока водонефтяной эмульсии в трубопровод отвода воды, что также ведет к потере нефти и усложнению в дальнейшем процесса очистки воды.
Также к недостаткам относится невозможность адекватной работы устройства при изменении во времени обводненности водонефтяной эмульсии в процессе ее транспортирования по трубопроводу. В случае значительного увеличения обводненности (до 90…95%) в известном устройстве технически невозможно обеспечить перемещение разделительного элемента на требуемую высоту по сечению трубы.
К тому же известное устройство имеет сложную конструкцию, большие габаритные размеры и металлоемкость.
Технической задачей, на решение которой направлено предлагаемое изобретение, является повышение эффективности отделения воды от движущейся по трубопроводу водонефтяной эмульсии при любой ее обводненности, в том числе, при изменяющейся во времени обводненности в процессе ее транспортирования по трубопроводу с нефтяных месторождений, снижение вероятности перетекания нефтяной эмульсии в трубопровод отвода воды при одновременном повышении производительности процесса.
Поставленная техническая задача решается устройством для отделения воды от движущейся по трубопроводу водонефтяной эмульсии, содержащим корпус в виде горизонтальной трубы с патрубком подвода водонефтяной эмульсии из трубопровода, патрубком отвода нефтяной эмульсии, патрубком отвода воды с затвором и с размещенным внутри корпуса разделительным элементом, а также механизм регулирования отбора воды, в котором новым является то, что корпус выполнен в виде горизонтальной трубы прямоугольного сечения, а установленные по торцам корпуса патрубки подвода водонефтяной эмульсии и отвода нефтяной эмульсии выполнены круглого сечения, разделительный элемент выполнен в виде пластины, закрепленной шарнирно на наклонной перегородке, частично перекрывающей поперечное сечение корпуса со стороны днища корпуса, свободный конец пластины выполнен с фронтальной кромкой, которая упирается в срез патрубка подвода водонефтяной эмульсии с минимальным зазором, причем срез указанного патрубка в продольном сечении выполнен по дуге, радиус которой равен радиусу дуги, по которой перемещается фронтальная кромка пластины, при этом между боковыми стенками корпуса и боковыми кромками пластины также выполнен минимальный зазор, и патрубок отвода воды установлен под нижней поверхностью пластины, механизм регулирования отбора воды содержит блок автоматического управления процессом отбора, датчики и исполнительные механизмы: ультразвуковой датчик контроля уровня раздела фаз, установленный на патрубке подвода водонефтяной эмульсии, датчик положения пластины разделительного элемента и привод пластины, датчик положения затвора запорно-регулирующего устройства и привод затвора, установленные на патрубке отвода воды, и датчик перепада давлений в патрубках отвода воды и нефтяной эмульсии, при этом датчики связаны с исполнительными механизмами через блок автоматического управления.
Фронтальная кромка пластины разделительного элемента выполнена со скосом.
Пластина разделительного элемента снабжена по боковым кромкам уплотнением.
Указанный технический результат достигается в предложенном устройстве благодаря следующему.
Выполнение корпуса в виде горизонтальной трубы прямоугольного сечения обеспечивает надежное перемещение прямоугольной пластины разделительного элемента по всему этому сечению, даже при увеличенной обводненности водонефтяной эмульсии до 90…95%, обеспечивающее точное расположение пластины разделительного элемента относительно границы раздела фаз и надежный раздельный отбор фаз. При этом выполнение установленных по торцам корпуса патрубков подвода водонефтяной эмульсии и отвода нефтяной эмульсии с круглым сечением позволяет обеспечить сохранение установившегося в трубопроводе ламинарного движения разделившейся на фазы водонефтяной эмульсии и в корпусе устройства прямоугольного сечения.
Конструктивное выполнение разделительного элемента и среза патрубка подвода водонефтяной эмульсии позволило расположить фронтальную кромку подвижной пластины так, что кромка упирается в срез патрубка подвода с минимальным зазором и перемещается в срезе по дуге, радиус которой равен радиусу дуги среза в продольном сечении патрубка подвода, что позволяет обеспечивать положение фронтальной кромки пластины при перемещении пластины по всему сечению патрубка подвода вслед за изменением положения уровня раздела фаз, что предотвращает возникновение завихрений в потоке и перемешивание фаз при движении водонефтяной эмульсии из трубы круглого сечения в трубу прямоугольного сечения, что гарантирует четкий раздельный отбор фаз.
Выполнение свободного конца пластины разделительного элемента с фронтальной кромкой, выполненной, преимущественно, со скосом, а скос выполнен под острым углом, обеспечивает всегда такое положение кромки, при котором она располагается ниже уровня раздела фаз (т.е. с некоторым смещением в водную фазу), при этом кромка со скосом уменьшает угол атаки водонефтяной эмульсии на разделительный элемент, что также предотвращает возникновение завихрений в потоке и перемешивание фаз.
Благодаря выполнению в корпусе наклонной перегородки, частично перекрывающей поперечное сечение корпуса со стороны днища корпуса, и установке патрубка отвода воды под нижней поверхностью пластины, исключается переход отделившейся водной фазы в трубопровод отвода нефтяной эмульсии и обеспечивается раздельный отбор фаз без перетекания одной фазы в другую.
Благодаря тому, что устройство снабжено блоком автоматического регулирования и системой датчиков с исполнительными механизмами, появилась возможность осуществления автоматического регулирования процессом отбора водной фазы от движущегося по трубопроводу потока водонефтяной эмульсии по таким параметрам, как положение уровня раздела фаз в движущемся ламинарном потоке на входе в устройство и по перепаду давлений в патрубках отвода воды и нефтяной эмульсии.
Поскольку пластина разделительного элемента, установленная в корпусе с возможностью поворота, связана с механизмом регулирования отбора воды, автоматически обеспечивается связь между любым изменением положения уровня раздела фаз (во времени), которое контролируется датчиком положения уровня раздела фаз, и положением пластины. Использование ультразвуковых датчиков в качестве датчика положения обеспечивает точность определения положения уровня раздела фаз при любом изменении обводненности движущейся по трубопроводу водонефтяной эмульсии.
Благодаря тому, что датчик положения пластины разделительного элемента и исполнительный механизм перемещения пластины связаны через блок автоматического управления с датчиком контроля уровня раздела фаз, обеспечивается автоматическая установка пластины в нужное положение так, что ее фронтальная кромка всегда находится ниже границы раздела фаз. Как следствие – надежное отделение водной фазы от движущегося потока при любом изменении положения уровня раздела.
При этом установленный на патрубке отвода воды датчик положения затвора запорно-регулирующего устройства и исполнительный механизм через блок автоматического управления обеспечивают автоматически постоянный контроль за перепадом давлений в патрубках отвода воды и нефтяной эмульсии и обеспечивают равенство давлений в указанных патрубках. При выполнении этого условия полностью исключается вероятность перетекания нефтяной эмульсии в трубопровод отвода воды и наоборот.
Предложенное техническое решение позволяет эффективно проводить процесс отделения воды от движущейся по трубопроводу водонефтяной эмульсии при любой степени ее обводненности, в том числе и при изменяющейся во времени в процессе ее транспортирования по трубопроводу. Регулирование отбора воды автоматически значительно повышает производительность процесса.
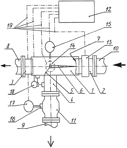
Сущность изобретения поясняется чертежом, на котором представлено устройство (схема) для отделения воды от движущейся по трубопроводу водонефтяной эмульсии.
Устройство содержит корпус 1, выполненный в виде проходной горизонтальной трубы прямоугольного сечения, к торцам которого присоединены патрубок 2 подвода водонефтяной эмульсии и патрубок 3 отвода нефтяной эмульсии, имеющие круглое сечение, а к днищу корпуса 1 присоединен патрубок 4 отвода воды. Внутри корпуса 1 на днище, с дальней по направлению движения потока стороны стенки патрубка 4 отвода воды, установлена жестко наклонная перегородка 5, частично перекрывающая поперечное сечение корпуса 1 со стороны днища. На перегородке 5 шарнирно закреплен разделительный элемент, выполненный в виде прямоугольной пластины 6. Свободный конец пластины 6 выполнен с фронтальной кромкой, которая упирается в срез 7 патрубка 2 подвода водонефтяной эмульсии с минимальным зазором. Между боковыми кромками пластины 6 и боковыми стенками корпуса 1 также выполнен минимальный зазор, для чего боковые кромки пластины 6 уплотнены, например, фторопластом. Фронтальная кромка пластины 6 разделительного элемента выполнена со скосом под острым углом.
Срез 7 патрубка 2 подвода водонефтяной эмульсии выполнен в продольном сечении по дуге, радиус которой равен радиусу дуги, по которой перемещается фронтальная кромка пластины 6.
К патрубкам 3 и 4 корпуса 1 подсоединены соответственно трубопроводы 8 отвода нефтяной эмульсии и 9 отвода воды, а патрубок 2 подвода водонефтяной эмульсии подсоединен к магистральному трубопроводу 10, по которому транспортируется водонефтяная эмульсия. Трубопровод 9 отвода воды снабжен запорно-регулирующим устройством 11 с затвором.
Механизм регулирования отбора воды от движущейся по трубопроводу водонефтяной эмульсии содержит блок 12 автоматического управления, датчики и исполнительные механизмы: ультразвуковой датчик 13 контроля уровня раздела фаз, установленный на патрубке 2 повода водонефтяной эмульсии, датчик 14 положения пластины 6 разделительного элемента и привод 15 пластины, датчик 16 положения затвора запорно-регулирующего устройства 11 и привод 17 затвора, установленные на патрубке 4 отвода воды, датчик 18 перепада давлений в патрубках отвода воды 4 и нефтяной эмульсии 3, при этом датчики соединены с исполнительными механизмами через блок автоматического управления 12 кабелями 19.
Работа устройства. Устройство для отделения воды монтируют на прямом горизонтальном участке определенной длины – не менее 800 м – трубопровода, по которому транспортируется водонефтяная эмульсия от месторождений. Блок 12 автоматического регулирования процессом, выполненный в виде шкафа с электрообогревом во взрывозащищенном исполнении, может быть установлен в непосредственной близости от места установки корпуса устройства.
В исходном положении пластина 6 разделительного элемента находится в крайнем нижнем положении; затвор запорно-регулирующего устройства 11 закрыт; водонефтяная эмульсия свободно движется по трубопроводу 10, через корпус 1, в трубопровод 8.
Обводненная нефть, в которую добавили реагент-деэмульгатор, например, Реапон-4В, транспортируется от дожимной насосной станции по трубопроводу 10 турбулентным потоком, но на горизонтальном участке длиной не менее 800 м в трубопроводе 10 турбулентное движение успокаивается и становится слаботурбулентным (ламинарным). При движении потока в ламинарном режиме водонефтяная эмульсия расслаивается на воду, нефтяную эмульсию и газ.
При включении устройства ультразвуковой датчик 13 контроля уровня раздела фаз, установленный на патрубке 2 подвода водонефтяной эмульсии, определяет положение уровня границы «вода – нефтяная эмульсия» и выдает сигнал об уровне раздела фаз в блок 12 автоматического управления, который, в свою очередь, выдает сигнал на привод 15 пластины 6. Привод 15 поворачивает пластину 6 разделительного элемента, меняя ее угловое положение, обеспечивая тем самым расположение фронтальной кромки пластины 6 ниже уровня раздела «вода – нефтяная эмульсия» на величину, исключающую попадание нефтяной эмульсии в воду. Эта величина составляет не более 0,1 Dвн., где Dвн. – внутренний диаметр трубопровода 10. При изменении положения пластины 6 датчик 14 положения пластины 6 выдает сигнал в блок 12 об изменившемся угловом положении пластины 6, который, в свою очередь, выдает сигнал на привод 17 затвора запорно-регулирующего устройства 11, и затвор открывается. Положение затвора регистрируется датчиком 16 положения, сигнал о положении затвора передается и передается в блок 12 автоматического управления. Отделившаяся вода из-под пластины 6 направляется в патрубок 4 и через открытый затвор – в трубопровод 9, а нефтяная эмульсия направляется через патрубок 3 в трубопровод 8. Датчик 18 перепада давлений постоянно ведет контроль за разницей давлений в патрубках отвода воды 4 и отвода нефтяной эмульсии 3. В случае превышения давления в патрубке 4 отвода воды над давлением в патрубке 3 отвода нефтяной эмульсии датчик 18 выдает сигнал в блок 12 автоматического управления, который подает сигнал на привод 17 затвора на приоткрытие затвора запорно-регулирующего устройства 11. В случае, если давление в патрубке 4 отвода воды будет меньше давления в патрубке 3 отвода нефтяной эмульсии, блок 12 автоматического управления формирует сигнал на закрывание затвора запорно-регулирующего устройства 11. Таким образом поддерживается примерное равенство давлений в патрубках отвода воды 4 и нефтяной эмульсии 3, и тем самым исключается в процессе раздельного отбора поступление разделенных фаз в несоответствующие патрубки.
При изменении обводненности водонефтяной эмульсии в трубопроводе 10 датчик 13 контроля положения уровня раздела фаз выдает в блок 12 сигнал о новом положении уровня раздела фаз «вода – нефтяная эмульсия», и исполнительный механизм – привод 15 пластины – по сигналу от блока 12 корректирует положение пластины 6 и ее фронтальной кромки, перемещая ее в срезе 7 патрубка 2 и устанавливая ее ниже уровня границы раздела фаз на величину 0,1 Dвн.. При этом угловое перемещение пластины 6 обеспечивается не только в широком диапазоне обводненности водонефтяной эмульсии от 20% до 95%, но и при изменяющейся в этом диапазоне во времени обводненности движущейся водонефтяной эмульсии.
В процессе работы устройства механизм регулирования отбора воды в автоматическом режиме постоянно отслеживает уровень раздела «вода – нефтяная эмульсия» и перепад давлений в патрубках 3 и 4 отвода нефтяной эмульсии и отвода воды, соответственно, и выдает сигналы на регулирование положения пластины 6 и затвора запорно-регулирующего устройства 11. Таким образом, предлагаемое устройство позволяет эффективно с достаточно высоким уровнем точности отделять воду от движущейся по горизонтальному трубопроводу водонефтяной эмульсии при любой ее обводненности, с изменяющимся во времени содержанием воды, с исключением возможности перетекания разделяемых фаз.
Использование устройства позволит исключить применение для отделения воды от водонефтяной эмульсии специальных стационарных отстойников, исключить затраты на нагрев водонефтяной эмульсии, уменьшить затраты на деэмульгаторы, что, в свою очередь, позволит уменьшить затраты на перекачку нефти, уменьшить воздействие агрессивной воды на трубопроводы. При этом повышается производительность процесса отделения воды и значительно повышается эффективность подготовки нефти на установках подготовки и переработки нефти.
Источники информации
1. В.П.Тронов, В.И.Грейфер и др. Деэмульсация нефти в трубопроводах. Казань: Татарское книжное издательство, 1970, с.146, рис.38.
1. В.П.Тронов. Промысловая подготовка нефти. М.: Недра, 1977, с.10, 11.
2. Авт. свид. №488595, кл. B 01 D 17/02, 1972 г.
Формула изобретения
1. Устройство для отделения воды от движущейся по трубопроводу водонефтяной эмульсии, содержащее корпус в виде горизонтальной трубы с патрубком подвода водонефтяной эмульсии из трубопровода, патрубком отвода нефтяной эмульсии, патрубком отвода воды с затвором и с размещенным внутри корпуса разделительным элементом, а также механизм регулирования отбора воды, отличающееся тем, что корпус выполнен в виде горизонтальной трубы прямоугольного сечения, а установленные по торцам корпуса патрубки подвода водонефтяной эмульсии и отвода нефтяной эмульсии выполнены круглого сечения, разделительный элемент выполнен в виде пластины, закрепленной шарнирно на наклонной перегородке, частично перекрывающей поперечное сечение корпуса со стороны днища корпуса, свободный конец пластины выполнен с фронтальной кромкой, которая упирается в срез патрубка подвода водонефтяной эмульсии с минимальным зазором, причем срез указанного патрубка в продольном сечении выполнен по дуге, радиус которой равен радиусу дуги, по которой перемещается фронтальная кромка пластины, при этом между боковыми стенками корпуса и боковыми кромками пластины также выполнен минимальный зазор, и патрубок отвода воды установлен под нижней поверхностью пластины, механизм регулирования отбора воды содержит блок автоматического управления процессом отбора, датчики и исполнительные механизмы – ультразвуковой датчик контроля уровня раздела фаз, установленный на патрубке подвода водонефтяной эмульсии, датчик положения пластины разделительного элемента и привод пластины, датчик положения затвора запорно-регулирующего устройства и привод затвора, установленные на патрубке отвода воды, и датчик перепада давлений в патрубках отвода воды и нефтяной эмульсии, при этом датчики связаны с исполнительными механизмами через блок автоматического управления.
2. Устройство по п.1, отличающееся тем, что фронтальная кромка пластины разделительного элемента выполнена со скосом.
3. Устройство по п.1, отличающееся тем, что пластина разделительного элемента снабжена по боковым кромкам уплотнением.
РИСУНКИ
|
|