|
|
(21), (22) Заявка: 2002131452/12, 17.04.2001
(24) Дата начала отсчета срока действия патента:
17.04.2001
(30) Конвенционный приоритет:
24.04.2000 (пп.1-3) KR 2000-22306
(43) Дата публикации заявки: 10.04.2004
(45) Опубликовано: 20.08.2005
(56) Список документов, цитированных в отчете о поиске:
US 4645197 А, 24.02.1987. SU 825118 A, 30.04.1981. SU 1747093 A1, 15.07.1992.
(85) Дата перевода заявки PCT на национальную фазу:
25.11.2002
(86) Заявка PCT:
KR 01/00635 (17.04.2001)
(87) Публикация PCT:
WO 01/85262 (15.11.2001)
Адрес для переписки:
129010, Москва, ул. Б.Спасская, 25, стр.3, ООО “Юридическая фирма Городисский и Партнеры”, пат.пов. А.В.Мицу
|
(72) Автор(ы):
ОХ Кийоунг-Чан (KR), ОХ Дзу-Вхан (KR)
(73) Патентообладатель(и):
ОХ Кийоунг-Чан (KR), ОХ Дзу-Вхан (KR)
|
(54) БАТУТ С РЕГУЛИРУЕМОЙ УПРУГОСТЬЮ, В КОТОРОМ ИСПОЛЬЗУЕТСЯ ПЛАСТИНЧАТАЯ ПРУЖИНА
(57) Реферат:
Батут предназначен для использования в области спорта и позволяет повысить эффективность использования. Неподвижная пластина и подкидная пластина соединены посредством шкворней на обеих сторонах подвижного элемента для соединения подкидной пластины и соединительного подвижного элемента для удержания подкидной пластины в горизонтальном положении. Пластинчатая пружина приводится в действие посредством выполненного в виде болта замыкателя рабочего воздействия. Опорная подвижная стойка пластинчатой пружины выполнена с возможностью перемещения за счет вращения вала, движущегося в горизонтальном направлении и имеющего резьбу для перемещения опорной подвижной стойки пластинчатой пружины для регулирования упругости пластинчатой пружины и регулирования расстояния перемещения вверх и вниз за счет регулирования длины посредством выполненного в виде болта замыкателя рабочего воздействия. Подвижный элемент для соединения подкидной пластины подсоединен на неподвижной пластине посредством шкворня. На другом своем конце этот элемент для соединения подкидной пластины соединен в единое целое с подкидной пластиной. Выполненный в виде болта замыкатель рабочего воздействия соединен в единое целое с подвижным элементом для соединения подкидной пластины и выполнен с возможностью воздействия на плоскую пластину, с которой сочленен валик, таким образом, что приложение силы упругости пластинчатой пружины и работа подкидной пластины становятся плавными. 2 з.п. ф-лы, 5 ил. 
Настоящее изобретение относится к батуту с регулируемой упругостью, в котором используется пластинчатая пружина.
Принцип действия батута обычной конструкции обуславливает соединение множества цилиндрических винтовых пружин со стальным каркасом, вследствие чего батут занимает сравнительно большую площадь. Кроме того, его упругость можно регулировать только путем подсоединения и отсоединения цилиндрических винтовых пружин. Полотно батута выполнено из тканей, вследствие чего пользователю трудно сохранять горизонтальный уровень, а также – из-за характеристик батута – трудно установить на нем зажим с рукояткой, вследствие чего пользователю вообще не обеспечивается стабильность. Кроме того, во время трения в пределах множества цилиндрических винтовых пружин возникают сильные шумы. Ввиду этих проблем существует потребность в создании нового батута малых размеров, выполненном с возможностью обеспечения стабильности и удобства для пользователя (US №4645197).
Задача настоящего изобретения заключается в том, чтобы разработать батут с регулируемой упругостью, в котором используется пластинчатая пружина, воплощающая принципы рычага, причем после воздействия на нее она работает в соответствии с этими принципами рычага и, в качестве реакции, обеспечивает приложение силы упругости в некоторый момент времени по закону действия и противодействия, который является третьим законом механики Ньютона, вследствие чего батут создает большую силу упругости за счет приложения малой силы, имеет сравнительно малую высоту по отношению к рабочему расстоянию, обеспечивает подкидную пластину, параллельную поверхности грунта или пола, и тем самым обеспечивает стабильность эксплуатации, занимает сравнительно малую площадь, предусматривает регулирование упругости при необходимости, коррекцию высоты перемещения (рабочего расстояния) при необходимости и не создает никакого шума, так что этот батут может быть эффективен в качестве изделия для занятий спортом в помещении, может быть изготовлен при низких производственных затратах и может использоваться в полустационарном режиме в течение длительного периода времени.
Для решения вышеупомянутых задач настоящего изобретения предложен батут с регулируемой упругостью, в котором используется пластинчатая пружина и который включает в себя: неподвижную пластину и подкидную пластину, соединенные посредством шкворней на обеих сторонах подвижного элемента для соединения подкидной пластины, а также соединительного подвижного элемента для поддержания подкидной пластины в горизонтальном положении, пластинчатую пружину, приводимую в действие посредством выполненного в виде болта замыкателя рабочего воздействия, и опорную подвижную стойку пластинчатой пружины, перемещаемую за счет вращения вала, перемещающегося в горизонтальной плоскости и имеющего резьбу для перемещения опорной подвижной стойки пластинчатой пружины, вследствие чего можно регулировать упругость пластинчатой пружины и можно регулировать расстояние перемещения вверх и вниз за счет регулирования длины посредством выполненного в виде болта замыкателя рабочего воздействия.
Дополнительные задачи и преимущества изобретения поясняются в нижеследующем подробном описании, приводимом со ссылками на прилагаемые чертежи, где
на фиг.1 представлен вид в перспективе батута с регулируемой упругостью, в котором используется пластинчатая пружина в соответствии с конкретным вариантом осуществления настоящего изобретения,
фиг.2 представлено сечение батута с регулируемой упругостью согласно настоящему изобретению и
на фиг.3-5 представлены сечения батута с регулируемой упругостью в соответствии с другими конкретными вариантами осуществления настоящего изобретения.
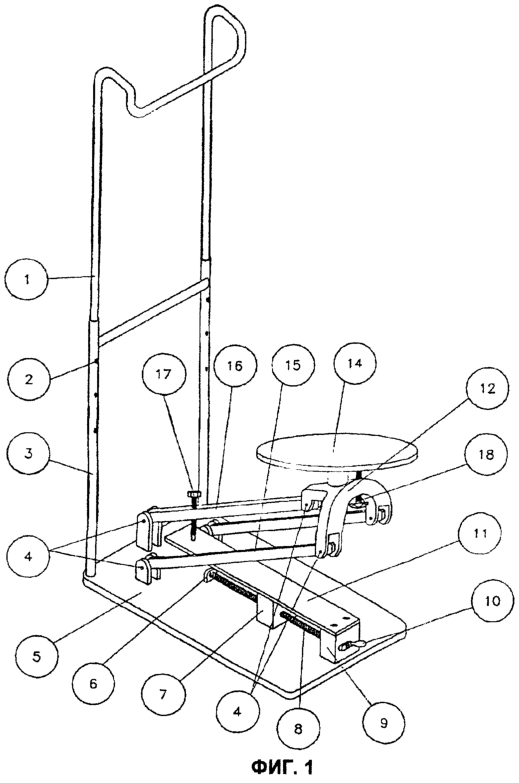
В соответствии с настоящим изобретением, как показано на фиг.1 и 2, конструкция батута с регулируемой упругостью, в котором используется пластинчатая пружина, такова, что подкидная пластина 14 соединена на верхнем конце неподвижной пластины 5 с подвижным элементом 16 для соединения подкидной пластины и соединительным подвижным элементом 15 для поддержания подкидной пластины 14 в горизонтальном положении посредством шкворня 4, в результате чего подкидная пластина 14 в процессе эксплуатации может перемещаться вверх и вниз. Таким образом, подкидная пластина 14 приводится в действие за счет малого усилия, прикладываемого посредством выполненного в виде болта замыкателя 17 рабочего воздействия, согласно принципам рычага. Кроме того, пластинчатая пружина 11 работает согласно принципам рычага в соответствии с перемещением опорной подвижной стойки 7 пластинчатой пружины. В результате принципы рычага воплощаются дважды в батуте с регулируемой упругостью, соответствующем настоящему изобретению. Таким образом, батут согласно настоящему изобретению работает в соответствии с третьим законом механики Ньютона.
Пластинчатая пружина 11 закреплена на одной ее стороне посредством держателя 9 для вала 8, движущегося в горизонтальной плоскости, и при эксплуатации может перемещаться вверх и вниз вследствие воздействия рабочей силы выполненного в виде болта замыкателя 17 рабочего воздействия. Кроме того, опорная подвижная стойка 7 пластинчатой пружины выполнена с возможностью перемещения по резьбе вала 8, движущегося в горизонтальной плоскости, обеспечивая таким образом эффект перемещения опорной точки рычага. Следовательно, степень воздействия силы изменяется пропорционально рабочему расстоянию, вследствие чего силу упругости пластинчатой пружины 11 можно регулировать. Расстояние перемещения вверх и вниз корректируют, вращая выполненный в виде болта замыкатель 17 рабочего воздействия, вследствие чего можно регулировать расстояние перемещения вверх и вниз подкидной пластины 14. Для исключения трения вокруг наконечника выполненного в виде болта замыкателя 17 рабочего воздействия в выполненный в виде болта замыкатель 17 рабочего воздействия вставлена шаровая опора. Соединительный подвижный элемент 15 для поддержания подкидной пластины 14 в горизонтальном положении может работать, обеспечивая горизонтальное состояние подкидной пластины 14 за счет соединения этого подвижного элемента посредством шкворней 4 с подкидной пластиной 14 и неподвижной пластиной 5.
Ниже приводится пояснение работы и эффекта батута согласно настоящему изобретению при наличии вышеупомянутой конструкции. Вращающийся зажим 10 с рукояткой, который соединен с валом 8, движущимся в горизонтальной плоскости и имеющим резьбу для перемещения стойки 7, выполнен с возможностью вращения влево и вправо, в результате чего можно устанавливать опорную подвижную стойку 7 пластинчатой пружины в предварительно определенном месте, обеспечивая тем самым определение прикладываемой силы упругости. Когда выполненный в виде болта замыкатель 17 рабочего воздействия вращают влево и вправо, происходит коррекция длины, вследствие чего осуществляется регулирование высоты перемещения. В вышеописанном состоянии, если пользователь вскакивает на подкидную пластину 14 и топает по ней, к подвижному элементу 16 для соединения подкидной пластины, соединенному с подкидной пластиной 14, прикладывается сила, вследствие чего выполненный в виде болта замыкатель 17 рабочего воздействия отклоняет пластинчатую пружину 11 вниз. Когда рабочая упругость достигает предела, подкидная пластина 14 отклоняется вверх под воздействием большой восстанавливающей силы пластинчатой пружины 11, в результате чего пользователь может быть упруго подброшен вверх. В этот момент принципы рычага, воплощаемые дважды – в месте нахождения опорной подвижной стойки 7 пластинчатой пружины и в рабочем положении выполненного в виде болта замыкателя 17 рабочего воздействия – используются совместно с упругостью пластинчатой пружины 11, причем оба этих фактора оказывают взаимное влияние друг на друга, так что за счет приложения малой силы можно создавать весьма большую силу упругости. Кроме того, посредством опорного полотна, которое расположено на крепежном элементе 12 подкидной пластины, осуществляется поворот подкидной пластины 14.
На фиг.3 показан батут с регулируемой упругостью, в котором используется пластинчатая пружина и который соответствует другому конкретному варианту осуществления настоящего изобретения, отметим, что только элемент 16 для соединения подкидной пластины подсоединен на неподвижной пластине 5 посредством шкворня 4, а на другом своем конце этот элемент 16 для соединения подкидной пластины соединен в единое целое с подкидной пластиной 14.
На фиг.4 и 5 показан батут с регулируемой упругостью, в котором используется пластинчатая пружина и который соответствует другим конкретным вариантам осуществления настоящего изобретения, отметим, что с плоской пластиной 19 сочленен валик 20, а выполненный в виде болта замыкатель 17 рабочего воздействия, который выполнен как единое целое с элементом 16 для соединения подкидной пластины, воздействует на плоскую пластину 19 таким образом, что приложение силы упругости пластинчатой пружины 11 и работа подкидной пластины 14 становятся плавными.
Согласно вышеизложенному батут с регулируемой упругостью, в котором используется пластинчатая пружина и который соответствует предпочтительным конкретным вариантам настоящего изобретения, работает за счет двойного воплощения принципов рычага и использует силу упругости пластинчатой пружины, вследствие чего этот батут проявляет превосходную упругость, обеспечивая тем самым воздействие большой подбрасывающей силы на пользователя во время эксплуатации. Кроме того, батут согласно настоящему изобретению обеспечивает регулирование его упругости и размаха перемещения вверх и вниз. Кроме того, этот батут может обеспечить поддержание подкидной пластины в горизонтальном положении после перемещения вверх и вниз, причем высота подкидной пластины является малой по сравнению с рабочим расстоянием, что обеспечивает пользователю стабильность. Следует также отметить, что батут изготавливают с малыми размерами, так что его легко переносить, а также изготавливают его при низких производственных затратах, так что он конкурентоспособен по цене. На основании вышеизложенного можно признать, что батут согласно настоящему изобретению будет относиться к дающим превосходный эффект изделиям для занятий спортом в помещении.
Формула изобретения
1. Батут с регулируемой упругостью, в котором используется пластинчатая пружина, содержащий неподвижную пластину и подкидную пластину, соединенные посредством шкворней на обеих сторонах подвижного элемента для соединения подкидной пластины, а также соединительного подвижного элемента для удержания подкидной пластины в горизонтальном положении, пластинчатую пружину, приводимую в действие посредством выполненного в виде болта замыкателя рабочего воздействия и опорную подвижную стойку пластинчатой пружины, выполненную с возможностью перемещения за счет вращения вала, движущегося в горизонтальном направлении и имеющего резьбу для перемещения опорной подвижной стойки пластинчатой пружины для регулирования упругости пластинчатой пружины и регулирования расстояния перемещения вверх и вниз за счет регулирования длины посредством выполненного в виде болта замыкателя рабочего воздействия.
2. Батут по п.1, в котором только подвижный элемент для соединения подкидной пластины подсоединен на неподвижной пластине посредством шкворня, а на другом своем конце этот элемент для соединения подкидной пластины соединен в единое целое с подкидной пластиной.
3. Батут по п.1 или 2, в котором выполненный в виде болта замыкатель рабочего воздействия, соединенный в единое целое с подвижным элементом для соединения подкидной пластины, выполнен с возможностью воздействия на плоскую пластину, с которой сочленен валик, таким образом, что приложение силы упругости пластинчатой пружины и работа подкидной пластины становятся плавными.
РИСУНКИ
|
|