|
|
(21), (22) Заявка: 2003125540/15, 18.08.2003
(24) Дата начала отсчета срока действия патента:
18.08.2003
(43) Дата публикации заявки: 10.02.2005
(45) Опубликовано: 20.08.2005
(56) Список документов, цитированных в отчете о поиске:
RU 2127608 C1, 20.03.1999. SU 1331944 A1, 23.08.1987. SU 953192 A, 23.08.1982. SU 1652618 A1, 30.05.1991. SU 1800073 А, 07.03.1993. RU 2073360 C1, 10.02.1997.
Адрес для переписки:
400074, г.Волгоград, ул. Академическая, 1, ВолгГАСУ, отдел интеллектуальной собственности
|
(72) Автор(ы):
Мариненко Е.Е. (RU), Ефремова Т.В. (RU), Перфилов Е.В. (RU), Черкасов А.В. (RU), Горбунова М.Е. (RU)
(73) Патентообладатель(и):
Государственное образовательное учреждение высшего профессионального образования “Волгоградский государственный архитектурно-строительный университет” (ВолгГАСУ) (RU)
|
(54) УСТРОЙСТВО ДЛЯ ИЗВЛЕЧЕНИЯ БИОГАЗА ДЛЯ ОБЕЗВРЕЖИВАНИЯ ПОЛИГОНОВ ХРАНЕНИЯ ТВЕРДЫХ БЫТОВЫХ ОТХОДОВ
(57) Реферат:
Изобретение относится к устройствам для обезвреживания полигонов хранения твердых бытовых отходов путем извлечения биогаза и его дальнейшего использования. Устройство для обезвреживания полигонов хранения твердых бытовых отходов содержит сборный коллектор, газосборные перфорированные трубы, конденсатосборник, расходомер, пробоотборник, отключающее устройство, транспортирующий трубопровод, компрессорную станцию, при этом ветви перфорированных газосборных труб подсоединены к сборному коллектору посредством гибких вставок, а на свободных концах труб и сборного коллектора установлены заглушки, при этом конденсатосборник, расходомер, пробоотборник и отключающее устройство смонтированы на сборном коллекторе, который соединен транспортирующим трубопроводом через компрессорную станцию с когенератором, кроме того, транспортирующий трубопровод имеет отвод сжатого газа. Технический результат заключается в повышении надежности и эффективности работы устройства по сбору биогаза при упрощении конструкции устройства. 2 ил. 
Изобретение относится к устройствам обезвреживания полигонов твердых бытовых отходов для извлечения биогаза и его дальнейшего использования.
Газ свалок, состоящий в основном из метана и углекислого газа, образуется особенно в больших количествах на полигонах твердых бытовых отходов, где поэтапно протекают процессы биохимического распада органических составляющих захороненных отходов. В результате на протяжении времени эксплуатации полигона не только теряется энергия, которой можно было бы заменить требуемый энергетический поток извне, но и создается опасность для окружающей среды. Основным негативным фактором, создаваемым газом свалок, является высокая пожарная опасность. Кроме этого, биогаз физиологически воздействует на людей, животных и растения, является источником специфичного запаха и участвует в «парниковом эффекте».
Количество биогаза, образующегося на полигоне, зависит от стадии биохимических процессов. Большое влияние на их течение оказывает возраст полигона и методы складирования отходов, уплотнения и изоляции. Выделение биогаза начинается в возрасте 2-5 лет от начала эксплуатации полигона. Для увеличения количества образующегося биогаза необходима послойная укладка отходов, их уплотнение и устройство надежной газонепроницаемой изоляции, которая предотвратит миграции газовых скоплений в теле полигона и выделение биогаза с поверхности полигона в виде неконтролируемых эмиссии.
Широкое распространение системы сбора биогаза нашли в Европе, в частности в Германии, где используются как вертикальные, так и горизонтальные схемы сбора биогаза [Betriebsleiterhandbuch. Deponiegas /Rettenberger G. u.a. Stuttgart, 1995/ 300 S.].
Наиболее близким по технической сущности и достигаемому результату является устройство для осуществления способа извлечения биогаза, содержащее сборный коллектор, газосборные перфорированные трубы, конденсатосборник, расходомер, пробоотборник, отключающее устройство, транспортирующий трубопровод, компрессорную станцию [Патент РФ №2127608, 1997 г.].
Недостатком устройства является наличие гофрированных труб, которое снижает устойчивость системы сбора биогаза к динамическим нагрузкам (например, транспорту), а также ведет к снижению объема извлекаемого биогаза, так как при возможных деформациях (например, при просадке грунта) и изгибах часть отверстий, расположенных между гофрами, будет закрыта.
Недостатком устройства также является наличие у труб и сборного коллектора открытых свободных концов, предназначенных для стока дренажных вод. При таком исполнении конструкции, как показали исследования, основной поток собираемого биогаза идет именно через эти открытые концы, благодаря их меньшему гидравлическому сопротивлению, при этом отверстия между гофрами не работают, что ведет к уменьшению полезной площади обслуживания полигона, а следовательно, к уменьшению объема извлекаемого биогаза. Кроме того, через открытые концы труб за счет создаваемого разрежения в систему попадают мелкие фракции гранулированного материала и мусора. А наличие большого количества газового оборудования на каждой ветви системы (расходомеры, регулирующие краны, пробоотборники) ведет к удорожанию устройства.
Техническая задача – повышение надежности и эффективности работы устройства по сбору биогаза при упрощении конструкции устройства.
Задача решается тем, что в устройстве для извлечения биогаза для обезвреживания полигонов хранения твердых бытовых отходов, содержащем сборный коллектор, газосборные перфорированные трубы, конденсатосборник, расходомер, пробоотборник, отключающее устройство, транспортирующий трубопровод, компрессорную станцию, при этом ветви перфорированных газосборных труб подсоединены к сборному коллектору посредством гибких вставок, а на свободных концах труб и сборного коллектора установлены заглушки, при этом конденсатосборник, расходомер, пробоотборник и отключающее устройство смонтированы на сборном коллекторе, который соединен транспортирующим трубопроводом через компрессорную станцию с когенератором, кроме того, транспортирующий трубопровод имеет отвод сжатого газа.
Применение для сбора биогаза гладких стальных перфорированных труб вместо гофрированных перфорированных труб, использование гибких вставок, а также установка заглушек на свободных концах ветвей газосборных труб и сборного коллектора обеспечивают более высокую надежность и эффективность работы устройства для извлечения биогаза для обезвреживания полигонов хранения твердых бытовых отходов в сравнении с устройством по прототипу, при этом обезвреживание биогаза в устройстве осуществляется за счет преобразования энергии сжигаемого газа в электрическую и тепловую, что, в свою очередь, способствует снижению экологической и пожарной опасности полигонов хранения твердых бытовых отходов, что и является новым техническим эффектом заявляемого изобретения.
Предложенное устройство для извлечения биогаза для обезвреживания полигонов хранения твердых бытовых отходов поясняется чертежами.
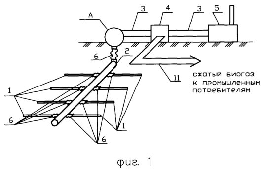
На фиг.1 схематически представлен общий вид устройства.
На фиг.2 представлен узел А, схема подключения сборного коллектора к транспортирующему трубопроводу.
Устройство содержит газосборные перфорированные трубы 1, сборный коллектор 2, транспортирующий трубопровод 3, компрессорную станцию 4 и когенератор 5. При этом газосборные перфорированные трубы 1 соединены посредством гибких вставок 6 со сборным коллектором 2, который, в свою очередь, соединен гибкой вставкой 6 с транспортирующим трубопроводом 3, а транспортирующий трубопровод через компрессорную станцию 4 с когенератором 5. На свободных концах ветвей перфорированных труб 1 и сборного коллектора 2 установлены заглушки (на чертеже не показано), которые защищают устройство от засорения пылью и мелким мусором, и создают благоприятный гидравлический режим в устройстве. Сборный коллектор в подземной части снабжен конденсатосборником 7, а на выходе из земли – расходомером 8, отключающим устройством 9 и пробоотборником 10. Транспортирующий трубопровод 3 имеет отвод 11 для подачи сжатого биогаза к промышленным потребителям.
Извлечение биогаза для обезвреживания полигонов хранения твердых бытовых отходов с помощью заявляемого устройства осуществляется следующим образом.
Газосборные трубы, выполненные в виде ветвей гладких стальных перфорированных труб 1, соединенные со сборным коллектором 2, укладывают в объеме хранилища твердых бытовых отходов на глубине 0,8 м по линиям естественного стока дренажных вод с уклоном 2 градуса в строну, противоположную их соединениям со сборным коллектором.
С помощью компрессорной станции 4 в перфорированных трубах 1 создается необходимое разрежение. За счет разности давлений в теле полигона и внутри перфорированных труб происходит всасывание биогаза через отверстия. Биогаз поступает в сборный коллектор 2 и далее через транспортирующий трубопровод 3 и компрессорную станцию 4 в когенератор 5. Часть влаги, поступающей вместе с биогазом в перфорированные трубы 1, собирается и удаляется через специальные отверстия в нижней части перфорированных труб. Оставшаяся влага транспортируется вместе с биогазом в сборный коллектор 2 и собирается в конденсатосборнике 7, откуда периодически удаляется.
Обезвреживание биогаза осуществляется в когенераторе 5. При этом извлеченный биогаз поступает в когенератор, где происходит преобразование энергии сжигаемого биогаза в электрическую и тепловую с последующей доставкой их потребителю, кроме того, часть извлеченного биогаза отводится в сжатом состоянии для снабжения близлежащих промышленных потребителей.
Для проверки заявленного устройства были проведены исследования на существующих полигонах твердых бытовых отходов и соответствующие лабораторные эксперименты.
Пример 1. Газосборные перфорированные трубы длиной 50 м укладывали в объеме хранилища на глубине 0,8 м на гранулированный материал с углом наклона 2 градуса, присоединяли через гибкие вставки со сборным коллектором длиной 100 м и засыпали этим же материалом. Свободный конец сборного коллектора через гибкую вставку, конденсатосборник, расходомер, отключающее устройство и пробоотборник соединяли с транспортирующим трубопроводом и далее через компрессорную станцию с когенератором. Устройство собирает газ с полигона размерами 100×100 м и глубиной 10 м. При этом объем собираемого газа составляет 55÷60 м3/ч. При потреблении газа 55 м3/ч когенератор вырабатывает 100 кВт электроэнергии и 168 кВт тепловой энергии, КПД генератора составляет при этом 92%. Электроэнергия поступает для нужд административных и вспомогательных зданий полигона, а тепловая энергия в виде горячей воды с температурой 80°С поступает на отопление помещений и подсобного хозяйства (теплицы, птичника и т.п.), а также на горячее водоснабжение для санитарно-гигиенических нужд обслуживающего персонала.
Пример 2. Газосборные перфорированные трубы длиной 50 м укладывали в объеме хранилища на глубине 0,8 м на гранулированный материал с углом наклона 2 градуса, присоединяли через гибкие вставки со сборным коллектором длиной 100 м и засыпали этим же материалом. Свободный конец сборного коллектора через гибкую вставку, конденсатосборник, расходомер, отключающее устройство и пробоотборник соединяли с транспортирующим трубопроводом и далее через компрессорную станцию с когенератором. Устройство собирает газ с полигона размерами 100×100 м и глубиной 10 м. При этом объем собираемого газа составляет 55 м3/ч. Общий КПД когенератора при расходе газа 42 м3/ч составляет 92,7%. Электрическая мощность – 75 кВт, тепловая – 132 кВт. Оставшийся объем биогаза (13 м3/ч) с помощью компрессорной станции сжимают и заполняют им баллоны. Этого объема достаточно для заполнения четырех 50-литровых баллонов. Баллоны со сжатым биогазом устанавливают на передвижной битумоварочный агрегат, оборудованный специальными горелками. Содержания одного баллона достаточно для приготовления 200 литров (0,2 м3) битумной смеси, применяемой при ремонте дорог и изоляции различных трубопроводов.
При укладке газосборных труб на глубину 0,8 м, угле наклона 2 градуса и длине труб 50 м наибольшее заглубление свободных концов труб составляет 2,55 м, что технически вполне осуществимо.
Теоретический часовой расход газа, образующегося в среднем в течение 30 лет на участке полигона с размерами 100×100×10 м, составляет 55-60 м3/ч. При таком отборе биогаза обеспечивается бесперебойная работа устройства в течение 25-30 лет.
Таким образом, анализ проведенных исследований показал, что заявленное устройство позволяет повысить производительность по извлечению биогаза по сравнению с устройством по прототипу на 10%. А установка газового оборудования только на сборном коллекторе позволяет сократить затраты по обслуживанию устройства без нарушения процесса сбора биогаза. Кроме этого, преобразование энергии сжигаемого биогаза в тепловую и электрическую способствует снижению самовозгорания твердых бытовых отходов полигона, а также снижению вредного воздействия свалочного газа на окружающую среду.
Формула изобретения
Устройство для извлечения биогаза для обезвреживания полигонов хранения твердых бытовых отходов, содержащее сборный коллектор, газосборные перфорированные трубы, конденсатосборник, расходомер, пробоотборник, отключающее устройство, транспортирующий трубопровод, компрессорную станцию, отличающееся тем, что ветви перфорированных газосборных труб подсоединены к сборному коллектору посредством гибких вставок, а на свободных концах труб и сборного коллектора установлены заглушки, при этом конденсатосборник, расходомер, пробоотборник и отключающее устройство смонтированы на сборном коллекторе, который соединен транспортирующим трубопроводом через компрессорную станцию с когенератором, кроме этого транспортирующий трубопровод имеет отвод сжатого газа.
РИСУНКИ
MM4A Досрочное прекращение действия патента Российской Федерации на изобретение из-за неуплаты в установленный срок пошлины за поддержание патента в силе
Дата прекращения действия патента: 19.08.2005
Извещение опубликовано: 27.01.2007 БИ: 03/2007
|
|