|
|
(21), (22) Заявка: 2003123873/14, 30.07.2003
(24) Дата начала отсчета срока действия патента:
30.07.2003
(43) Дата публикации заявки: 27.01.2005
(45) Опубликовано: 20.08.2005
(56) Список документов, цитированных в отчете о поиске:
RU 2147852 C1, 27.04.2000. RU 2203640 С2, 10.05.2003. US 6347869 A, 19.02.2002. US 3883225 A, 13.05.1975.
Адрес для переписки:
426069, Удмуртская респ., г.Ижевск, ул.Песочная, 22-71, А.Н.Лялину
|
(72) Автор(ы):
Лялин А.Н. (RU), Лялина А.А. (RU)
(73) Патентообладатель(и):
Лялин Анатолий Николаевич (RU), Лялина Анна Анатольевна (RU)
|
(54) ОПТИЧЕСКИЙ ТРЕНАЖЕР ДЛЯ ПРОФИЛАКТИКИ И ЛЕЧЕНИЯ ПРИОБРЕТЕННОЙ БЛИЗОРУКОСТИ
(57) Реферат:
Изобретение относится к медицине, а именно к оптическим инструментам профилактики и лечения заболеваний глаз. Очки для профилактики и лечения приобретенной близорукости содержат установленные в рамке оправы сферопризматические линзы. Причем торец одной линзы, обращенный к носовой опоре, расположен под углом 1=180°±90° кверху или книзу от горизонтальной оси, а торец другой линзы, обращенный к носовой опоре, расположен под углом 2=0°±90° кверху или книзу от горизонтальной оси. При этом линии вершина-основание призм параллельны друг другу, основания призм находятся во внутренних квадрантах, а линзы размещены в универсальной оправе с возможностью вращения вокруг оптической оси с шагом между меридианами 0-15°. Изобретение позволяет повысить эффективность лечения за счет усиления степени релаксации цилиарной мышцы и повысить уровень тренированности большинства глазодвигательных мышц. 1 з.п. ф-лы, 1 ил. 
Изобретение относится к медицине, а именно к оптическим инструментам для профилактики и лечения заболеваний глаз.
Известны специальные очки для профилактики и лечения близорукости путем облегчения деятельности аккомодации и конвергенции при работе на близком расстоянии (Аветисов Э.С., Розенблюм Ю.3. Оптическая коррекция зрения. М.: Медицина, 1981, с. 53). Данные очки обеспечивают оптическую установку глаз к расстоянию 45 см при условии, если линзы для дали, помещенные в обычную оправу, полностью корригируют аметропию, а на нижнюю часть стеклянной линзы наклеивают сферопризматический элемент, содержащий сферу +2,25 дптр. и призму 6,0 дптр., расположенную основание к носу. При использовании данных очков восстанавливается острота зрения, однако применение последних мало результативно в связи с тем, что наклеивание сферопризматических элементов на стеклянные корригирующие линзы приводит к ухудшению оптических свойств очков за счет наличия прослойки воздуха, неизбежно образующейся между элементами и линзами. Облегчение аккомодации и конвергенции при работе на близком расстоянии приводит к тому, что мышцы, участвующие в актах аккомодации и конвергенции с помощью очков почти полностью не работают и, как следствие, от бездействия наступает дальнейшее ослабление глазодвигательной и цилиарных мышц, ухудшение гемодинамики глаз. Поэтому первоначальное повышение остроты зрения без коррекции и снижения силы корригирующих линз сменяется прогрессированием близорукости. Необходимость назначения корригирующих стекол и наклеивание на них сферопризматических элементов требует индивидуального изготовления очков, что значительно повышает их себестоимость. Повреждение стеклянных линз может привести к серьезным травмам глаз.
Известен способ профилактики и лечения приобретенной близорукости с помощью оптического тренажера ТДО «Зеница» (Лялин А.Н., Танаев Г.Н., Семенов В.И., Чаузов В.А. Патент РФ №2147852. Очки для профилактики и лечения приобретенной близорукости. А 61 F 9/00, 2000, БИ №12), выбранный за прототип. Данный тренажер состоит из пластмассовых сферопризматических линз, суммарная оптическая сила каждой из них состоит из положительной сферы 0,5 дптр. и призмы в 2,0 дптр., расположенной основанием к носу. Механизм действия тренажера заключается в расслабляющем влиянии стеклянного атропина (циклодамия) на цилиарную мышцу за счет положительной сферы, сочетающемся с эффектом дивергентной дезаккомодации, вызываемой призмой.
Методика лечения заключается в следующем. Ежедневно (до 3-х раз в сутки) проводятся тренировочные занятия на рабочем месте и в удобное для пациентов время.
Тренировка проводится в положении глаз для работы в режиме дальнего зрения. Проверяется острота зрения по таблице или «запоминается» по предметам, находящимся в окружении пациентов на расстоянии не менее 4-5 метров. Далее надевается оптический тренажер. При этом происходящее первоначальное «затуманивание» зрения активно преодолевается. Взгляд переводится от крупных к более мелким знакам. Тренировки проводятся до легкого утомления глаз.
Применение данного тренажера позволяет повысить остроту зрения, увеличить запасы аккомодации, в значительном количестве случаев приостановить прогрессирование близорукости. Однако применение последнего мало результативно, поскольку дивергенция глаз происходит только в горизонтальном направлении, соответственно положению линии вершина-основание призмы. Следовательно, рефлекс дивергентной дезаккомодации возбуждается одной и той же группой мышц, работающих строго в одном и том же направлении, как следует из основных принципов построения тренировочного процесса биологические, системы имеют свойство адаптироваться к конкретному тренировочному стимулу приблизительно через 3 недели, после чего его эффективность значительно снижается. Для повышения эффективности программа лечения должна включать различные виды упражнений, воздействующие на все основные группы мышц по различным направлениям их движений. Кроме того, известно, что довольно часто встречаются неравномерные спазмы цилиарной мышцы, снятие которых возможно лишь при индивидуальном подходе при учете меридианов зоны спазмирования. Поэтому применение тренажера со стандартным горизонтальным положением линии вершина-основание призмы с течением времени приводит к снижению эффективности тренировочных занятий, а при некоторых вариантах неравномерных спазмов цилиарной мышцы вообще неэффективны. Группы глазодвигательных мышц, не участвующих в дивергенции глаз по горизонтали, остаются нетренированными.
В основу изобретения положена задача создания очков с повышенной эффективностью профилактики и лечения приобретенной близорукости за счет повышения оптических, технологических свойств очков и рационального их использования.
Сущность изобретения заключается в том, что готовятся несколько основных вариантов оптических тренажеров для профилактики и лечения приобретенной близорукости.
При изготовлении тренажеров используются афокальные призматические или сферопризматические линзы, которые помещаются как в стандартные (изготовленные различными фирмами), так и в универсальные оправы фирмы «Зеница». Линзы помещаются в оправе таким образом, чтобы толщина торца линзы L, обращенного к ушным дужкам, была меньше толщины торца линзы обращенного к носовой опоре. При этом линзы устанавливаются в оправе так, что торец линзы, обращенный к носовой опоре, расположен под углом 1=180°±90° кверху или книзу от горизонтальной оси, а торец М линзы другого глаза, обращенный к носовой опоре, расположен под углом 2=0°±90° кверху или книзу от горизонтальной оси, при этом линии вершина-основание призм должны быть параллельными, а основания призм находились во внутренних противоположных по направлению друг к другу квадрантах (один из них в нижнем внутреннем, а другой в верхнем внутреннем квадранте).
Допускается выполнение линз как из пластмассы, так и из стекла.
Необходимость создания условий для дивергентной дезаккомодации по косым меридианам обусловлена тем, что опытным путем установлено, что при косом расположении линий вершина-основание призмы с учетом их параллельности и контрлатерального положения оснований призмы во внутренних квадрантах эффект дивергентной дезаккомодации, выраженный степенью расслабления цилиарной мышцы, становится более высоким, чем при расположении линий вершина-основание призмы в горизонтальном положении основанием к носу. Это достигается суммарным эффектом, достигаемым за счет вовлечения в тренировочный процесс ряда мышечных групп, при горизонтальной дивергенции задействованных недостаточно. С другой стороны уровень релаксации цилиарной мышцы дополняется рефлексом, вызванным дивергенционными усилиями указанной группы мышц. Применение линз с косым расположением линий вершина-основание призмы повышает также эффективность лечения неравномерных спазмов цилиарной мышцы. Применение нескольких тренажеров в одном тренировочном цикле с различным расположением линии вершина-основание призмы позволяет разнообразить тренировочные упражнения и повысить интенсивность тренировочных занятий.
Использование изобретения позволяет повысить эффективность профилактики и лечения приобретенной близорукости за счет улучшения оптических свойств тренажера и изменения методики лечения.
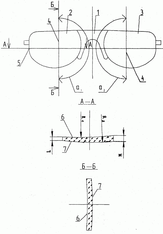
В дальнейшем изобретение поясняется конкретными примерами его выполнения и прилагаемом чертежом, на котором изображен общий вид тренажера, вид спереди, согласно изобретению. Сечение А-А – согласно изобретению. Сечение Б-Б – согласно изобретению, расположенное под углом 90 и к сечению А-А.
Линзы 2, 3 закрепляются в рамке оправы 1. Метками 4 на линзах 2, 3 обозначена вертикальная оптическая ось, меткой 5 – горизонтальная оптическая ось. Линзы 2, 3 в разрезе имеют плоскую или вогнутую сферическую внутреннюю 6 и выпуклую сферическую внешнюю 7 поверхность (сечения А-А, Б-Б); торец L, обращенный к ушным дужкам, меньше по толщине торца М, обращенного к носовым опорам. Кривизна поверхностей R1 и R2, толщина линз 2, 3 зависят от заданной формулы и коэффициента преломления, избранного для изготовления линз материала.
Пользуются оптическими тренажерами для профилактики и лечения приобретенной близорукости следующим образом. Для эффективных тренировок используют несколько тренажеров, как с горизонтальным, так и с косым расположением линий вершина-основание призмы.
Перед началом лечения производят офтальмологическое обследование, которое заключается в проверке остроты зрения, резервов аккомодации, определению рефракции глаз. Далее проводят офтальмологические, биомикроскопическое и эхобиометрические исследования.
Лечение с применением оптических тренажеров может проводиться в поликлинических условиях как в комбинации с общеизвестными методами лечения близорукости, так и отдельно от них в поликлинических и домашних условиях. Режим тренировок строится с учетом индивидуальных особенностей пациента (степень близорукости и ее продолжительность, наследственность, возраст пациента, данные офтальмологических обследований, интенсивность зрительной нагрузки и др.).
Проверив остроту зрения по специальным таблицам, вначале используют оптический тренажер с горизонтальным положением линии вершина-основание призмы. Во время тренировок пациент активно стремиться рассмотреть «затуманившиеся» окружающие его предметы, постепенно переходя от близких к более отдаленным, или рассматривает буквы специальных таблиц, переводя взгляд от крупных знаков к более мелким. В процессе тренировки пациент может многократно убирать тренажер для самоконтроля, а также автофокусировки. При появлении легкого утомления глаз делается кратковременный перерыв длиной 1-2 минуты для отдыха и замены тренажера на другой, с косым расположением линии вершина-основание призмы. Как правило, используются два тренажера с косым расположением линии вершина-основание призмы. В одном из них основание призмы левого глаза находится в верхнем внутреннем квадранте, а основание призмы правого глаза – в нижнем внутреннем квадранте. С помощью данного тренажера правый глаз отклоняется вверх и кнаружи, а левый – вниз и кнаружи. Таким образом, происходит дивергенция глаз в косом меридиане (угол меридиана зависит от положения линии вершина-основание призмы). Следовательно, создаются нагрузки на наружную и верхнюю прямые и верхнюю косую мышцы левого глаза и наружную и нижнюю прямые и нижнюю косую мышцы. Таким образом, наибольший уровень релаксации достигается тех волокон цилиарной мышцы, которые рефлекторным путем связаны с названными группами глазодвигательных мышц. Тренировку с данным тренажером производят также до легкого утомления глаз и производят его замену на следующий.
В этом тренажере основание призмы левого глаза находится в нижнем внутреннем квадранте, а основание призмы правого глаза находится в верхнем внутреннем квадранте. При использовании данного тренажера правый глаз отклоняется книзу и кнаружи, следовательно, в работу включены наружная, нижняя прямые и нижняя косая мышцы. Левый глаз отклоняется вверх и кнаружи, за счет работы верхней, наружной прямых и верхней косой мышц. А наибольший уровень релаксации достигается теми волокнами цилиарной мышцы, которые рефлекторно связаны с нагруженной группой глазодвигательных мышц.
Таким образом, последовательное применение тренажеров, позволяющих осуществлять дивергенцию как в горизонтальном направлении, а также в косых меридианах, приводит к тщательной физической «проработке» всех глазодвигательных мышц участвующих в акте дивергенции, и, как следствие, к наивысшей степени релаксации всех участков цилиарной мышцы.
Тренировочные упражнения проводятся до легкого утомления глаз. Общее время тренировки в первый месяц занятий не должно превышать 8-10 минут.
Затем по мере адаптации мышц при необходимости время тренировок можно постепенно увеличивать. Тренировки должны проводиться в течении всего периода риска развития близорукости.
В результате длительного применения в лечении приобретенной близорукости нескольких разнообразных по положению линий вершина-основание призмы сферопризматических оптических систем (тренажеров), вызывающих стойкое расслабление цилиарной мышцы происходит значительное повышение остроты зрения, увеличение запасов аккомодации и самое главное – стабилизация близорукости. Интенсивные тренировки глазодвигательных мышц повышают их работоспособность, препятствуют развитию астенопических явлений. Упражнения для мышечной системы глаз способствуют улучшению их гемодинамики и повышению устойчивости зрительной системы в целом к неблагоприятным факторам. Тем самым препятствуют развитию близорукости, компьютерного зрительного синдрома и ряда других глазных заболеваний, в основе которых лежит нарушение гемодинамики глаз.
Пример конкретного осуществления способа:
Больная М., ученица 10 класса, 16 лет. Предъявляет жалобы на ухудшение остроты зрения, неприятные ощущения в области глаз после зрительной нагрузки в течение последнего года. Из-за дефицита свободного времени сразу пройти курс лечения в амбулаторных условиях не может. Назначены тренировки в домашних условиях с применением оптических тренажеров с дивергенцией как в горизонтальном, так и в косых меридианах. Всего применено три тренажера.
Первый оптический тренажер состоит из сферопризматических линз, изготовленных по формуле: сфера (+) 0,5 дптр. и призма 2,0 дптр. с горизонтальным положением линии вершина-основание призмы. Основания призм расположены по направлению друг к другу.
Второй и третий тренажеры изготовлены из аналогичных линз, таких же, как и в первом варианте. Однако положение линии вершина-основание призмы расположено в косых меридианах. На втором тренажере линия вершина-основание призмы расположена на левом глазу в меридиане 45° по шкале ТАБО, причем торец М призмы установлен в нижнем внутреннем квадранте; на правом глазу линза установлена так же в меридиане 45°, однако торец М расположен в верхнем внутреннем квадранте. Таким образом, линии вершина-основание призмы оказались параллельными друг другу. На третьем тренажере применялись такие же линзы, как и в первых двух вариантах. Однако линия вершина-основание призмы обоих линз по шкале ТАБО расположены в меридианах 135°, Торец М на левом глазу установлен в верхнем внутреннем квадранте, а на правом – в нижнем внутреннем квадранте. Линии вершина-основание призмы расположены параллельно друг другу.
Больной были проведены офтальмологические обследования: визометрия, рефрактометрия, эхобиометрия, офтальмоскопия. Тренировки проводились 1-3 раза в день. В результате тренировок в течение месяца острота зрения улучшилась с 0,2 до 1,0 на оба глаза. Субъективная коррекция уменьшилась с (-)0,75 дптр. до 0,0 на оба глаза. В дальнейшем тренировки продолжались 1 раз в день в течение года. За время наблюдения острота зрения оставалась равной 1,0 на оба глаза. Размеры глазных яблок оставались прежними: длина правого глаза составила 24,1 мм и длина левого глаза 24,2 мм.
По сравнению с известными тренировочными очками заявленные оптические тренажеры выгодно отличаются своей высокой результативностью, позволяют уменьшить количество времени, затраченного на тренировочные упражнения. Они доступны и безопасны в эксплуатации. Перечисленные качества позволяют использовать тренажер как эффективный оптический инструмент для массовой профилактики и лечения приобретенной близорукости.
Результаты лечения: В результате применения предложенных очков повышение остроты зрения отмечено по абсолютной величине на 0,09-0,9, а в среднем на 0,37. Сила корригирующих стекол уменьшилась на 0,5-2,0 дптр., в среднем на 0,73 дптр. Размеры глазных яблок у пациентов не изменились. Отмечено значительное улучшение резервов аккомодации. По сравнению с известными способами предлагаемый способ лечения позволяет на 32% улучшить функциональные показатели, предупредить появление близорукости в группе риска или приостановить ее прогрессирование у 89% пациентов с миопией. Тренировочные очки доступны, удобны и безопасны в эксплуатации, что позволяет применять их в домашних и производственных условиях, используя как эффективное средство для массовой профилактики и лечения приобретенной близорукости. Лечение с применением предлагаемых очков не требует корригирующих стекол.
Изготовление небьющихся пластмассовых линз позволяет избежать травм глаз. Производство как линз, так и оправ из пластических материалов методом литья под давлением значительно снижает их себестоимость.
Отсутствие необходимости смены линз позволяет проводить тренировки без помощи офтальмолога в домашних и производственных условиях.
Таким образом, данные очки являются высокоэффективным, доступным, безопасным методом профилактики и лечения близорукости, как в поликлинических, так и домашних и производственных условиях в течение длительного периода времени, достигающего всего периода риска развития миопии.
Промышленная применимость: изобретение может быть использовано при изготовлении очков для массовой профилактики и лечения приобретенной близорукости.
Формула изобретения
1. Очки для профилактики и лечения приобретенной близорукости, содержащие установленные в рамке оправы сферопризматические линзы, отличающиеся тем, что торец одной линзы, обращенный к носовой опоре, расположен под углом 1=180°±90° кверху или книзу от горизонтальной оси, а торец другой линзы, обращенный к носовой опоре, расположен под углом 2=0°±90° кверху или книзу от горизонтальной оси, причем линии вершина-основание призм параллельны друг другу, основания призм находятся во внутренних квадрантах, а линзы размещены в универсальной оправе с возможностью вращения вокруг оптической оси с шагом между меридианами 0-15°.
2. Очки по п.1, отличающиеся тем, что оправа снабжена фиксирующим устройством для фиксации шага при вращении линзы в рамках оправы вокруг оптической оси.
РИСУНКИ
PC4A – Регистрация договора об уступке патента Российской Федерации на изобретение
(73) Патентообладатель(и):
Лялин Анатолий Николаевич, Лялина Анна Анатольевна
(73) Патентообладатель:
Общество с ограниченной ответственностью “Зеница”
Дата и номер государственной регистрации перехода исключительного права: 06.06.2008 № РД0037060
Извещение опубликовано: 20.07.2008 БИ: 20/2008
|
|