|
|
(21), (22) Заявка: 2002102498/14, 03.07.2000
(24) Дата начала отсчета срока действия патента:
03.07.2000
(30) Конвенционный приоритет:
01.07.1999 FR 99/08501
(43) Дата публикации заявки: 27.09.2003
(45) Опубликовано: 20.08.2005
(56) Список документов, цитированных в отчете о поиске:
US 5683394 А, 11.04.1997. WO 97/06753 А, 27.02.1997. RU 2080841 C1, 10.06.1997. RU 2122843 C1, 10.12.1998.
(85) Дата перевода заявки PCT на национальную фазу:
01.02.2002
(86) Заявка PCT:
FR 00/01892 (03.07.2000)
(87) Публикация PCT:
WO 01/01894 (11.01.2001)
Адрес для переписки:
103735, Москва, ул.Ильинка, 5/2, ООО “Союзпатент”, пат.пов. О.Ф.Ивановой
|
(72) Автор(ы):
БОЛДЖЕР Сиэран (GB), БОЛДЖЕР Джон (IE)
(73) Патентообладатель(и):
СПИНВИЗЬОН С.А. (FR)
|
(54) ИНТЕРСОМАТИЧЕСКАЯ КОРОБКА ДЛЯ ИММОБИЛИЗАЦИИ ПОЗВОНОЧНИКА
(57) Реферат:
Изобретение относится к медицине, а именно к травматологии и ортопедии. Изобретение обеспечивает возможность осуществления имплантации в шейную, грудную или поясничную часть позвоночника хирургическим путем, спереди или сзади, гарантируя эффективную фиксацию до сращивания кости и после ее сращивания и давая возможность удаления после сращивания кости. Интерсоматическая коробка для иммобилизации позвоночника имеет форму параллелепипеда, содержит центральное полое пространство, предназначенное для заполнения фрагментами кости, и имеет средства крепления, имеющие, как правило, S-образную форму и выходящие на боковые стороны для соединения с прилегающими позвонками, приводимые в движение, по меньшей мере, одним средством приведения в движение, имеющим выход на фронтальную сторону. Вышеупомянутые средства крепления содержат каждое, по меньшей мере, один основной заостренный упор. 10 з.п. ф-лы, 13 ил. 
Настоящее изобретение имеет отношение к области ортопедии позвоночника, и в частности к интерсоматической коробке.
Такие протезы предназначены для иммобилизации патологических позвоночных сегментов и обеспечения костной консолидации посредством сращивания двух сегментов. Эти коробки изготавливают, как правило, из титана, углерода или биологически совместимых композитов и в них помещают костные трансплантаты.
В качестве примера можно сослаться на французский патент FR 2764795, описывающий интерсоматическую коробку. Эта коробка содержит центральное полое пространство, предназначенное для заполнения костными фрагментами. Она имеет в поперечном сечении две вогнутые широких стороны и снабженные каждая центральным отверстием, две узких стороны, снабженные каждая центральным отверстием, причем на вышеупомянутых узких сторонах выполнены косые зубья, распределенные с одной и с другой стороны центрального отверстия узких сторон. Кроме того, она имеет переднюю часть – закрытую и вогнутую, и заднюю часть, имеющую в своем центре многоугольную камеру для приема органа управления. Установочный ключ, имеющий многоугольный наконечник и резьбовой стержень, имеют возможность взаимодействовать с коробкой, согласно изобретению, для того, чтобы ввести ее ударным образом между позвонками и зафиксировать ее путем вращения после ударного введения.
Другой французский патент, опубликованный под №FR 2761879, описывает имплантат, который содержит на своих двух диаметрально противоположных сторонах, предназначенных для контактирования с пористой костью позвонков после имплантации, множество отверстий, разделенных и смещенных по углу одних относительно других строго на половину длины отверстия таким образом, чтобы одно из этих отверстий находилось бы напротив части стенки имплантата, который разделяет два соседних продольных отверстия.
Другой патент FR 2717068 описывает интерсоматическую коробку, подлежащую вводу спереди между двумя позвонками, имеющую две строго параллельные стороны для контакта с телами позвонков, перемычка, соединяющая задние концы сторон, и деталь, предназначенную для углового раздвижения обеих сторон после введения коробки между двумя позвонками. Коробка дает возможность выполнять предоперационную регулировку угла лордоза между двумя позвонками. Коробкодержатель соединен с возможностью движения с коробкой для введения коробки между двумя позвонками. После удаления коробкодержателя отверткой поворачивают винт, задний конец которого соединен с деталью, предназначенной для раздвижения обеих сторон коробки и ввинчивают в одну из сторон коробки.
Также в американском патенте №US 5800550 было предложено выполнять интерсоматическую коробку, имеющую зубчатые цилиндры, которые имеют возможность быть вдавленными вертикально в позвонки благодаря инструменту, снабженному резьбой, с тем, чтобы обеспечить фиксацию интерсоматической коробки.
Также в заявке на немецкий патент №DE 4327054 была предложена интерсоматическая коробка, имеющая кулачковый вал, дающий возможность ставить на место скобы крепления.
Также в заявке на международный патент WO 97/06753 было предложено выполнять интерсоматическую коробку, имеющую почти цилиндрический полый корпус (1, 51), с одним или несколькими отверстиями (9, 10, 59, 59′, 60, 60′). Размеры полого корпуса (1, 51) могут быть увеличены регулируемым образом при помощи регулирующих элементов (18, 19, 65, 66), и он содержит элементы (24, 25, 70, 71, 72) крепления, которые дают возможность закреплять его на позвонках.
Также в заявке на международный патент WO 97/46165 была предложена интерсоматическая коробка, имеющая, по меньшей мере, два базовых винта (1), две запирающие детали (2), препятствующие повороту позвонка, а также соединительную деталь (3,4,5).
Проблема, которая имеет место с интерсоматическими коробками, известными из уровня техники, заключается во временной фиксации, необходимой до тех пор, пока не произойдет срастание кости. Действительно, жизненно важно, чтобы коробка оставалась на месте. Технические решения из уровня техники не являются удовлетворительными, так как они требуют прямого или непрямого ударного введения коробки в межпозвоночное пространство.
Большие неудобства устройств, известные из уровня техники, основываются одновременно на том факте, что они не дают возможности создать идеальную иммобилизацию интерсоматической коробки в позвоночных сегментах, а именно при растягивающих движениях и/или вращательных движениях позвоночного столба, и на том факте, что реально они не дают возможности удалить интерсоматическую коробку.
В основу изобретения положена задача создать улучшенную конструкцию интерсоматической коробки, обеспечивающую возможность осуществления имплантацию в шейной, грудной или поясничной частях позвоночника хирургическим путем, спереди или сзади, гарантируя эффективную фиксацию до сращивания кости и после ее сращивания и давая возможность удалить коробку после сращивания кости.
Поставленная задача решается тем, что интерсоматическая коробка для иммобилизации позвоночника, имеющая форму параллелепипеда и содержащая центральное полое пространство, предназначенное для заполнения фрагментами кости, согласно изобретению, содержит средства крепления, имеющие, как правило, S-образную форму и выходящие на боковые стороны для соединения с прилегающими позвонками, приводимые в движение, по меньшей мере, одним средством приведения в движение, имеющим выход на фронтальную сторону, причем вышеупомянутые средства крепления содержат каждое, по меньшей мере, один основной заостренный упор.
Такое конструктивное выполнение коробки, согласно изобретению, обеспечивает сохранение постоянным межпозвоночное пространство для того, чтобы воспрепятствовать разрушению тела позвонков.
Изобретение имеет отношение в его самом широком значении к интерсоматической коробке для иммобилизации позвоночника.
Крепление, по определению, создает полную блокировку, не дающую никаких степеней свободы. Интерсоматическая коробка, закрепленная таким образом при помощи средств крепления, не дает возможности позвонкам смещаться при сжатии, растяжении и повороте, чем обеспечивает создание жесткого единого целого.
Преимущественно, когда средство приведения в движение имеет головку приведения во вращательное движение и оно имеет возможность поворота в двух направлениях, что дает возможность перемещения средствам крепления в противоположных направлениях.
По первому варианту выполнения изобретения средства крепления образованы винтами – саморезами.
Согласно предпочтительному варианту выполнения изобретения, вышеупомянутые средства крепления имеют, как правило, S-образную форму и центр тяжести S-образной формы лежит на оси средства приведения в движение.
Предпочтительно, когда вышеупомянутый заостренный упор образует основание треугольника, по меньшей мере, равнобедренного, снабженного режущими сторонами, образующими заостренные упоры.
Преимущественно, каждое средство крепления содержит, по меньшей мере, один радиальный заостренный упор, расположенный вдоль радиуса средства крепления и строго перпендикулярный оси средства приведения в движение для того, чтобы обеспечить хорошее проникновение средства крепления в костную массу при установке коробки на место и, в случае необходимости, при ее удалении.
Преимущественно каждое средство крепления содержит также, по меньшей мере, один задний заостренный упор, строго параллельный основному заостренному упору для того, чтобы обеспечить хорошее проникновение средства крепления в костную массу при удалении коробки.
Преимущественно также, каждое средство крепления имеет прорезь для того, чтобы создать возможность костного прорастания между сторонами средства крепления. Получаемое таким образом взаимодействие между средствами крепления и костным выростом гарантирует великолепное крепление позвонков одновременно при сжатии, растяжении и вращении.
Кроме того, края этих прорезей, по меньшей мере, частично заострены для того, чтобы иметь возможность образовать щель для высвобождения средства крепления и удаления интерсоматической коробки.
Преимущественно также, коробка, согласно изобретению, содержит средства принудительной блокировки/разблокировки средства крепления в их закрепленном положении.
Не менее предпочтительно, когда коробка содержит две пары средства крепления, при этом средство для приведения в движение каждой пары средства крепления, выходит на одну и ту же фронтальную сторону.
Наконец, преимущественно вышеупомянутое или вышеупомянутые средства приведения в движение содержат в их центральной части отверстие, стенки которого имеют резьбу для того, чтобы дать возможность устанавливать один или несколько дополнительных элементов, таких как крепящий винт, по оси средства или средств приведения в движение.
Изобретение будет более понятно при чтении нижеследующего описания со ссылками на не ограничивающий объем притязаний пример, приведенный на прилагаемых чертежах, на которых:
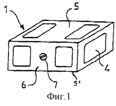
– фиг.1 представляет собой схематическое аксонометрическое изображение интерсоматической коробки, согласно изобретению;
– фиг.2, 3 и 4 соответственно представляет собой схематическое аксонометрическое изображение и схематическое изображение в разрезе интерсоматической коробки, соответствующей первому варианту выполнения средств крепления интерсоматической коробки, согласно изобретению;
– фиг.5 и 6 соответственно иллюстрируют аксонометрическое изображение двух пар средств крепления S-образной формы, согласно второму варианту выполнения средства крепления интерсоматической коробки, согласно изобретению;
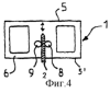
– фиг.7 иллюстрирует аксонометрическое изображение интерсоматической коробки, согласно изобретению, с парой средств крепления;
– фиг.8 и 9 соответственно иллюстрируют лицевое изображение интерсоматической коробки фиг.7 при убранном вовнутрь средстве крепления и в его положении крепления;
– фиг.10 иллюстрирует вид сбоку интерсоматической коробки, согласно изобретению, с парой средств крепления;
– фиг.11 иллюстрирует аксонометрическое изображение интерсоматической коробки, согласно изобретению, с двойной парой средств крепления и
– фиг.12 и 13 иллюстрируют соответственно лицевое изображение интерсоматической коробки, согласно изобретению по фиг.11, в положении крепления и в скрепленном положении.
Интерсоматическая коробка 1, согласно изобретению, представляет собой в целом форму параллелепипеда и ограничивает внутренне полое пространство 4 с прорезями, предусмотренными на ее различных сторонах и, в частности, на ее боковых сторонах 5, 5′ и на фронтальной стороне 6. Внутреннее пространство 4 предназначено для заполнения костными фрагментами, взятыми у пациента. Эти костные фрагменты предназначены для инициирования сращивания позвонков, между которыми помещена интерсоматическая коробка.
Фронтальная сторона 6 имеет прорезь, создающую возможность доступа к головке 7 приведения во вращательное движение средства для приведения в движение.
Таким образом, благодаря средству для приведения в движение средства крепления могут занимать каждое два крайних положения: убранное вовнутрь положение, при котором они расположены внутри коробки, и положение крепления, при котором они имеют максимальное раскрытие вне коробки. Между этими двумя крайними положениями средства крепления имеют множество промежуточных положений крепления.
По первому варианту выполнения изобретения средство 2 приведения в движение состоит из стержня, имеющего резьбу, и средства 3 крепления, образованного двумя винтами-саморезами (8, 9), выходящими соответственно на верхнюю боковую сторону 5 и нижнюю боковую сторону 5′.
Стержень имеет шестигранную головку для приведения в движение посредством инструмента и шлицевой корпус, имеющий возможность взаимодействовать с резьбой винтов-саморезов 8, 9.
При таком варианте выполнения основной заостренный упор 10 образован концом резьбы винта-самореза.
По предпочтительному варианту выполнения изобретения вышеупомянутые средства 3 крепления имеют, как правило, S-образную форму, как показано на фиг.5 и 6, и центр тяжести S-образной формы расположен на оси А средства 2 приведения в движение, как показано на фиг.7.
В этой версии каждое средство 3 крепления содержит преимущественно, по меньшей мере, один радиальный заостренный упор 11, расположенный по радиусу средства крепления строго перпендикулярно оси средства для приведения в движение на краю соединительной части средства крепления, а также, по меньшей мере, один задний заостренный упор 12, строго параллельный основному заостренному упору 10, как показано на фиг.5 и 6.
Фиг.6 иллюстрирует вариант реализации изобретения, в котором вышеупомянутый основной заостренный упор 10 образует основание, по меньшей мере, равнобедренного треугольника, даже равностороннего, с режущими сторонами 10′, 10″, образующими острые упоры 10.
На этой фигуре каждое средство 3 крепления содержит два радиальных заостренных упора 11, расположенных строго на одном диаметре внутреннем и наружном средства 3 крепления и обращенных в противоположные стороны.
На фиг.7 каждое средство 3 крепления содержит два радиальных заостренных упора (11), расположенных рядом на внутренней стороне соединительных частей.
Движение врезания делает возможным крепление коробки, как показано стрелками F1 на фиг.8 и 9, также как движение удаления, как показано стрелками F2.
Кроме того, каждое средство 3 крепления имеет преимущественно одну прорезь (13), края которой, по меньшей мере, частично заострены, как показано на фиг.10.
Для того чтобы иметь возможность блокировать средства 3 крепления в положении крепления, коробка, согласно изобретению, содержит преимущественно средства блокировки/разблокировки, состоящие, например, из выступа, предназначенного для взаимодействовия с выемкой.
Преимущественно, интерсоматическая коробка, как иллюстрирует фиг.11, содержит две пары средств 3 крепления, имеющих возможность поворота в противоположных направлениях, причем каждое средство 2 приведения в движение каждой пары средств 3 крепления выходит на одну и ту же фронтальную сторону 6.
В этой версии движение врезания, делающее возможным крепление коробки, показано стрелками F1 на фиг.12, тогда как движение ее удаления показано стрелками F2.
Фиг.13 иллюстрирует интерсоматическую коробку двойной S-образной формы в положении крепления.
Преимущественно коробка выполнена из углерода. Такой материал имеет модуль Юнга, сравнимый с модулем Юнга костной ткани. Средства крепления выполнены, преимущественно, из гидроксиапатита или материала, соединенного из спеченных гранул химического соединения фосфата кальция. Гранулы соединены с частицами химического соединения фосфата кальция. Средства крепления могут быть также выполнены из металлического сплава на основе титана или нержавеющего сплава.
Средства крепления могут быть также выполнены из бикальциум фосфата, из трикальцум фосфата или пористого тантала.
Изобретение описано выше в качестве примера. Специалист может осуществить различные варианты, в частности, для приведения в действие средств крепления и напряжения посредством приведения в действие узла крепления, доступного с фронтальной стороны.
Формула изобретения
1. Интерсоматическая коробка для иммобилизации позвоночника, имеющая форму параллелепипеда и содержащая центральное полое пространство (4), предназначенное для заполнения фрагментами кости, отличающаяся тем, что она содержит средства (3) крепления, имеющие, как правило, S-образную форму и выходящие на боковые стороны (5, 5′) для соединения с прилегающими позвонками, приводимые в движение, по меньшей мере, одним средством (2) приведения в движение, имеющим выход на фронтальную сторону (6), причем вышеупомянутые средства (3) крепления содержат каждое, по меньшей мере, один основной заостренный упор (10).
2. Интерсоматическая коробка по п.1, отличающаяся тем, что средство (2) приведения в движение имеет головку (7) для приведения во вращательное движение и оно имеет возможность поворота в двух направлениях, что дает возможность перемещения средствам крепления в противоположных направлениях.
3. Интерсоматическая коробка по п.1 или 2, отличающаяся тем, что центр тяжести S-образной формы расположен на оси средства (2) приведения в движение.
4. Интерсоматическая коробка по любому из пп.1-3, отличающаяся тем, что вышеупомянутый заостренный упор (10) образует основание треугольника, по меньшей мере, равнобедренного, снабженного режущими сторонами (10′, 10″), образующими заостренные упоры (10).
5. Интерсоматическая коробка по любому из пп.1-4, отличающаяся тем, что каждое средство (3) крепления содержит, по меньшей мере, один радиальный заостренный упор (11), расположенный вдоль радиуса средства крепления.
6. Интерсоматическая коробка по любому из пп.1-5, отличающаяся тем, что каждое средство (3) крепления содержит, по меньшей мере, один задний заостренный упор, строго параллельный основному заостренному упору (10).
7. Интерсоматическая коробка по любому из пп.1-6, отличающаяся тем, что каждое средство (3) крепления содержит прорезь (13).
8. Интерсоматическая коробка по п.7, отличающаяся тем, что края вышеупомянутой прорези (13), по меньшей мере, частично заострены.
9. Интерсоматическая коробка по любому из пп.1-8, отличающаяся тем, что она содержит средства принудительной блокировки / разблокировки средств (3) крепления в их закрепленном положении.
10. Интерсоматическая коробка по любому из пп.1-9, отличающаяся тем, что она содержит две пары средств (3) крепления, при этом средство (2) для приведения в движение каждой пары средств (3) крепления, открытых в сторону одной и той же фронтальной стороны (6).
11. Интерсоматическая коробка по любому из пп.1-10, отличающаяся тем, что вышеупомянутое или вышеупомянутые средства (2) для приведения в движение содержат в их центральной части отверстие (14), стенки которого имеют резьбу.
Приоритет по пунктам и признакам:
03.07.2000 по пп.1-11;
01.07.1999 по п.1 в части признаков: “средства (3) крепления”, “выходящие на боковые стороны для соединения с прилегающими позвонками”, “средством приведения в движение, имеющим выход на фронтальную сторону (6)”, “вышеупомянутые средства крепления содержат каждое один основной заостренный упор 10”.
РИСУНКИ
MM4A – Досрочное прекращение действия патента СССР или патента Российской Федерации на изобретение из-за неуплаты в установленный срок пошлины за поддержание патента в силе
Дата прекращения действия патента: 04.07.2009
Извещение опубликовано: 20.07.2010 БИ: 20/2010
|
|