|
|
(21), (22) Заявка: 2004107526/12, 12.03.2004
(24) Дата начала отсчета срока действия патента:
12.03.2004
(45) Опубликовано: 20.08.2005
(56) Список документов, цитированных в отчете о поиске:
SU 1736471 A1, 30.05.1992. SU 1792325 А1, 30.01.1993. SU 1814545 А3, 07.05.1993. SU 2153862 С1, 10.08.2000.
Адрес для переписки:
308503, г.Белгород, п. Майский, Белгородская ГСХА, Зав. сектором патентоведения Н.Е. Крючковой
|
(72) Автор(ы):
Ужик В.Ф. (RU), Астанин Н.С. (RU), Ужик О.В. (RU)
(73) Патентообладатель(и):
Белгородская государственная сельскохозяйственная академия (Белгородская ГСХА) (RU)
|
(54) УСТРОЙСТВО ДЛЯ РОДОВСПОМОЖЕНИЯ КОРОВАМ
(57) Реферат:
Изобретение относится к сельскому хозяйству. Устройство выполнено в виде скобы, предназначенной для взаимодействия с крупом коровы, и тягового механизма, который выполнен в виде остова и каретки, установленной на остов с возможностью продольного перемещения по нему. Повышение надежности в эксплуатации. 3 з.п. ф-лы, 6 ил. 
Предлагаемое изобретение относится к сельскому хозяйству, в частности к устройствам для механизации животноводства, и может быть использовано для родовспоможения коровам.
Известны следующие аналогичные устройства: устройство для оказания акушерской помощи животным SU 1736471, 30.05.92 [1], содержащее тазовый упор в виде стержня с туловищными штангами и ремнями для фиксации, а также опорные штанги; устройство для извлечения плода SU 1814545, 07.05.93 [2], содержащее захват челюсти и образованный акушерской веревкой захват шеи.
Данные устройства ненадежны в эксплуатации.
Известен также акушерский экстрактор ЭА-6 SU 1792325, 25.06.90 [3], содержащий тазовый упор в виде скобы, туловищные штанги с фиксирующими ремнями, трубчатое основание, упор и тяговый механизм.
Недостаток данной конструкции – ненадежен в эксплуатации.
Задача изобретения: повышение надежности в эксплуатации.
Это достигается тем, что устройство для родовспоможения коровам выполнено в виде скобы, предназначенной для взаимодействия с крупом коровы, и тягового механизма. Тяговый механизм выполнен в виде остова и каретки, установленной на остов с возможностью продольного перемещения по нему. Каретка содержит двуплечий рычаг, один конец которого снабжен роликом, а второй – рукояткой, крючок, а также подпружиненные пружинами пластину и фиксатор, подвижно установленные на остове, причем пластина установлена с возможностью взаимодействия с роликом двуплечего рычага, а фиксатор – с возможностью взаимодействия с крючком каретки. Для соединения с каждой ножкой плода коровы в устройстве предусмотрены две гибкие тяги, причем одна гибкая тяга прикреплена к ушку каретки, а вторая – к ушку оси ролика двуплечего рычага. Пластина и фиксатор содержат отверстия, которыми они установлены на остов, а также фиксатор содержит рукоятку.
Изобретение будет понято из следующего описания и приложенных чертежей.
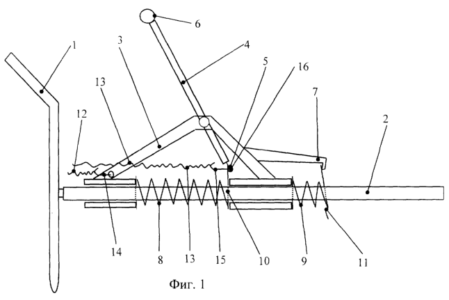
На фиг.1 приведено устройство для родовспоможения коровам, общий вид; на фиг.2 – положение пластины каретки на остове; на фиг.3 – положение фиксатора на остове; на фиг.4 – устройство для родовспоможения коровам при положении двуплечего рычага в повернутом виде; на фиг.5 – положение подпружиненной пластины в повернутом виде; на фиг.6 – положение фиксатора в повернутом виде.
Устройство для родовспоможения коровам выполнено в виде скобы 1 (фиг.1), предназначенной для взаимодействия с крупом коровы, и тягового механизма. Тяговый механизм выполнен в виде остова 2 и каретки 3 с двуплечим рычагом 4, установленной на остов 2 с возможностью продольного перемещения по нему. Один конец двуплечего рычага 4 содержит ролик 5, а свободный его конец – рукоятку 6. Каретка 3 также содержит крючок 7 и подпружиненные пружинами 8 и 9 соответственно пластину 10 и фиксатор 11, подвижно установленные на остове 2, причем пластина 10 установлена с возможностью взаимодействия с роликом 5 двуплечего рычага 4, а фиксатор 11 – с возможностью взаимодействия с крючком 7 каретки 3. Для соединения с каждой ножкой плода коровы в устройстве предусмотрены две гибкие тяги 12 и 13. Гибкая тяга 12 прикреплена к ушку 14 каретки 3, а гибкая тяга 13 – к ушку 15 оси 16 ролика 5 двуплечего рычага 4. Пластина 10 (фиг.2) содержит отверстие 17, а фиксатор 11 (фиг.3) – отверстие 18, которыми пластина 10 и фиксатор 11 установлены на остов 2. Фиксатор 11 содержит рукоятку 19.
Устройство для родовспоможения коровам работает следующим образом. Гибкие тяги 12 и 13 (фиг.1) прикрепляют соответственно к ушку 14 каретки 3, к ушку 15 оси 16 ролика 5 двуплечего рычага 4 и свободные концы к каждой ножке плода в отдельности. Скобу 1 прикладывают к крупу коровы (на схеме не показан) и ориентируют остов 2 устройства в направлении движения плода. За рукоятку 6 двуплечий рычаг 4 каретки 3 поворачивают по часовой стрелке (фиг.1 и 4). При воздействии на пластину 10 ролика 5 (фиг.2, 4 и 5) и одновременном действии пружины 8 возникает пара сил, которая поворачивает пластину 10, что приводит к фиксации пластины 10 на остове 2. Дальнейшее перемещение двуплечего рычага 4 приводит к перемещению каретки 3 по остову 2 (фиг.4). При этом гибкая тяга 12 (фиг.1 и 3), прикрепленная к ушку 14 каретки 3, воздействует на ножку плода, перемещает ее на ход каретки 3, чем оказывают содействие рождению плода. Одновременно с перемещением каретки 3 вправо по остову 2 крючок 7 каретки 3 освобождает фиксатор 11, установленный на остове 2 и подпружиненный пружиной 9. При этом пружина 9 поворачивает фиксатор 11 и устанавливает ось отверстия 18 параллельно оси остова 2 (фиг.6), чем обеспечивает возможность свободного перемещения по остову 2 фиксатора 11 до соприкосновения с крючком 7 каретки 3 в новом положении.
Затем за рукоятку 6 двуплечий рычаг 4 каретки 3 поворачивают против часовой стрелки до упора в исходное положение (фиг.1). При этом ролик 5 двуплечего рычага 4 перестает воздействовать на пластину 10 (фиг.1 и 2), и пружина 8 поворачивает пластину 10, устанавливает ось отверстия 17 параллельно оси остова 2 и перемещает пластину 10 по остову 2 до соприкосновения с роликом 5 (в исходное положение). Одновременно с этим гибкая тяга 13 (фиг.1), прикрепленная к ушку 15 оси 16 (фиг.1 и 2) ролика 5, воздействует на вторую ножку плода, перемещает ее на ход ролика 5, тем самым оказывает содействие рождению плода. От перемещения влево по остову 2 каретку 3 удерживает фиксатор 11 (фиг.1 и 3), взаимодействие которого с крючком 7 и воздействие на него пружины 9 приводит к возникновению пары сил, в результате действия которых происходит поворот фиксатора 11 и его фиксация на остове 2. Таким образом, осуществляя колебательные движения двуплечего рычага 4, поочередно воздействуют на ножки плода, тем самым осуществляют родовспоможение.
Для расфиксации каретки 3 на остове 2 и возврата ее в исходное положение (влево на фиг.1) воздействуют на рукоятку 19 фиксатора 10 (фиг.6), тем самым устанавливают ось отверстия 18 параллельно оси остова 2, чем обеспечивают возможность свободного перемещения по остову 2 фиксатора 11, а значит, и каретки 3.
Использование устройства для родовспоможения коровам повышает надежность процесса родов теленка и обеспечивает рост производительности труда при родовспоможении в 3-4 раза.
Источники информации
1. SU 1736471, А 61 D 1/08, 30.05.92;
2. SU 1814545, А 61 D 1/08, 07.05.93;
3. SU 1792325, А 61 D 1/08, 25.06.90.
Формула изобретения
1. Устройство для родовспоможения коровам, выполненное в виде скобы, предназначенной для взаимодействия с крупом коровы, и тягового механизма, отличающееся тем, что тяговый механизм выполнен в виде остова и каретки, установленной на остов с возможностью продольного перемещения по нему.
2. Устройство по п.1, отличающееся тем, что каретка содержит двуплечий рычаг, один конец которого снабжен роликом, а второй – рукояткой, крючок, а также подпружиненные пружинами пластину и фиксатор, подвижно установленные на остове, причем пластина установлена с возможностью взаимодействия с роликом двуплечего рычага, а фиксатор – с возможностью взаимодействия с крючком каретки.
3. Устройство по п.2, отличающееся тем, что для соединения с каждой ножкой плода коровы в устройстве предусмотрены две гибкие тяги, причем одна гибкая тяга прикреплена к ушку каретки, а вторая – к ушку оси ролика двуплечего рычага.
4. Устройство по п.2, отличающееся тем, что пластина и фиксатор содержат отверстия, которыми они установлены на остов, а также фиксатор содержит рукоятку.
РИСУНКИ
MM4A – Досрочное прекращение действия патента СССР или патента Российской Федерации на изобретение из-за неуплаты в установленный срок пошлины за поддержание патента в силе
Дата прекращения действия патента: 13.03.2006
Извещение опубликовано: 20.02.2007 БИ: 05/2007
|
|