|
|
(21), (22) Заявка: 2001131268/14, 19.11.2001
(24) Дата начала отсчета срока действия патента:
19.11.2001
(43) Дата публикации заявки: 10.07.2003
(45) Опубликовано: 20.08.2005
(56) Список документов, цитированных в отчете о поиске:
RU 2056802 C1, 27.03.1996. RU 2132170 C1, 27.06.1999. RU 2076647 C1, 10.04.1997. Под редакцией Ю.Г. ШАПОШНИКОВА. Травматология и ортопедия/Том I. М.: “Медицина”, 1997, с.484.
Адрес для переписки:
653014, Кемеровская обл., г. Прокопьевск, ул. Вокзальная, 65, Областная клиническая ортопедо-хирургическая больница восстановительного лечения, отдел информации
|
(72) Автор(ы):
Зайцев Н.М. (RU), Пак В.П. (RU), Казанцев А.Б. (RU), Шерстнев А.С. (RU), Шашков В.В. (RU)
(73) Патентообладатель(и):
Областная клиническая ортопедо-хирургическая больница восстановительного лечения (RU)
|
(54) СПОСОБ ЛЕЧЕНИЯ СУБКАПИТАЛЬНЫХ ПЕРЕЛОМОВ БЕДРЕННОЙ КОСТИ
(57) Реферат:
Изобретение относится к медицине, а именно к травматологии и ортопедии, и может быть применимо для лечения субкапитальных переломов бедренной кости. Изменяют нагрузку на головку следующим образом. Моделируют соприкасающиеся поверхности головки и шейки бедренной кости, при этом выявляют наименее поврежденную хрящевую поверхность головки, которая будет после остеосинтеза опорной. Насаживают головку на адаптированную поверхность шейки. Вводят спонгиозные шурупы ретроградно соосно с шейкой со стороны головки через область перелома, при этом шурупы проходят через второй кортикальный слой. Способ позволяет повысить стабильность, создать условия для равномерной нагрузки на головку. 3 ил. 
Изобретение относятся к медицине, а именно к травматологии и ортопедии, и может быть использовано для лечения субкапитальных переломов бедренной кости.
Известен способ остеосинтеза переломов шейки бедра, включающий репозицию и фиксацию отломков посредством введенного центрального трехлопастного гвоздя Смит-Петерсена.
Однако известный способ вызывает значительное разрушение губчатой кости шейки головки, что отрицательно сказывается на процессе консолидации, а иногда приводит к развитию асептического некроза головки или несращению в виде дефектов и ложных суставов. Кроме того, фиксация отломков гвоздем, проходящим через рыхлую губчатую кость, недостаточно стабильна и ее следствием может стать как ротационное смещение головки вокруг гвоздя, так и ее смещение по плоскости перелома. Анализ отдаленных результатов больных, прооперированных с использованием гвоздя Смит-Петерсена, показал, что несращение перелома и ложный сустав шейки бедра развились у 40,1%, у 80% развился аваскулярный некроз головки бедренной кости. 15,6% жаловались на умеренные боли в оперированном суставе в покое и сильные боли при нагрузке на конечность /А.В.Войтович, С.Г.Парфеев, И.И.Шубчаков с соавт. Лечение больных с переломами проксимального отдела бедренной кости. Травматология и ортопедия. Т.3. 1996 г. С.29-31/.
Наиболее близким к заявляемому является способ остеосинтеза перелома шейки бедренной кости по патенту РФ №2056802, включающий фиксацию спонгиозными винтами, введенными со стороны большого вертела в головку бедра по верхнему и нижнему контурам шейки.
Однако данный способ имеет ряд недостатков, не позволяющих гарантировать стабильную компрессию по линии перелома. Достигнутая плотность соединения со временем в результате резорбции кости уменьшается, что отрицательно сказывается на консолидации перелома.
Случаи несращения перелома при данном способе остеосинтеза встречаются у 30% больных. Следовательно, часть оперированных больных нуждается в повторных операциях, но время, как правило, упущено и повторное оперативное вмешательство противопоказано из-за тяжести больных /Л.А.Варавва. 2001 год. Актуальные вопросы имплантологий и остеосинтеза. Сборник научных трудов. Часть 3. С.9-10/.
Задача изобретения – сокращение сроков лечения за счет повышения стабильности, межфрагментарной компрессии между отломками, возможность ранней активизации больного.
Поставленная задача решается тем, что согласно способу лечения субкапитальных переломов бедренной кости путем остеосинтеза стягивающими спонгиозными шурупами АО моделируют соприкасающиеся поверхности головки и шейки бедренной кости, выявляя наименее поврежденную хрящевую поверхность, и, изменяя тем самым нагрузку на головку, вводят спонгиозные винты АО ретроградно соосно с шейкой со стороны головки через область перелома проходящими через второй кортикальный слой.
Способ осуществляют следующим образом.
Под общим обезболиванием из передне-наружного доступа выявляют место субкапитального перелома.
С помощью леватора головку свободно вывихивают. У лиц пожилого и старческого возраста круглая связка, как правило, представляет рубцовый тяж или отсутствует. Моделируют соприкасающиеся поверхности головки и шейки бедренной кости с помощью ложки Фолькмана, кусачек Люэра. Выявляют наименее поврежденную хрящевую поверхность головки, которая и будет после остеосинтеза опорной. В головке формируют два клапана, затем ее насаживают плотно на адаптированную поверхность шейки в положении вальгуса под углом 135-140°. Далее в каналы вкручивают необходимой длины винты, которые прочно с требуемой компрессией фиксируют отломки. Причем проходят второй кортикальный слой.
Гемостаз по ходу операции, капсулу сустава ушивают отдельными швами. Послойный шов раны, с выведением дренажной трубки через отдельный разрез. Асептическая повязка, временная внешняя иммобилизация деротационным гипсовым сапожком.
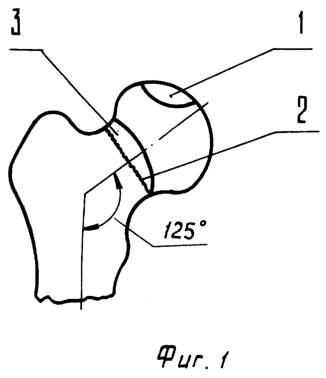
Изобретение поясняется чертежом. На фиг.1 изображен схематический характер перелома бедренной кости, где
1 – повреждение хрящевой поверхности головки;
2 – зона перелома;
3 – зона предполагаемой моделирующей резекции соприкасающихся поверхностей головки и шейки.
На фиг.2 – проксимальный отдел бедренной кости после моделирования.
На фиг.3 – окончательный вариант ретроградного остеосинтеза, где 4 – спонгиозные стягивающие шурупы АО.
Клинический пример применения способа.
Больная С., 77 лет поступила с диагнозом: Субкапитальный перелом левой бедренной кости со смещением отломков. Травма 27 декабря 2000 года – упала, ударилась тазобедренным суставом. Проводилось скелетное вытяжение в течение 22 дней. Затем доставлена в Кузбасский НИИ травматологии и ортопедии. Спустя 10 дней проведена операция: открытая репозиция, ретроградный остеосинтез шейки левой бедренной кости спонгиозными винтами АС. Под эпидуральной анестезией передне-наружным доступом выделена зона перелома, при ревизии выявлен субкапитальный его характер. С помощью леватора головка свободно вывихивается, представляет собой половину биллиардного шара, круглая связка отсутствует. Ложкой Фолькмана, кусачками Люэра освежены и отмоделированы соприкасающиеся поверхности головки и шейки. В головке сформированы два канала, при этом учитывалась задача не повредить наименее измененную суставную поверхность головки, которая после остеосинтеза будет опорной. Далее головка плотно насаживалась на шейку в положении вальгуса под углом 135°. Произведен остеосинтез двумя винтами АО, проходящими через второй кортикальный слой в области большого вертела. При проведении пассивных, ротационных движений фиксация стабильна, микроподвижности не выявлено. Капсула сустава ушита однорядными узловыми швами. Послойные швы на рану с выведением дренажной трубки через отдельный разрез. Гемостаз по ходу операции. Асептическая повязка. Внешняя иммобилизация гипсовым сапожком. На пятые сутки больная начала ходить на костылях без опоры на оперированную конечность. Заживление первичным натяжением, швы сняты на десятые сутки.
Предлагаемый способ позволяет при лечении субкапитальных переломов бедренной кости достичь более высокой межфрагментарной компрессии и фиксационной стабильности. При этом резьба шурупа закрепляется в противоположном кортикальном слое кости. И тем самым сила компрессии увеличивается в шесть раз /М.Е.Мюллер, М.Альговер, Р.Шнейдер, Х.Виллингер. Руководство по внутреннему остеосинтезу. Методика, рекомендованная группой АО /Швейцария/ 1996 год. С.184/.
Учитывая, что на этапе операции производится моделирование соприкасающихся поверхностей головки и шейки, можно произвести остеосинтез с учетом наименее травмированной суставной поверхности, которая будет опорной.
Увеличение шеечно-диафизарного угла, создание вальгусного положения в проксимальном отделе бедра в последующем обеспечивает не только прочный контакт между отломками, но и компрессию последних в функционально выгодном положении. Создаются условия для равномерного нагружения на головку.
Ранняя активизация больного и его реабилитация за счет фиксационной стабильности.
На момент подачи заявки предлагаемым способом пролечено трое больных.
Формула изобретения
Способ лечения субкапитальных переломов бедренной кости, включающий остеосинтез спонгиозными стягивающими шурупами, отличающийся тем, что изменяют нагрузку на головку следующим образом: моделируют соприкасающиеся поверхности головки и шейки бедренной кости, при этом выявляют наименее поврежденную хрящевую поверхность головки, которая будет после остеосинтеза опорной, насаживают головку на адаптированную поверхность шейки, вводят спонгиозные шурупы ретроградно соосно с шейкой со стороны головки через область перелома, при этом шурупы проходят через второй кортикальный слой.
РИСУНКИ
MM4A Досрочное прекращение действия патента Российской Федерации на изобретение из-за неуплаты в установленный срок пошлины за поддержание патента в силе
Извещение опубликовано: 27.10.2006 БИ: 30/2006
|
|