|
|
(21), (22) Заявка: 2002134117/12, 18.12.2002
(24) Дата начала отсчета срока действия патента:
18.12.2002
(43) Дата публикации заявки: 20.07.2004
(45) Опубликовано: 20.08.2005
(56) Список документов, цитированных в отчете о поиске:
КОРОЛЕВ В.Ф. “Доильные машины”, Москва, “Машиностроение”, 1969, с.131-139. SU 178230, 28.11.1966. SU 1797737 A3, 27.03.1995. SU 1405738 A1, 30.06.1988.
Адрес для переписки:
350055, г.Краснодар, пос. Знаменский, СКНИИЖ
|
(72) Автор(ы):
Головань В.Т. (RU), Туманян А.Л. (RU), Дохужев Ю.Г. (RU)
(73) Патентообладатель(и):
Головань Валентин Тимофеевич (RU)
|
(54) ДВУХКАМЕРНЫЙ ДОИЛЬНЫЙ СТАКАН
(57) Реферат:
Изобретение относится к машинному доению, в частности, к доильным стаканам. Двухкамерный доильный стакан содержит корпус, патрубки постоянного и переменного вакуума, цилиндрическую сосковую трубку с присоском и смотровой конус. В верхней части корпуса выполнено утолщение, а в нижней конусообразное углубление. Изобретение обеспечивает возможность комплектации стаканов с доильными аппаратами с различными параметрами, повышает качество доения за счет улучшения надежности крепления сосковой резины и смотрового конуса. 1 ил. 
Изобретение относится к машинному доению, в частности, к доильным стаканам.
Известен двухкамерный доильный стакан, включающий корпус с верхней и нижней головками, сосковую резинку, монтажное кольцо, смотровой конус, патрубки переменного и постоянного вакуума (АС СССР №178230, А 01 J 5/08, 1963 г.). Недостатки данного стакана: сложность конструкции (6 деталей), трудность сборки, низкая надежность, частые нарушения герметичности, особенно в области верхней головки и нарушение процесса доения в связи с перемещением монтажного кольца по сосковой резине вверх, в результате чего уменьшается просвет сосковой резины и наполнение соска молоком.
Аналогом может служить известный доильный стакан, включающий корпус с патрубками и расположенную в нем сосковую трубку с присоском и подсосковой камерой, причем внутренние стенки сосковой трубки выполнены в форме усеченного конуса, основание которого направлено к присоску. Наружные стенки сосковой трубки также выполнены по усеченному конусу, меньшее основание которого направлено к присоску (патент СССР №1797737, А 01 J 5/08, 1990 г.).
Недостатком данного стакана является полное отсутствие контроля за ходом молокоотдачи по долям вымени и невозможность его использования с разными непрозрачными коллекторами из-за неизбежных передержек аппарата на вымени у коров, увеличение по этой причине заболевания коров маститом, а также уменьшение производительности труда операторов по причине повышенных затрат времени на контроль за процессом молокоотдачи и выдаивания животных.
Наиболее близким по технической сущности и достигаемому результату является доильный стакан, содержащий гильзу, сосковую резину с присоском и воротником, соединительное и уплотнительное кольца, смотровой прозрачный конус, который позволяет наблюдать за процессом доения из каждого соска вымени коровы (см. Машинное доение коров. М.: Колос, 1964 г., с.149-154).
Недостаток этого стакана в сложности конструкции, применении двух колец, ненадежности герметизации межстенной камеры стакана и фиксации смотрового конуса на гильзе, что приводит к частым нарушениям процесса доения.
Задача изобретения: обеспечить возможность комплектации стаканов с доильными аппаратами с различными параметрами, повышение качества доения коров за счет улучшения надежности крепления сосковой резины и смотрового конуса и лучшего контроля за процессом доения.
Задача решается тем, что в двухкамерном доильном стакане, включающем корпус, патрубки постоянного и переменного вакуума, цилиндрическую сосковую трубку с присоском, смотровой конус, в верхней части корпуса снаружи выполнено кольцевое утолщение, а в нижней части корпуса углубление в форме усеченного конуса высотой 0,5…0,7 диаметра нижнего основания конуса Д1, верхнее – меньшее основание которого с диаметром Д2, размер которого не меньше диаметра сосковой трубки, направлено вверх, при этом .
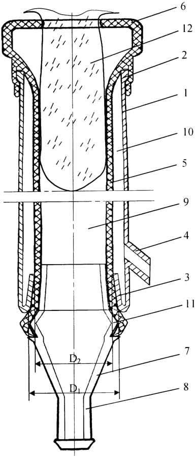
На чертеже изображен двухкамерный доильный стакан.
Двухкамерный доильный стакан содержит цилиндрический корпус 1, имеющий снаружи в верхней части кольцевое утолщение 2. В нижней части корпус 1 имеет углубление 3 в форме усеченного конуса высотой 0,5…0,7 диаметра его нижнего основания Д1. Верхнее (меньшее) основание конуса с диаметром Д2 направлено вверх, при этом . Диаметр сосковой трубки равен или меньше верхнего основания конуса Д2. Размеры корпуса 1 и сосковой трубки 5 стандартные. Надежность фиксации смотрового конуса в корпусе и герметизации межстенной 10 и подсосковой камер 9, что повышает качество доения, обеспечивается указанными соотношениями размеров конусообразного углубления. На корпусе 1 расположен патрубок переменного вакуума 4, а внутри корпуса 1 – сосковая трубка 5 с присоском 6. В сосковую трубку 5 снизу вставлен смотровой конус 7 с буртиком 11 из прозрачного материала, например, из оргстекла, до упора в коническую поверхность углубления 3 корпуса стакана через резину сосковой трубки 5. Смотровой конус 7 заканчивается патрубком постоянного вакуума 8. При надетом на сосок 12 доильном стакане под соском образуется подсосковая камера 9. Между соковой трубкой 5 и корпусом 1 образована межстенная камера 10. Сосковая трубка 5 при сборке, растягиваясь, проходит усеченный конус углубления 3 и выходит за пределы корпуса 1, обхватывая снаружи верхнюю часть смотрового конуса 7, включая его расширенный буртик 11. При ослаблении натяжения сосковая трубка 5 сокращается и упирается вместе с частями смотрового конуса 7 в стенки углубления 3 корпуса 1, надежно фиксируется и герметизирует подсосковую камеру 9 доильного стакана в нижней части. А присосок 6 сосковой трубки 5 вместе с кольцевым утолщением 2 в верхней части корпуса 1 герметизирует межстенную камеру 10 доильного стакана в верхней части. Доильный стакан собирается и разбирается с помощью монтажного стержня (заявка на изобретение №2002122010/023122 от 22.08.2001 г.).
Двухкамерный доильный стакан работает следующим образом.
При включении доильного аппарата в работу в первом такте сосания через патрубок переменного вакуума 4 поступает вакуум в межстенную камеру 10 доильного стакана (от пульсатора).
Одновременно вакуум подается через патрубок постоянного вакуума 8 в подсосковую камеру 9. В это время происходит открытие сфинктера соска коровы и выведение молока в подсосковую камеру 9 и далее через смотровой конус 7 в коллектор доильного аппарата. Во втором такте сжатия при подаче в межстенную камеру 10 атмосферного давления от пульсатора при удерживающемся вакууме в подсосковой камере 9 сосковая трубка 5 сжимается под соском 12 и закрывает доступ вакуума к выводному молочному каналу соска коровы. Далее в двухтактном аппарате эти циклы повторяются.
В трехтактном аппарате после второго такта в третьем такте атмосферный воздух (с пульсатора) продолжает поступать через патрубок переменного вакуума 4 в межстенную камеру 10 и в камеру переменного вакуума коллектора. При этом клапан коллектора закрывается, и доступ вакуума резко уменьшается в молочную камеру коллектора, одновременно в нее поступает воздух, который распространяется через патрубок 8 в подсосковую камеру стакана, и давление в ней снижается до уровня, близкого к атмосферному.
Далее все три цикла повторяются.
Предложенный доильный стакан универсальный, его эффективно можно использовать как с аппаратами, работающими в 2-тактном режиме (такты сосания и сжатия) в составе доильного аппарата типа АДУ-1, так и в 3-тактном режиме с дополнительным третьим тактом отдыха в составе доильных аппаратов типа “Волга” или АДН-1.
Испытания предлагаемого доильного стакана показали, что в нем надежно герметизируется межстенная камера и исключается попадание воды в нее при промывке, повышается контроль за процессом доения и снижается время доения коровы на 15%, заболеваемость животных маститом, повышается молочная продуктивность коров.
Формула изобретения
Двухкамерный доильный стакан, включающий корпус, патрубки постоянного и переменного вакуума, цилиндрическую сосковую трубку с присоском, смотровой конус, отличающийся тем, что в верхней части корпуса снаружи выполнено кольцевое утолщение, а в нижней части корпус имеет углубление в форме усеченного конуса высотой 0,5…0,7 диаметра Д1 нижнего основания конуса, верхнее, меньшее, его основание с диаметром Д2, размер которого не меньше диаметра сосковой трубки, направлено вверх, при этом 
РИСУНКИ
MM4A Досрочное прекращение действия патента Российской Федерации на изобретение из-за неуплаты в установленный срок пошлины за поддержание патента в силе
Дата прекращения действия патента: 19.12.2005
Извещение опубликовано: 27.01.2007 БИ: 03/2007
|
|