|
(21), (22) Заявка: 2003124899/09, 31.07.2003
(24) Дата начала отсчета срока действия патента:
31.07.2003
(43) Дата публикации заявки: 27.02.2005
(45) Опубликовано: 10.08.2005
(56) Список документов, цитированных в отчете о поиске:
US 2002027977 A1, 07.03.2002. RU 2193823 C1, 27.11.2002. RU 2142208 C1, 27.11.1999. RU 2195789 C1, 27.12.2002. JP 2003-092632, 28.03.2003. US 6075844 A1, 13.06.2000. US 6222909 A1, 24.04.2001. ЛОКАЛЬНАЯ СИСТЕМА ЗАПИСИ ПЕРЕГОВОРОВ “PHOBOS”, 2003, найдено на www.skomplekt.com. /ГОЛЬДШТЕЙН Б.С. и др. IP-ТЕЛЕФОНИЯ. М.: РАДИО И СВЯЗЬ, 2001, с.202-221.
Адрес для переписки:
196135, Санкт-Петербург, а/я 20, М.Я.Эмдину
|
(72) Автор(ы):
Кучерявый А.Е. (RU), Миков А.С. (RU), Гильченок Л.З. (RU), Ларичев Н.И. (RU), Пяттаев В.О. (RU), Цуприков А.Л. (RU), Эмдин М.Я. (RU)
(73) Патентообладатель(и):
Кучерявый Андрей Евгеньевич (RU), Миков Александр Сергеевич (RU), Гильченок Леонид Захарович (RU), Ларичев Николай Иванович (RU), Пяттаев Владислав Олегович (RU), Цуприков Андрей Леонидович (RU), Эмдин Михаил Яковлевич (RU)
|
(54) СПОСОБ ПАКЕТНОЙ ПЕРЕДАЧИ ИНФОРМАЦИИ В СЕТИ СВЯЗИ
(57) Реферат:
Изобретение относится к сетям связи общего пользования с системами коммутации пакетов информации. Техническим результатом является повышения безопасности путем накопления информации о содержании всех разговоров абонентов в сети связи. Технический результат достигается тем, что осуществляют запись всех разговоров систем коммутации пакетов в хранилище данных, содержащий операции передачи исходящих пакетов информации в прямом направлении от исходящего порта А к входящему порту Б, и входящих пакетов информации в обратном направлении от входящего порта Б к исходящему порту А, при содержании в каждом пакете полей с информацией об адресе назначения, порядковом номере пакета, метке времени, календарном времени и собственно информации, причем со стороны исходящего порта А каждый пакет информации, передаваемый по первичному адресу назначения от исходящего порта А к входящему порту Б, и каждый пакет информации, передаваемый по первичному адресу назначения от входящего порта Б к исходящему порту А, передают по вторичному адресу назначения – месту расположения базы данных, и записывают в нее содержание всех разговоров абонентов сети связи, при передаче пакетов по вторичному адресу сохраняют в каждом пакете информацию о порядковом номере пакета, собственно информацию и календарное время, причем во входящем пакете календарное время корректируют на время передачи того исходящего пакета, ответом на который является этот входящий пакет, при этом при передаче пакетов по вторичному адресу снижают приоритет их передачи. 2 ил. 
Предложение относится к сети связи и может быть использовано для повышения региональной и государственной безопасности путем накопления информации о содержании всех разговоров, факсимильных сообщений и передаваемых данных абонентами сети связи для потенциально всех (100%) абонентов сети связи.
Предложение использует для своей реализации принципы пакетной передачи информации в сети связи, в состав которой входят системы коммутации пакетов. Предложение распространяется и на тех абонентов телефонной сети общего пользования (ТФОП), построенной по принципу коммутации каналов, маршрут установления соединений от (к) которых (которым) проходит через упомянутые системы коммутации пакетов.
Известны способы пакетной передачи информации в сети связи, в частности, раскрытые в разделе 4.2 книги А.Г.Жданова, Д.Л.Рассказова, Д.А.Смирнова, М.М.Шиникова “Передача речи по сетям с коммутацией пакетов” (IP-телефония) под редакцией В.Ю.Бабкова и М.А.Вознюка, Санкт-Петербург, 2001 г.
Известны также способы пакетной передачи информации, раскрытые в монографии М.А.Шнепс-Шнепсе “Интернет – телефония: протокол SIP и его применения”, “Макс-Пресс”, Москва, 2002 г.
В этих двух источниках информации, описывающих известные способы пакетной передачи и выбранных в качестве аналога заявляемого способа, рассмотрены операции известных способов по передаче исходящих и по приему входящих пакетов информации (разговор, факсимильные сообщения, передача данных) в сети связи, в состав которой входят системы коммутации пакетов.
Известны также источники информации, в которых описаны протоколы пакетной передачи информации (т.е. операции способа пакетной передачи информации). К таким источникам относится статья Ларри Янга “Новый протокол коммутации VoP”, опубликованная в журнале “Сети”, №2, 2000 г., Издательство “Открытые системы”. В этой статье акцент делается на наиболее перспективном в настоящее время протоколе SIP (Session Initialization Protocol). В этой статье раскрыт состав пакетов информации, содержащих набор различных по своему функциональному назначению полей (эта статья также выбрана нами в качестве аналога).
Наиболее полно, с нашей точки зрения, описывает операции передачи исходящей информации, операции приема входящей информации и раскрывает состав пакетов информации (содержимое полей этих пакетов) известный документ “Network Working Group Request for Comments: 1889 Category Standards Track. Audio-Video Transport Working Group. H. Schuizrinne GMD Fokus S. Casner Precept Software, Inc. R. Frederick Xerox Palo Alto Research Center V. Jacobson Lawrence Berkeley National Laboratory January 1996. RTP: A Transport Protocol for Real-Time Applications. (Комментарии по ряду запросов Международной “Сетевой Рабочей Группы”, в том числе по вопросу транспортного протокола реального времени RTP.)
Описанный в указанном источнике информации способ пакетной передачи информации, с использованием протоколов RTP (RTCP и SIP) выбран в качестве прототипа.
Примечание: корректности ради отметим, что наиболее полно протокол SIP (с известными операциями способа) реализован в мультисервисном сетевом узле “САПФИР” (рекламный проспект прилагается к настоящей заявке).
Итак, известный способ пакетной передачи информации, выбранный в качестве прототипа, как и заявляемый способ относится к сети связи, в состав которой входят системы коммутации пакетов с исходящими портами А и входящими портами Б.
Исходящие порты А связаны с абонентскими телефонными установками или терминалами вызывающих абонентов А.
Входящие порты Б связаны с абонентскими телефонными установками или терминалами вызываемых абонентов Б.
Примечание: естественно, и порты А, и порты Б являются двунаправленными портами, способными обслуживать и исходящую, и входящую нагрузку, но для удобства рассмотрения настоящей заявки мы будем, говоря о порте А, подразумевать, что такой порт обслуживает только исходящую нагрузку, а говоря о порте Б, будем подразумевать, что порт обслуживает только входящую нагрузку.
Известный способ – прототип, как и заявляемый способ, содержит следующую последовательность операций:
– передачу исходящих пакетов информации в прямом направлении от исходящего порта А, связанного с абонентской телефонной установкой или терминалом абонента А, к входящему порту Б, связанному с абонентской телефонной установкой или терминалом абонента Б,
– или передачу исходящих пакетов информации в прямом направлении от исходящего порта А, связанного с абонентской телефонной установкой или терминалом абонента А, к входящему порту Б, связанному с абонентской телефонной установкой или терминалом абонента Б, и передачу входящих пакетов информации в обратном направлении от входящего порта Б, связанного с абонентской телефонной установкой или терминалом абонента Б, к исходящему порту А, связанному с абонентской телефонной установкой или терминалом абонента Б.
Условием выполнения указанных операций известного способа, выбранного в качестве прототипа, и заявляемого способа является то, что в каждом передаваемом (и, соответственно, принимаемом) пакете содержится информация:
– об адресе назначения,
– о порядковом номере пакета,
– о метке времени,
– собственно информация.
Примечание: т.е. та информация, ради передачи которой весь огород и городится.
Основным недостатком известного способа – прототипа пакетной передачи информации является то, что этот способ:
– не обеспечивает накопления информации о содержании всех разговоров, факсимильных сообщений и передаваемых данных для потенциально всех (100%) абонентов сети связи, в результате чего не обеспечивает повышение региональной и государственной безопасности.
Естественно, накопление указанной информации невозможно и для тех абонентов телефонной сети общего пользования (ТФОП), построенной по принципу коммутации каналов, маршрут установления соединения от (к) которых (которым) проходит через упомянутые системы коммутации пакетов.
Кроме того, т.к. в способе – прототипе отсутствует накопление указанной информации, то нет и речи о том, с каким качеством эта информация могла бы накапливаться (с качеством связи, предоставляемым абонентам, или с более высоким качеством – см. ниже).
Цель предлагаемого способа – повышение региональной и государственной безопасности путем накопления информации о содержании всех разговоров, факсимильных сообщений и передаваемых данных абонентами сети связи для потенциально всех (100%) абонентов сети связи.
Другая цель предлагаемого способа – накопление указанной информации от абонентов ТФОП при установлении ими исходящих соединений, маршрут которых проходит через системы коммутации пакетов.
Еще одна цель (достаточно экзотическая и, при этом, чрезвычайно важная) – повышение качества накапливаемой указанной информации по сравнению с качеством исходной информации (с качеством информации, предоставляемой абонентам).
Примечание: на бытовом уровне мы привыкли к тому, что качество записанной информации не может быть выше качества исходной, как скорость не может превышать скорость света или КПД быть выше 100%.
Это повышенное качество накопленной информации может существенно облегчить и повысить точность некоторых специальных процедур, таких, как, например, идентификация личности по голосу.
Заявленный способ, как и известный, выбранный в качестве прототипа, содержит операции и условия их выполнения, приведенные при описании способа – прототипа.
Примечание: известные операции известного способа, совпадающие с операциями заявляемого способа, реализованы, в частности, в заявке “Коммутационная система” №2003116755 от 03 июня 2003 г. на “Полезную модель”, по которой получено положительное решение ФИПСа. Для упрощения описания настоящего предложения на реализации этих известных операций известного способа акцент не делается.
Поставленные выше цели удалось достигнуть, благодаря совокупному введению операций, состоящих в том, что:
– одновременно или повторно передают со стороны исходящего порта А по новому, вторичному адресу назначения каждый пакет информации, передаваемый по первичному адресу назначения от исходящего порта А к входящему порту Б, и каждый пакет информации, передаваемый по первичному адресу назначения от входящего порта Б к исходящему порту А,
– указанную передачу осуществляют по новому, вторичному адресу назначения, соответствующему месту расположения базы данных систем коммутации пакетов и/или базы данных следующего (следующих) иерархического (иерархических) уровня (уровней), и/или базы данных, являющейся централизованной базой данных (хранилищем данных) сети связи или ее фрагмента,
– при передаче пакетов по новому, вторичному адресу сохраняют в каждом исходящем и входящем пакете информацию о порядковом номере пакета и сохраняют собственно информацию;
– сохраняют при этом в каждом исходящем пакете информацию метки времени,
– сохраняют или корректируют при этом в каждом входящем пакете информацию метки времени, учитывая календарное время и время передачи пакета в прямом направлении от абонента А к абоненту Б и в обратном направлении и от абонента Б к абоненту А,
– заменяют, при этом, информацию об адресе назначения исходящих и входящих пакетов на информацию об упомянутом новом вторичном адресе назначения,
– снижают, при этом, приоритет передачи исходящих и входящих пакетов по новому, вторичному адресу по сравнению с приоритетом их передачи по упомянутым первичным адресам,
– обеспечивают, при этом, передачу информации о номерах абонентских телефонных установок или терминалов абонентов А и Б при передаче пакетов по новому, вторичному адресу,
– записывают в упомянутую (упомянутые) базу (базы) данных содержание (более корректно – содержимое – прим. авторов) всех разговоров потенциально всех абонентов сети связи и/или передаваемые ими данные (в том числе и факсимильные),
– дополнительно определяют, при подключении системы коммутации пакетов к ступени абонентского искания электромеханических автоматических телефонных станций (АТС) при их модернизации, номер абонента А, подключенного ступенью абонентского искания электромеханических АТС в процессе установления соединения к исходящему порту А системы коммутации пакетов,
– осуществляют это определение номера абонента А с помощью аппаратуры определения номера (АОН) электромеханических АТС.
Достоинство предлагаемого способа передачи информации в сети связи, обеспечиваемое всей совокупностью признаков, перечисленных в п.1, 2 формулы, состоит в том, что:
– появляется возможность без каких бы то ни было изменений аппаратной части существующей сети связи, в состав которой входят системы коммутации пакетов (в том числе и последняя модификация системы “САПФИР”, разработка которой в настоящее время завершается, – см. приложение, и в алгоритме работы которой уже реализованы вышеуказанные операции заявляемого способа), организовать базу (базы) данных (децентрализованные и/или централизованное хранилище данных) для хранения содержания (содержимого) всех разговоров потенциально всех (100%) абонентов сети связи или передаваемых ими данных.
Примечания:
1) Единственные аппаратные затраты относятся к организации собственно упомянутых баз данных (хранилища данных). Такое решение позволяет минимизировать затраты на организацию записи содержания (содержимого) разговоров абонентов и передаваемых ими данных и обеспечить указанную запись потенциально для всех 100% абонентов сети связи, что создает предпосылки для проведения мероприятий по повышению региональной и государственной безопасности.
2) Функция записи содержания (содержимого) разговора или передаваемых данных сама по себе не является новой и в течение ряда последних лет входит в состав функций “Система организационно-розыскных мероприятий СОРМ” любых систем коммутации, поставляемых на телефонные сети страны. Более того, отсутствие указанных функций системы коммутации в настоящее время затрудняет или вообще препятствует внедрению таких систем на сетях страны. В настоящей заявке, в отличие от системы СОРМ, приводятся операции способа, позволяющие реализовать указанные функции с минимальными затратами для потенциально всех (100%) абонентов.
– появляется возможность взять на контроль, точнее, записать в ту же базу данных, содержание разговоров и/или данные от абонентов электромеханических АТС ТФОП, если маршрут устанавливаемого соединения проходит по сети связи и через системы коммутации пакетов,
– хранение указанных данных в едином хранилище позволяет делать выборки и сортировки из базы данных не только по номеру абонентов, включенных в системы коммутации пакетов сети связи, но и по номеру абонентов, включенных в электромеханические АТС ТФОП,
– срок хранения данных обусловлен характеристиками баз данных, и при современном уровне развития техники может составлять несколько лет (10-20 лет),
– качество записи содержания (содержимого) разговора абонентов А и Б в базе данных может быть существенно выше, чем качество исходного разговора этих абонентов. Повышение качества записи достигается за счет коррекции информации меток времени входящих пакетов. Действительно, при записи информации в базу данных могут быть сведены к нулю все задержки, которые возникают при передаче пакетов в прямом и в обратном направлении (эти задержки могут быть обусловлены недостаточной пропускной способностью канала передачи, недостаточной помехоустойчивостью этого канала и рядом других факторов).
Из всего сказанного можно сделать вывод о том, что предлагаемое техническое решение позволяет решить актуальные вопросы повышения региональной и государственной безопасности путем использования современных информационных технологий сетей связи, в протоколы которых, такие как SIP, RTP, RTCP могут быть легко введены предлагаемые в настоящей заявке операции способа. При этом полностью сохраняются аппаратные средства систем коммутации сети связи. В этом ключе отлично смотрится упомянутая система “САПФИР”.
Примечание: организации, ответственные за обеспечение информационной безопасности страны, будут всячески поддерживать внедрение на сетях связи страны систем с функциональными возможностями, описываемыми в настоящей заявке. Внедрение на сетях связи систем, в которых отсутствуют указанные функциональные возможности, будет частично или полностью ограничено. Эта мысль была неоднократно озвучена на 6ом Всероссийском отраслевом совещании “Безопасное функционирование отрасли связи – составная часть национальной безопасности”, состоявшемся 17-20 июня 2003 г.
На фиг.1 приведен пример сети связи с системами коммутации пакетов, в которой может быть реализован заявляемый способ.
Настоящая заявка базируется на материалах заявки №2003116755 от 03 июня 2003 г. на полезную модель. “Коммутационная система”, в которой описан известный процесс коммутации пакетов информации и в которой также может быть реализован предлагаемый способ.
Примечание: по данной заявке на полезную модель получено положительное решение ФИПС.
Предлагаемый по п.1 формулы способ пакетной передачи информации в сети связи представляет собой совокупность последовательно следующих операций, состоящих в том, что:
– передают исходящие пакеты информации в прямом направлении от исходящего порта А, связанного с абонентской телефонной установкой или терминалом абонента А, к входящему порту Б, связанному с абонентской установкой или терминалом абонента Б,
– или передают исходящие пакеты информации в прямом направлении от исходящего порта А, связанного с абонентской телефонной установкой или терминалом абонента А, к входящему порту Б, связанному с абонентской телефонной установкой или терминалом абонента Б,
и передают входящие пакеты информации в обратном направлении, от входящего порта Б, связанного с абонентской телефонной установкой или терминалом абонента Б, к исходящему порту А, связанному с абонентской телефонной установкой или терминалом абонента Б;
– пакеты информации, передаваемые в прямом и в обратном направлениях, содержат информацию:
– об адресе назначения,
– о порядковом номере пакета,
– о метке времени,
– о собственно информации, являющейся информационной составляющей пакета.
Примечания:
1) Каждый пакет информации состоит из полей, часть которых содержит указанную информацию, а другая часть которых для рассмотрения сути предложения не является определяющей.
2) Состав пакетов информации и содержание этих пакетов не являются операциями способа. Их следует рассматривать как условие выполнения операций заявляемого способа.
– Одновременно (с передачей пакета информации в прямом направлении или приемом пакета информации, передаваемого в обратном направлении) или повторно передают со стороны исходящего порта А по новому, вторичному адресу каждый пакет информации, передаваемый по первичному адресу назначения от исходящего порта А к входящему порту Б, и каждый пакет информации, передаваемый по первичному адресу назначения от входящего порта Б к исходящему порту А,
– указанную передачу осуществляют по новому, вторичному адресу назначения, соответствующему месту расположения базы данных систем коммутации пакетов и/или базы данных следующего (следующих) иерархического (иерархических) уровня (уровней), и/или базы данных, являющейся централизованной базой данных (хранилищем данных) сети связи или ее фрагмента,
– при передаче пакетов по новому, вторичному адресу, сохраняют в каждом исходящем и входящем пакете информации о порядковом номере пакета и сохраняют собственно информацию,
– сохраняют при этом в каждом исходящем пакете информацию метки времени,
– сохраняют или корректируют, при этом, в каждом входящем пакете информацию метки времени, учитывая календарное время и время передачи пакета в прямом направлении от абонента А к абоненту Б и в обратном направлении от абонента Б к абоненту А,
– заменяют, при этом, информацию об адресе назначения исходящих и входящих пакетов на информацию об упомянутом новом адресе назначения,
– снижают, при этом, приоритет передачи исходящих и входящих пакетов по новому, вторичному адресу по сравнению с приоритетом их передачи по упомянутым первичным адресам,
– обеспечивают, при этом, передачу информации о номерах абонентских телефонных установок или терминалов абонентов А и Б при передаче пакетов по новому, вторичному адресу,
– записывают (после приема указанных пакетов, передаваемых по новому, вторичному адресу) в упомянутую (упомянутые) базу (базы) данных содержание (содержимое) разговоров всех абонентов сети связи и/или передаваемые ими данные (в том числе и факсимильные).
Примечание: операции последующих выборок, сортировок, архивирования и другие операции с данными, записанными в указанных базах данных, в настоящей заявке не рассматриваются, т.к. могут совершаться с помощью известных технических средств работы с базами данных,
– дополнительно определяют, при подключении системы коммутации пакетов к ступени абонентского искания электромеханических автоматических телефонных станций (АТС) при их модернизации, номер абонента А, подключенного ступенью абонентского искания электромеханических АТС в процессе установления соединения к исходящему порту А системы коммутации каналов,
– осуществляют это определение номера абонента А с помощью аппаратуры определения номера (АОН) электромеханических АТС.
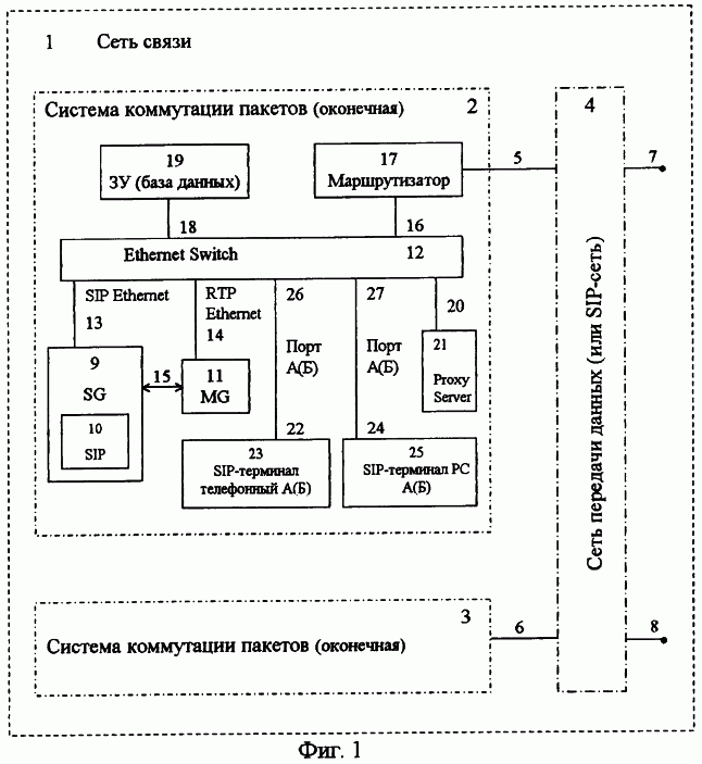
На фиг.1 показана сеть 1 связи, в состав которой входят системы коммутации пакетов информации.
На фиг.1 показаны оконечные системы 2, 3 коммутации пакетов информации, связанные с сетью 4 передачи данных (или SIP-сетью) цепями 5, 6 соответственно. Сеть 4 передачи данных (или SIP-сеть) связана с другими системами коммутации пакетов информации сети 1 связи цепями 7, 8 (эти другие системы на фиг.1 не показаны).
В состав каждой из систем 2, 3 коммутации пакетов входят аппаратно-программные средства, в том числе сигнальный шлюз 9 SG с протоколом 10 пакетной передачи информации Session Initialization Protocol (SIP) или модификацией этого протокола, медиа-шлюз 11 MG, коммутатор 12 локальной вычислительной сети (ЛВС) – Ethernet Switch. В состав программных средств входят также протокол реального времени RTP и транспортный протокол реального времени RTCP (на фиг.1 эти протоколы отдельно не выделены, а входят в состав сигнального шлюза 9 SG и медиа-шлюза 11).
Сигнальный шлюз 9 связан шиной 13 с коммутатором 12 Ethernet Switch. Медиа-шлюз 11 связан шиной 14 с коммутатором 12 Ethernet Switch.
Сигнальный шлюз 9 связан шиной 15 управления с медиа-шлюзом 11.
Коммутатор 12 связан шиной 16 с маршрутизатором 17, который, в свою очередь, связан цепью 5 с сетью 4 передачи данных (или SIP-сетью).
Коммутатор 12, кроме того, связан шиной 18 с запоминающим устройством 19 (с базой данных).
Примечание: в зависимости от конфигурации сети связи и принципов решения задачи обеспечения региональной и государственной безопасности, запоминающее устройство 18 (база данных) для записи содержания (содержимого) разговоров и данных абонентов А и Б может входить в состав оконечной системы коммутации пакетов и/или в состав узловой системы коммутации пакетов и/или в состав централизованного хранилища данных сети связи или ее фрагмента (на фиг.1 узловая система коммутации пакетов и централизованное хранилище не показаны; они изображены на фиг.2).
Из сказанного следует, что элемент 19 в состав систем 2, 3 коммутации пакетов может не входить, если, например, конфигурация сети связи рассчитана на наличие в сети связи централизованного хранилища данных. Тем не менее, на фиг.1 этот элемент, для удобства описания и его конкретизации, изображен.
Коммутатор 12 Ethernet switch связан, кроме того, по шине 20 с модулем 21 переадресации (Proxy server), а также по шине 22 с SIP-терминалом 23 телефонным и по шине 24 с SIP-терминалом 25 компьютерным.
Шина 22 подключена к порту 26 А (Б), а шина 24 подключена к порту 27 А (Б) коммутатора 12 Ethernet switch.
Примечания:
1) Для удобства описания будем считать, что, говоря об исходящей связи от вызывающего абонента А терминала 23 или 24, система коммутации пакетов имеет исходящие порты А 26 и 27. Говоря о входящей связи к вызываемому абоненту Б другой системы коммутации сети связи, эта другая система имеет входящие порты Б 26 и 27, связанные с терминалами 23 и 25 вызываемого абонента Б. В действительности же каждый из портов 26 и 27 является двунаправленным портом, через который можно осуществлять как исходящее соединение, так и входящее соединение.
2) Шины 13, 14, 16, 18, 20, 22 и 24 являются двунаправленными, по ним может быть организована передача информации в прямом и в обратном направлениях.
На фиг.1 элементы с номерами 29 и 30 – отсутствуют. Эти номера зарезервированы.
На фиг.2 показана сеть связи 1, в состав которой, так же, как и в состав сети 1, показанной на фиг.1, входят системы коммутации пакетов.
Примечание: естественно, сеть 1 связи, изображенная на фиг.1 и 2, является одной и той же сетью связи, но для удобства составления описания заявки она изображена (как один и тот же элемент 1) на двух фигурах.
Отличие фиг.2 от фиг.1 состоит в том, что в качестве систем коммутации пакетов на фиг.2 изображены не оконечные системы коммутации пакетов с включенными в них абонентскими телефонными установками или терминалами, а узловая система коммутации пакетов и система коммутации пакетов, в которой организовано централизованное хранилище (база данных) содержания (содержимого) разговоров всех абонентов сети связи и/или передаваемых ими данных (в том числе и факсимильных сообщений).
Для удобства описания будем считать, что на фиг.2 показана сеть 4 передачи данных (или SIP-сеть), связанная цепями 7, 8 с сетью 4, изображенной на фиг.1.
Примечание: если бы фигуры 1 и 2 были изображены на одном листе, необходимость в цепях 7 и 8 (на фиг.1 и на фиг.2) отпала бы сама собой. Отсюда – цепи 7 и 8 следует рассматривать как дополнительные, вспомогательные или, если угодно, – виртуальные (толку от этих цепей, с точки зрения понимания сути предложения, явно немного).
Опять-таки, для удобства описания будем считать, что архитектура и оконечных систем 2, 3 коммутации пакетов (кроме абонентских телефонных установок и терминалов), и архитектура узловой коммутационной системы 31, и архитектура коммутационной системы 32, в которой организовано централизованное хранилище, база данных, совпадают полностью. А из этого совпадения следует, что и система 26, и система 27 содержат сигнальный шлюз 9 SG с протоколом 10 пакетной передачи информации SIP, медиа-шлюз 11 MG, коммутатор 12 локальной вычислительной сети (ЛВС) – Ethernet switch.
В состав программных средств входят, также, протокол реального времени RTP и транспортный протокол реального времени RTCP (эти протоколы отдельно не выделены, а входят в состав программного обеспечения сигнального шлюза 9 SG и медиа-шлюза 11 MG).
В состав систем 31 и 32 коммутации пакетов, изображенных на фиг.2, входят также: коммутатор 12, модуль 21 переадресации (Proxy Server), запоминающее устройство 19 – база данных (правда, с оговорками о том, что наличие/отсутствие элемента 19 в конкретной системе коммутации пакетов зависит от конфигурации системы региональной или государственной безопасности). Кроме того, в состав коммутационных систем 31 и 32, изображенных на фиг.2, входит маршрутизатор 17.
Шины 13, 14, 16, 18, 20, а также цепи 5 и 6 систем коммутации 31 и 32 связывают те же самые элементы, которые эти шины связывают на фиг.1, поэтому более подробно эти связи, чтобы не загромождать описание, не раскрываются.
Система 31 коммутации пакетов связана с сетью 1 связи цепью 33, а система 32 коммутации пакетов связана с сетью 1 связи цепью 34.
Цепи 33 и 34 идентичны цепью 5 и 6 фиг.1.
В настоящей заявке упомянуты материалы заявки №2003116755/20 (018117) от 03.06.2003 г., по которой получено положительное решение ФИПСа. В этой заявке описана коммутационная система, большинство элементов (и связей между ними) которой совпадает с системой коммутации, реализующей заявляемый способ. Упомянутая коммутационная система, как и описываемая в настоящей заявке, может реализовать заявляемый способ (если ее снабдить – дополнительно – запоминающим устройством 19, на котором может быть реализована база данных, и ввести ряд операций заявляемого способа).
Примечание: в последней модификации мультисервисного узла “САПФИР” и в последней версии его программного обеспечения, разработка которых в настоящее время завершается, операции заявляемого способа реализованы в полном объеме.
В связи со сказанным, в рамках настоящей заявки не описывается известный способ передачи пакетной информации (который реализован и подробно описан в заявке №2003116755/20 (018117)), а сразу делается переход к дополнительной передаче информации, необходимой для решения задач безопасности.
Следует отметить, что выполнение операций заявляемого способа в соответствии с п.2 формулы может быть реализовано исключительно с помощью коммутационной системы по заявке на упомянутую “Полезную модель”. Именно поэтому в рамках описания системы, реализующей заявляемый способ, изображенной на фиг.1 и фиг.2, элементы для определения номера вызывающего с помощью аппаратуры определения номера (АОН) не изображены.
Примечание: из сказанного следует, что коммутационную систему, в рамках заявки на “Полезную модель”, следует при рассмотрении настоящей заявки рассматривать не как какой-то вспомогательный вариант реализации заявляемого способа, а как неотъемлемую часть системы, в которой может быть осуществлен заявляемый способ (естественно, с оговорками, о которых шла речь выше).
Итак, рассмотрим основные принципы работы системы, реализующей заявляемый способ.
Предварительно еще раз обратим внимание экспертизы на то, что ключевая роль в системах коммутации пакетов информации отводится протоколу SIP и протоколам RTP/RTCP реального времени, с их структурой организации полей пакетов передаваемой информации (с учетом функционального назначения этих полей).
При рассмотрении работы системы, реализующей заявляемый способ, остановимся на двух задачах:
– задача 1 передачи информации (данных, факсимильных сообщений) от абонента А или его терминальной установки, включенного в оконечную систему 2 коммутации пакетов к абоненту Б или его терминальной установке, включенному в оконечную систему 3 коммутации пакетов;
– задача 2 передачи информации (разговора между двумя абонентами А и Б, включенными соответственно в оконечные системы 2 и 3 коммутации пакетов).
Такое разбиение обусловлено тем, что в задаче 1 имеет место, практически, односторонняя передача информации от абонента А (его терминальной установки) к абоненту Б (его терминальной установке).
В задаче же 2 имеет место двухсторонняя передача информации между абонентами А и Б (разговорный диалог между ними), и требования к заданному качеству записи информации (содержимого разговора в базах данных и/или хранилище данных) являются более трудновыполнимыми.
Итак, процесс установления соединения между абонентами А и Б (или их терминальными установками) мы не рассматриваем, т.к. он подробно описан в Приложении 1.
Так или иначе, в заявляемом способе по сети 1 связи:
– передают исходящие пакеты информации в прямом направлении от исходящего порта А, связанного с абонентской телефонной установкой или терминалом абонента А, к входящему порту Б, связанному с абонентской телефонной установкой или терминалом абонента Б (это – указанная выше задача 1);
– или передают исходящие пакеты информации в прямом направлении от исходящего порта А, связанного с абонентской телефонной установкой или терминалом абонента А, к входящему порту Б, связанному с абонентской телефонной установкой или терминалом абонента Б, и передают входящие пакеты информации в обратном направлении, от входящего порта Б, связанного с абонентской телефонной установкой или терминалом абонента Б, к исходящему порту А связанному с абонентской телефонной установкой или терминалом абонента Б (это – указанная выше задача 2).
При установлении соединения от SIP-терминала 25 PC абонента А системы 2 коммутации пакетов соединение проходит через шину 24, порт 27 А, коммутатор 12 Ethernet Switch, и далее обрабатывается сигнальным шлюзом 9 SG с протоколом 10 SIP и медиа-шлюзом 11, которые связаны с коммутатором 12 шинами 13 и 14 соответственно.
Под управлением сигнального шлюза 9 (который по шине 15 управления связан с медиа-шлюзом 11) соединение проходит через маршрутизатор 17, цепь 5, сеть 4 передачи данных (или SIP-сеть) и далее поступает по цепи 6 в систему коммутации 3, где проходит по указанным путям в обратном направлении (от маршрутизатора 17 системы 3 коммутации пакетов к SIP-терминалу 25 абонента Б).
При установлении соединений от SIP-терминала 23 телефонного абонента А системы 2 коммутации пакетов к SIP-терминалу 23 абонента Б системы 3 коммутации пакетов используются те же самые элементы и связи между ними, что и при установлении соединения между SIP-терминалами 25 компьютерными (это было рассмотрено выше). Исключение составляет только то, что вместо шины 24 и порта 27 используется шина 22 и порт 26.
Теперь рассмотрим специфику заявляемого способа.
Прежде всего следует обратить внимание на структуру передаваемых пакетов информации, которую (структуру) следует рассматривать как условие выполнения операций заявляемого способа.
Каждый пакет информации содержит несколько полей (точнее, каждый пакет разбит на несколько полей), содержимое одних полей для рассмотрения сути заявляемого способа является определяющим, а содержимое других полей для рассмотрения сути заявляемого способа не имеет особого значения.
К определяющим полям пакета информации относятся поля, содержащие информацию:
– об адресе назначения пакета,
– о порядковом номере пакета,
– о метке времени.
Примечание: как правило, эта метка времени является относительной и привязана в большей части к началу установления соединения со стороны А. а также к началу этого соединения на стороне Б,
– о собственно информации, являющейся информационной составляющей пакета (содержимое речи и/или данных).
Для реализации целей настоящего технического решения должны быть выполнены нижеуказанные операции заявляемого способа:
– одновременно (с передачей пакета информации в прямом направлении от абонента А к абоненту Б или приемом пакета информации, передаваемого в обратном направлении от абонента Б к абоненту А) или повторно передают со стороны исходящего порта А по новому, вторичному адресу каждый пакет информации, передаваемый по первичному адресу назначения от исходящего порта А к входящему порту Б, и каждый пакет информации, передаваемый по первичному адресу назначения от входящего порта Б к исходящему порту А.
Новый, вторичный адрес может быть введен (сконфигурирован) в сигнальный шлюз 9 или в модуль 21 переадресации Proxy Server.
Во всех случаях управление передачей указанных пакетов по новому, вторичному адресу осуществляет сигнальный шлюз 9. Информационную составляющую пакета берут из медиа-шлюза 11,
– указанную передачу осуществляют по новому, вторичному адресу, соответствующему месту расположения базы данных систем коммутации пакетов и/или базы данных следующего (следующих) иерархического (иерархических) уровня (уровней), и/или базы данных, являющейся централизованной базой данных (хранилищем данных) сети связи или ее фрагмента.
В рамках систем 2, 3 коммутации пакетов такой базой данных является запоминающее устройство 19, связанное шиной 18 с коммутатором 12. Очевидно, что под управлением сигнального шлюза 9 в запоминающее устройство 19 может быть записана информация, необходимая для обеспечения региональной или государственной безопасности. Путь передачи информации в этом случае – минимальный (от сигнального шлюза 9 и медиа-шлюза 11 через коммутатор 12 Ethernet switch по шине 18 к запоминающему устройству 19).
Если база данных территориально расположена вне оконечной системы 2, 3 коммутации пакетов, то путь передачи пакетов по новому, вторичному адресу должен проходить через сеть 4 передачи данных (или SIP-сеть), для обеспечения чего необходим маршрутизатор 17. В этом случае информация из сигнального шлюза 9 и медиа-шлюза 11 проходит через коммутатор 12 Ethernet switch и маршрутизатор 17 по цепи 5 в сеть 4. Дальнейший путь передаваемой информации обусловлен лишь новым, вторичным адресом. Точкой назначения является запоминающее устройство 19 (база данных, централизованное хранилище одной из систем (31, 32) коммутации пакетов сети 4),
– при передаче пакетов по новому, вторичному адресу сохраняют в каждом исходящем и входящем пакете информацию о порядковом номере пакета и сохраняют собственно информацию.
Примечание: в принципе возможна (в качестве модификации указанной операции) организация новой сквозной нумерации исходящих и входящих пакетов при передаче по новому, вторичному адресу, но такое решение требует некоторого усложнения алгоритма работы сигнального шлюза 9 и в рамках настоящей заявке не детализируется.
– Сохраняют в каждом исходящем пакете информацию метки времени.
– Сохраняют или корректируют в каждом входящем пакете информацию метки времени, учитывая календарное время и время передачи пакета в прямом направлении от абонента А к абоненту Б и в обратном направлении от абонента Б к абоненту А.
Эта операция заявляемого способа позволяет существенно повысить качество разговора абонентов А и Б при записи в запоминающее устройство 19 содержимого этого разговора по сравнению с качеством разговора этих абонентов, реально имевшем место при коммутации пакетов информации системами коммутации пакетов сети связи.
Повышение качества обусловлено тем, что при коррекции в каждом входящем пакете информации метки времени удается скомпенсировать как задержку Т1 передачи пакета в прямом направлении, так и задержку передачи пакета Т2 в обратном направлении, т.е. скомпенсировать суммарное время Т=Т1+Т2.
Переход от относительного времени меток времени каждого пакета к календарному времени способствует более удобному и алгоритмически более оптимальному расположению пакетов прямого и обратного направлений (т.е. исходящих пакетов и входящих пакетов) для их более удобного воспроизведения из запоминающего устройства 19.
Примечание: в одном из старых анекдотов после лекции по телепатии лектору был задан вопрос: “Вы говорили о том, как передавать мысли на расстояние, а где их брать?” В настоящей заявке мы рассматриваем инверсную задачу – где брать содержимое разговоров (или данных) двух абонентов А и Б сети связи (потенциально для всех 100% абонентов) и где их запомнить (в каких базах данных, в каких хранилищах), однако вопрос о том, что с заполненными данными делать, как и по каким алгоритмам их обрабатывать, какие технические (и административные) средства следует задействовать, – выходит за рамки настоящей заявки и не детализируется. Очевидно, что с помощью известных средств работы с базами данных могут быть получены необходимые выборки и сортировки этих данных (по времени, по номеру абонента А, по номеру абонента Б, по дням недели и т.д. и т.п.), а также сделаны все необходимые распечатки этих данных.
– Заменяют (при подготовке пакетов для записи в запоминающее устройство 19 “своей” системы коммутации пакетов или любой другой системы коммутации пакетов сети связи) информацию об адресе назначения исходящих и входящих пакетов на информацию об упомянутом новом, вторичном, адресе назначения.
– Снижают, при этом, приоритет передачи исходящих и входящих пакетов по новому, вторичному адресу по сравнению с приоритетом их передачи по упомянутым первичным адресам.
Это изменение приоритета происходит под управлением сигнального шлюза 9 SG.
– Обеспечивают, при этом, передачу информации о номерах абонентских телефонных установок или терминалов абонентов А и Б при передаче пакетов по новому, вторичному адресу.
Источником информации о номерах абонентов А и Б является сигнальный шлюз 9.
Адрес абонента Б хранится в сигнальном шлюзе 9 в соответствии с набранным абонентом А номером во время всего соединения (нет необходимости его запрашивать у оборудования сети связи). Адрес абонента А формируется в сигнальном шлюзе 9 SG при возникновении заявки на установление исходящего соединения.
– Затем записывают (после приема указанных пакетов, передаваемых по новому, вторичному адресу) в упомянутую (упомянутые) базу (базы) данных содержание (содержимое) разговоров всех абонентов сети связи и/или передаваемые ими данные (в том числе и факсимильные). Запись происходит в запоминающем устройстве 19 одной (или нескольких) систем коммутации пакетов сети связи.
Примечание: повторим, операции последующих выборок, сортировок, архивирования и другие операции с данными, записанными в базы данных (элемент 19), в настоящей заявке не рассматриваются, т.к. могут совершаться с помощью известных технических средств работы с базами данных.
– Дополнительно определяют, в случае подключения системы коммутации пакетов к ступени абонентского искания (см. “Полезную модель”) электромеханических АТС при их модернизации, номер абонента А, подключенного ступенью абонентского искания электромеханических АТС в процессе установления соединения к исходящему порту А системы коммутации каналов.
– Осуществляют указанное определение номера абонента А с помощью аппаратуры определения номера (АОН) электромеханических АТС.
Примечание: эти две последние операции позволяют обеспечить запоминание содержания (содержимого) разговора двух абонентов или передаваемых ими данных (потенциально для всех 100% абонентов), которые включены в аналоговые АТС ТФОП, но маршрут установления которых проходит хотя бы через одну из систем коммутации пакетов. А это, в свою очередь, существенно расширяет количество абонентов, которые могут быть охвачены рассмотренным выше контролем для решения задач безопасности.
В заключение следует еще раз подчеркнуть, что заявляемое техническое решение позволяет, в рамках систем коммутации пакетов фиксированной сети связи, обеспечить (практически без всякого усложнения оборудования, не считая установку запоминающих устройств – баз данных, хранилищ – на одной или нескольких системах коммутации пакетов сети связи), накопление содержания (содержимого) разговора двух абонентов А и Б сети связи для всех (100%) абонентов или данных, передаваемых этими абонентами. Наличие таких данных позволяет обеспечить региональную или государственную безопасность, создать предпосылки для решения одной из актуальнейших задач настоящего времени.
Формула изобретения
Способ записи всех разговоров систем коммутации пакетов в хранилище данных, в состав которой входят системы коммутации пакетов с исходящими портами А и входящими портами Б, содержащий операции передачи исходящих пакетов информации в прямом направлении от исходящего порта А, связанного с абонентской телефонной установкой или терминалом абонента А, к входящему порту Б, связанному с абонентской телефонной установкой или терминалом абонента Б, и входящих пакетов информации в обратном направлении от входящего порта Б, связанного с абонентской телефонной установкой или терминалом абонента Б, к исходящему порту А, связанному с абонентской телефонной установкой или терминалом абонента Б, при содержании в каждом пакете полей с информацией об адресе назначения, порядковом номере пакета, метке времени, календарном времени и собственно передаваемой информации, причем со стороны исходящего порта А каждый пакет информации, передаваемый по первичному адресу назначения от исходящего порта А к входящему порту Б, и каждый пакет информации, передаваемый по первичному адресу назначения от входящего порта Б к исходящему порту А, передают по вторичному адресу назначения, соответствующему месту расположения хранилища данных – базы данных систем коммутации пакетов и/или базы данных следующего иерархического уровня, и/или базы данных, являющейся централизованной базой данных сети связи или ее фрагмента, и записывают в упомянутую базу данных содержание всех разговоров всех абонентов сети связи, при передаче пакетов по вторичному адресу сохраняют в каждом исходящем и входящем пакете информацию о порядковом номере пакета, сохраняют собственно информацию и информацию о календарном времени, отличающийся тем, что в каждом входящем пакете календарное время корректируют на время передачи того исходящего пакета, ответом на который является этот входящий пакет, при этом при передаче исходящих и входящих пакетов по вторичному адресу снижают приоритет их передачи по сравнению с приоритетом их передачи по упомянутым первичным адресам.
РИСУНКИ
MM4A – Досрочное прекращение действия патента СССР или патента Российской Федерации на изобретение из-за неуплаты в установленный срок пошлины за поддержание патента в силе
Дата прекращения действия патента: 01.08.2007
Извещение опубликовано: 27.02.2009 БИ: 06/2009
|