|
|
(21), (22) Заявка: 2003106085/09, 03.03.2003
(24) Дата начала отсчета срока действия патента:
03.03.2003
(43) Дата публикации заявки: 27.09.2004
(45) Опубликовано: 10.08.2005
(56) Список документов, цитированных в отчете о поиске:
RU 2130227 C1, 10.05.1999. SU 1363392 А, 30.12.1987. SU 1474807 A, 23.04.1989. SU 1762371 А, 15.09.1992. US 4053817 А, 11.10.1977.
Адрес для переписки:
450000, г.Уфа, ул. Карла Маркса, 12, УГАТУ, отдел интеллектуальной собственности
|
(72) Автор(ы):
Исмагилов Ф.Р. (RU), Хайруллин И.Х. (RU), Трофимов А.В. (RU)
(73) Патентообладатель(и):
Уфимский государственный авиационный технический университет (RU)
|
(54) ЭЛЕКТРОМАГНИТНЫЙ ВИБРАТОР (ВАРИАНТЫ)
(57) Реферат:
Изобретение относится к электротехнике и может быть использовано для привода виброинструментов и в других устройствах, использующих вибрацию. Технический результат заключается в максимальном упрощении конструкции и расширении функциональных возможностей. Электромагнитный вибратор переменного тока выполнен из ферромагнитного материала, внутри которого проходит шина переменного тока. При этом он представляет собой одно тело, выполненное из упругого ферромагнитного материала в виде спирали, намотанной так, что диаметр ее второго витка больше диаметра первого витка либо равен ему. В зависимости от этого силы притяжения между рабочими частями перпендикулярны либо параллельны ее образующей. При выполнении спирали из N витков и диаметре каждого последующего ее витка больше диаметра предыдущего внешний конец спирали жестко закреплен. При выполнении кольца с прорезью, выполненной под углом к образующей кольца, обеспечиваются нормальная и тангенциальная составляющие силы притяжения рабочих частей, позволяющие им совершать сложные колебания параллельно и перпендикулярно образующей кольца. 3 н.п. ф-лы, 4 ил. 
Изобретение относится к электротехнике и может быть использовано для привода виброинструментов и в других устройствах, использующих вибрацию.
Известен двухтактный электромагнитный вибратор [А.С. СССР № 1762371, МКИ4 Н 02 К 33/14, опубликовано 15.09.92], содержащий два электромагнита переменного тока, ферромагнитный якорь, жестко связанный с подвижной частью, упругую систему подвески подвижной части.
Известен электромагнитный вибратор [А.С. СССР № 1474807, МКИ4 Н 02 К 33/14, опубликовано 23.04.89], содержащий Н-образный сердечник с трехфазной обмоткой, две обмотки намотаны на продольные стержни сердечника, а третья с противоположной намоткой на поперечный стержень сердечника. Последовательно с первыми двумя обмотками включены полупроводниковые выпрямительные элементы.
Известен электромагнитный вибратор [А.С. CCCP № 1363392, МКИ4 Н 02 К 33/12, В 06 В 1/04, опубликовано 30.12.87], содержащий электромагнит переменного тока, ферромагнитный якорь, закрепленный на подвижной системе, и систему управления, содержащую источник питания переменного тока, конденсатор, включенный между источником и обмоткой.
Общим недостатком перечисленных устройств является сложность конструкции.
Наиболее близким по технической сущности и достигаемому эффекту является электромагнитный вибратор [Патент № 2130227, МКИ 6 Н 02 К 33/00, 33/14, опубликовано 04.02.98], содержащий электромагнит и якорь, выполненные в виде двух одинаковых подвижных рабочих частей с зазором между ними, размещенных на шине с переменным током. Каждая из частей представляет собой пару полуколец из ферромагнитного материала, скрепленных шайбами из немагнитного материала.
Недостатком данного вибратора является то, что вибратор содержит большое количество элементов.
Задачей, на решение которой направлено заявляемое изобретение, является максимальное упрощение конструкции и расширение функциональных возможностей электромагнитных вибраторов.
В первом варианте поставленная задача достигается тем, что электромагнитный вибратор переменного тока выполнен из ферромагнитного материала и содержит шину переменного тока, при этом шина проходит внутри колец, обеспечивая функцию оси, в отличие от прототипа представляет собой одно тело, сделанное из упругого ферромагнитного материала и выполненное в виде спирали, причем спираль наматывается так, что диаметр второго витка больше диаметра первого витка.
Во втором варианте поставленная задача достигается тем, что электромагнитный вибратор переменного тока выполнен из ферромагнитного материала и содержит шину переменного тока, при этом шина проходит внутри колец, обеспечивая функцию оси, в отличие от прототипа представляет собой одно тело, сделанное из упругого ферромагнитного материала и выполненное в виде спирали, причем спираль наматывается так, что диаметр второго витка равен диаметру первого витка.
В третьем варианте поставленная задача достигается тем, что электромагнитный вибратор переменного тока выполнен из ферромагнитного материала и содержит шину переменного тока, при этом шина проходит внутри колец, обеспечивая функцию оси, в отличие от прототипа представляет собой одно тело, сделанное из упругого ферромагнитного материала и выполненное в виде спирали, содержащей N витков, причем спираль наматывается так, что диаметр каждого последующего витка больше диаметра предыдущего.
В четвертом варианте поставленная задача достигается тем, что электромагнитный вибратор переменного тока выполнен из ферромагнитного материала и содержит шину переменного тока, при этом шина проходит от прототипа электромагнитный вибратор представляет собой одно тело, выполненное в виде кольца с прорезью, выполненной под углом к образующей кольца.
Существо устройства поясняется чертежами, где
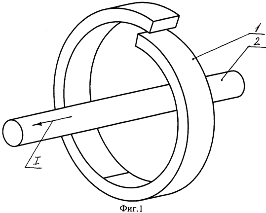
– на фиг.1 изображен электромагнитный вибратор, сделанный в виде спирали, намотанной так, что диаметр первого витка меньше диаметра второго витка;
– на фиг.2 – электромагнитный вибратор, сделанный в виде спирали, намотанной так, что диаметр первого витка равен диаметру второго витка;
– на фиг.3 – электромагнитный вибратор, сделанный в виде спирали, содержащей N витков и намотанной так, что диаметр предыдущего витка меньше диаметра последующего витка;
– на фиг.4 – электромагнитный вибратор, сделанный в виде кольца с прорезью, выполненной под углом к образующей кольца.
Электромагнитный вибратор содержит одно тело 1, выполненное в виде спирали или кольца с прорезью из упругого ферромагнитного материала. Внутри тела проходит шина 2 с переменным током.
Электромагнитный вибратор работает следующим образом. Если электромагнитный вибратор выполнен согласно фиг.1, то переменный ток, протекая по шине 2, возбуждает в магнитной цепи вибратора 1 переменный магнитный поток. Между рабочими частями вибратора возникают переменные магнитные силы притяжения, которые будут перпендикулярно направлены к образующей спирали. Рабочие части начинают сближаться. Сила притяжения между ними возрастает, одновременно возрастает сила противодействия упругости материала вибратора. В определенный момент времени сила притяжения начинает уменьшаться, и когда сила упругости превысит силу притяжения, рабочие части возвратятся в исходное положение. Далее, сила притяжения снова начинает возрастать и цикл повторяется. Если электромагнитный вибратор выполнен согласно фиг.2, то магнитные силы будут параллельны образующей спирали и возникнут аксиальные колебания.
В третьем варианте фиг.3, когда спираль содержит N витков, вибратор будет работать следующим образом. Внешний конец спирали вибратора жестко закреплен, внутренний конец вибратора соединен с балкой 3, которая подвижно закреплена на подвижных опорах 4. Тогда при протекании переменного тока по шине 2 возникают магнитные силы, которые будут сжимать спираль, а следовательно, и поворачивать балку на некоторый угол. Сила притяжения возрастает, спираль закручивается еще больше, одновременно возрастает сила противодействия упругости материала вибратора. В определенный момент времени сила притяжения начинает уменьшаться, и когда сила упругости превысит силу притяжения, рабочие части возвратятся в исходное положение. Далее, сила притяжения снова начинает возрастать и цикл повторяется.
Если вибратор выполнен в виде кольца с прорезью фиг.4, то при протекании переменного тока по шине 2 появившиеся между рабочими частями вибратора переменные магнитные силы притяжения из-за того, что прорезь выполнена под углом к образующей кольца, имеют две составляющие, нормальную и тангенциальную, что позволит вибратору совершать сложные колебания: параллельно и перпендикулярно образующей кольца.
Использование предлагаемых вибраторов в промышленности обеспечит следующие преимущества.
1. Низкая себестоимость и высокая технологичность конструкции.
2. Обеспечения сложного движения приводимого механизма без дополнительных затрат.
3. Возможность работы при высоких температурах и в агрессивных средах.
Формула изобретения
1. Электромагнитный вибратор переменного тока, выполненный из ферромагнитного материала, внутри которого проходит шина переменного тока, отличающийся тем, что он представляет собой одно тело, выполненное из упругого ферромагнитного материала в виде спирали, намотанной так, что диаметр ее второго витка больше диаметра первого витка и силы притяжения между рабочими частями перпендикулярны ее образующей.
2. Электромагнитный вибратор переменного тока, выполненный из ферромагнитного материала, внутри которого проходит шина переменного тока, отличающийся тем, что он представляет собой одно тело, выполненное из упругого ферромагнитного материала в виде спирали, намотанной так, что диаметр второго ее витка равен диаметру первого витка и силы притяжения между рабочими частями параллельны ее образующей.
3. Электромагнитный вибратор переменного тока, выполненный из ферромагнитного материала, внутри которого проходит шина переменного тока, отличающийся тем, что он представляет собой одно тело, выполненное из упругого ферромагнитного материала в виде спирали, содержащей N витков, намотанных так, что диаметр каждого последующего ее витка больше диаметра предыдущего, при этом внешний конец спирали жестко закреплен.
4. Электромагнитный вибратор переменного тока, выполненный из ферромагнитного материала, внутри которого проходит шина переменного тока, отличающийся тем, что он представляет собой одно тело, выполненное из упругого ферромагнитного материала в виде кольца с прорезью, выполненной под углом к образующей кольца, обеспечивая нормальную и тангенциальную составляющие силы притяжения рабочих частей, позволяющие им совершать сложные колебания параллельно и перпендикулярно образующей кольца.
РИСУНКИ
MM4A – Досрочное прекращение действия патента СССР или патента Российской Федерации на изобретение из-за неуплаты в установленный срок пошлины за поддержание патента в силе
Извещение опубликовано: 20.04.2007 БИ: 11/2007
|
|