|
|
(21), (22) Заявка: 2004105583/09, 24.02.2004
(24) Дата начала отсчета срока действия патента:
24.02.2004
(45) Опубликовано: 10.08.2005
(56) Список документов, цитированных в отчете о поиске:
US 5224575 А, 06.07.1993. SU 1794706 А1, 15.02.1993. SU 1789370 А1, 23.01.1993. RU 34908 U1, 20.12.2003. FR 2378648, 25.08.1978. US 4378909 А, 05.04.1983.
Адрес для переписки:
305000, г.Курск, а/я 110, Ш.Р. Гойзману
|
(72) Автор(ы):
Иванов А.М. (RU)
(73) Патентообладатель(и):
Закрытое акционерное общество “КВАРЦ” (RU)
|
(54) ТОКОПРОВОДЯЩИЙ СОЕДИНИТЕЛЬ РЕЛЬСОВОЙ ЦЕПИ
(57) Реферат:
Изобретение относится к электротехнике, в частности к линейным соединителям, и может быть использовано для соединения железнодорожных рельсов в рельсовую цепь. Техническим результатом является снижение трудоемкости изготовления токопроводящего соединителя, сборки стыковочного узла и его разборки при ремонте наиболее распространенных низко- и среднескоростных железнодорожных магистралей. В токопроводящем соединителе рельсовой цепи, содержащем плоские токопроводящие пластины, контактирующие с шейками соединяемых рельсов, пружины, поджимающие токопроводящие пластины к плоскостям шеек рельсов, комплект стяжных болтов с накладками, причем в накладках, пружинах, в шейках соединяемых рельсов и в токопроводящих пластинах для стяжных болтов предусмотрены сквозные отверстия, токопроводящие пластины имеют поперечные изгибы посередине и размещены с обоих сторон шеек соединяемых рельсов изгибами наружу, а пружины, поджимающие токопроводящие пластины к плоскостям шеек рельсов, надеты попарно на каждый стяжной болт по разные стороны шеек соединяемых рельсов и размещены между накладкой и токопроводящей пластиной. При этом токопроводящая пластина выполнена из малоуглеродистой стали, ее поперечный изгиб имеет волнообразную форму, а пружины являются витыми телескопическими, поджимающими токопроводящие пластины к плоскостям шеек рельсов витками наибольшего радиуса. 3 з.п. ф-лы, 2 ил. 
Изобретение относится к электротехнике, в частности к линейным соединителям, и может быть использовано для соединения железнодорожных рельсов в рельсовую цепь.
Необходимость использования таких соединителей связана с тем, что рельсовый путь всегда вынужден содержать воздушные зазоры между торцами отдельных рельсовых звеньев для компенсации их линейных тепловых изменений. Уже известна конструкция токопроводящего соединителя рельсовой цепи, выполненного в виде двух клемм из низкоуглеродистой стали, охватывающих концы многожильного провода (например, клемма раздельного рельсового скрепления железнодорожного пути по ГОСТ СССР 22343-90, группа В42). Клеммы, как правило, приваривают к соответствующим боковым поверхностям шеек двух рельсов в зоне их стыка на таком расстоянии друг от друга, которое обеспечивает провисание многожильного провода. Это провисание обеспечивает надежное электрическое соединение рельсовой цепи при любых термических изменениях длины рельсовых звеньев.
Недостатками данной конструкции является отсутствие ремонтопригодности соединителей таких конструкций и, как следствие, повышенные затраты труда при ремонте верхних строений железнодорожных путей.
Известна также конструкция токопроводящего соединителя рельсовой цепи, содержащего плоские токопроводящие пластины, контактирующие с шейками соединяемых рельсов, пружины, поджимающие токопроводящие пластины к плоскостям шеек рельсов, комплект стяжных болтов с накладками, причем в накладках, пружинах, в шейках соединяемых рельсов и в токопроводящих пластинах предусмотрены сквозные отверстия для стяжных болтов (патент США №5224575, НПК 191/22, опубл. 06.07.1993). В этом токопроводящем соединителе токопроводящая пластина выполнена из алюминия и размещена между продольными стыковочными плоскостями двух смежных рельсов, соединяемых «внахлест». Компенсация тепловых изменений рельсовых звеньев при этом обеспечивается за счет гарантированного зазора между торцами рельсов, размещения головок стяжных болтов в продольном пазу, выполненном в шейке одного из сочленяемых рельсов, и установкой под головками болтов тарельчатых пружин, поджимающих стыковочные плоскости рельсов друг к другу.
Выполнение такой конструкции токопроводящего соединителя требует точной выфрезеровки продольного участка каждого конца стыкуемого рельса и больших энергетических затрат, т.к. рельсы изготавливаются из высоколегированных сталей, плохо поддающихся механической обработке. Такая конструкция токопроводящего соединителя очень трудоемка и оправдывает себя только на высокоскоростных магистралях, где решается задача предотвращения эрозийного износа рельсовых стыков.
Задачей новой конструкции токопроводящего соединителя являлось снижение трудоемкости его изготовления, сборки стыковочного узла и его разборки при ремонте и при строительстве наиболее распространенных низко- и среднескоростных железнодорожных магистралей.
Задача решается тем, что в известном токопроводящем соединителе рельсовой цепи (содержащем плоские токопроводящие пластины, контактирующие с шейками соединяемых рельсов, пружины, поджимающие токопроводящие пластины к плоскостям шеек рельсов, комплект стяжных болтов с накладками, причем в накладках, пружинах, в шейках соединяемых рельсов и в токопроводящих пластинах для стяжных болтов предусмотрены сквозные отверстия) токопроводящие пластины имеют поперечные изгибы посередине и размещены с обоих сторон шеек соединяемых рельсов изгибами наружу, а пружины, поджимающие токопроводящие пластины к плоскостям шеек рельсов, надеты попарно на каждый стяжной болт по разные стороны шеек соединяемых рельсов и размещены между накладкой и токопроводящей пластиной. При этом токопроводящая пластина выполнена из малоуглеродистой стали, ее поперечный изгиб имеет волнообразную форму, а пружины являются витыми телескопическими, поджимающими токопроводящие пластины к плоскостям шеек рельсов витками наибольшего радиуса.
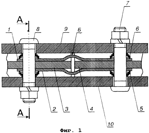
Токопроводящий соединитель рельсовой цепи иллюстрируется чертежами, где:
на фиг.1 изображен токопроводящий соединитель рельсовой цепи в разрезе, а
на фиг.2 – сечение токопроводящего соединителя рельсовой цепи, показанного на фиг.1, по линии А-А.
Как показано на фиг.1 и 2, токопроводящий соединитель рельсовой цепи содержит плоские токопроводящие пластины 1 и 2, контактирующие с шейками соединяемых рельсов 3 и 4, две пары пружин 5 и 6, поджимающие токопроводящие пластины 1 и 2 к плоскостям шеек рельсов 3 и 4, комплект из двух болтов 7 и 8 и двух накладок 9 и 10. Разумеется, токопроводящий соединитель рельсовой цепи может содержать и четыре и шесть болтовых соединений (с шайбами и гайками) с соответствующим количеством пружин. Токопроводящие пластины 1 и 2 выполнены из малоуглеродистой стали, имеющей удельное сопротивление в полтора раза ниже, чем удельное сопротивление легированной стали рельсов 3 и 4. Для обеспечения жесткого контакта между токопроводящими пластинами 1 и 2 и шейками рельсов 3 и 4 в накладках 9 и 10, пружинах 5 и 6, в шейках соединяемых рельсов 3 и 4 и в токопроводящих пластинах 1 и 2, для стяжных болтов предусмотрены сквозные отверстия, в которых размещены болты 7 и 8. Как показано на фиг.1, сквозные отверстия в накладках 9 и 10 под головками болтов 7 и 8 имеют форму паза, длина которого достаточна для компенсации теплового изменения длины отдельных рельсовых звеньев. Каждая токопроводящая пластина 1 и 2 имеет поперечный изгиб Б посередине. Поперечный изгиб Б токопроводящих пластин 1 и 2 предпочтительно имеет волнообразную (радиусную) форму. При этом пластины 1 и 2 относительно шеек рельсов 3 и 4 размещены по обе их стороны изгибами Б наружу. Пружины 5 и 6, поджимающие токопроводящие пластины 1 и 2 к плоскостям шеек рельсов 3 и 4, надеты (фиг.2) попарно на каждый стяжной болт 7 и 8 по разные стороны шеек соединяемых рельсов 3 и 4 так, что каждая из них размещена между накладкой 9 (10) и токопроводящей пластиной 1 (2). Пружины 5 и 6 предпочтительно являются витыми телескопическими, поджимающими токопроводящие пластины к плоскостям шеек рельсов витками наибольшего радиуса с усилием до 300 кг. Возможным, но несколько менее эффективным, является использование тарельчатых пружин. При любом тепловом изменении длин двух смежных рельсовых звеньев происходит прямолинейное перемещение их торцов относительно друг друга. Например, торец рельса 3, жестко связанный болтом 8 с прокладкой 10, и торец рельса 4, жестко связанный болтом 7 с прокладкой 9, при нагреве приближаются друг к другу. При этом болты 7 и 8 скользят по продольным пазам в накладках 10 и 9, а волнообразные изгибы Б токопроводящих пластин 1 и 2 деформируются за счет уменьшения радиуса кривизны, оставаясь в плотном контакте с шейками рельсов 3 и 4 под воздействием телескопических пружин 5 и 6. Аналогичный характер перемещения рельсов происходит и при охлаждении рельсов, при которых волнообразные изгибы Б токопроводящих пластин 1 и 2 деформируются за счет увеличения радиуса кривизны. Токопроводящие пластины 1 и 2 в местах, предназначенных для их контакта с шейками рельсов, имеют рифленную поверхность и цементируются на глубину 0,5 мм. Благодаря этому контактная рифленая поверхность токопроводящих пластин 1 и 2 имеет твердость, превышающую твердость поверхности шейки рельсов 3 и 4, что обеспечивает внедрение рифлений в шейку рельса и надежный контакт. При цементации сердцевина токопроводящей пластины остается мягкой, что исключает ее поломку.
Формула изобретения
1. Токопроводящий соединитель рельсовой цепи, содержащий плоские токопроводящие пластины, контактирующие с шейками соединяемых рельсов, пружины, поджимающие токопроводящие пластины к плоскостям шеек рельсов, комплект стяжных болтов с накладками, причем в накладках, пружинах, в шейках соединяемых рельсов и в токопроводящих пластинах для стяжных болтов предусмотрены сквозные отверстия, отличающийся тем, что каждая токопроводящая пластина имеет поперечный изгиб посередине, токопроводящие пластины размещены с обеих сторон шеек соединяемых рельсов изгибами наружу, а пружины, поджимающие токопроводящие пластины к плоскостям шеек рельсов, надеты попарно на каждый стяжной болт по разные стороны шеек соединяемых рельсов и размещены между накладкой и токопроводящей пластиной.
2. Токопроводящий соединитель рельсовой цепи по п.1, отличающийся тем, что токопроводящая пластина выполнена из малоуглеродистой стали.
3. Токопроводящий соединитель рельсовой цепи по п.1, отличающийся тем, что поперечный изгиб токопроводящей пластины имеет волнообразную форму.
4. Токопроводящий соединитель рельсовой цепи по п.1, отличающийся тем, что пружины являются витыми телескопическими, поджимающими токопроводящие пластины к плоскостям шеек рельсов витками наибольшего радиуса.
РИСУНКИ
|
|