|
|
(21), (22) Заявка: 2004109852/28, 31.03.2004
(24) Дата начала отсчета срока действия патента:
31.03.2004
(45) Опубликовано: 10.08.2005
(56) Список документов, цитированных в отчете о поиске:
US 5491879 А, 20.02.1996. RU 2066856 C1, 20.09.1996. RU 2160428 С2, 10.12.2000. US 2003224551 A1, 04.12.2003. ЕР 1154497 А2, 14.11.2001.
Адрес для переписки:
607188, Нижегородская обл., г. Саров, пр. Мира, 37, ФГУП “РФЯЦ-ВНИИЭФ”, начальнику ОПИНТИ
|
(72) Автор(ы):
Толстиков И.Г. (RU), Мартынов А.П. (RU), Фомченко В.Н. (RU), Погодин Е.П. (RU), Долгов В.И. (RU)
(73) Патентообладатель(и):
Российская Федерация, от имени которой выступает государственный заказчик – Министерство Российской Федерации по атомной энергии – Минатом РФ (RU), Федеральное государственное унитарное предприятие “Российский Федеральный ядерный центр – Всероссийский научно-исследовательский институт экспериментальной физики” – ФГУП “РФЯЦ-ВНИИЭФ” (RU)
|
(54) ПЬЕЗОЭЛЕКТРИЧЕСКИЙ ДАТЧИК И СПОСОБ ЕГО ИЗГОТОВЛЕНИЯ
(57) Реферат:
Изобретение относится к измерительной технике, конкретнее к области электрических измерений параметров импульсных механических нагрузок в виброакустике и физике взрыва. Сущность: пьезоэлектрический датчик содержит две идентичные, диэлектрические пластины из сегнетоэлектрической пьезопленки. Каждая пластина содержит отдельную поляризованную область с электродами на ее противоположных поверхностях, которая служит чувствительным элементом датчика. Вектор поляризации пластин перпендикулярен электродам. Измерительные токовыводы в виде плоскопараллельных полосок нанесены на противоположные поверхности пьезопленки и электрически соединены с электродами. Обе пластины соединены поверхностями с однополярными электродами симметрично друг другу. Образовавшиеся таким образом внешние и внутренние измерительные токовыводы соединены электрически попарно соответственно, а их поперечные размеры выбраны из соотношения >w+2b, где – ширина внешних токовыводов; w – ширина внутренних токовыводов; b – расстояние между внешними токовыводами. Способ изготовления пьезоэлектрического датчика заключается в формировании чувствительного элемента датчика путем выделения заданной области диэлектрической пластины из сегнетоэлектрической пьезопленки, расположении электродов на ее противоположных поверхностях, электрической поляризации выделенной области и в нанесении на противоположные поверхности пластины измерительных токовыводов в виде плоскопараллельных полосок, электрически соединенных с электродами. Соединяют две идентичным образом выполненные пластины поверхностями с однополярными электродами симметрично друг другу. Измерительные токовыводы на каждой пластине формируют путем увеличения площади соответствующих электродов. Образовавшиеся таким образом внешние и внутренние измерительные токовыводы соединяют электрически попарно соответственно. Технический результат: повышение качества изготовления пьезоэлектрического датчика, уменьшение количества бракованных изделий, повышение помехозащищенности от электромагнитных наводок, расширение области применения. 2 н.п. ф-лы, 4 ил. 
Изобретение относится к измерительной технике, конкретнее к области электрических измерений параметров импульсных механических нагрузок в виброакустике и физике взрыва.
Известен пьезоэлектрический датчик давления и способ его изготовления (аналог) на основе пьезопленки из поливинилиденфторида (ПВДФ, PVDF) (П.А.Уртьев, Р.М.Эриксон, Б.Хейс, М.Л.Паркер. Измерение давления и массовой скорости в твердых телах при динамическом нагружении. ФГВ, 1986, №5, с.113-126 (перевод с англ.)). Чувствительный элемент (ЧЭ) датчика изготовлен из полимерной пьезопленки марки PVF2 толщиной приблизительно 25 мкм. Электроды ЧЭ нанесены методом вакуумного напыления и представляют собой две частично перекрещивающиеся полоски металла (золота, меди), расположенные с обеих сторон пьезопленки. Собственно чувствительная зона ЧЭ формируется в процессе электрической поляризации пьезопленки в области этого пересечения, при этом вектор поляризации направлен перпендикулярно электродам. Ширина полосок составляет 2 мм, толщина меньше 1 мкм. Электрические токовыводы (полоски) ЧЭ вне области пересечения расположены параллельно друг к другу на расстоянии нескольких миллиметров, имеют длину приблизительно 50 мм и соединены электрически с внешними токовыводами. ЧЭ изолирован с обеих сторон полиимидной или тефлоновой пленкой толщиной 12 мкм и более.
Недостатком известного пьезодатчика является большая паразитная индуктивность измерительного тракта – двухпроводной линии передачи, содержащей электроды и токовыводы. Это приводит к значительному искажению полезного сигнала.
Недостатком известного способа изготовления пьезоэлектрического датчика является использование измерительного тракта в качестве силовой цепи в процессе электрической поляризации пьезопленки. Это приводит к необходимости разнесения токовыводов на значительное расстояние, что и приводит к существенному увеличению паразитной индуктивности измерительного тракта.
Наиболее близким по технической сущности к заявляемому (прототипом) является пьезоэлектрический датчик давления на основе полимерной сегнетоэлектрической пьезопленки и способ его изготовления (F.Bauer. Procedure to Polarize at least One Zone of a Foil of Ferroelectric Material to Produce a Polarized Element for Piezoelectric or Pyroelectric Tranducers. Patent US 5491879, 1996-02-20, H 04 R 17/00). При изготовлении ЧЭ такого датчика используется оригинальная технология поляризации отдельных зон сегнетоэлектрической пьезопленки, согласно которой чувствительная зона формируется на пьезопленке с помощью накладных электродов под давлением 50-100 МПа, которые после поляризации удаляются. Затем на пьезопленку напыляются электроды и измерительные токовыводы заданной конфигурации. В результате оптимальной с точки зрения уменьшения паразитной индуктивности является конфигурация токовыводов в виде двух плоскопараллельных полосок, нанесенных с противоположных сторон пьезопленки, с нулевым зазором между их проекциями на плоскость. При этом в области чувствительной зоны электроды перекрывают друг друга (их проекции совпадают), а вектор поляризации ЧЭ направлен перпендикулярно электродам. Это позволяет уменьшить паразитную индуктивность приблизительно в 50-80 раз по сравнению с предыдущим способом. Геометрические размеры и внешняя изоляция ЧЭ такие же, как и у рассмотренного выше датчика.
Недостатками известных (аналога и прототипа) датчиков являются низкая помехозащищенность от электромагнитных наводок, а также зависимость их волнового сопротивления от присутствия вблизи них проводящих тел, что связано с использованием в качестве измерительного тракта открытой двухпроводной линии передачи. Это снижает достоверность измерений и ограничивает область их применения.
Недостатком известного способа изготовления датчика является неконтролируемое ухудшение его качества, связанное с процессами электрической поляризации под давлением и удаления накладных электродов, вследствие образования дефектов на поверхности пьезопленки. Это приводит к росту количества бракованных изделий среди готовой продукции.
Задача, на решение которой направлено заявляемое изобретение (устройство), заключается в создании конструкции помехозащищенного пьезоэлектрического датчика.
Технический результат, достигаемый при осуществлении предлагаемого изобретения, заключается в повышении помехозащищенности датчика от электромагнитных наводок и расширении области его применения.
Это достигается тем, что в пьезоэлектрическом датчике, содержащем диэлектрическую пластину из сегнетоэлектрической пьезопленки, отдельная поляризованная область которой с электродами на ее противоположных поверхностях служит чувствительным элементом, вектор поляризации которого перпендикулярен электродам, и измерительные токовыводы в виде плоскопараллельных полосок, нанесенные на противоположные поверхности пьезопленки и электрически соединенные с электродами, новым является то, что дополнительно введена диэлектрическая пластина, выполненная идентично указанной, при этом обе пластины соединены поверхностями с однополярными электродами симметрично друг другу, причем образовавшиеся таким образом внешние и внутренние измерительные токовыводы соединены электрически попарно соответственно, а их поперечные размеры выбраны из соотношения >w+2b,
где – ширина внешних токовыводов;
w – ширина внутренних токовыводов;
b – расстояние между внешними токовыводами.
Задача, на решение которой направлено заявляемое изобретение (способ), заключается в создании простого способа изготовления пьезодатчика без использования накладных электродов.
Технический результат, достигаемый при осуществлении предлагаемого изобретения, заключается в повышении качества изготовления пьезоэлектрического датчика и уменьшении количества бракованных изделий.
Это достигается тем, что в способе изготовления пьезоэлектрического датчика, заключающемся в формировании чувствительного элемента датчика путем выделения заданной области диэлектрической пластины из сегнетоэлектрической пьезопленки, расположения электродов на ее противоположных поверхностях, электрической поляризации выделенной области и в нанесении на противоположные поверхности пластины измерительных токовыводов в виде плоскопараллельных полосок, электрически соединенных с электродами, новым является то, что используют дополнительную пластину, выполненную идентично указанной, соединяют обе пластины поверхностями с однополярными электродами симметрично друг другу, при этом измерительные токовыводы на каждой пластине формируют путем увеличения площади соответствующих электродов, а образовавшиеся таким образом внешние и внутренние измерительные токовыводы соединяют электрически попарно соответственно.
Техническая сущность заявляемого способа поясняется следующим образом. При изготовлении каждой пластины, как и в известном аналоге, используется стандартная технология производства чувствительных элементов датчиков ПВДФ (R.P.Reed, R.A.Graham, L.M.Moore, L.M.Lee, D.J.Fogelson, F.Bauer. The Sandia Standard for PVDF Shock Sensors. In: Shock Compression of Condensed Matter-1989, Elsevier Science Publishers B.V., 1990, pp.825-828), в которой электрическая поляризация осуществляется с помощью неудаляемых электродов, нанесенных, например, методом вакуумного напыления. Затем этим же методом наносятся на каждую пластину измерительные токовыводы в виде плоскопараллельных полосок, как и в прототипе. Но в отличие от прототипа формирование измерительных токовыводов производится путем увеличения площади электродов, использовавшихся в процессе поляризации, без удаления последних. После соединения обеих пластин поверхностями с однополярными электродами симметрично друг другу и электрического попарного соединения соответственно образовавшихся таким образом внешних и внутренних измерительных токовыводов полученная конструкция представляет собой пьезоэлектрический датчик с двумя ЧЭ. При этом электрически эти ЧЭ соединены параллельно согласно и, следовательно, функционируют как один ЧЭ удвоенной толщины.
Отметим, что одним из преимуществ предлагаемого способа является уменьшение электрического сопротивления в области контакта электродов и токовыводов за счет максимального увеличения площади контакта, что повышает качество изготовления.
Техническая сущность заявляемого пьезоэлектрического датчика заключается в выполнении его, в соответствии с описанным выше способом, в виде симметричной малоиндуктивной экранированной и закрытой линии передачи. Действительно, указанная выше конструкция датчика, выполненная в соответствии с отличительными признаками формулы, с электрической точки зрения представляет собой (трехпроводную) симметричную полосковую линию, обладающую минимальной паразитной индуктивностью (Справочник по элементам полосковой техники. Под ред. А.Л.Фельдштейна. – М.: Связь, 1979, 336 с.). Более того, выполнение пьезодатчика в соответствии с указанным соотношением (относительно геометрических размеров токовыводов) делает эту конструкцию практически полностью экранированной и закрытой (см. предыдущую ссылку), что повышает помехозащищенность пьезодатчика от электромагнитных наводок, а также обеспечивает независимость волнового сопротивления от присутствия вблизи него проводящих тел, что, в свою очередь, важно для электрического согласования ЧЭ датчика с измерительным трактом и, следовательно, уменьшения искажения регистрируемого сигнала.
Важным преимуществом предлагаемого датчика является отсутствие необходимости использовать внешнюю изоляцию, что позволяет размещать его непосредственно в проводящей среде, например, в металлах или взрывчатом веществе (продуктах детонации), упрощает проведение измерений и расширяет область его применения.
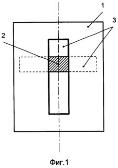
На фиг.1 показана диэлектрическая пластина из сегнетоэлектрической пьезопленки с нанесенными на ее противоположных поверхностях перекрещивающимися электродами для поляризации заданной (заштрихованной) области. На фиг.2 показана диэлектрическая пластина из сегнетоэлектрической пьезопленки после нанесения на ее противоположные поверхности измерительных токовыводов в виде плоскопараллельных полосок. На фиг.3 и 4 представлены продольное (по плоскости симметрии) и поперечное (по плоскости А-А) сечения заявляемого пьезоэлектрического датчика соответственно.
Пьезоэлектрический датчик содержит две диэлектрические пластины 1, выполненные идентично, из сегнетоэлектрической пьезопленки с чувствительными элементами 2 в виде отдельных поляризованных областей пьезопленки с электродами 3 (фиг.1) на их противоположных поверхностях, векторы поляризации (показаны на фиг.3 и 4 маленькими стрелками) которых перпендикулярны электродам, и измерительные токовыводы 4, 5 в виде плоскопараллельных полосок, нанесенные на противоположные поверхности пьезопленки и электрически соединенные с электродами. Отметим, что конструктивно электроды 3 объединены с токовыводами 4 и 5, полярность которых показана на фиг.3 и 4 знаками плюс и минус и может быть в другом варианте исполнения противоположной. При этом обе пластины 1 соединены поверхностями с однополярными электродами (токовыводами) 4 симметрично друг другу, причем образовавшиеся таким образом внешние 5 и внутренние 4 измерительные токовыводы соединены электрически попарно соответственно. Поперечные размеры токовыводов выбраны из указанного в формуле соотношения и показаны на фиг.2 и 4. Длина L внешних токовыводов обычно выбирается больше длины l внутренних токовыводов, как показано на фиг.1, с целью лучшего экранирования.
Пьезоэлектрический датчик функционирует следующим образом. В исследуемой конденсированной среде размещают пьезоэлектрический датчик так, чтобы векторы поляризации ЧЭ были параллельны, а токовыводы соответственно перпендикулярны направлению распространения в этой среде механического импульса (плоской упругой или ударной волны), указанному на фиг.3 и 4 большими стрелками. С момента времени прихода плоской волны к ЧЭ датчик генерирует электрический сигнал за счет прямого пьезоэффекта. При этом заряд, генерируемый на электродах каждого ЧЭ, прямо пропорционален давлению (механическому напряжению в указанном направлении) в соответствующей пьезопленке. Поскольку ЧЭ соединены электрически параллельно согласно, то два ЧЭ функционируют как один ЧЭ удвоенной толщины. Поэтому генерируемый датчиком заряд прямо пропорционален среднему давлению в пьезопленках. Отметим, что разрешающая способность как заявляемого, так и известных датчиков определяется не толщиной ЧЭ, которая может быть выбрана достаточно малой, а временем установления переходной характеристики измерительного тракта, которое ограничено в известных конструкциях паразитной индуктивностью датчиков в большей степени, чем в заявляемом малоиндуктивном датчике. Поэтому разрешающая способность последнего не хуже, чем у прототипа. С другой стороны, выполнение заявляемого датчика в виде практически полностью экранированной и закрытой симметричной полосковой линии, не требующей внешней изоляции, как уже отмечалось выше, повышает помехозащищенность датчика от электромагнитных наводок и расширяет область его применения.
Ожидаемая погрешность измерения давления с помощью заявляемого датчика составляет 5-10%.
Таким образом, выполнение пьезодатчика в соответствии с предлагаемым изобретением приводит к повышению его помехозащищенности и расширению области его применения.
Заявляемый способ изготовления пьезоэлектрического датчика заключается в использовании двух одинаковых диэлектрических пластин 1 из сегнетоэлектрической пьезопленки и одинаковой обработке их следующим образом. Формируют чувствительный элемент 2 датчика. Для этого выделяют заданную область 2 (заштрихована на фиг.1 и 2) диэлектрической пластины 1, располагают (наносят путем вакуумного напыления) перекрещивающиеся электроды 3 на ее противоположных поверхностях и производят электрическую поляризацию выделенной области 2 с помощью названных электродов 3. Затем наносят на противоположные поверхности пластины измерительные токовыводы 4 и 5 (см. фиг.2) в виде плоскопараллельных полосок путем увеличения площади соответствующих электродов 3, использовавшихся ранее при поляризации, с обеспечением электрического контакта. Отметим, что последняя операция приводит к конструктивному объединению электродов и токовыводов в одно целое – полоску одной толщины. Далее производят соединение обеих пластин 1 поверхностями с однополярными электродами (токовыводами 4) симметрично друг другу и электрическое попарное соединение образовавшихся таким образом внешних 5 и внутренних 4 измерительных токовыводов соответственно. Полярность токовыводов 4 и 5 показана на фиг.3 и 4 знаками плюс и минус и может быть в другом варианте исполнения противоположной. Полученная конструкция представляет собой пьезоэлектрический датчик с двумя ЧЭ, при этом поскольку электрически эти ЧЭ соединены параллельно согласно, то они, следовательно, функционируют как один ЧЭ удвоенной толщины. С электрической точки зрения эта конструкция представляет собой симметричную полосковую линию, которая при выборе геометрических размеров в соответствии с указанным выше соотношением является практически полностью экранированной и закрытой.
Таким образом, предлагаемый способ позволяет изготовить пьезодатчик без использования накладных электродов, что повышает качество изготовления и уменьшает соответственно количество бракованных изделий.
Формула изобретения
1. Пьезоэлектрический датчик, содержащий диэлектрическую пластину из сегнетоэлектрической пьезопленки, отдельная поляризованная область которой с электродами на ее противоположных поверхностях служит чувствительным элементом, вектор поляризации которого перпендикулярен электродам, и измерительные токовыводы в виде плоскопараллельных полосок, нанесенные на противоположные поверхности пьезопленки и электрически соединенные с электродами, отличающийся тем, что дополнительно введена диэлектрическая пластина, выполненная идентично указанной, при этом обе пластины соединены поверхностями с однополярными электродами симметрично друг другу, причем образовавшиеся таким образом внешние и внутренние измерительные токовыводы соединены электрически попарно соответственно, а их поперечные размеры выбраны из соотношения
>w+2b,
где – ширина внешних токовыводов;
w – ширина внутренних токовыводов;
b – расстояние между внешними токовыводами.
2. Способ изготовления пьезоэлектрического датчика, заключающийся в формировании чувствительного элемента датчика путем выделения заданной области диэлектрической пластины из сегнетоэлектрической пьезопленки, расположения электродов на ее противоположных поверхностях, электрической поляризации выделенной области, и в нанесении на противоположные поверхности пластины измерительных токовыводов в виде плоскопараллельных полосок, электрически соединенных с электродами, отличающийся тем, что используют дополнительную пластину, выполненную идентично указанной, соединяют обе пластины поверхностями с однополярными электродами симметрично друг другу, при этом измерительные токовыводы на каждой пластине формируют путем увеличения площади соответствующих электродов, а образовавшиеся таким образом внешние и внутренние измерительные токовыводы соединяют электрически попарно соответственно.
РИСУНКИ
|
|