|
|
(21), (22) Заявка: 2003129770/09, 06.10.2003
(24) Дата начала отсчета срока действия патента:
06.10.2003
(43) Дата публикации заявки: 10.04.2005
(45) Опубликовано: 10.08.2005
(56) Список документов, цитированных в отчете о поиске:
SU 518809 А, 18.10.1976. WO 02/089159 A1, 07.11.2002. US 4308513 A, 29.12.1981. GB 1484807 A, 08.09.1977.
Адрес для переписки:
607190, Нижегородская обл., г. Саров, пр-т Мира, 37, ФГУП РФЯЦ-ВНИИЭФ, начальнику ОПИНТИ
|
(72) Автор(ы):
Гаврилов Г.Г. (RU), Каламзина Е.В. (RU)
(73) Патентообладатель(и):
Федеральное государственное унитарное предприятие Российский федеральный ядерный центр – Всероссийский научно-исследовательский институт экспериментальной физики – ФГУП РФЯЦ-ВНИИЭФ (RU), Министерство Российской Федерации по атомной энергии – Минатом РФ (RU)
|
(54) СПОСОБ ИЗГОТОВЛЕНИЯ ОБМОТКИ СОЛЕНОИДА
(57) Реферат:
Изобретение относится к способам изготовления обмотки соленоида и может быть использовано для формирования магнитных полей в приборах СВЧ, например в лампах бегущей или обратной волны. Способ изготовления обмотки соленоида осуществляется следующим образом. Берут непрерывную токопроводящую ленту из медной фольги. На нее укладывают под углом 45° вторую такую же токопроводящую ленту. Первую ленту перегибают через вторую под углом 90°. Затем перегибают вторую ленту через первую ленту под углом 90°. Линии перегиба одной ленты должны совпадать с ребром другой ленты. Ленты перегибают таким образом поочередно, в результате чего формируют витки обмотки соленоида, внешний и внутренний периметры которых представляют собой восьмиугольники. Витки укладывают плотно друг к другу без зазоров. В процессе укладки между витками вставляют изоляционные пластины, изготовленные из слюды СМГП. Количество витков между двумя соседними изоляционными пластинами зависит от задаваемых параметров магнитного поля. Обмотку зажимают в приспособлении и растачивают внутреннюю полость катушки соленоида до желаемых размеров. К концам токопроводящих лент паяют соединительные провода. При пропускании тока через токопроводящие ленты образуется магнитное поле. Технический результат – обеспечение возможности формирования магнитных полей сложной конфигурации. 2 ил. 
Изобретение относится к способам изготовления обмотки соленоида и может быть использовано для формирования магнитных полей в приборах СВЧ, например в лампах бегущей или обратной волны.
Известно устройство «Магнитопровод» (см. авторское свидетельство №936047 от 17.07.80 г., опубликованное в БИ №22 от 15.06.82 г.), в котором реализован способ изготовления магнитопровода. Вышеуказанный способ является наиболее близким к заявляемому и поэтому выбран в качестве прототипа.
Способ заключается в том, что магнитопровод выполняют из непрерывной ферромагнитной ленты с изоляционным покрытием. Ленту наматывают на ребро с перегибами 180°, которые выполняют чередующимися в одну сторону по отношению к одной плоскости ленты с образованием четырехстороннего витка, внутренний периметр которого представляет собой четырехугольник, а внешний периметр выполнен в виде прямолинейных участков со скошенными углами.
К недостаткам данного способа изготовления магнитопровода следует отнести низкий коэффициент заполнения обмотки, невозможность использования такой обмотки для формирования магнитных полей сложной конфигурации.
Решаемая техническая задача – изготовление обмотки соленоида.
Техническим результатом является изготовление обмотки соленоида для формирования магнитных полей различной конфигурации, повышение коэффициента заполнения обмотки.
Этот технический результат достигается способом изготовления обмотки соленоида, основанного на использовании одной непрерывной токопроводящей ленты. Новым является применение другой токопроводящей ленты, которую укладывают на первую токопроводящую ленту под углом 45°, осуществляют поочередно перегиб каждой ленты в одну сторону под углом 90° с образованием витка, внутренний и внешний периметры которого представляют собой восьмиугольники, при этом между витками укладывают изоляционные пластины.
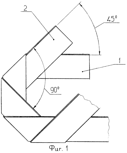
На фиг.1 представлена схема укладки токопроводящих лент, где 1 – первая токопроводящая лента, 2 – вторая токопроводящая лента. На фиг.2 представлена обмотка соленоида, где 1 – витки токопроводящих лент, 2 – изоляционные пластины.
Использование двух токопроводящих лент с определенным расположением их относительно друг друга, в результате чего образуются витки соленоида, и их изолирование между собой позволяет изготовить соленоид с повышенным коэффициентом заполнения обмотки и создавать магнитные поля различной конфигурации в зависимости от числа витков между изолирующими пластинами.
Способ изготовления обмотки соленоида реализуется устройством, представленным на фиг.1, 2.
Способ изготовления обмотки соленоида осуществляется следующим образом. Берут непрерывную токопроводящую ленту из медной фольги. На нее укладывают под углом 45° вторую такую же токопроводящую ленту. Первую ленту перегибают через вторую ленту под углом 90°. Затем перегибают вторую ленту через первую ленту под углом 90°. Линии перегиба одной ленты должны совпадать с ребром другой ленты. Ленты перегибают таким образом поочередно, в результате чего формируют витки обмотки соленоида, внешний и внутренний периметры которых представляют собой восьмиугольники. Витки укладывают плотно друг к другу без зазоров. В процессе укладки между витками вставляют изоляционные пластины, изготовленные из слюды СМГП. Количество витков между двумя соседними изоляционными пластинами зависит от задаваемых параметров магнитного поля. Обмотку зажимают в приспособлении и растачивают внутреннюю полость катушки до желаемых размеров. К концам токопроводящих лент паяют соединительные провода. При пропускании тока через токопроводящие ленты образуется магнитное поле. Применение для изготовления обмотки материалов, стойких к воздействию температур, позволяет использовать соленоид для работы в высокотемпературной среде без охлаждения.
Был изготовлен макет устройства. Токопроводящие ленты были выполнены из медной фольги толщиной 0,2 мм. Изоляционные пластины выполнены из слюды СМГП толщиной 0,005 мм. Таким образом, коэффициент заполнения составил 0,98. По обмотке пропускали импульсный ток I=1300 А, при этом было получено магнитное поле с индуктивностью Н=4,8 Тл.
Формула изобретения
Способ изготовления обмотки соленоида, основанный на использовании одной непрерывной токопроводящей ленты, отличающийся тем, что применяют другую непрерывную токопроводящую ленту, которую укладывают на первую токопроводящую ленту под углом 45°, осуществляют поочередно перегиб каждой ленты в одну сторону под углом 90° с образованием витка, внутренний и внешний периметры которого представляют собой восьмиугольники, при этом между витками укладывают изоляционные пластины.
РИСУНКИ
MM4A Досрочное прекращение действия патента Российской Федерации на изобретение из-за неуплаты в установленный срок пошлины за поддержание патента в силе
Дата прекращения действия патента: 07.10.2005
Извещение опубликовано: 27.01.2007 БИ: 03/2007
|
|