|
|
(21), (22) Заявка: 2003119845/09, 30.06.2003
(24) Дата начала отсчета срока действия патента:
30.06.2003
(43) Дата публикации заявки: 27.12.2004
(45) Опубликовано: 10.08.2005
(56) Список документов, цитированных в отчете о поиске:
RU 2168767 С1, 10.06.2001. US 5420440, 28.02.1994. GB 1417790, 17.12.1975. WO 81/01765 A1, 25.06.1981. GB 1583935, 04.02.1981.
Адрес для переписки:
420039, г.Казань, ул. Исаева, 18, а/я 134, директору В.Д. Фоминых
|
(72) Автор(ы):
Краев В.В. (RU), Корниенко И.А. (RU), Скачков В.А. (RU), Фоминых В.Д. (RU), Рожко В.И. (RU)
(73) Патентообладатель(и):
Закрытое акционерное общество “Телесофт-Сервис” (RU)
|
(54) ДЫМОВОЙ ИЗВЕЩАТЕЛЬ
(57) Реферат:
Изобретение относится к устройствам пожарной сигнализации. Технический результат заключается в обеспечении контроля работоспособности и запыленности оптического канала при обнаружении пожара на ранней стадии возгорания и использовании в дымовом извещателе цифровой схемотехники. Дымовой извещатель содержит также фотоприемник с RC-цепью с длительностью цикла заряда (разряда), зависящей от светового потока источника световых импульсов, и контроллер для определения по длительности разряда фотоприемника задымленности или запыленности. Данное устройство может быть использовано для обнаружения взвешенных частиц (пыли, тумана и т.д.) в окружающей среде. 5 ил. 
Предлагаемое техническое решение относится к устройствам пожарной сигнализации для обнаружения дыма на ранней стадии возгорания и может быть использовано для обнаружения наличия взвешенных частиц (пыли, тумана и т.д.) в окружающей среде.
Известен детектор дыма (патент 660244, Швецария, G 08 В 17/10, 29/00 от 31.03.87), содержащий оптическую камеру, генератор, управляющий источником излучения, усилитель, схему обработки сигналов. Оптический сигнал, отраженный от частиц дыма попадает на фотоприемник, усиливается и подводится к схеме обработки сигналов. При запыленности оптического канала обнаружение дыма на ранней стадии возгорания затруднено, а порой и невозможно. Отсутствие контроля запыленности снижает надежность данного устройства и является его недостатком.
Известен детектор дыма (патент РФ 2125739, G 08 В 17/10 от 27.01.99), выбранный в качестве прототипа, содержащий генератор, соединенный с источником оптического излучения, фотодетектор, соединенный с усилителем фототока, который через фильтр верхних частот соединен с усилителем-формирователем, выход которого соединен с входом RS-триггера. Выход триггера соединен с первым входом элемента И и с С входом счетчика, а второй формирователь – с управляющим входом усилителя-формирователя. Оптический сигнал, отраженный от частиц дыма, попадает на фотоприемник, усиливается усилителем фототока, синхронно фильтруется и подводится к схеме обработки сигналов.
Известные датчики дыма работают по принципу периодического излучения световых импульсов и последующего приема фотодатчиком оптического сигнала, отраженного от частиц дыма, дальнейшего его усиления с помощью различных аналоговых усилительных устройств (транзисторных каскадов, операционных усилителей и т.д.), сравнения с опорным напряжением и выдаче сигнала о наличии или отсутствии дыма.
К недостаткам прототипа следует отнести
– применение аналоговых устройств;
– отсутствие контроля работоспособности оптического канала в процессе работы; при работе прототипа отказ оптического канала (излучателя, фотоприемника, усилителей) адекватен выдаче сигнала “отсутствии тревоги” при наличии дыма либо выдаче ложной тревоги “пожар”;
– отсутствие контроля запыленности оптического канала.
Задачей технического решения является создание надежного дымового извещателя, позволяющего, в частности, контролировать работоспособность и запыленность оптического канала, исключить аналоговые устройства и осуществить полный переход на цифровую схемотехнику.
Поставленная задача в дымовом извещателе, содержащем схему управления, соединенную с сигнализатором, источник световых импульсов, соединенный с другим выходом схемы управления и оптически связанный с фотоприемником, достигается тем, что фотоприемник непосредственно подключен к двунаправленному логическому порту, который соединен со схемой управления.
На фиг.1 изображена блок-схема дымового извещателя. На фиг.2 изображена блок-схема дымового извещателя, в которой двунаправленный логический порт и схема управления выполнены в виде контроллера. На фиг.3 приведена эквивалентная модель фотоприемника. На фиг.4 приведены временные диаграммы разряда фотоприемника. На фиг.5 приведена принципиальная схема дымового извещателя по фиг.2.
Дымовой извещатель (фиг.1) содержит источник световых импульсов 1, оптически связанный с фотоприемником 2, который соединен с двунаправленным логическим портом 3, сигнализатор 4, вход которого соединен с выходом схемы управления 5, другой выход которого соединен со входом источника световых импульсов 1, двунаправленный логический порт 3, соединен со схемой управления 5.
Дымовой извещатель (фиг.2) содержит источник световых импульсов 1, оптически связанный с фотоприемником 2, который подключен к логическому порту контроллера 6, выполняющего роль двунаправленного логического порта 3 и схемы управления 5, сигнализатора 4, вход которого соединен с выходом контроллера 6, вход источника световых импульсов 1 соединен с выходом контроллера 6.
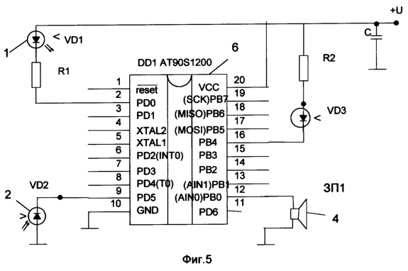
Дымовой извещатель (фиг.5) по принципиальной схеме содержит контроллер 6 – AT90S1200 (DD1), источник световых импульсов 1 – инфракрасный диод типа АЛ164В1 (VD1) с токоограничительным резистором R1=120 Ом, фотоприемник 2 типа КДФ115, сигнализатор 4 по принципиальной схеме выполнен в виде звукового элемента ЗП1 типа ППА1 и светодиода VD3 типа АЛ307 с токоограничительным сопротивлением R2=500 Ом, С – накопительная емкость типа К-50-35 – 100 мкФ. Дымовой извещатель подключается к источнику питания +U напряжением 4,5-6 В.
Рассмотрим принцип работы предлагаемого дымового извещателя. Пусть фотоприемник 2 является элементом RC-цепи (фиг.3), у которого один или оба элемента одновременно чувствительны к световому потоку Ф. (R=f(Ф) или С=f(Ф.)). Таким образом, длительность цикла заряда (разряда) также будет зависеть от световою потока =RC=F(Ф) (фиг.4). Оптический сигнал, излучаемый источником световых импульсов 1, отражается от частиц дыма, попадает на фотоприемник 2 и изменяет длительность цикла заряда (разряда).
В дымовом извещателе имеется оптическая связь между источником световых импульсов 1 и фотоприемником 2 даже без наличии дыма. Эту оптическую связь можно использовать для определения запыленности и исправности оптического канала.
Алгоритм функционирования дымового извещателя состоит из следующих шагов. Измеряют длительность цикла t1 (фиг.4) заряда (разряда) фотоприемника 2, до некоторого порогового уровня UП, при отсутствие светового потока от источника световых импульсов 1, затем включают источник световых импульсов 1 и повторно измеряют длительности цикла заряда (разряда) t2 фотоприемника 2, далее находят t=|t1-t2|. При этом влияние дестабилизирующих факторов (таких как фоновая засветка, температура и т.д.) вычитается и остается только изменение времени t заряда (разряда), вызванное воздействием оптического излучателя. Затем сравнивают t с пороговыми установками t1, t2… tn. Например, если t2< t< t3, то это может соответствовать отсутствию дыма и целостности оптического канала, если t1< t< t2 – оптический канал запылен, если t< t1 – оптический канал неисправен, если t> t4 – наличие дыма.
В практической реализации удобно применять для измерения t1 и t2 преобразование время – число импульсов (аналогично принципу работы аналого-цифрового преобразователя с время-импульсным преобразованием) N1=t1fг, N2=t2fг, где fг – тактовая частота генератора импульсов. В этом случае разность t=|t1-t2| – пропорциональна разности числа импульсов k=|N1-N2|=fг|t1-t2|.
Достижение порогового уровня UП контролируется пороговым устройством, которое может быть выполнено на логических элементах. В этом случае фотоприемник 2 непосредственно подключается к логическому порту. У логических элементов с высоким входным сопротивлением (КМОП – серия) порог переключения от логической единицы к логическому нулю, как правило, равно половине напряжения питания микросхем. В этом случае измеряют количество импульсов, за которое напряжение на фотоприемнике 2 от логической единицы достигнет логического нуля.
Применение контроллера 6, с предложенным время-импульсным преобразованием, позволяет уменьшить количество элементов, дает возможность проведения многократных измерений с усреднением их результатов, исключения систематических погрешностей, проведения автоматического контроля правильности работы прибора, коррекцию ошибки, вызванной запыленностью оптической камеры.
Дымовой извещатель по фиг.2 работает следующим образом. В память контроллера 6 записываются предварительно установленные пороговые значения k1, k2, k3. Устанавливается порт контроллера 6, к которому подключен фотоприемник 2, в высокое состояние (заряжается емкость фотоприемника), затем этот порт контроллера 6 переключается как входной с высоким сопротивлением, при этом включается внутренний счетчик (таймер) контроллера 6, счет которого прекращается, когда вход контроллера 6, к которому подключен фотоприемник 2, разрядится до уровня соответствующего логическому нулю, при этом логический порт контроллера 6 играет роль порогового устройства. Это состояние счетчика (N1) запоминается контроллером 6. Затем, снова устанавливается порт контроллера 6, к которому подключен фотоприемник 2, в высокое состояние (заряжается емкость фотоприемника 2), далее контроллер 6 включает источник световых импульсов 1, устанавливает порт контроллера 6, к которому подключен фотоприемник 2, как входной с высоким сопротивлением, одновременно включается внутренний счетчик (таймер) контроллера 6, счет которого прекращается, когда вход контроллера 6, к которому подключен фотоприемник 2, разрядится до уровня, соответствующего логическому нулю, это состояние счетчика (N2) запоминается контроллером 6. Контроллер 6 выключает источник световых импульсов 1. Находится разность k=N2-N1, которая сравнивается с пороговыми значениями k1, k2, k3 контроллером 6. Если k2k3, то контроллер 6 включает сигнализатор 4, который выдает сигнал тревоги, показывающий наличие дыма. Сигналы по каждому из видов тревоги отличаются друг от друга.
Пороговые значения k1, k2, k3 можно определить следующим образом.
Измерить дымовым извещателем k=k0, при отсутствии дыма, незапыленном оптическом канале (собственное состояние оптического канала дымового извещателя), и определить k2=0.7k0. Поместить дымовой извещатель в дымовую камеру со светлым дымом, оптическая плотность которого составляет, например, 0,1 дБ/м, измерить k=k3. Затем определить k1=0.1k0.
Рассмотрим влияние дестабилизирующих факторов. Предположим, что RC-цепь (фиг.4) заряжена до напряжения U0. Разряд такой цепи производится по известному закону U=U0exp(-t/ ), где =RC. Время разряда будем измерять до некоторого порогового уровня Uп. Предполагается, что постоянная времени достаточно мала и измерение временных интервалов t1 и t2 производится непосредственно один за другим, поэтому изменение порогового уровня Uп, фоновой засветки Ф и температуры за цикл измерения можно пренебречь. При изменении питающих напряжений и температуры изменяется и U0, а также линейно связанное с ним Uп(Uп/U0-const). Рассмотрим, как влияет это на работу устройств. Временные интервалы t1 и t2 определяются из выражений
Uп=U0exp(-t1/ 1),
Uп=U0exp(-t2/ 2),
где 1=R1 Cl и 2=R2 C2 – постоянные времени цепи при отсутствие и наличии импульса светового потока. Путем логарифмирования и несложного преобразования определим временные интервалы t1, t2:
t1= 1 ln(Uп/U0),
t2= 2 ln(Uп/U0).
Найдем t
t=|t1-t2|=| 1 ln(Uп/U0)- 2 ln(Uп/U0)|=| 1-2| ln(Uп/U0).
Следовательно, t=|t1-t2| не зависит от напряжения U0.
Рассмотрим влияние фоновой засветки и температуры. Пусть чувствительным к световому потоку будет сопротивление R=f(Ф) фотодатчика. Это сопротивление можно представить в виде R=R0+ R(Ф0)+ R(Фи)+ R(T), где R0 – сопротивление фотоприемника при отсутствии света, R(Ф0) – изменение сопротивления, вызванное влиянием фоновой засветки, R(Фи) – изменение сопротивления при попадании на фотоприемник светового потока от источника световых импульсов, R(T) – изменение сопротивления фотоприемника под воздействием температуры. Используя ранее приведенные выкладки, найдем t:
t=ln(Uп/U0)| 1- 2|=ln(Uп/U0)|R1 C-R2 C|=ln(Uп/U0)|[R0+ R(Ф0)+ R(T)] C-[R0+ R(Ф0)+ R(Т)+ R(Фи)]PС|=ln(Uп/U0) R(Фи) С
Таким образом, t=|t1-t2| не зависит от фоновой засветки и температуры и, следовательно, не снижает чувствительность дымового извещателя.
Дымовой извещатель легко реализуется на современной элементной базе (фиг.5). В данном случае в качестве контроллера 6 был использован микроконтроллер производства Atmel – AT90S1200 (DD1), на основе полевых транзисторов, со встроенным тактовым генератором, не требующим внешних элементов и имеющим частоту fг, восьмиразрядный таймер-счетчик, двунаправленные логические порты PD и РВ, которые могут работать как входные или как выходные порты. Входное сопротивление более 100 МОм. Источник световых импульсов 1 – инфракрасный диод типа АЛ164В1 (VD1) с токоограничительным резистором R1=120 Ом, фотоприемник 2 типа КДФ115, сигнализатор 4 – звукового элемента ЗП1 типа ППА1 и светодиода VD3 типа АЛ307 с токоограничительным сопротивлением R2=500 Ом, С – накопительная емкость типа К-50-35 -100 мкФ. Дымовой извещатель подключается к источнику питания +U напряжением 4,5-6 В.
Алгоритм работы дымового извещателя (фиг.5) заключается в следующем. В память контроллера 6 записываются предварительно установленные пороговые значения k1, k2, k3. Устанавливаются порты контроллера 6 PD0, PD5, РВ4, РВ1 как выходные в высокое состояние, остальные порты отключаются. При установке порта PD5 в высокое состояние заряжается емкость фотоприемника 2. Затем порт PD5 контроллера 6 инициализируется как входной с высоким сопротивлением, одновременно включается внутренний счетчик импульсов внутреннего тактового генератора контроллера 6, который останавливается, когда напряжение на фотоприемнике 2 подключенного к порту PD5 контроллера 6 будет иметь уровень, равный логическому нулю. Это состояние счетчика запоминается (N1). Затем порт PD5 контроллера 6 снова устанавливается в высокое состояние и заряжается емкость фотоприемника 2 VD2. Порт PD5 контроллера 6 инициализируется как входной с высоким сопротивлением, включается порт PDO как выходной в низкое состояние, при этом через диод VD1, являющийся источником световых импульсов 1, протекает ток, одновременно включается внутренний счетчик импульсов внутреннего тактового генератора контроллера 6, который останавливается, когда напряжение на фотоприемнике 2 подключенного к порту PD5 контроллера 6 будет иметь уровень, равный логическому нулю. Это состояние счетчика снова запоминается (N2) контроллером 6, и выключается источник световых импульсов 1 – VD1. Находится разность k=N2-N1, которая сравнивается с пороговыми значениями k1, k2, k3 контроллером 6. Если k2k3, то через порт РВ1 выдается непрерывный сигнал тревоги частотой f2 на сигнализатор 4 ЗП1, показывающий наличие дыма.
Таким образом, по сравнению с прототипом предлагаемый дымовой извещатель выполнен полностью на цифровой схемотехнике, обеспечивает контроль работоспособности и запыленности оптического канала в процессе работы, что повышает надежность его функционирования.
Формула изобретения
Дымовой извещатель, содержащий сигнализатор и источник световых импульсов, оптически связанный с фотоприемником, отличающийся тем, что в него введен контроллер, а фотоприемник имеет RC-цепь с длительностью цикла заряда (разряда), зависящий от светового потока источника световых импульсов, отражающихся от частиц дыма, контроллер имеет память для записи пороговых значений и счетчик, счет которого включается при подключении фотоприемника к контроллеру, а прекращается при разряде фотоприемника с состоянием счетчика N1, которое запоминается, контроллер предназначен для включения источника световых импульсов, включения счетчика при подключении фотоприемника и прекращения счета счетчиком с состоянием N2 при разряде фотоприемника, также для нахождения разности k=N2-N1 и сравнения с указанными пороговыми значениями, контроллер предназначен для включения сигнализатора, сигналы которого по каждому из видов тревоги отличаются друг от друга.
РИСУНКИ
MM4A – Досрочное прекращение действия патента СССР или патента Российской Федерации на изобретение из-за неуплаты в установленный срок пошлины за поддержание патента в силе
Дата прекращения действия патента: 01.07.2006
Извещение опубликовано: 10.06.2007 БИ: 16/2007
Изменения:
Публикацию о досрочном прекращении действия патента считать недействительной
Номер и год публикации бюллетеня: 16-2007
Извещение опубликовано: 20.07.2007 БИ: 20/2007
MM4A – Досрочное прекращение действия патента СССР или патента Российской Федерации на изобретение из-за неуплаты в установленный срок пошлины за поддержание патента в силе
Дата прекращения действия патента: 01.07.2007
Извещение опубликовано: 20.02.2009 БИ: 05/2009
|
|