|
|
(21), (22) Заявка: 2004113054/28, 28.04.2004
(24) Дата начала отсчета срока действия патента:
28.04.2004
(45) Опубликовано: 10.08.2005
(56) Список документов, цитированных в отчете о поиске:
RU 2201290 C1, 27.03.2003. SU 1797707 A3, 23.02.1993. SU 1469400 A1, 30.03.1989. WO 03060496 А2, 24.07.2003. DE 19911011 A1, 14.09.2000. US 4450576 A, 22.05.1984. US 5117370 A, 26.05.1992.
Адрес для переписки:
115201, Москва, Старокаширское ш., 2, корп.6, ЗАО “Элскорт”, Генеральному директору В.Ф. Столярову
|
(72) Автор(ы):
Столяров В.Ф. (RU), Морозов В.В. (RU), Коновалов Н.М. (RU), Глебов М.В. (RU), Маркизов В.Н. (RU)
(73) Патентообладатель(и):
ЗАО “Элскорт” (RU)
|
(54) УСТРОЙСТВО ДЛЯ АНАЛИЗА СОСТАВА МНОГОКОМПОНЕНТНОГО ПОТОКА ТЕКУЧЕЙ ТЕХНОЛОГИЧЕСКОЙ СРЕДЫ
(57) Реферат:
Использование: для анализа состава многокомпонентного потока текучей технологической среды. Сущность: заключается в том, что устройство включает выполненную в виде элемента продуктопровода зону измерений, рентгенофлуоресцентный анализатор, содержащий рентгенопрозрачную перегородку, присоединенный к зоне измерений через цилиндрическую врезку посредством механизма крепления с возможностью вертикального перемещения рентгенофлуоресцентного анализатора в зоне измерения и оснащено приспособлением для деструктурирования потока в виде верхней и нижней плоских направляющих, пересечение осей которых образует угол, вершина которого расположена напротив рентгенопрозрачной перегородки. Устройство оснащено байпасным продуктопроводом, входное отверстие которого размещено в верхней части зоны измерений перед приспособлением для деструктурирования потока относительно направления движения текучей среды, а выходное отверстие в верхней части зоны измерений после рентгенофлуоресцентного анализатора, при этом перед выходным отверстием байпасного продуктопровода в зоне измерений установлена дополнительная перегородка. Технический результат: повышение точности и представительности анализа. 1 з.п. ф-лы, 1 табл., 1 ил. 
Изобретение относится к области контроля процессов обогащения и гидрометаллургии и может быть использовано для определения состава вещества и его плотности, в частности к устройствам для рентгенофлуоресцентного анализа состава пульп, растворов, промывочных кислот и т.п. в многокомпонентной текучей технологической среде.
Известен датчик для рентгенорадиометрического анализа состава пульп или растворов в потоке, содержащий источники первичного излучения и полупроводниковый блок детектирования, заключенные в кожух, снабженный поплавками, компенсирующими вес датчика, погруженного в пульпу или раствор, имеющими возможность изменять их подъемную силу. При вышеперечисленных условиях датчик является плавающим по поверхности пульпы [1].
Недостатками устройства [1] являются невысокая точность и достоверность анализа, обусловленные изменением уровня пульпы, что приводит к перемещению датчика от нижних – плотных слоев пульпы к верхним – менее плотным, за счет чего снижается представительность анализа и появляется дополнительная погрешность.
Ближайшим к изобретению техническим решением, взятым за прототип, является устройство для комплексного автоматического контроля текучей технологической среды, включающее зону измерения, врезанную в трубопровод с восходящим потоком контролируемой среды, рентгенофлуоресцентный анализатор элементного состава, присоединенный к зоне измерения посредством механизма крепления, содержащего рентгенопрозрачную перегородку, блок управления [2].
Недостатком устройства [2] является снижение точности анализа из-за расслоения пульпы, обусловленного малотурбулентным гидродинамическим режимом в сечении трубопровода.
Технический результат, получаемый при реализации предлагаемого устройства, заключается в повышении точности и представительности анализа.
Указанный технический результат достигается за счет того, что устройство для анализа состава многокомпонентного потока текучей технологической среды включает выполненную в виде элемента продуктопровода зону измерений, рентгенофлуоресцентный анализатор, содержащий рентгенопрозрачную перегородку, присоединенный к зоне измерения посредством механизма крепления с возможностью его вертикального перемещения. Устройство оснащено приспособлением для деструктурирования потока в виде верхней и нижней плоских направляющих, пересечение осей которых образует угол, вершина которого расположена напротив рентгенопрозрачной перегородки. Устройство снабжено байпасным продуктопроводом, входное отверстие которого размещено в верхней части зоны измерений перед приспособлением для деструктурирования потока относительно направления движения текучей среды, а выходное отверстие в верхней части зоны измерений после рентгенофлуоресцентного анализатора; при этом перед выходным отверстием байпасного продуктопровода в зоне измерений установлена дополнительная перегородка.
Оснащение устройства приспособлением для деструктурирования потока обеспечивает повышение представительности анализа за счет смешивания верхних и нижних слоев потока анализируемой среды и направления к рентгенопрозрачной перегородке усредненного по составу потока.
Выполнение приспособления для деструктурирования в виде верхней и нижней плоских направляющих, пересечение осей которых образует угол, вершина которого расположена напротив рентгенопрозрачной перегородки, обеспечивает равномерное смешивание верхнего, среднего и нижнего слоев среды в гомогенный поток, состав которого в наибольшей мере соответствует среднему составу анализируемой текучей среды.
Выполнение механизма крепления рентгенофлуоресцентного анализатора с возможностью вертикального перемещения в зоне измерения позволяет расположить рентгенопрозрачную перегородку в потоке анализируемой среды, характеризующемся наибольшей стабильностью состава пульпы и минимальными отклонениями от среднего состава.
Оснащение устройства байпасным продуктопроводом, входное отверстие которого размещено в верхней части зоны измерений перед приспособлением для деструктурирования потока относительно направления движения текучей среды, а выходное отверстие в верхней части зоны измерений после рентгенофлуоресцентного анализатора, позволяет повысить точность анализа за счет устранения зарастания рентгенопрозрачного окна шламовыми фракциями и предотвращения попадания в зону возбуждения характеристического излучения воздушных пузырьков.
Установление перед выходным отверстием байпасного продуктопровода дополнительной перегородки позволяет повысить точность измерений за счет более эффективного перекачивания пульповоздушной смеси в обход зоны возбуждения характеристического излучения.
Расположение зоны измерений соосно наклонному участку продуктопровода позволяет снизить общее гидродинамическое сопротивление системы продуктопровод – зона измерений и обеспечить максимальную эффективность процессов деструктуризации текучей технологической среды и удаления из зоны измерений пульповоздушной смеси, что в конечном итоге обеспечивает увеличение точности измерений и надежности автоматического контроля.
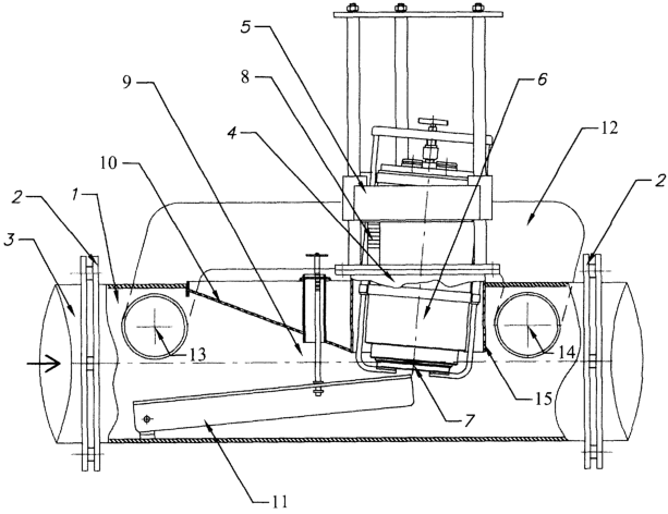
На чертеже представлена одна из возможных форм выполнения устройства для анализа состава многокомпонентного потока текучей технологической среды. Оно включает зону измерения 1, представляющую собой фрагмент трубопровода с сопрягающими фланцами 2, врезанную в трубопровод с потоком контролируемой среды 3. Зона измерения имеет цилиндрическую врезку 4, где с помощью механизма крепления 5 размещен рентгенофлуоресцентный анализатор элементного состава 6, содержащий рентгенопрозрачную перегородку 7. Рентгенопрозрачная перегородка предназначена для разделения рентгенофлуоресцентного анализатора элементного состава и контролируемой среды. Механизм крепления снабжен приспособлением 8, обеспечивающим вертикальное перемещение рентгенофлуоресцентного анализатора в зоне измерения для выбора оптимального положения рентгенопрозрачной перегородки в потоке анализируемой среды, характеризующемся наибольшей стабильностью и минимальными отклонениями от среднего состава. Зона измерения оснащена приспособлением для деструктурирования потока 9, выполненном в виде верхней 10 и нижней 11 плоских направляющих, пересечение осей которых образует угол, вершина которого расположена напротив окна рентгенофлуоресцентного анализатора элементного состава. Зона измерения снабжена байпасным продуктопроводом 12, входное отверстие 13 которого расположено в верхней части зоны измерений перед приспособлением для деструктурирования потока относительно направления движения текучей среды, а выходное отверстие 14 в верхней части зоны измерений после рентгенофлуоресцентного анализатора, при этом перед выходным отверстием байпасного продуктопровода в зоне измерений установлена дополнительная перегородка 15, являющаяся элементом цилиндрической врезки.
Устройство для анализа состава многокомпонентного потока текучей технологической среды работает следующим образом. На входе анализируемой среды в зону измерения 1 с помощью приспособления для дестрруктурирования потока 9 происходит смешивание нижних – плотных слоев потока анализируемой среды с верхними – менее плотными. За счет перепада давления через байпасный продуктопровод 12 происходит отсечение части потока, представляющей собой вспененную часть пульпы. Рентгенофлуоресцентный анализатор элементного состава 6 регистрирует характеристическое излучение полезных компонентов усредненного по составу потока. Первичную информацию преобразуют в электрические импульсы, которые по кабелю связи передают на обработку и которые составляют информацию о составе многокомпонентного потока текучей технологической среды. При изменении параметров анализируемого потока с помощью приспособления 8 производят корректировку положения рентгенофлуоресцентного анализатора в зоне измерения, и его рентгенопрозрачную перегородку устанавливают на глубине, где концентрации анализируемых элементов в наибольшей мере соответствуют своим средним значениям.
В таблице приведены результаты сравнительных испытаний заявленного устройства и прототипа.
Таблица Результаты сравнительных испытаний предлагаемого устройства и прототипа по определению состава рудной пульпы медно-цинковой флотации (для 200 измерений) |
| Параметры |
Исходный состав пульпы, % |
Результаты измерений |
| С использованием прототипа |
С использованием заявленного устройства |
С использованием заявленного устройства по п.2 |
Содержание меди Погрешность Измерения (коэф. вариации) сод. меди |
1,03
– |
0,96
0,085 |
1,00
0,063 |
1,02
0,050 |
Содержание цинка Погрешность измерения (коэф. вариации) сод. цинка |
3,90
– |
3,80
0,093 |
3,93
0,062 |
3,90
0,050 |
Анализ результатов испытаний (см. таблицу) показывает большую точность измерений предлагаемого устройства.
ИСТОЧНИКИ ИНФОРМАЦИИ
[1]. Авторское свидетельство №970964, кл. G 01 N 23/223, 1984 г. Аналог.
[2]. Российский патент №2201290, кл. G 01 N 23/12, 2003 г. Прототип.
Формула изобретения
1. Устройство для анализа состава многокомпонентного потока текучей технологической среды, включающее выполненную в виде элемента продуктопровода зону измерений, рентгенофлуоресцентный анализатор, содержащий рентгенопрозрачную перегородку, присоединенный к зоне измерений через цилиндрическую врезку посредством механизма крепления с возможностью вертикального перемещения в зоне измерения, оснащенное приспособлением для деструктурирования потока, выполненным в виде верхней и нижней плоских направляющих, пересечение осей которых образует угол, вершина которого расположена напротив рентгенопрозрачной перегородки; оборудованное байпасным продуктопроводом, входное отверстие которого размещено в верхней части зоны измерений перед приспособлением для деструктурирования потока относительно направления движения текучей среды, а выходное отверстие в верхней части зоны измерений после рентгенофлуоресцентного анализатора; при этом перед выходным отверстием байпасного продуктопровода в зоне измерений установлена дополнительная перегородка.
2. Устройство по п.1, отличающееся тем, что зона измерений расположена соосно с наклонным участком продуктопровода.
РИСУНКИ
MM4A – Досрочное прекращение действия патента СССР или патента Российской Федерации на изобретение из-за неуплаты в установленный срок пошлины за поддержание патента в силе
Дата прекращения действия патента: 29.04.2008
Извещение опубликовано: 20.06.2010 БИ: 17/2010
|
|