|
|
(21), (22) Заявка: 2003113301/28, 03.05.2001
(24) Дата начала отсчета срока действия патента:
03.05.2001
(30) Конвенционный приоритет:
24.11.2000 LV P-00-159
(43) Дата публикации заявки: 10.11.2004
(45) Опубликовано: 10.08.2005
(56) Список документов, цитированных в отчете о поиске:
SU 947626 А, 30.07.1982. SU 934270 А, 07.06.1982. RU 96112412 А1, 10.10.1998. KENNY T W: “Electron tunnel sensors”. Journal of Vacuum Science and Technology: Part A, US, American Institute of Physics. New York, vol.10, no.4 PT II, 1 July 1992, pages 2114 – 2118, ХР000296388, ISSN: 0734-2101, figure 5;. DE 3824950 A1, 25.01.1990.
(85) Дата перевода заявки PCT на национальную фазу:
24.06.2003
(86) Заявка PCT:
LV 01/00002 (03.05.2001)
(87) Публикация PCT:
WO 02/42800 (30.05.2002)
Адрес для переписки:
127006, Москва, Долгоруковская ул., 7, Садовая Плаза, 11 этаж, Фирма “Бейкер и Макензи”, для Е.А.Ариевича
|
(72) Автор(ы):
БЕКЕРС Леонидс (LV), ЛУБГИНС Бонифатийс (LV)
(73) Патентообладатель(и):
АНГЛО-БОЛТИК ХОЛДИНГС ЛИМИТЕД (GB)
|
(54) УСТРОЙСТВО ДЛЯ ИЗМЕРЕНИЯ МИКРОПЕРЕМЕЩЕНИЙ И СПОСОБ ПРЕОБРАЗОВАНИЯ ПРОЦЕССА ПЕРЕМЕЩЕНИЯ В ЭЛЕКТРИЧЕСКИЙ СИГНАЛ
(57) Реферат:
Изобретение относится к области измерения микроперемещений и может использоваться для регистрации ползучих и динамических инфрапроцессов как естественного, так и искусственного происхождения, например, сейсмопроцессов или инфразвуковых и гравитационных волн. Целью изобретения является повышение чувствительности измерения в широком динамическом диапазоне. Устройство для измерения микроперемещений состоит из измерительного элемента и чувствительного элемента, мембраны, формирователя сигнала, выход которого связан с обмоткой фиксирующего электромагнита. Согласно изобретению устройство дополнительно снабжают тянущим электромагнитом, который взаимодействует с измерительным элементом, причем обмотка тянущего электромагнита связана со вторым инверсным выходом формирователя сигнала. Тянущий электромагнит предпочтительно должен располагаться на мембране, что увеличивает диапазон измеряемых перемещений. Кроме того, предотвращение образования окисных или тому подобных пленок на рабочих поверхностях измерительного и чувствительных элементов может обеспечиваться их герметизацией в объеме, образованном корпусом устройства и мембраной. В указанном устройстве реализуется способ преобразования перемещения в электрический сигнал; этот способ заключается в том, что в качестве параметра, по которому производится квантование, принят ток автоэлектронной эмиссии. Предложенное решение позволяет регистрировать перемещения в диапазоне единиц ангстремов. 2 н. и 2 з.п. ф-лы, 1 ил. 
Изобретение относится к области измерительной техники, в частности к измерению микроперемещений, и может использоваться для измерения, обнаружения и регистрации ползучих и динамических инфрапроцессов в природе, технике и бионике, например для регистрации барической, термической и гигрометрической тенденций в метеорологии, для регистрации ползучести инженерных сооружений, для контроля герметичности малых и больших объектов, в охранных системах, а также для регистрации сейсмических, инфразвуковых и гравитационных волн. В бионике предлагаемое устройство может быть использовано в качестве элемента тактильной чувствительности в бионических протезах, бионических роботах и зоороботах.
Для реализации указанных задач измерительные системы должны обладать максимально возможной чувствительностью (до единиц ангстремов ), широким динамическим диапазоном и малой инерционностью.
В настоящее время наибольшую чувствительность и широкий динамический диапазон обеспечивают рентгеновские интерферометры, которые реализуют спектрометрический способ измерения. Однако в случаях, лежащих за пределами метрологии и изучения кристаллической структуры материалов, их использование не находит применения из-за большой инерционности чувствительного элемента, громоздкости аппаратурного исполнения, сложности и дороговизны.
Широкое применение для измерения малых перемещений нашли емкостные и индуктивные датчики. Ограничение их применения определяется тем обстоятельством, что повышение чувствительности этих датчиков неизбежно приводит к сужению динамического диапазона из-за нелинейности аналоговой измерительной характеристики. Выбор определенного участка характеристики определяет динамический диапазон датчика (см., например, А.М.Туричин и соав. Электрические измерения неэлектрических величин. – Л.: Энергия, 1975, стр.96-98).
Известны устройства для измерения малых перемещений, основанные на искусственном квантовании линейных или угловых перемещений с помощью распределенных квантующих измерительных элементов (решеток). В качестве примера может быть указан шифратор приращения (К.Бриндли. Измерительные преобразователи: Справочное пособие. Перевод с английского. М.: Энергоатомиздат, 1991, стр.62-63). Разрешающая способность шифраторов приращения такого типа зависит от количества чувствительных сегментов на диске или полоске преобразователя, что и определяет механический предел их чувствительности (не выше 0,01 микрона).
Наиболее близким решением, принятым в качестве прототипа, является датчик микроперемещений по авторскому свидетельству СССР № 947626, в котором реализуется способ измерения с использованием эффектов естественного квантования. Это устройство включает состоящий из чувствительного и измерительного элементов преобразователь монотонных перемещений в импульсный дельта-модулированный электрический сигнал. Чувствительный элемент закреплен на упругой мембране и взаимодействует с источником микроперемещения (контролируемым объектом), а подпружиненный подвижный измерительный элемент является сердечником электромагнита, который при подаче на него тока возбуждения с формирователя сигнала фиксирует измерительный элемент в положении наличия контакта с чувствительным элементом.
В исходном состоянии наличие электрического контакта между чувствительным и измерительным элементами создает замкнутую электрическую цепь, по которой протекает электрический ток; в результате на выходе формирователя сигнала появляется ток возбуждения электромагнита, фиксирующего измерительный элемент. При перемещении контролируемого объекта чувствительный элемент под действием измерительного усилия, создаваемого мембраной, перемещается в направлении размыкания контакта между измерительным и чувствительным элементами. В момент разрыва электрической цепи формирователь сигнала снимает ток возбуждения с обмотки фиксирующего электромагнита, и измерительный элемент под действием пружины перемещается в направлении к чувствительному элементу до момента восстановления контакта между чувствительным и измерительным элементами и фиксации измерительного элемента в новом положении.
Прерывание и восстановление контакта создает передний и задний фронты импульсного сигнала, который является эквивалентным единичному перемещению измерительного элемента, осуществляя, таким образом, преобразование монотонного перемещения в импульсный дельта-модулированный электрический сигнал путем использования естественного квантующего эффекта-гистерезиса. Квантуемое перемещение при этом характеризуется величиной, определяемой двумя состояниями электрического контакта (замкнуто-разомкнуто).
Недостаток известного устройства определяется тем обстоятельством, что в момент установления контакта между измерительным и чувствительным элементами усилие давления пружины, перемещающей измерительные элементы, передается через чувствительный элемент на контролируемый объект, в котором под действием этого контактного усилия возникает упругая микродеформация. Величина этой микродеформации под действием пружины ограничивает предельно достигаемую чувствительность устройства до уровня 0,2 микрона. Кроме того, при размыкании электрического контакта возникает электроэрозионный мостик. Этот мостик для тока распознается формирователем сигнала как наличие контакта, а измерительный импульс возникает уже после разрыва образующегося мостика. Таким образом, длина каждого микроперемещения измерительного элемента не может быть меньшей, чем общая длина электроэрозионного мостика и величины возникшей микродеформации. Одновременно с этим возникновение электроэрозионного мостика приводит к нарушению геометрии контактных элементов, что создает нестабильность их метрологических параметров.
Целью предлагаемого изобретения является повышение чувствительности устройства в широком динамическом диапазоне путем устранения упругих микродеформаций в размерной цепи “датчик – объект”, а также устранение электроэрозионных процессов на рабочих поверхностях чувствительного и измерительного элементов.
Поставленная цель достигается следующим образом: устройство для измерения микроперемещений содержит измерительный и чувствительный элементы, мембрану, формирователь сигнала, выход которого соединяется с обмоткой фиксирующего электромагнита, и, кроме того, устройство дополнительно снабжено тянущим электромагнитом, который взаимодействует с измерительным элементом; обмотка тянущего электромагнита связана со вторым выходом формирователя сигнала, инверсным относительно выхода, связанного с обмоткой фиксирующего электромагнита.
Максимальный динамический диапазон измеряемых микроперемещений может обеспечиваться размещением тянущего электромагнита на мембране, связанной с чувствительным элементом.
Для исключения образования на рабочих поверхностях чувствительного и измерительного элементов окисных, водяных и других подобных пленок заявляемое устройство помещают в герметичный корпус, заполненный инертной средой.
Способ преобразования микроперемещений в электрический сигнал, который используют в заявляемом устройстве, исключает образование электроэрозионных мостиков в рабочем зазоре. Этот способ заключается в том, что фиксацию измерительного элемента осуществляют при возникновении между измерительным и чувствительным элементами тока автоэлектронной эмиссии, а освобождают и смещают измерительный элемент при срыве тока автоэлектронной эмиссии,
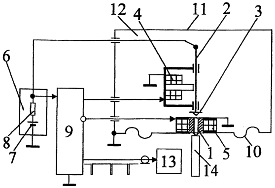
На чертеже представлена принципиальная схема устройства.
Устройство для измерения микроперемещений состоит из чувствительного элемента 1, измерительного элемента 2 с шайбой 3, фиксирующего электромагнита 4 и тянущего электромагнита 5. Измерительный элемент 2 соединяют с формирователем сигнала 6, который содержит источник рабочего напряжения 7 и ограничитель электрического тока 8. Выход формирователя сигнала 6 связывают с входом усилителя 9, прямой выход которого соединяют с обмоткой фиксирующего электромагнита 4, а инверсный выход соединяют с обмоткой тянущего электромагнита 5. Тянущий электромагнит 5 располагают на мембране 10, которая в совокупности с корпусом 11 образует герметичную камеру 12, заполненную защитной средой. Импульсный выходной сигнал с усилителя 9 поступает на индикатор 13. Условный контролируемый объект 14 связывают с чувствительным элементом.
Устройство работает следующим образом.
При перемещении чувствительного элемента 1 под действием упругой силы мембраны 10 вслед за контролируемым объектом 14 происходит срыв электропроводности в измерительной цепи: источник рабочего напряжения 7 – ограничитель тока 8 – измерительный элемент 2 – чувствительный элемент 1 – мембрана 10 – «земля». В момент срыва тока автоэлектронной эмиссии по сигналу с формирователя сигнала 6 усилитель 9 снимает ток возбуждения с фиксирующего электромагнита 4 и одновременно подает ток возбуждения на обмотку тянущего электромагнита 5. Под действием силы притяжения со стороны тянущего электромагнита 5, прикладываемой к шайбе 3, измерительный элемент 2, освобожденный от фиксирующего усилия электромагнита 4, перемещается в направлении к чувствительному элементу 1. Это перемещение происходит до момента возникновения тока автоэлектронной эмиссии между чувствительным элементом 1 и измерительным элементом 2 указанной выше измерительной цепи, т.е. на расстоянии, определяемом выражением:
=U/E,
где – величина зазора между измерительным элементом 2 и чувствительным элементом 1, при котором возникает ток автоэлектронной эмиссии;
U – выбранная величина рабочего напряжения;
Е – напряженность поля автоэлектронной эмиссии, равная 109 вольт/метр.
При выбранной величине рабочего напряжения, равной 0,05 вольта, расстояние, при котором будет происходить возникновение тока автоэлектронной эмиссии, составляет 5·10-11 метра, или 0,5 
В момент появления тока эмиссии по сигналу с усилителя 9 электромагниты 4 и 5 меняют свое состояние: с тянущего электромагнита 5 снимается ток возбуждения, а фиксирующий электромагнит 4, притягивая к себе измерительный элемент 2, фиксирует его в новом положении. Продолжающееся перемещение чувствительного элемента 1 под действием упругой силы мембраны 10 вслед за перемещающимся контролируемым объектом 14 приводит к срыву тока автоэлектронной эмиссии (при расстоянии между измерительным 2 и чувствительным 1 элементами, равном + , где – величина гистерезиса автоэлектронной эмиссии), и процесс повторяется в последовательности, описанной выше.
Каждый повторяющийся при перемещении чувствительного элемента 1 цикл формирует передний и задний фронты импульсов, которые эквивалентны единичному перемещению измерительного элемента 2. Возникающие импульсы с усилителя 9 поступают на индикатор 13 и регистрируются.
«Цена» одного импульса определяется суммарным гистерезисом, который зависит от инерционности измерительного элемента 2 и времени срабатывания тянущего электромагнита 5 и фиксирующего электромагнита 4, а также от величины гистерезиса автоэлектронной эмиссии.
Размещение тянущего электромагнита 5 на мембране 10 обеспечивает работоспособность устройства на всей длине хода измерительного элемента 2, определяемой допустимым прогибом мембраны 10. Это объясняется тем, что при перемещениях чувствительного элемента 1 рабочий магнитный зазор в этом случае сохраняется неизменным.
Размещение измерительного элемента 2 и чувствительного элемента 1 в герметичной камере 12, ограниченной корпусом 11 и мембраной 10 и заполненной инертной средой, исключает образование на их рабочих поверхностях окисных и тому подобных пленок, препятствующих возникновению тока автоэлектронной эмиссии.
К предлагаемому решению относятся следующие особенности:
– преобразование монотонных микроперемещений в дельта-модулированный импульсный электрический сигнал происходит без возникновения микродеформаций в размерной цепи «датчик – объект». Как показано выше, это обеспечивается следующим образом: переход измерительной схемы из одного устойчивого состояния в другое состояние происходит при отсутствии прямого электрического контакта между измерительным элементом 2 и чувствительным элементом 1 и, следовательно, без возникновения упругих деформаций;
– чувствительность измерительной схемы задается выбранной величиной рабочего напряжения.
Совокупность заявляемых признаков устройства и способа обеспечивает преобразование микроперемещений в дельта-модулированный импульсный электрический сигнал с чувствительностью устройства в диапазоне единиц ангстремов.
Пример реализации изобретения
Измерение перемещения металлического стержня проводилось по методике, определяемой ГОСТ 8.491-83 (GOST 8.491-83) (ГОСТ – общесоюзный государственный стандарт бывшего СССР), но его перемещение задавалось термическим путем. Это позволяло исключить некоторые помехи, связанные с неравномерностью перемещения в случае применения винтовой пары (по методике ГОСТ). В качестве эталонного прибора использовалась измерительная пружинная головка (оптикатор) типа 01П. При удлинении стержня на один микрон, зарегистрированном оптикатором, формирователь сигнала заявляемого датчика вырабатывал последовательность из 2·104 импульсов, зафиксированных частотомером ЧЗ-34А (при использовании золотых поверхностей измерительного и чувствительного элементов и величине рабочего напряжения в измерительной цепи, равного 0,05 вольта). Это означает, что одному импульсу соответствует 1/2·10-10 метра, т.е. 0,5 величина, определяющая чувствительность заявленного устройства.
В случае необходимости измерения знакопеременных перемещений предложенное устройство может быть реализовано в двухканальном варианте.
Формула изобретения
1. Устройство для измерения микроперемещений, состоящее из измерительного и чувствительного элементов формирователя сигнала, мембраны, связанной с чувствительным элементом, и фиксирующего электромагнита, обмотка которого связана с выходом формирователя сигнала, отличающееся тем, что оно дополнительно снабжено тянущим электромагнитом, взаимодействующим с измерительным элементом, а обмотка тянущего электромагнита связана со вторым выходом формирователя сигнала, инверсным относительно выхода, связанного с обмоткой фиксирующего электромагнита.
2. Устройство по п.1, отличающееся тем, что тянущий электромагнит установлен на мембране, связанной с чувствительным элементом.
3. Устройство по п.1, отличающееся тем, что указанное устройство размещают в герметичном, заполненном инертной средой корпусе, одна из стенок которого образована мембраной, связанной с чувствительным элементом.
4. Способ преобразования микроперемещения в электрический сигнал путем естественного квантования, включающий операции фиксации и освобождения измерительного элемента с последующим его перемещением в направлении к чувствительному элементу, отличающийся тем, что измерительный элемент фиксируют при возникновении тока автоэлектронной эмиссии, а освобождают при срыве тока автоэлектронной эмиссии.
РИСУНКИ
PC4A – Регистрация договора об уступке патента Российской Федерации на изобретение
(73) Патентообладатель(и):
Англо-Болтик Холдингс Лимитед (GB)
(73) Патентообладатель:
А-МЕТРИКС ЭлЭлСи (US)
Дата и номер государственной регистрации перехода исключительного права: 02.02.2007 № РД0017927
Извещение опубликовано: 20.03.2007 БИ: 08/2007
|
|