|
(21), (22) Заявка: 2004111847/02, 20.04.2004
(24) Дата начала отсчета срока действия патента:
20.04.2004
(45) Опубликовано: 10.08.2005
(56) Список документов, цитированных в отчете о поиске:
RU 2075720 C1, 20.03.1997. RU 2121644 C1, 10.11.1998. RU 2077020 С1, 10.04.1997. DE 4400850 A1, 21.07.1994.
Адрес для переписки:
125413, Москва, ул. Солнечногорская, 23, корп.2, кв.47, В.Г. Подстегину
|
(72) Автор(ы):
Елисеев В.В. (RU), Подстегин В.Г. (RU), Храмова Н.А. (RU), Осипова Н.Л. (RU)
(73) Патентообладатель(и):
Общество с ограниченной ответственностью “ШэКо” (RU)
|
(54) БРОНЕЖИЛЕТ
(57) Реферат:
Изобретение относится к средствам индивидуальной защиты и может быть использовано при изготовлении бронежилетов. Бронежилет состоит из передней и задней секций с бронеэлементами, установленными в области жизненно важных органов. Имеется внешний чехол, который с внутренней стороны переда и спинки снабжен амортизационными подпорами, изготовленными из пенополиэтилена, пористой резины, каучука или войлока. Бронежилет снабжен дополнительным внутренним влагостойким чехлом и дополнительным внешним разгрузочным чехлом с карманами функционального назначения. Передняя и задняя секции снабжены антитравматическим пакетом из 4-6 слоев арамидных и/или капроновых тканей. Передняя секция снабжена паховым элементом. Бронеэлементы выполнены прямоугольной формы, установлены с перекрытиями 3-10 толщин бронеэлементов и зафиксированы. Противоосколочный защитный экран содержит 5-10 слоев арамидных тканей, а амортизационный подпор выполнен в виде продольных элементов, размещенных в тканевых чехлах на расстоянии 4-5 см. Проекция площади бронеэлементов совпадает с площадью амортизационного подпора, а крепежно-регулировочные средства передней и задней секций снабжены плечевыми амортизаторами и фиксаторами из ткани. Внешний чехол имеет стоки для воды. Техническим результатом изобретения является повышение защитных свойств и комфортности. 7 з.п. ф-лы, 3 ил. 
Заявляемое изобретение относится к средствам индивидуальной защиты человека от огнестрельного и холодного оружия.
Наиболее близким аналогом по технической сущности и достигаемому результату является бронированный жилет, описанный в патенте РФ №2075720, кл. F 41 Н, 1/02, 1996 г. Указанный бронежилет содержит базовый модуль, изготовленный из высокомодульной ткани, имеющей 12-36 слоев, и состоящий из передней полки и спинки, снабженных каждая двумя карманами для бронепластин, расположенными один над другим в области жизненно важных органов, и имеющих форму бронепластин.
Бронежилет снабжен средствами крепления и подгонки по фигуре, выполненными в виде ворсалановых застежек, расположенных в области плечей и пояса, и имеющих наружное покрытие из ткани, хлопчатобумажной или водоотталкивающей, снабженной со стороны защищаемого объекта амортизационными подпорами толщиной 5-10 мм, изготовленными из пенополиэтилена, или пористой резины, или каучука, или войлока.
Бронепластины изготовлены из бронированной стали, или керамики, или композиционного материала, или слоев толщиной 1-12 мм в виде объемно-штампованного изделия пятиугольной формы с площадью поверхности 13-18 дм2.
Карманы для бронепластин оснащены противоосколочными слоями, выполненными из гофрированной ткани. Передняя полка и спинка снабжены по краям каймой толщиной 1-5 см.
Однако известный жилет недостаточно удобен и комфортен и имеет ограниченные защитные свойства.
Выполнение дополнительных противоосколочных слоев из гофрированной ткани трудоемко в изготовлении и усложняет их монтаж в карманы, что ведет к неточности выполнения перекрытия между бронеэлементами и приводит к пробитию защитного пакета, что снижает защитные свойства изделия.
Выполнение наружного чехла из х/б ткани имеет низкие показатели износостойкости. Внешний чехол выполнен из водоотталкивающей ткани и при обработке машинным оборудованием (иглой), нарушается целостность водоотталкивающей пропитки, что снижает защитные характеристики высокомодульных тканей.
Карманы бронеэлементов прошиты одной строчкой – капроновой нитью, при динамической нагрузке строчка нарушается и бронеэлементы теряют жесткую фиксацию, а изделие становится не пригодным для эксплуатации.
Задачей заявляемого изобретения является устранение вышеуказанных недостатков известного бронежилета.
Техническим результатом изобретения является разработка конструкции бронежилета с повышенными защитными свойствами, комфортностью, удобством при эксплуатации и с применением современных материалов.
Эта задача решается с помощью совокупности признаков, указанных в формуле изобретения, общих с ближайшим аналогом, а именно: бронежилет изготовлен из многослойной высокомодульной ткани и содержит переднюю и заднюю секции с крепежно-регулировочными средствами в плечевой и поясной областях и внешнего чехла с установленными бронеэлементами в области жизненно-важных органов и противоосколочным защитным экраном. Внешний чехол с внутренней стороны снабжен амортизационными подпорами, изготовленными из материалов, выбранных из группы: пенополиэтилен, пористая резина, каучук, войлок, и отличительных, существенных признаков таких, как снабжение дополнительным внутренним влагостойким чехлом и дополнительным внешним разгрузочным чехлом с карманами функционального назначения.
Передняя и задняя секции снабжены антитравматическим пакетом, выполненным из 4-6 слоев арамидных и/или капроновых тканей.
Передняя секция снабжена паховым элементом, расположенным внизу передней секции. Бронеэлемены прямоугольной формы и установлены с перекрытиями 3-10 толщин бронеэлементов и зафиксированы двойной силовой строчкой.
Противоосколочный защитный экран содержит 5-10 слоев арамидных тканей.
Амортизационный подпор выполнен в виде продольных элементов, размещенных в тканевых чехлах на расстоянии 4-5 см и зафиксированных машинной строчкой, при этом проекция площади бронеэлементов совпадает с площадью амортизационного подпора.
Крепежно-регулировочные средства передней и задней секций снабжены плечевыми амортизаторами и фиксаторами.
Внешний чехол переда и спинки имеет стоки для воды, размещенные в нижней части.
Снабжение бронежилета внутренним влагостойким чехлом повышает защитные и гигиенические свойства изделия, а дополнительный внешний чехол с карманами функционального назначения повышает защитные свойства изделия и расширяет функциональные возможности.
Снабжение передней и задней секций антитравматическим пакетом, выполненным из 4-6 слоев арамидных и/или капроновых нитей, а передней секции – паховым элементом, позволяет использовать более современные материалы и увеличить площадь защиты жизненно важных органов до 20 дм2.
Выполнение бронеэлементов прямоугольной формы, которые установлены с перекрытиями 3-10 толщин бронеэлементов, а также их фиксирования двойной силовой строчкой, позволяет повысить защитные свойства и увеличить срок службы изделия.
Выполнение противоосколочного защитного экрана из 5-10 слоев арамидных тканей повышает защитные и эксплуатационные свойства изделия.
Выполнение амортизационного подпора в виде продольных элементов, размещенных в тканевых чехлах на расстоянии 4-5 см и зафиксированных машинной строчкой, при котором проекция площади бронеэлементов должна совпадать с площадью амортизационного подпора, что приводит к более точной подгонке изделия по фигуре, тем самым повышает удобство при эксплуатации и комфортность.
Снабжение крепежно-регулировочных средств передней и задней секции плечевыми амортизаторами и фиксаторами, выполненными из ткани внешнего чехла и имеющего стоки для воды, повышает защитные, гигиенические и комфортные свойства изделия.
В пункте 2 формулы изобретения отражена особенность обработки передней и задней секции по периметру строчкой зиг-заг шириной 8-10 мм, захватывающей кант на ширину 1/2 зигзагообразной строчки.
В пункте 3 формулы изобретения отмечается, что передняя секция в поясной области снабжена крепежно-регулировочным средством.
Пункт 4 формулы изобретения уточняет материал внешних чехлов, выполненных из смесовой ткани.
В пункте 5 формулы изобретения уточняется площадь защиты жизненно важных органов, составляющая 20 дм2.
Пункт 6 формулы изобретения отражает методы изготовления антитравматического пакета проклеенным, и/или прессованным, и/или простеганным.
В пункте 7 формулы изобретения отмечается, что проймы чехла внешнего переда снабжены амортизационной прокладкой, выполненной из материалов, выбранных из группы: поролон, пенополиэтилен.
Пункт 8 формулы изобретения уточняет материалы плечевого амортизатора, выбранных из группы: поролон, пенополиэтилен.
Изобретение иллюстрируется фиг.1, 2, 3.
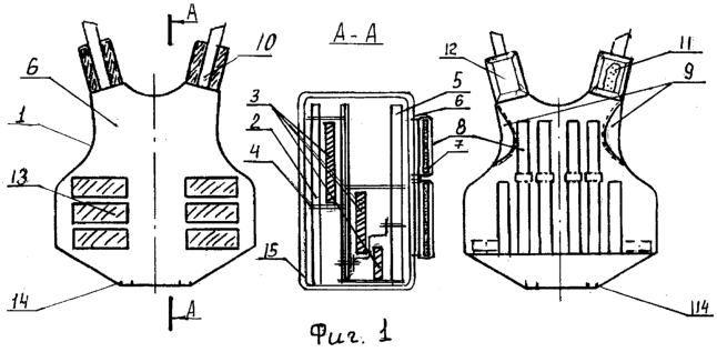
Фиг.1 – вид переда бронежилета, сечение АА и вид с внутренней стороны переда;
Фиг.2 – вид спинки бронежилета и вид с внутренней стороны спинки;
Фиг.3 – вид переда и спинки дополнительного внешнего разгрузочного чехла.
На Фиг.1 изображен перед бронежилета, осевое сечение А-А и вид с внутренней стороны переда.
Бронежилет состоит из передней секции 1, включающей противоосколочный защитный экран 2, бронеэлементы 3, нижний из которых паховый. Бронеэлементы зафиксированы в заданном положении двойной силовой строчкой 4. 3а бронеэлементами (к телу) расположен антитравматический пакет 5. Внешний чехол переда 6 имеет с внутренней стороны амортизационные подпоры 7 с чехлами 8 и амортизационные прокладки 9, расположенные в проймах чехла 6. Передняя секция снабжена в плечевой области крепежно-регулировочным средством 10 с плечевым амортизатором 11, размещенным в тканевом чехле 12. Передняя секция снабжена в поясной области крепежно-регулировочным средством 13. В нижней части внешнего чехла размещены стоки 14 для воды, кроме того, передняя секция имеет влагостойкий чехол 15.
На фиг.2 изображен вид спинки бронежилета и вид с внутренней стороны спинки.
Спинка бронежилета состоит из задней секции 16 с аналогичным защитным пакетом, представленным на фиг.1, сечение А-А. Задняя секция снабжена крепежно-регулировочным средством 17 в плечевой области и в поясной области крепежно-регулировочным средством, состоящим из внутреннего ремня 18, бокового фиксатора 19 и внешнего ремня 20. Внешний чехол 21 задней секции 16 имеет амортизационный подпор 22. Защитный пакет по периметру обработан окантовкой 23.
На фиг.3 изображен вид спереди и сзади дополнительного внешнего разгрузочного чехла.
Дополнительный внешний разгрузочный чехол переда 24 и чехол спинки 25 выполнены из ткани внешнего чехла. На внешней стороне чехла переда и спинки размещены карманы 26 функционального назначения. На внутренней стороне чехла переда и спинки размещены амортизационные подпоры аналогичные амортизационным подпорам 7 и 22 внешнего чехла переда 6 и спинки 21.
Предложенная конструкция дает возможность повысить защитные свойства бронежилета, увеличить срок службы и улучшить эргономические показатели изделия с применением современных материалов.
Формула изобретения
1. Бронежилет, изготовленный из многослойной высокомодульной ткани и состоящий из передней и задней секций с крепежно-регулировочными средствами в плечевой и поясной областях и внешнего чехла, с установленными бронеэлементами в области жизненно важных органов, с противоосколочным защитным экраном, причем внешний чехол с внутренней стороны переда и спинки снабжен амортизационными подпорами, изготовленными из материалов, выбранных из группы пенополиэтилен, пористая резина, каучук, войлок, отличающийся тем, что он снабжен дополнительным внутренним влагостойким чехлом и дополнительным внешним разгрузочным чехлом с карманами функционального назначения, при этом передняя и задняя секции снабжены антитравматическим пакетом, выполненным из 4-6 слоев арамидных и/или капроновых тканей, причем передняя секция снабжена паховым элементом, расположенным внизу передней секции, а бронеэлементы прямоугольной формы установлены с перекрытиями 3-10 толщин бронеэлементов и зафиксированы двойной силовой строчкой, при этом противоосколочный защитный экран содержит 5-10 слоев арамидных тканей, а амортизационный подпор выполнен в виде продольных элементов, размещенных в тканевых чехлах на расстоянии 4-5 см и зафиксированных машинной строчкой, при этом проекция площади бронеэлементов совпадает с площадью амортизационного подпора, а крепежно-регулировочные средства передней и задней секций снабжены плечевыми амортизаторами и фиксаторами, выполненными из ткани внешнего чехла, имеющего стоки для воды, расположенные в нижней части.
2. Жилет по п.1, отличающийся тем, что передняя и задняя секции обработаны по периметру строчкой зигзаг шириной 8-10 мм, захватывающей кант на ширину 1/2 зигзагообразной строчки.
3. Жилет по п.1, отличающийся тем, что передняя секция в поясной области снабжена крепежно-регулировочным средством.
4. Жилет по п.1, отличающийся тем, что внешние чехлы выполнены из смесовой ткани.
5. Жилет по п.1, отличающийся тем, что площадь защиты жизненно важных органов составляет 20 дм2.
6. Жилет по п.1, отличающийся тем, что антитравматический пакет изготовлен проклеенным, и/или прессованным, и/или простеганным.
7. Жилет по п.1, отличающийся тем, что проймы чехла внешнего переда снабжены амортизационной прокладкой, выполненной из материалов, выбранных из группы поролон, пенополиэтилен.
8. Жилет по п.1, отличающийся тем, что плечевой амортизатор изготовлен из материалов, выбранных из группы поролон, пенополиэтилен.
РИСУНКИ
MM4A – Досрочное прекращение действия патента СССР или патента Российской Федерации на изобретение из-за неуплаты в установленный срок пошлины за поддержание патента в силе
Дата прекращения действия патента: 21.04.2006
Извещение опубликовано: 27.04.2007 БИ: 12/2007
MM4A – Досрочное прекращение действия патента СССР или патента Российской Федерации на изобретение из-за неуплаты в установленный срок пошлины за поддержание патента в силе
Дата прекращения действия патента: 21.04.2006
Извещение опубликовано: 20.06.2007 БИ: 17/2007
|