|
|
(21), (22) Заявка: 2004113396/06, 05.05.2004
(24) Дата начала отсчета срока действия патента:
05.05.2004
(45) Опубликовано: 10.08.2005
(56) Список документов, цитированных в отчете о поиске:
RU 2160870 C1, 20.12.2000. SU 1476249 A1, 30.04.1989. SU 781495 А, 23.11.1980. ЕР 0421903 А2, 10.04.1991. ЕР 0650012 А1, 26.04.1995.
Адрес для переписки:
426075, Удмуртская Респ., г.Ижевск, ул. К.Маркса, 393, кв.136, А.В. Благодатских
|
(72) Автор(ы):
Бутенко В.Г. (RU), Благодатских А.В. (RU), Кононенко А.И. (RU)
(73) Патентообладатель(и):
Благодатских Алексей Владимирович (RU), Кононенко Александр Иванович (RU), Бутенко Владимир Григорьевич (RU)
|
(54) БЛОЧНОЕ ГОРЕЛОЧНОЕ УСТРОЙСТВО
(57) Реферат:
Изобретение относится к теплоэнергетике и может быть использовано в топочных устройствах различного назначения. В блочном горелочном устройстве, содержащем основание, смонтированные на нем вентиляторный улиточный корпус с двигателем, трубу и съемный сменный узел регулируемой подачи соответственно газового или жидкого топлива, сокращение трудоемкости пусконаладочных работ и ремонтно-профилактического обслуживания достигнуты установкой в трубе тангенциального патрубка, завихрителя, перфорированной обечайки и крышки, образующих в полости обечайки стационарную камеру сгорания топливовоздушной смеси, сообщенную через отверстия обечайки с охватывающим эту камеру кольцевым зазором. В процессе эксплуатации устройства одна часть закрученного патрубком потока воздуха поступает на завихритель и в камеру с обеспечением высококачественного смешивания топлива с воздухом и придания факелу горелки вытянутого вдоль обечайки лепестка устойчивой формы, а другая часть потока протекает по кольцевому зазору и через отверстия в камеру с обеспечением постоянной подпитки и поддержания устойчивых характеристик внутреннего потока. 5 з.п. ф-лы, 7 ил. 
Изобретение относится к теплоэнергетике и может быть использовано в топочных устройствах различного назначения.
Известно горелочное устройство, содержащее цилиндрическую камеру сгорания, установленный в донной части по продольной оси камеры вертикальный парубок с множеством отверстий в своей боковой стенке, топливное сопло, установленное в боковой стенке камеры между ее донной частью и верхней кромкой патрубка, вентилятор, предназначенный для подачи внутрь патрубка воздуха с образованием закрученного потока в камере сгорания [1].
Устройство имеет простое конструктивное исполнение, удобно в профилактическом обслуживании и ремонте, вместе с тем, отсутствие возможности регулировки полноты сгорания газовоздушной смеси и мощности горелки снижает технические и эксплуатационные свойства устройства и не исключает повышенного содержания токсичных веществ в продуктах сгорания, загрязняющих окружающую среду.
Известно блочное горелочное устройство, содержащее основание, закрепленный на основании съемный корпус, закрепленную на основании в направлении выдувания съемную трубу, снабженный штуцером и двигателем вентиляторной улиточный корпус, соединенный с основанием на стороне нагнетания, и узел регулируемый подачи топлива, включающий смонтированное на съемном корпусе и установленное в съемной трубе сопловое устройство со средствами подачи и регулировки газового топлива [2].
Устройство компактно в конструктивном исполнении, обладает достаточно высокими техническими и эксплуатационными качествами, удобно в профилактическом обслуживании и ремонте, вместе с тем, возможность работы только на газовом топливе снижает, как и в устройстве по [1], его функциональные свойства и качества.
Известно блочное горелочное устройство, содержащее основание, смонтированный на нем на стороне нагнетания и снабженный штуцером и двигателем вентиляторный улиточный корпус, жестко связанную с основанием в направлении выдувания съемную сменную трубу и съемный узел регулируемой подачи топлива, который выполнен сменным в зависимости от вида сжигаемого (жидкого или газообразного) топлива [3]. Устройство по совокупности существенных признаков наиболее близко к заявляемому изобретению и принято в качестве прототипа.
Устройство, обладая качествами, характерными для устройства по [2], имеет более широкие функциональные возможности, поскольку может попеременно работать либо на жидком, либо на газообразном топливах, вместе с тем, при переходе с одного топлива на другое заменяют не только смонтированные на основании на собственных корпусах узлы регулируемой подачи топлива, но и соответствующие им съемные сменные трубы, имеющие разные формы и размеры, что увеличивает номенклатуру используемых комплектующих, а также существенно повышает трудоемкость монтажа и пусконаладочных работ. Соответственно повышаются затраты на профилактическое обслуживание и ремонт устройства.
Задача изобретения состоит в создании блочного горелочного устройства с попеременным использованием узлов регулируемой подачи жидкого или газообразного топлива, высокие технические и эксплуатационные характеристики которого обеспечивались бы при минимальной номенклатуре комплектующих в его составе, а также снижении трудоемкости монтажных, пусконаладочных и ремонтно-профилактических работ в процессе эксплуатации устройства.
Задача решается тем, что блочное горелочное устройство, содержащее основание, смонтированный на нем и снабженный двигателем вентиляторный улиточный корпус, жестко связанную с основанием в направлении выдувания трубу и съемный сменный узел регулируемой подачи жидкого или газообразного топлив, установленный в указанной трубе и на основании устройства, согласно изобретению труба снабжена крышкой, перфорированной обечайкой, завихрителем и тангенциальным патрубком, связанным с выходом вентиляторного корпуса, при этом завихритель и обечайка установлены по продольной оси трубы с образованием кольцевого зазора по наружной поверхности обечайки, а патрубок установлен над завихрителем в указанном кольцевом зазоре.
Целесообразно свободный конец трубы снабдить кольцеобразным элементом из жаропрочного металла, например вольфрама.
Целесообразно на наружной поверхности трубы выполнить опорный фланец, предназначенный для жесткой связи с топочным устройством.
Целесообразно трубу выполнить составной по длине, при этом завихритель и тангенциальный патрубок закрепить в ее задней части.
Целесообразно при использовании газового топлива узел его регулируемой подачи выполнить содержащим топливораздающее средство в виде газового сопла со свечой для поджига топлива и сообщенный с ним через газовый топливный тракт, состоящий из трубопровода, блок регулировки подачи газа.
Целесообразно при использовании жидкого топлива узел его регулируемой подачи выполнить содержащим топливораздающее устройство в виде форсунки с электродами для поджига топлива, сообщенной через топливный тракт, состоящий из трубопровода, с топливным насосом.
При использовании изобретения может быть получен технический результат, выражающийся в:
– высококачественной подготовке и горении топливовоздушной смеси, придании факелу горелки вытянутого вдоль обечайки лепестка устойчивой формы, что обусловлено наличием тангенциального патрубка, создающего в полости трубы два спиралеобразных потока, первый, из которых внутренний протекает от завихрителя через полость обечайки, а второй – по кольцевому зазору между трубой и обечайкой, с обеспечением устойчивых характеристик внутреннего потока;
– сокращении затрат при проведении пусконаладочных и ремонтно-профилактических работ, что обусловлено использованием в устройстве одной трубы, эффективно работающей со сменными узлами регулируемой подачи как жидкого, так и газообразного топлив;
– сокращении номенклатуры комплектующих в составе устройства, так как отпадет необходимость в наборе труб и съемной переходной разборной муфте.
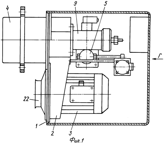
Другие преимущества заявляемого изобретения показаны в описании и чертежах, где на фиг.1 изображен общий вид устройства в плане, комплектация для газообразного топлива, на фиг.2 – то же, комплектация для жидкого топлива, на фиг.3 – труба с обечайкой и завихрителем, продольный разрез, на фиг.4 – разрез А-А на фиг.3, на фиг.5 – вид по стрелке Б на фиг.3, на фиг.6 – вид по стрелке В на фиг.2, на фиг.7 – вид по стрелке Г на фиг.1.
Блочное горелочное устройство содержит основание 1, на котором смонтированы вентиляторный улиточный корпус 2 с двигателем 3, труба 4 и съемный сменный узел регулируемой подачи топлива, который при использовании газообразного или жидкого топлива включает соответственно:
– узел 5 регулируемой подачи газа, состоящий из газового сопла (не показано), электромагнитного клапана 6, трубопровода 7 с газовой заслонкой 8, трубопровода 9 с дроссельной шайбой (не показано) регулировки подачи количества газа. Розжиг факела осуществляется высоковольтной искрой, подающейся на электроды 10, выполненные в виде свечи зажигания, установленной в трубе 4.
– узел 11 подачи жидкого топлива состоит из форсунки (не показано) и блока электромагнитных клапанов 12, осуществляющих подачу топлива от насоса 13, прифланцованного к задней части двигателя.
При этом посадочные места и крепежные элементы узлов подачи газового и жидкого топлив взаимозаменяемые.
Труба 4 выполнена составной по длине, в ее задней, связанной через тангенциальный патрубок 14 с корпусом 2 части, установлен завихритель 15, а в центральной части по продольной оси закреплена перфорированная обечайка 16. В передней части трубы установлена крышка 17 с кольцеобразным элементом 18 из жаропрочного металла, например вольфрама. Полость кольцевого зазора сообщается с камерой 19 сгорания через систему ее отверстий 20.
Для установки на тепловой агрегат (не показано) на трубе 4 выполнен опорный фланец 21 с отверстиями под крепеж.
Блочное горелочное устройство работает следующим образом. При работе на жидком топливе в камеру сгорания устанавливают блок 12, а на основании 1 монтируют узел 11 регулируемой подачи жидкого топлива по фиг.2. При запуске двигателя 3 осуществляется подача в узел 11 жидкого топлива по топливопроводу, соединенному с насосом 13. Одновременного из вентиляторного корпуса 2, соединенного с воздухозаборником 22, в трубу 4 нагнетается воздух и с помощью электрода 10 осуществляется поджиг топливной смеси. При этом одна часть закрученного воздушного потока, поступающего на завихритель 15, поступает в камеру 19 сгорания с обеспечением высококачественного смешивания топлива с воздухом и придания факелу горелки вытянутого вдоль обечайки лепестка устойчивой формы, а другая часть этого потока протекает по заглушенному с торцов кольцевому зазору 23 и через отверстия 20 в камеру сгорания с обеспечением постоянной подпитки и поддержания устойчивых характеристик внутреннего потока.
Регулировка мощности данной горелки на жидком топливе осуществляется ступенчато, т.е. подключением электромагнитных клапанов 12 подачи топлива в нужной последовательности получают несколько ступеней мощности горелки.
При работе на газообразном топливе в полости обечайки устанавливают узел 5 регулируемой подачи газа. При запуске двигателя 3 осуществляется открывание электромагнитного клапана 6, подача газового топлива по трубопроводу 7, соединенному с блоком 24 регулировки подачи газа. Одновременно из вентиляторного корпуса 2, соединенного с воздухозаборником 22, в трубу 4 нагнетается воздух. С помощью свечи 10, соединенной с высоковольтной катушкой 25, осуществляется поджиг газовоздушной смеси. Процесс горения газовоздушной смеси в трубе 4 аналогичен описанному выше процессу горения смеси жидкого топлива с воздухом.
Регулировка мощности данной горелки на газовом топливе осуществляется плавно, с помощью системы рычагов воздушной 27 и газовой заслонок, блока 24 регулировки подачи газа, электронного блока автоматики (не показано) в зависимости от требуемых условий.
Контроль факела (наличие пламени) осуществляется ионизационным датчиком 26, постоянно, как и свеча 10, закрепленным на трубе 4.
Заявленное устройство успешно выдержало всесторонние испытания в осенне-зимний период 2003-2004 года как на жидком, так и газообразном топливе в вариантах исполнения от портативного переносного, который используется в камере для сушки древесины, до стационарного, установленного на котле, смонтированном в системе отопления и горячего водоснабжения коттеджа общей площадью около 400 м2, при этом обечайка была изготовлена из нержавеющей стали, время переналадки сократилось по сравнению с таковым на устройстве-прототипе в четыре раза, а трудоемкость ремонто-профилактических работ сократилось в два раза.
Источники информации
1. Заявка Японии №59-34248, кл. F 23 D 11/24, опубл. 21.08.1984.
2. Инструкция по эксплуатации газовой горелки типа BQ200R фирмы. Bentone AB”, 1997.
3. Патент России №2160870, кл. F 23 C 1/08, опубл. 20.12.2000 – прототип.
Формула изобретения
1. Блочное горелочное устройство, содержащее основание, смонтированный на нем и снабженный двигателем вентиляторный улиточный корпус, жестко связанную с основанием в направлении выдувания трубу и съемный сменный узел регулируемой подачи жидкого или газообразного топлив, установленный в указанной трубе и на основании устройства, отличающееся тем, что труба снабжена крышкой, перфорированной обечайкой, завихрителем и тангенциальным патрубком, связанным с выходом вентиляторного корпуса, при этом завихритель и обечайка установлены по продольной оси трубы с образованием кольцевого зазора по наружной поверхности обечайки, а патрубок установлен над завихрителем в указанном кольцевом зазоре.
2. Устройство по п.1, отличающееся тем, что свободный конец трубы снабжен кольцеобразным элементом из жаропрочного металла, например, вольфрама.
3. Устройство по п.1, отличающееся тем, что на наружной поверхности трубы выполнен опорный фланец, предназначенный для жесткой связи с топочным устройством.
4. Устройство по п.1, отличающееся тем, что труба выполнена составной по длине, при этом завихритель и тангенциальный патрубок закреплены в ее задней части.
5. Устройство по п.1, отличающееся тем, что при использовании газового топлива узел регулируемой подачи топлива содержит топливораздающее средство в виде газового сопла со свечой для поджига топлива и сообщенный с ним через газовый топливный тракт, состоящий из трубопровода, блок регулировки подачи газа.
6. Устройство по п.1, отличающееся тем, что при использовании жидкого топлива узел регулируемой подачи топлива содержит топливораздающее устройство в виде форсунки с электродами для поджига топлива, сообщенной через топливный тракт, состоящий из топливопровода, с топливным насосом.
РИСУНКИ
MM4A – Досрочное прекращение действия патента СССР или патента Российской Федерации на изобретение из-за неуплаты в установленный срок пошлины за поддержание патента в силе
Дата прекращения действия патента: 06.05.2006
Извещение опубликовано: 27.04.2007 БИ: 12/2007
MM4A – Досрочное прекращение действия патента СССР или патента Российской Федерации на изобретение из-за неуплаты в установленный срок пошлины за поддержание патента в силе
Дата прекращения действия патента: 06.05.2006
Извещение опубликовано: 20.06.2007 БИ: 17/2007
|
|