|
|
(21), (22) Заявка: 2001130450/03, 12.04.2000
(24) Дата начала отсчета срока действия патента:
12.04.2000
(30) Конвенционный приоритет:
13.04.1999 ES U9900928
(43) Дата публикации заявки: 27.08.2003
(45) Опубликовано: 10.08.2005
(56) Список документов, цитированных в отчете о поиске:
ES 1030666 U, 16.09.1995. US 5802795 A, 08.09.1998. DE 3540555 A1, 27.05.1987. GB 1011676 A, 01.12.1965. SU 754027 A, 07.08.1980.
(85) Дата перевода заявки PCT на национальную фазу:
13.11.2001
(86) Заявка PCT:
ES 00/00130 (12.04.2000)
(87) Публикация PCT:
WO 00/61892 (19.10.2000)
Адрес для переписки:
191186, Санкт-Петербург, а/я 230, “АРС-ПАТЕНТ”, пат.пов. В.М.Рыбакову, рег. № 90
|
(72) Автор(ы):
КСАММАР БОВЕ Педро (ES)
(73) Патентообладатель(и):
ЭНКОФРАДОС Х. АЛЬСИНА, С.А. (ES)
|
(54) ОПАЛУБКА ДЛЯ КОЛОНН
(57) Реферат:
Изобретение относится к области строительства, а именно к опалубкам для колонн. Опалубка для колонн образована несколькими щитами, внешние стороны которых снабжены поперечными ребрами, образованными С-образными профилями. Щиты соединены между собой с формированием призматического контура, который ограничен внутренними плоскими сторонами всех щитов. Щиты снабжены средствами взаимной установки и разъемными средствами фиксации в неподвижном положении. Средства взаимной установки выполнены в виде шарнирных штырей, прикрепленных к краям щитов, и соответствующих отверстий, равномерно распределенных на щите в поперечном направлении. Указанные отверстия выполнены удлиненными, а разъемные средства фиксации щитов в неподвижном положении выполнены в виде сквозного отверстия в стержне каждого шарнирного штыря, ось которого имеет возможность колебания относительно основания, жестко прикрепленного к краю щита штыря, и скользящего элемента, снабженного клинообразным концом и установленного с возможностью поперечного смещения и регулировки внутри С-образных профилей таким образом, что клинообразный конец скользящего элемента одного щита может быть вставлен в отверстие стержня шарнирного штыря смежного щита для предотвращения нежелательного разъединения щитов. Технический результат – сокращение трудозатрат на сборку опалубки. 5 ил. 
Область техники, к которой относится изобретение
Настоящее изобретение относится к опалубке для колонн, образованной несколькими плоскими прямоугольными щитами, каждый из которых имеет плоскую внутреннюю сторону и наружную сторону, снабженную поперечными ребрами, образованными С-образными профилями, которые неразрывно соединены со щитом своими центральными участками, причем при состоянии опалубки в сборе каждый из щитов установлен таким образом, что один из его продольных краев находится в сплошном контакте с внутренней стороной смежного щита с образованием призматического контура, который ограничен обращенными друг к другу внутренними плоскими сторонами всех щитов и образует полость для заполнения бетоном колонны, при этом щиты содержат средства взаимной установки и разъемные средства фиксации в неподвижном положении.
Уровень техники
С давнего времени известно множество конструкций опалубок для колонн, среди которых можно выделить полезные модели Испании №№ 76449, 95410, 170297, 170326, U 8900526, U 9400013 и U 9500862. Все они относятся к опалубкам, в особенности подходящим для сооружения колонн.
Во всех примерах выполнения, описанных в этих документах, используются щиты, соединенные между собой с помощью замков и болтов, которые проходят через отверстия и прорезы щитов с закреплением с помощью гаек и винтов, или с помощью клиньев, вставляемых в соответствующие прорезы.
Из всех этих решений только в полезной модели Испании № U 9500862 рассмотрена возможность того, что такие убираемые замки и болты могут быть неотделимо присоединены к соответствующему щиту.
В частности, в полезной модели Испании № U 9500862 раскрыта опалубка для колонн, образованная несколькими плоскими прямоугольными щитами, каждый из которых имеет внутреннюю плоскую сторону и наружную сторону, снабженную поперечными ребрами, образованными С-образными профилями, которые неразрывно соединены со щитом своими центральными участками. Положение опалубки в сборе достигается при расположении каждого щита таким образом, что один из его продольных краев находится в сплошном контакте с внутренней стороной смежного щита. При этом щиты формируют призматический контур, который ограничен обращенными друг к другу внутренними плоскими сторонами всех щитов и образует полость для заполнения бетоном колонны. Щиты содержат средства взаимной установки и разъемные средства фиксации в неподвижном положении. При этом указанные средства взаимной установки выполнены в виде продольного ряда шарнирных штырей, прикрепленных к краю щита, который предназначен для контакта с внутренней плоской стороной смежного щита, и соответствующего ряда отверстий, равномерно распределенных в поперечном направлении по внутренней стороне таким образом, что для сборки опалубки требуется лишь совместить шарнирные штыри и соответствующие отверстия каждого ряда на смежном щите, а затем вставить шарнирные штыри в отверстия.
Решение по полезной модели № U 9500862 имеет важное преимущество, заключающееся в том, что невозможно потерять штыри при последующем использовании щита. Однако в устройстве по полезной модели U 9500862 имеются определенные недостатки, которые вызывают неудобства при его использовании. К ним относится, например, необходимость предварительной и индивидуальной регулировки всех болтов при соединении смежных щитов, при этом болты должны быть отрегулированы с помощью гаек с их последующим затягиванием.
Сущность изобретения
В опалубке для колонн, которая является объектом настоящего изобретения, все вышеупомянутые недостатки полностью устранены. Опалубка отличается тем, что указанные отверстия выполнены удлиненными, а разъемные средства фиксации щитов в неподвижном положении выполнены в виде сквозного отверстия в стержне каждого шарнирного штыря, а также снабженного клинообразным концом скользящего элемента, который установлен с возможностью поперечного смещения и регулировки внутри С-образных профилей, при этом указанные средства фиксации при вставлении клинообразного конца скользящего элемента одного щита в отверстие стержня шарнирного штыря смежного щита предотвращают нежелательное разъединение этих щитов.
Решение опалубки по изобретению позволяет значительно сократить время на сборку опалубки за счет заметного уменьшения времени на установку и взаимную фиксацию щитов, так как устраняется необходимость совмещения болтов, а также их крепления гайками. Дополнительное преимущество достигается также за счет того, что в данном случае не могут быть потеряны такие крепежные детали, как гайки или инструменты типа гаечного ключа.
Перечень фигур чертежей
На прилагаемых чертежах показан не являющийся ограничительным пример реализации опалубки как объекта настоящего изобретения.
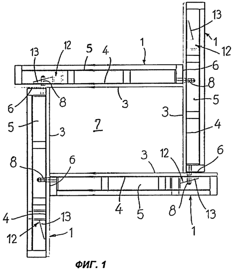
Фиг.1 изображает в поперечном разрезе установку четырех щитов опалубки в соответствии с изобретением, для сооружения колонны.
Фиг.2 изображает в поперечном разрезе (в увеличенном виде) закрепление одного щита на другом.
Фиг.3 изображает в перспективе процесс получения колонны при использовании щитов опалубки по изобретению.
Фиг.4 изображает в перспективе в увеличенном виде шарнирный штырь и соответствующую скользящую часть, которые отделены друг от друга, но находятся в положении совмещения, и фиг. 5 изображает шарнирный штырь и скользящую часть в том же виде, что и на фиг.4, но в положении, когда скользящая часть вставлена в шарнирный штырь.
Сведения, подтверждающие возможность осуществления изобретения
Из этих чертежей следует, что опалубка для колонн 10 образована из нескольких плоских прямоугольных щитов, каждый из которых имеет внутреннюю плоскую сторону 3 и наружную сторону 4, снабженную поперечными ребрами 5.
Предпочтительно ребра 5 образованы С-образными профилями, соединенными со щитом 1 своими центральными участками.
Состояние в сборе опалубки такого типа достигается за счет установки каждого щита 1 таким образом, что один из его продольных краев 6 находится в сплошном контакте с внутренней стороной 3 смежного щита 1. При этом формируется призматический контур 7, ограниченный обращенными друг к другу внутренними плоскими сторонами 3 всех щитов. Этот призматический контур 7 образует полость для заполнения бетоном колонны 10.
Щиты 1 содержат средства взаимной установки и разъемные средства фиксации в неподвижном положении. Указанные средства взаимной установки выполнены в виде продольного ряда шарнирных штырей 8, прикрепленных к краю 6 щита 1, который предназначен для контакта с внутренней плоской стороной 3 смежного щита 1, и соответствующего ряда удлиненных отверстий 9, которые равномерно распределены на щите 1 в поперечном направлении. Каждый шарнирный штырь 8 прикреплен к щиту 1 таким образом, что ось стержня шарнирного штыря имеет возможность некоторого колебания относительно основания шарнирного штыря 8, которое жестко прикреплено к краю щита 1. За счет этого создается некоторая свобода смещения шарнирного штыря 8, что значительно облегчает его введение в соответствующее отверстие 9 смежного щита 1.
Таким образом, для сборки опалубки требуется лишь совместить шарнирные штыри 8 каждого щита 1 и соответствующие отверстия 9 каждого ряда отверстий на смежном щите 1, а затем вставить шарнирные штыри 8 в отверстия 9.
Разъемные средства фиксации в неподвижном положении щитов 1 выполнены в виде сквозного отверстия 11 в стержне каждого шарнирного штыря 8 и скользящего элемента 12 с клинообразным концом 13, как это видно на фиг. 4 и 5. Скользящий элемент 12 установлен внутри С-образного профиля 12 с возможностью поперечного смещения и регулировки.
Указанные средства фиксации в неподвижном положении обеспечивают запирание, когда клин 13 скользящего элемента одного из щитов 1 вставлен в отверстие 11 стержня шарнирного штыря 8 смежного щита 1, таким образом предотвращают нежелательное разъединение двух щитов.
Формула изобретения
Опалубка для колонн (10), образованная несколькими плоскими прямоугольными щитами (1), каждый из которых имеет плоскую внутреннюю сторону (3) и наружную сторону (4), снабженную поперечными ребрами (5), образованными С-образными профилями, которые неразрывно соединены со щитом своими центральными участками, причем при состоянии опалубки в сборе каждый из щитов установлен таким образом, что один из его продольных краев (6) находится в сплошном контакте с внутренней стороной смежного щита с образованием призматического контура (7), который ограничен обращенными друг к другу внутренними плоскими сторонами всех щитов и образует полость для заполнения бетоном колонны (10), при этом щиты содержат средства взаимной установки и разъемные средства фиксации в неподвижном положении, причем указанные средства взаимной установки выполнены в виде продольного ряда шарнирных штырей (8), прикрепленных к краю щита, который предназначен для контакта с внутренней плоской стороной смежного щита, и соответствующего ряда отверстий (9), равномерно распределенных в поперечном направлении на внутренней стороне таким образом, что для сборки опалубки необходимо лишь совместить шарнирные штыри каждого щита и соответствующие отверстия каждого ряда на смежном щите, а затем вставить шарнирные штыри в отверстия, отличающаяся тем, что указанные отверстия (9) выполнены удлиненными, а разъемные средства фиксации щитов (1) в неподвижном положении выполнены в виде сквозного отверстия (11) в стержне каждого шарнирного штыря (8), ось которого имеет возможность колебания относительно основания, жестко прикрепленного к краю щита штыря, и скользящего элемента (12), снабженного клинообразным концом (13) и установленного с возможностью поперечного смещения и регулировки внутри С-образных профилей таким образом, что клинообразный конец скользящего элемента одного щита может быть вставлен в отверстие стержня шарнирного штыря смежного щита для предотвращения нежелательного разъединения щитов.
РИСУНКИ
MM4A – Досрочное прекращение действия патента СССР или патента Российской Федерации на изобретение из-за неуплаты в установленный срок пошлины за поддержание патента в силе
Дата прекращения действия патента: 13.04.2009
Извещение опубликовано: 20.11.2010 БИ: 32/2010
|
|