|
|
(21), (22) Заявка: 2003131219/03, 23.10.2003
(24) Дата начала отсчета срока действия патента:
23.10.2003
(45) Опубликовано: 10.08.2005
(56) Список документов, цитированных в отчете о поиске:
RU 2190062 C1, 27.09.2002. SU 543715 A, 12.03.1977. SU 616377 A, 09.06.1978. SU 620558 A, 07.07.1978. SU 804793 A, 25.02.1981. SU 1631137 A1, 28.02.1991. SU 1640306 A1, 07.04.1991. SU 1830404 A1, 30.07.1993.
Адрес для переписки:
644050, г.Омск, пр. Мира, 11, ГОУ ОмГТУ, Информационно-патентный отдел
|
(72) Автор(ы):
Тарасов В.Н. (RU), Бояркин Г.Н. (RU), Коваленко М.В. (RU)
(73) Патентообладатель(и):
Государственное образовательное учреждение Высшего профессионального образования “Омский государственный технический университет” (RU)
|
(54) УСТРОЙСТВО УРАВНОВЕШИВАНИЯ СИЛ ТЯЖЕСТИ РАБОЧЕГО ОБОРУДОВАНИЯ СТРЕЛОВОЙ МАШИНЫ (ВАРИАНТЫ)
(57) Реферат:
Группа изобретений относится к стреловым землеройным, горным, сельскохозяйственным, погрузочным и другим подъемно-транспортным машинам циклического действия. Обеспечивает повышение производительности машины за счет увеличения скорости подъема рабочего оборудования. Сущность: устройство содержит рабочее оборудование, основные и один уравновешивающий гидроцилиндры и, по крайней мере, один газовый баллон и пневмогидроаккумулятор, основной и один дополнительный гидрораспределители, предохранительный клапан, причем газовый баллон соединен с газовой полостью пневмогидроаккумулятора. В первом варианте исполнения устройство снабжено вторым дополнительным гидрораспределителем, установленным с возможностью соединения рабочих полостей основных гидроцилиндров между собой и с насосом. Штоковая полость уравновешивающего гидроцилиндра соединена со штоковыми полостями основных гидроцилиндров. По второму варианту исполнения дополнительный гидрораспределитель выполнен в одном корпусе с основным гидрораспределителем и соединен гидролиниями с гидролиниями основных гидроцилиндров. Дополнительный гидрораспределитель установлен с возможностью соединения в одной позиции рабочих полостей основных гидроцилиндров между собой и с насосом, а во второй позиции – с возможностью соединения рабочих полостей основных гидроцилиндров между собой и со сливом. Штоковая полость уравновешивающего гидроцилиндра соединена со штоковыми полостями основных гидроцилиндров. 2 н. и 1 з.п. ф-лы, 4 ил. 
Группа изобретений относится к стреловым землеройным, горным, сельскохозяйственным, погрузочным и другим подъемно-транспортным машинам циклического действия.
Известно устройство уравновешивания сил тяжести рабочего оборудования стреловой машины (см., напр., а.с. № 543715, кл. Е 02 F 9/22, опубл. 1977), осуществляющее преобразование потенциальной энергии сил тяжести рабочего оборудования в потенциальную энергию сжатого газа в пневмогидроаккумуляторе при опускании стрелы и использование этой энергии при подъеме стрелы, содержащее основной, уравновешивающий гидроцилиндры, пневмогидроаккумулятор, основной и дополнительный гидрораспределители.
Известное устройство обладает недостатком, присущим пневмогидроаккумулятору, которое заключается в изменении давления газа в газовой полости при его зарядке и разрядке в процессе работы. Этот недостаток приводит к необходимости увеличения объема пневмогидроаккумулятора и снижает эффективность системы уравновешивания рабочего оборудования.
Из известных технических решений наиболее близким по технической сущности к заявленной группе изобретений является устройство уравновешивания сил тяжести рабочего оборудования стреловой машины, содержащее рабочее оборудование, основные и один уравновешивающий гидроцилиндры и, по крайней мере, один газовый баллон и пневмогидроаккумулятор, основной и один дополнительный гидрораспределители, предохранительный клапан, причем, газовый баллон соединен с газовой полостью пневмогидроаккумулятора (см., напр., патент РФ № 2190062, Кл. Е 02 F 9/22, опубл. 27.09.2002).
Недостатком этого устройства является то, что, несмотря на уравновешивание сил тяжести рабочего оборудования и снижение нагрузки на двигатель со всеми вытекающими из этого положительными качествами по экономии топлива и повышению надежности системы, скорость подъема рабочего оборудования остается практически такой же, как и в случае неуравновешенного рабочего оборудования. То есть производительность машины с уравновешенным рабочим оборудованием по данному техническому решению ограничивается номинальной частотой вращения вала двигателя.
Задачей настоящей группы изобретений является повышение производительности машины за счет увеличения скорости подъема рабочего оборудования.
Поставленная задача по первому варианту выполнения решается за счет того, что устройство уравновешивания сил тяжести рабочего оборудования стреловой машины, содержащее рабочее оборудование, основные и один уравновешивающий гидроцилиндры и, по крайней мере, один газовый баллон и пневмогидроаккумулятор, основной и один дополнительный гидрораспределители, предохранительный клапан, причем газовый баллон соединен с газовой полостью пневмогидроаккумулятора, согласно изобретению снабжено вторым дополнительным гидрораспределителем, установленным с возможностью соединения рабочих полостей основных гидроцилиндров между собой и с насосом, причем штоковая полость уравновешивающего гидроцилиндра соединена со штоковыми полостями основных гидроцилиндров.
При этом, по крайней мере, один газовый баллон может быть выполнен в одном корпусе с пневмогидроаккумулятором.
Поставленная задача по второму варианту выполнения решается за счет того, что в устройстве уравновешивания сил тяжести рабочего оборудования стреловой машины, содержащем рабочее оборудование, основные и один уравновешивающий гидроцилиндры и, по крайней мере, один газовый баллон и пневмогидроаккумулятор, основной и один дополнительный гидрораспределители, предохранительный клапан, причем газовый баллон соединен с газовой полостью пневмогидроаккумулятора, согласно изобретению, дополнительный гидрораспределитель выполнен в одном корпусе с основным гидрораспределителем и соединен гидролиниями с гидролиниями основных гидроцилиндров, причем дополнительный гидрораспределитель установлен с возможностью соединения в одной позиции рабочих полостей основных гидроцилиндров между собой и с насосом, а во второй позиции – с возможностью соединения рабочих полостей основных гидроцилиндров между собой и со сливом, причем штоковая полость уравновешивающего гидроцилиндра соединена со штоковыми полостями основных гидроцилиндров.
Группа изобретений поясняется чертежами, где на фиг.1 изображено рабочее оборудование фронтального погрузчика с основными и уравновешивающим гидроцилиндрами; на фиг.2 – рабочее оборудование экскаватора с основными и уравновешивающим гидроцилиндрами; на фиг.3 – гидравлическая схема устройства уравновешивания сил тяжести рабочего оборудования стреловой машины по первому варианту исполнения; на фиг. 4 – гидравлическая схема устройства уравновешивания сил тяжести рабочего оборудования стреловой машины по второму варианту исполнения изобретения.
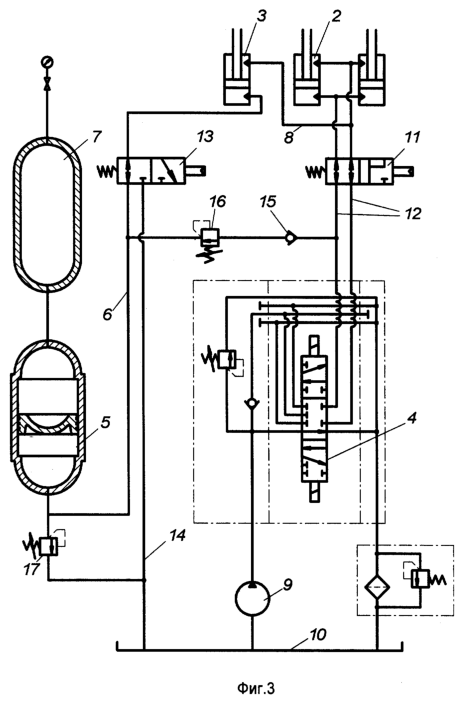
По первому варианту исполнения (фиг.3) устройство уравновешивания сил тяжести рабочего оборудования стреловой машины содержит рабочее оборудование 1, основные гидроцилиндры 2, уравновешивающий гидроцилиндр 3, основной гидрораспределитель 4 рабочей жидкости, пневмогидроаккумулятор 5, гидравлическая полость которого соединена гидролинией 6 с поршневой полостью уравновешивающего гидроцилиндра 3, газовый баллон 7, соединенный с газовой полостью пневмогидроаккумулятора 5, гидролинию 8, соединяющую штоковую полость уравновешивающего гидроцилиндра 3 со штоковыми полостями основных гидроцилиндров 2, насос 9, соединенный с двигателем внутреннего сгорания (на фиг.3 не показан), гидробак 10, дополнительный гидрораспределитель 11, подключенный к гидролинии 12 основных гидроцилиндров 2 и соединяющий во включенной позиции рабочие полости основных гидроцилиндров 2 между собой и с насосом 9, дополнительный гидрораспределитель 13, соединяющий в одной позиции гидравлическую полость пневмогидроаккумулятора 5 гидролинией 6 с поршневой полостью уравновешивающего гидроцилиндра 3, а в другой позиции соединяющий поршневую полость уравновешивающего гидроцилиндра 3 со сливом в гидробак 10 через гидролинию 14, устройство подпитки, содержащее обратный клапан 15, клапан давления 16, предохранительный клапан 17.
В этом варианте исполнения дополнительный гидрораспределитель является гидрораспределителем ускоренного подъема рабочего оборудования.
По второму варианту исполнения (фиг.4) устройство уравновешивания сил тяжести рабочего оборудования стреловой машины содержит рабочее оборудование 1, основные гидроцилиндры 2, уравновешивающий гидроцилиндр 3, основной гидрораспределитель 4 рабочей жидкости, пневмогидроаккумулятор 5, гидравлическая полость которого соединена гидролинией 6 с поршневой полостью уравновешивающего гидроцилиндра 3, газовый баллон 7, соединенный с газовой полостью пневмогидроаккумулятора 5, гидролинию 8, соединяющую штоковую полость уравновешивающего гидроцилиндра 3 со штоковыми полостями основных гидроцилиндров 2, насос 9, соединенный с двигателем внутреннего сгорания (на фиг.4 не показан), гидробак 10, дополнительный гидрораспределитель 18, выполненный в одном корпусе с основным гидрораспределителем 4 и соединенный гидролиниями 12 основных гидроцилиндров.
В этом варианте исполнения дополнительный гидрораспределитель ускоренного подъема соединен с дополнительным гидрораспределителем ускоренного опускания рабочего оборудования. В этом случае дополнительный гидрораспределитель ускоренного опускания соединяет полости основных гидроцилиндров между собой и со сливом и выполнен в одном корпусе с основным гидрораспределителем.
Сущность работы уравновешивающего по обоим вариантам исполнения устройства состоит в следующем. Для рабочего оборудования с пустым ковшом силы тяжести уравновешены усилием Т1 на штоке уравновешивающего гидроцилиндра
Т1 = А1р1,
где А1 – площадь поршня уравновешивающего гидроцилиндра; р1 — давление в пневмогидроаккумуляторе.
Поэтому при подъеме рабочего оборудования с пустым ковшом усилие в штоках основных гидроцилиндров практически равно нулю Т = 0 и двигатель работает на холостом режиме. При подъеме рабочего оборудования с груженым ковшом двигатель выполняет полезную работу подъема груза, не затрачивая энергию на подъем рабочего оборудования.
При подъеме рабочего оборудования с груженым ковшом в режиме последовательного соединения штоковых и поршневых полостей основных гидроцилиндров усилие в штоках основных гидроцилиндров равно
Т = Ар,
где А – площади сечения штоков основных гидроцилиндров; р – рабочее давление в гидросистеме.
Последовательное соединение штоковых и поршневых полостей основных гидроцилиндров при подъеме стрелы приводит к снижению активной площади основных гидроцилиндров до величины А площади сечения штоков основных гидроцилиндров, однако, благодаря уравновешиванию сил тяжести рабочего оборудования давление, р в гидросистеме оказывается в пределах допустимых значений для гидропривода р [р].
Устройство по первому варианту исполнения (фиг.3) работает следующим образом. Для подъема рабочего оборудования 1 золотник основного гидрораспределителя 4 рабочей жидкости включают вниз, при этом дополнительный гидрораспределитель 11 находится в нейтральном положении, рабочую жидкость насос 9 подает в поршневые полости основных гидроцилиндров 2, осуществляя подъем стрелы. Одновременно в поршневой полости уравновешивающего гидроцилиндра 3 действует постоянное давление пневмогидроаккумулятора 5, которое создает усилие подъема Т1. Таким образом, обеспечивается уравновешивание сил тяжести рабочего оборудования 1 при подъеме.
При опускании рабочего оборудования 1 золотник основного гидрораспределителя 4 рабочей жидкости перемещают вверх, золотник дополнительного гидрораспределителя 11 находится в нейтральном положении, рабочую жидкость насос 9 подает в штоковые полости основных гидроцилиндров 2, а также в гидроцилиндр 3 через гидролинию 8. При этом из поршневых полостей основных гидроцилиндров 2 рабочая жидкость сливается в гидробак 10, а из поршневой полости уравновешивающего гидроцилиндра 3 вытесняется в пневмогидроаккумулятор 5, заряжая его рабочей жидкостью.
Рассмотренные два режима характеризуют работу системы уравновешивания на обычной расчетной скорости движения рабочего оборудования, причем в данной схеме соединения скорости подъема и опускания будут примерно одинаковые, так как при опускании рабочего оборудования рабочая жидкость подается в штоковые полости основных и уравновешивающего гидроцилиндров, а при подъеме – только в поршневые полости основных гидроцилиндров.
Для ускоренного подъема рабочего оборудования 1 включают золотник основного гидрораспределителя 4 вниз и одновременно включают золотник дополнительного гидрораспределителя 11 влево. В этом случае рабочую жидкость насос 9 подает одновременно в поршневые и штоковые полости основных гидроцилиндров 2. Благодаря последовательному соединению рабочих полостей гидроцилиндров активной является площадь сечения штоков основных гидроцилиндров 2, поэтому рабочая жидкость от насоса 9 расходуется только на заполнение объема, равного объему штоков основных гидроцилиндров. Вследствие того, что при подъеме рабочего оборудования 1 рабочая жидкость из штоковых полостей основных гидроцилиндров 2 не сливается в гидробак 10, а подается в поршневые полости этих гидроцилиндров, обеспечивается увеличение скорости движения поршней основных гидроцилиндров 2 и быстрый подъем рабочего оборудования 1. Так осуществляется ускоренный подъем рабочего оборудования.
Устройство уравновешивания позволяет выполнять дополнительные функции. Дополнительный гидрораспределитель 13 установлен с возможностью обеспечения режимов работы “система уравновешивания включена” и “система уравновешивания отключена”. В положении дополнительного гидрораспределителя 13 устройство уравновешивания включено в работу, так как гидравлическая полость пневмогидроаккумулятора 5 гидролинией 6 соединена с поршневой полостью уравновешивающего гидроцилиндра 3.
При включении влево дополнительного гидрораспределителя 13 устройство уравновешивания отключено, дополнительный гидрораспределитель 13 соединяет поршневую полость уравновешивающего гидроцилиндра 3 со сливом в гидробак 10 через гидролинию 14.
При запуске системы в работу после ее изготовления необходима зарядка пневмогидроаккумулятора рабочей жидкостью. Для этого имеется система подпитки (фиг.3). При снижении давления рабочей жидкости в пневмогидроаккумуляторе 5 клапан давления 16 соединяет насос 9 через гидрораспределитель 4 и напорную гидролинию 12 основных гидроцилиндров 2 с гидравлической полостью пневмогидроаккумулятора 5, заряжая его рабочей жидкостью.
После зарядки пневмогидроаккумулятора 5 рабочей жидкостью клапан давления 16 устанавливается в запертое положение, устройство готово к длительной работе.
Устройство уравновешивания сил тяжести рабочего оборудования по второму варианту исполнения, гидравлическая схема которого представлена на фиг.4, позволяет выполнять ускоренный подъем стрелы путем включения золотника только одного дополнительного гидрораспределителя 18. Так при включении золотника дополнительного гидрораспределителя 18 вниз оказываются соединенными поршневые и штоковые полости основных гидроцилиндров 2 между собой и с насосом 9, в результате чего обеспечивается ускоренный подъем рабочего оборудования 1. При включении золотника дополнительного гидрораспределителя 18 вверх оказываются соединенными поршневые и штоковые полости основных гидроцилиндров между собой и со сливом в гидробак 10. Так обеспечивается безнасосный режим работы, потому что насос 9 при включении этой позиции остается не включенным и продолжает работать на холостом режиме. Таким образом, обеспечивается безнасосное быстрое опускание рабочего оборудования.
Предложенное устройство уравновешивания сил тяжести рабочего оборудования, выполненное по любому из двух предложенных вариантов, позволяет экономить топливо, расходуемое двигателем, кроме того, увеличение скоростей подъема и опускания стрелы при помощи устройства уравновешивания позволяет повысить производительность машины.
Формула изобретения
1. Устройство уравновешивания сил тяжести рабочего оборудования стреловой машины, содержащее рабочее оборудование, основные и один уравновешивающий гидроцилиндры и, по крайней мере, один газовый баллон и пневмогидроаккумулятор, основной и один дополнительный гидрораспределители, предохранительный клапан, причем газовый баллон соединен с газовой полостью пневмогидроаккумулятора, отличающееся тем, что устройство снабжено вторым дополнительным гидрораспределителем, установленным с возможностью соединения рабочих полостей основных гидроцилиндров между собой и с насосом, причем штоковая полость уравновешивающего гидроцилиндра соединена со штоковыми полостями основных гидроцилиндров.
2. Устройство по п.1, отличающееся тем, что, по крайней мере, один газовый баллон выполнен в одном корпусе с пневмогидроаккумулятором.
3. Устройство уравновешивания сил тяжести рабочего оборудования стреловой машины, содержащее рабочее оборудование, основные и один уравновешивающий гидроцилиндры и, по крайней мере, один газовый баллон и пневмогидроаккумулятор, основной и один дополнительный гидрораспределители, предохранительный клапан, причем газовый баллон соединен с газовой полостью пневмогидроаккумулятора, отличающееся тем, что дополнительный гидрораспределитель выполнен в одном корпусе с основным гидрораспределителем и соединен гидролиниями с гидролиниями основных гидроцилиндров, причем дополнительный гидрораспределитель установлен с возможностью соединения в одной позиции рабочих полостей основных гидроцилиндров между собой и с насосом, а во второй позиции – с возможностью соединения рабочих полостей основных гидроцилиндров между собой и со сливом, причем штоковая полость уравновешивающего гидроцилиндра соединена со штоковыми полостями основных гидроцилиндров.
РИСУНКИ
MM4A – Досрочное прекращение действия патента СССР или патента Российской Федерации на изобретение из-за неуплаты в установленный срок пошлины за поддержание патента в силе
Дата прекращения действия патента: 24.10.2006
Извещение опубликовано: 20.02.2008 БИ: 05/2008
|
|