|
|
(21), (22) Заявка: 2002119562/12, 20.12.2000
(24) Дата начала отсчета срока действия патента:
20.12.2000
(30) Конвенционный приоритет:
23.12.1999 (пп.1-14) DE 19962790.8
(43) Дата публикации заявки: 27.01.2004
(45) Опубликовано: 10.08.2005
(56) Список документов, цитированных в отчете о поиске:
DE 3122470 A1, 05.01.1983. GB 2309710 A, 06.08.1997. US 5448582 A, 05.09.1995. US 4463970 A, 07.08.1984. DE 677711 A, 01.07.1939. RU 2114232 C1, 27.06.1998. RU 2069626 C1, 27.11.1996.
(85) Дата перевода заявки PCT на национальную фазу:
23.07.2002
(86) Заявка PCT:
EP 00/13030 (20.12.2000)
(87) Публикация PCT:
WO 01/48311 (05.07.2001)
Адрес для переписки:
101000, Москва, М.Златоустинский пер., 10, кв.15, “ЕВРОМАРКПАТ”, И.А.Веселицкой
|
(72) Автор(ы):
ШВЕНК Герхард (DE)
(73) Патентообладатель(и):
ГИЗЕКЕ УНД ДЕВРИЕНТ ГМБХ (DE)
|
(54) ЗАЩИЩЕННАЯ ОТ ПОДДЕЛКИ БУМАГА, СНАБЖЕННАЯ КОДИРОВКОЙ ИЗ ЛЮМИНЕСЦИРУЮЩИХ МЕЛАНЖЕВЫХ ВОЛОКОН
(57) Реферат:
Изобретение предназначено для использования при изготовлении бумаги, защищенной от подделки. Описана защищенная от подделки бумага, имеющая меланжевые волокна по крайней мере двух типов, которые различаются по своим люминесцентным свойствам и образуют кодировку или кодовую комбинацию. Имеются по меньшей мере два определенных отдельных участка, на каждом из которых присутствуют меланжевые волокна только одного типа. Кодировка или кодовая комбинация образована за счет определенного геометрического расположения таких отдельных участков на защищенной от подделки бумаге и/или за счет наличия или отсутствия меланжевых волокон определенного типа. Согласно второму варианту на обоих отдельных участках присутствуют одинаковые меланжевые волокна. Обеспечивается надежное считывание и распознавание при автоматическом контроле. 2 н. и 12 з.п. ф-лы, 5 ил.

Настоящее изобретение относится к защищенной от подделки бумаге, имеющей меланжевые волокна по крайней мере двух типов, которые различаются по своим люминесцентным свойствам и образуют кодировку или кодовую комбинацию.
Использование меланжевых волокон в качестве защитных признаков для защиты документов от подделки известно уже достаточно давно. Обычно такие волокна представляют собой короткие синтетические или хлопчатобумажные волокна, которые заделывают в защищаемую от подделки бумагу в процессе ее изготовления. Преимущество меланжевых волокон перед защитными признаками иных типов, такими как пластинки или слюдяные частицы, состоит в том, что они имеют меньшие размеры и визуально неприметны и поэтому с эстетической точки зрения практически не ухудшают общий внешний вид защищенного от подделки документа.
Из DE 677711 известны флуоресцирующие при возбуждении УФ-излучением меланжевые волокна, которые примешивают в бумажную массу перед формованием из нее листа, в результате чего меланжевые волокна в последующем оказываются произвольным образом распределены по объему готовой защищенной от подделки бумаги. Помимо этого можно использовать также меланжевые волокна с различным излучением флуоресценции, в результате чего при их возбуждении УФ-излучением возникает смешанная флуоресценция.
Из DE 3122470 С2 также известна защищенная от подделки бумага с заделанными в нее люминесцирующими меланжевыми волокнами. Такие меланжевые волокна выполнены из ацетата целлюлозы и окрашены по всему их объему характеризующимися узкополосным спектром излучением люминофорами из группы хелатных соединений лантанидов. Такие люминофоры, которые можно вводить в материал волокон в концентрации, которая максимум в 20 раз превышает концентрацию применявшихся ранее известных люминофоров, характеризуются, кроме того, относительно узкополосным спектром излучения. Из подобных меланжевых волокон можно также скручивать или сплетать защитные нити. Если применять для этой цели отдельные волокна с различной люминесценцией, то в результате можно также получить определенную кодировку или кодовую комбинацию, основанную на поддающемся анализу наличии или отсутствии определенных люминофоров. Подобные скрученные или полученные прядением нити наиболее предпочтительно использовать в качестве визуально различимых признаков подлинности. Однако несмотря на сравнительно высокий выход люминесценции предложенных в указанной публикации люминофоров интенсивность люминесценции отдельных волокон слишком мала, чтобы обеспечить на практике надежный автоматический контроль подлинности снабженных такими волокнами документов.
Исходя из вышеизложенного, в основу настоящего изобретения была положена задача разработать защищенную от подделки бумагу с люминесцирующими меланжевыми волокнами, образующими определенную кодировку или кодовую комбинацию, которая обеспечивала бы надежное ее считывание и распознавание при автоматическом контроле.
Указанная задача решается с помощью признаков, представленных в независимых пунктах формулы изобретения. Предпочтительные варианты выполнения изобретения приведены в соответствующих зависимых пунктах формулы.
Основная идея изобретения заключается в том, что для надежного автоматического контроля меланжевых волокон при достаточно высоком отношении сигнал/шум меланжевые волокна с различными люминесцентными свойствами необходимо размещать отдельно на достаточном пространственном удалении друг от друга. С учетом этого на предлагаемой в изобретении защищенной от подделки бумаге выделяют отдельные не перекрывающиеся участки, на каждом из которых располагают меланжевые волокна одного определенного типа с определенными люминесцентными свойствами. При этом кодировка или кодовая комбинация может быть образована за счет определенного геометрического расположения таких отдельных участков на защищенной от подделки бумаге и/или за счет наличия или отсутствия меланжевых волокон определенного типа.
Расположение меланжевых волокон с различными свойствами на отдельных ограниченных участках позволяет сравнительно просто локализовать их и измерять их люминесцентные свойства независимо друг от друга и без их взаимного влияния. Поскольку на одном отдельном участке присутствуют однотипные меланжевые волокна только с одним определенным набором люминесцентных свойств, интенсивность измеряемого сигнала по сравнению с известными защищенными от подделки документами повышается уже только за счет более высокой поверхностной плотности расположения меланжевых волокон на проверяемом участке. Выход люминесценции можно дополнительно повысить за счет использования особых люминофоров с высокоинтенсивным узкополосным люминесцентным излучением, описанных, например, в патенте US 5448582. Подобные люминофоры представляют собой многофазные системы, содержащие оптически “накачиваемый” светоизлучающий материал, светорассеивающие центры и прозрачный материал матрицы. Такие материалы создают схожий с лазерным излучением эффект, состоящий в испускании исключительно узкополосного излучения. Еще одно преимущество этих материалов состоит в том, что при изготовлении бумаги длину волны испускаемого ими излучения можно целенаправленно “отрегулировать” на отдельных ограниченных участках на необходимую величину.
Светорассеивающие центры состоят из прозрачных материалов в виде частиц с предпочтительно высоким показателем преломления. Люминофор при его возбуждении с помощью лампы-вспышки поглощает часть излучаемого такой лампой света и в результате переходит в возбужденное, так называемое “оптически накачанное” состояние. Люминесцентное свечение возникает вследствие спонтанного излучения в возбужденном состоянии, при этом по меньшей мере некоторая часть испускаемого люминесцентного излучения не выходит сразу же из материала наружу, а частично многократно рассеивается на светорассеивающих центрах. В результате происходит значительное усиление интенсивности люминесцентного излучения, которое помимо этого лежит в исключительно узкой полосе.
Преимущество, связанное с применением люминофоров с узкополосным излучением, состоит в том, что при измерении люминесцентного свечения диапазон чувствительности датчика (детектора) можно ограничить узкой областью спектра, в которой лежит полоса испускаемого тем или иным люминофором излучения. Благодаря этому при измерениях подавляется влияние фонового излучения от смежных спектральных областей и повышается отношение сигнал/шум.
Вместе с тем можно применять и другие люминофоры предпочтительно с узкополосным излучением, поскольку уровень измеряемого сигнала зависит не только от интенсивности испускаемого пигментом люминесцентного излучения, но и от концентрации добавляемого в меланжевые волокна люминофора, а также от поверхностной плотности расположения меланжевых волокон на бумаге.
Однако при выборе поверхностной плотности следует учитывать, что меланжевые волокна по мере увеличения их поверхностной плотности становятся все более заметными и в возрастающей степени ухудшают эстетический общий внешний вид защищенной от подделки бумаги, которая часто запечатана художественным графическим изображением. По этой причине поверхностная плотность расположения меланжевых волокон должна составлять от 2 до 20 волокон на квадратный сантиметр. Однако нежелательный эффект, связанный с ухудшением эстетического общего вида защищенной от подделки бумаги, можно также уменьшить за счет соответствующего расположения на ней отдельных участков. Иными словами, отдельные участки предпочтительно располагать таким образом, чтобы они не накладывались на основной сюжет художественного графического изображения.
Поскольку, как уже упоминалось, меланжевые волокна при визуальном рассмотрении защищенного от подделки документа должны быть в максимально возможной степени неприметными, согласно одному из предпочтительных вариантов в качестве таких меланжевых волокон предлагается использовать прозрачные полимерные волокна, окрашенные по всему их объему люминофорами, которые также являются практически полностью прозрачными в видимой области спектра.
Люминофоры при наличии у них определенной собственной окраски, а также при условии, что люминесцентное свечение таких люминофоров обладает необходимой интенсивностью, можно также добавлять в меланжевые волокна в столь малых концентрациях, чтобы сами эти волокна оставались, как и ранее, практически полностью прозрачными.
В другом варианте, однако, люминофор можно наносить также только на поверхность волокон, например погружением в красильный раствор.
Помимо этого в качестве волокнистых материалов можно использовать и другие материалы, которые допускают их переработку в тонкие волокна, например шелк или хлопок.
Предпочтительно, чтобы отдельные участки, на которых располагают меланжевые волокна, имели форму полосок, проходящих по всей ширине защищенного от подделки документа. Ширина самих этих полосок предпочтительно составляет от 5 до 30 мм. Однако эти отдельные участки могут иметь контур и любой иной формы, например прямоугольный, круглый, овальный, звездообразный и т.п.
Согласно изобретению при изготовлении защищенной от подделки бумаги меланжевые волокна заделывают в нее таким образом, чтобы они по меньшей мере частично образовывали сетчатую структуру с волокнистым материалом бумаги и в результате по меньшей мере частично перекрывались на поверхности бумаги ее волокнами.
При изготовлении бумаги на круглосеточной бумагоделательной машине наиболее пригодным для введения или заделывания меланжевых волокон в бесконечные, имеющие форму полосок отдельные участки является, например, так называемый метод Уилкокса. Этот метод состоит в том, что меланжевые волокна суспендируют в воде, получая водную суспензию, которую при изготовлении бумаги пропускают по трубе, на выходе которой установлено специальное сопло, и наносят на вращающийся сеточный цилиндр вблизи того места, где непосредственно начинается формование листа на сеточном цилиндре. При этом под действием преобладающего внутри сеточного цилиндра разрежения происходит непосредственное обезвоживание слоя нанесенных таким путем меланжевых волокон, в результате чего эти меланжевые волокна плотно прилегают к сетчатому цилиндру вместе с первым слоем наслаивающихся на него бумажных волокон.
При изготовлении бумаги на длинносеточной бумагоделательной машине волокна можно наносить на длинную сетку аналогичным путем.
В зависимости от типа кодировки или кодовой комбинации в бумагоделательной машине параллельно друг другу устанавливают несколько устройств для нанесения меланжевых волокон с различными люминесцентными свойствами. Управление устройствами подачи меланжевых волокон осуществляется при этом в соответствии с наносимой на бумагу кодировкой или кодовой комбинацией. Если кодировка или кодовая комбинация определяется только определенным геометрическим расположением отдельных участков, на каждом из которых предусматривают меланжевые волокна одного типа, отличного от типа меланжевых волокон, предусматриваемых на других отдельных участках, то положение указанных устройств подачи меланжевых волокон на бумагоделательной машине соответствующим образом регулируют перед началом процесса изготовления бумаги. После этого подача меланжевых волокон осуществляется в непрерывном режиме.
Если же кодировка или кодовая комбинация определяется исключительно или дополнительно наличием или отсутствием меланжевых волокон одного или нескольких типов, то подачу этих меланжевых волокон необходимо прерывать в соответствии с создаваемой кодировкой или кодовой комбинацией. Если кодировка или кодовая комбинация не меняется в процессе изготовления бумажного полотна, то в этом случае перед началом процесса изготовления бумаги достаточно соответствующим образом отрегулировать положение устройств подачи меланжевых волокон на бумагоделательной машине.
Сама кодировка или кодовая комбинация может при этом нести любую информацию, например отражать номинал, дату выпуска, название страны-эмитента ценной бумаги и т.п.
Готовую защищенную от подделки бумагу, которая наряду с предлагаемой в изобретении кодировкой или кодовой комбинацией может иметь, как очевидно, и другие защитные элементы, например защитную нить или аналогичный защитный признак, в последующем подвергают обычной переработке, прежде всего запечатывают и разрезают на отдельные защищенные от подделки документы, такие как банкноты, акции, чеки и т.п.
При автоматическом контроле защищенных от подделки документов кодировка или кодовая комбинация проверяется соответствующими датчиками на наличие конкретного анализируемого люминесцентного свойства меланжевых волокон и полученный результат измерений сравнивается с эталонным или контрольным значением. При контроле люминесцентного свойства можно, например, анализировать длину волны люминесценции или время ее затухания.
Другие преимущества и отличительные особенности изобретения более подробно рассмотрены ниже на примере некоторых вариантов его осуществления со ссылкой на прилагаемые чертежи. При этом приведенные на этих чертежах изображения выполнены без соблюдения масштаба и служат только для наглядного пояснения положенных в основу изобретения принципов. На чертежах, в частности, показано:
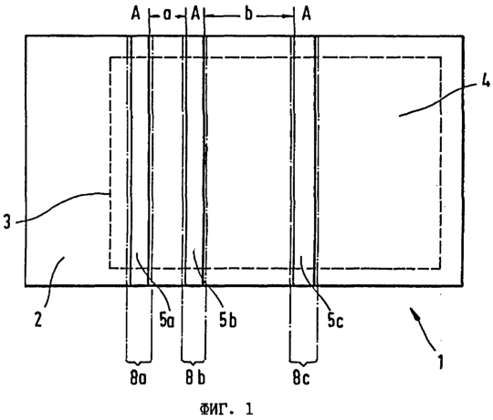
на фиг.1 – вид в плане защищенного от подделки документа, в данном случае банкноты, с тремя имеющими форму полосок отдельными участками, на которых расположены меланжевые волокна,
на фиг.2 (2а и 2б) – вид в плане двух защищенных от подделки документов с четырьмя имеющими форму полосок отдельными участками на каждом, определяющими различную кодировку или кодовую комбинацию,
на фиг.3 – участок спектра, отражающий спектральное распределение длин волн излучения, с четырьмя заданными интервалами длин волн для системы кодирования, предусматривающей использование четырех различных люминофоров,
на фиг.4 – схема системы для измерения люминесцентных свойств меланжевых волокон, расположенных на различных отдельных участках защищенного от подделки документа, и
на фиг.5 – временная характеристика электрических сигналов на выходе фотоприемника (детектора света), используемого в показанной на фиг.4 системе, при проверке изображенного на фиг.2а документа.
На фиг.1 в виде в плане показан защищенный от подделки документ 1, в данном случае банкнота, выполненный из защищенной от подделки бумаги 2. Этот защищенный от подделки документ 1 многократно запечатан художественным графическим изображением 4 (на чертеже не показано), контур 3 занимаемого которым поля обозначен прерывистой линией. Штрихпунктирными линиями на защищенном от подделки документе 1 обозначены три имеющих вид полосок контрольных участка 8а, 8b, 8с. На этих участках соответствующим детектором проверяются свойства люминесцирующих меланжевых волокон. Поэтому положение таких участков на защищенном от подделки документе 1 определяется образуемой ими контролируемой кодовой комбинацией.
Расстояние между контрольными участками 8а и 8b обозначено буквой а, а расстояние между контрольными участками 8b и 8с обозначено буквой b, причем указанные расстояния а и b в данном случае не равны между собой. При этом соотношение между расстояниями а и b можно задавать, например, целочисленным. В пределах каждого из трех этих имеющих форму полосок контрольных участков 8а, 8b, 8с расположены имеющие форму полосок отдельные участки 5а, 5h, 5с, на которых в материал защищенной от подделки бумаги 2 заделаны меланжевые волокна. Границы таких имеющих форму полосок отдельных участков 5а, 5b, 5с обозначены на фиг.1 сплошными линиями. Такие сплошные линии, однако, показаны только в иллюстративных целях и на подлинном защищенном от подделки документе они отсутствуют.
В показанном на фиг.1 варианте выполнения изобретения на всех имеющих форму полосок отдельных участках 5а, 5b, 5с предусмотрены меланжевые волокна одного типа А, т.е. на всех этих отдельных участках 5а, 5b, 5с меланжевые волокна имеют одинаковые люминесцирующие свойствами. В этом варианте выполнения изобретения кодовая комбинация, образованная отдельными участками 5а, 5b, 5с, соответственно контрольными участками 8а, 8b, 8с, определяется только расстояниями а и b между ними.
На фиг.2 на примере двух защищенных от подделки документов 1a, 1b проиллюстрирована другая возможность выполнения предлагаемой в изобретении кодировки. В этом случае контрольные участки 8а, 8b, 8c, 8d расположены на одинаковом расстоянии друг от друга, а кодовая комбинация определяется наличием или отсутствием специальных меланжевых волокон на одном или нескольких отдельных участках в пределах ограничивающих их контрольных участков 8а, 8b, 8c, 8d. При этом расположенные на одном из отдельных участков меланжевые волокна по своим контролируемым люминесцентным свойствам отличаются от меланжевых волокон, расположенных на других участках. В показанном на фиг.2 примере документ 1а снабжен меланжевыми волокнами типов А и В только на отдельных участках 7а, 7b, расположенных в пределах контрольных участков 8а, 8b, тогда как документ 1b имеет меланжевые волокна типов А и D только на отдельных участках 7а, 7d, расположенных в пределах контрольных участков 8а, 8d.
В соответствии с этим система кодирования образована в данном случае люминесцирующими меланжевыми волокнами четырех типов А, В, С и D, которые различаются между собой одним или несколькими своими люминесцентными свойствами и наличие или отсутствие которых контролируется на заданных контрольных участках. Если наличию люминесцирующего материала, обладающего требуемыми люминесцентными свойствами, на некотором заданном контрольном участке поставить в соответствие логическое состояние “1”, а отсутствию соответствующего материала поставить в соответствие логическое состояние “0”, то с помощью описанной выше системы кодирования можно получить 24-1=15 различных несущих определенную информацию кодовых комбинаций, представленных в двоичном коде.
В этом случае при проверке документа 1а по проходящей вдоль него линии измерения соответствующий детектор зарегистрировал бы двоичную кодовую комбинацию, состоящую из двоичных разрядов 1100. Для документа 1b двоичная кодовая комбинация состоит из следующей последовательности двоичных разрядов: 1001.
Очевидно, что количество контрольных участков, а также количество типов меланжевых волокон можно варьировать произвольным образом. Помимо этого на всех контрольных участках можно также применять однотипные меланжевые волокна с одинаковым люминофором. Преимущество последнего варианта состоит в возможности значительно упростить конструкцию детектора или датчика.
Если в отличие от сказанного выше кодировку следует сделать еще более сложной, то по аналогии с показанным на фиг.1 вариантом выполнения изобретения можно дополнительно менять расстояния между контрольными участками.
При необходимости же придать кодировке более сложную структуру можно аналогично показанному на фиг.1 варианту дополнительно изменять расстояния между контрольными участками.
При проверке документа можно анализировать любые свойства содержащихся в меланжевых волокнах люминофоров, такие, например, как длина волны или время затухания излучения люминесценции.
На фиг.3 для проводимого на основе длин волн анализа показано возможное спектральное распределение длин волн излучения, полученное для описанной выше системы кодирования, предусматривающей использование меланжевых волокон четырех типов А, В, С и D, которые в рассматриваемом простейшем случае различаются по меньшей мере длиной волны испускаемого ими люминесцентного излучения. В соответствии с приведенной на фиг.3 диаграммой испускаемое люминофором А излучение имеет более короткую длину волны по сравнению с длинами волн испускаемого люминофорами В, С и D излучения. Как показано на фиг.3, испускаемое каждым из люминофоров А, В, С и D люминесцентное излучение лежит в исключительно узкой полосе длин волн, не перекрываемой с полосами излучения других используемых люминофоров, что позволяет однозначно идентифицировать каждый из таких люминофоров А, В, С и D. Эти люминофоры обладают также достаточно высокой интенсивностью люминесценции, благодаря чему при автоматическом контроле обеспечивается надежное их распознавание и обнаружение.
На фиг.4 схематично показана возможная система обнаружения (детектирования) и анализа кодировки или кодовой комбинации, полученной с помощью люминофоров, соответственно меланжевых волокон, линии излучения которых представлены на фиг.3.
Обычно проверка банкнот происходит в устройстве для их обработки, в котором банкноты с высокой скоростью перемещаются транспортировочной системой мимо датчиков. На фиг.4 направление подобного перемещения предлагаемой в изобретении банкноты 2 обозначено стрелкой 11. При этом банкнота проходит мимо источника 12 освещения, излучение которого с помощью оптической системы 13 фокусируется на документ. В качестве источника 12 освещения при этом используется источник, длина волны излучения которого соответствует длине волны возбуждения отдельных люминофоров. Если длины волн возбуждения отдельных люминофоров лежат в различных диапазонах длин волн, то может оказаться целесообразным использовать в качестве источника освещения несколько источников возбуждающего света, каждый из которых испускает свет в соответствующем диапазоне длин волн возбуждения. При освещении предлагаемого в изобретении документа 2 на некотором его участке, на котором согласно изобретению находятся люминесцирующие меланжевые волокна, в последних возбуждается люминесценция. В последующем испускаемое люминофорами излучение 14 люминесценции, обычно рассеянное, фокусируется еще одной оптической системой 15 на датчик (детектор) 16. Такой датчик (детектор) 16 предпочтительно имеет спектрометр с диодной матрицей, при этом каждый из диодов обладает чувствительностью к излучению одной из длин волн 23а, 23b 23с, 23d (фиг.3).
При перемещении под изображенным на фиг.4 измерительным устройством показанной, например, на фиг.2а банкноты 1a c меланжевыми волокнами типов А и В, люминесцентное излучение которых характеризуется наличием представленных на фиг.3 эмиссионных линий 23а, 23b, такое люминесцентное излучение воспринимается измерительными каналами датчика (детектора), сканирующими соответствующие им контрольные участки 8а, 8b, 8с, 8d, и преобразуется в сигналы показанной на фиг.5 формы.
На фиг.5 представлены характеристики сигналов I, полученных в соответствующих меланжевым волокнам отдельных типов А, В, С и D измерительных каналах, в зависимости от времени t. Ограниченные штриховыми линиями временные интервалы 30а, 30b, 30с, 30d соответствуют контрольным участкам 8а, 8b, 8с, 8d и условно обозначают измерительные каналы, в каждом из которых ожидается получение по одному сигналу. При перемещении банкноты 1а под датчиком (детектором) в направлении стрелки 11 сначала освещается контрольный участок 8d. Поскольку на этом контрольном участке меланжевые волокна отсутствуют, соответствующий этому контрольному участку измерительный канал не воспринимает никакого сигнала во временном интервале 30d. Поскольку далее меланжевые волокна типа С также отсутствуют, соответствующий измерительный канал также не воспринимает никакого сигнала. Лишь при попадании в зону действия датчика (детектора) отдельного участка 7b, соответственно контрольного участка 8b, перемещаемой банкноты соответствующий измерительный канал регистрирует во временном интервале 30b лежащее в полосе 23b излучение люминофора В. Сказанное относится и к следующему отдельному участку 7а, соответственно лежащему в полосе 23а сигналу, регистрируемому во временном интервале 30а. Если, как указано выше, наличие люминесцентного излучения 23а, 23b, 23с, 23d, регистрируемого в соответствующем временном интервале 30а, 30b, 30с, 30d, соответствует двоичному разряду “1”, а отсутствие такого излучения соответствует двоичному разряду “0”, то полученную последовательность показанных на фиг.5 сигналов можно представить в виде кодовой комбинации 1100.
Формула изобретения
1. Защищенная от подделки бумага, имеющая меланжевые волокна по крайней мере двух типов, которые различаются по своим люминесцентным свойствам и образуют кодировку или кодовую комбинацию, отличающаяся тем, что имеются по меньшей мере два определенных отдельных участка, на каждом из которых присутствуют меланжевые волокна только одного типа, при этом кодировка или кодовая комбинация образована за счет определенного геометрического расположения отдельных участков на защищенной от подделки бумаге и/или за счет наличия или отсутствия меланжевых волокон определенного типа.
2. Защищенная от подделки бумага, имеющая меланжевые волокна, которые обладают люминесцентными свойствами и образуют кодировку или кодовую комбинацию, отличающаяся тем, что имеются по меньшей мере два определенных отдельных участка, на которых присутствуют меланжевые волокна, при этом кодировка или кодовая комбинация образована за счет определенного геометрического расположения отдельных участков на защищенной от подделки бумаге, причем на обоих отдельных участках присутствуют одинаковые меланжевые волокна.
3. Защищенная от подделки бумага по п.1 или 2, отличающаяся тем, что меланжевые волокна содержат люминофоры с характерными люминесцентными свойствами.
4. Защищенная от подделки бумага по п. 3, отличающаяся тем, что люминофоры имеют узкую спектральную полосу излучения.
5. Защищенная от подделки бумага по п. 3, отличающаяся тем, что испускаемое люминофорами излучение лежит вне видимой области спектра.
6. Защищенная от подделки бумага по п. 3, отличающаяся тем, что люминофоры представляют собой усиливающие оптическое излучение материалы, которые содержат оптически накачиваемый светоизлучающий материал, светорассеивающие центры и прозрачный материал матрицы.
7. Защищенная от подделки бумага по п. 3, отличающаяся тем, что люминофоры присутствуют в объеме меланжевых волокон.
8. Защищенная от подделки бумага по п.3, отличающаяся тем, что меланжевые волокна окрашены люминофорами.
9. Защищенная от подделки бумага по п.1 или 2, отличающаяся тем, что меланжевые волокна выполнены из полимерного материала.
10. Защищенная от подделки бумага по п.1 или 2, отличающаяся тем, что меланжевые волокна заделаны в защищенную от подделки бумагу в процессе ее изготовления.
11. Защищенная от подделки бумага по п. 1 или 2, отличающаяся тем, что меланжевые волокна заделаны в защищенную от подделки бумагу методом Уилкокса.
12. Защищенная от подделки бумага по п.1 или 2, отличающаяся тем, что геометрические отдельные участки имеют форму полосок.
13. Защищенная от подделки бумага по п. 12, отличающаяся тем, что ширина полосок составляет от 5 до 30 мм.
14. Защищенная от подделки бумага по п.1 или 2, отличающаяся тем, что плотность расположения меланжевых волокон на отдельных участках составляет от 2 до 20 меланжевых волокон на квадратный сантиметр.
РИСУНКИ
|
|