|
|
(21), (22) Заявка: 2004109413/15, 29.03.2004
(24) Дата начала отсчета срока действия патента:
29.03.2004
(45) Опубликовано: 10.08.2005
(56) Список документов, цитированных в отчете о поиске:
SU 1333716 A1, 30.08.1987. RU 2139956 C1, 20.10.1999. SU 429020 A, 25.05.1974. SU 1528814 A1, 15.12.1989. US 4049531 А, 20.09.1977. WO 03/023089 A1, 20.03.2003.
Адрес для переписки:
426060, г.Ижевск, ул. 9 Января, 187, кв.6, В.А. Руденку
|
(72) Автор(ы):
Руденок В.А. (RU), Марасинская Е.И. (RU), Закомырдин А.А. (RU), Русских С.В. (RU)
(73) Патентообладатель(и):
ЗАО Производственное Объединение “Джет” (RU)
|
(54) ЭЛЕКТРОЛИЗЕР ДЛЯ ПОЛУЧЕНИЯ ГИПОХЛОРИТА НАТРИЯ
(57) Реферат:
Изобретение относится к химической технологии, в частности к технологии электрохимического синтеза гипохлорита натрия. Электролизер для получения гипохлорита натрия содержит прямоугольную ванну, нижнюю и верхнюю герметичные крышки, имеющие соответственно входной и выходной штуцеры. Электродный блок установлен в полости ванны между крышками с образованием входной камеры и выходной камеры, а электроды, включенные биполярно, отделены друг от друга имеющими с ними одинаковую высоту пористыми мембранами так, что отношение расстояний “катод-мембрана” и “мембрана-анод” выбраны из ряда 0,1-1,0. При этом блок электродов установлен в ванне с возможностью вертикального перемещения между крышками для установки объемов камер в соответствии с исходными характеристиками раствора хлорида натрия и режима электролиза. 1 з.п. ф-лы, 1 ил. 
Изобретение относится к химической технологии, в частности к технологии электрохимического синтеза гипохлорита натрия.
Известен электролизер фильтр-прессного типа для получения гидроксида натрия, содержащий чередующиеся анодные, катодные и неэлектропроводные прокладочные пластины и размещенные между анодными и катодными пластинами ионообменные мембраны с образованием анодных и катодных камер, при этом во всех указанных пластинах выполнены отверстия, образующие при сборке продольные электрически изолированные каналы, сообщенные с анодными и катодными камерами для подачи в них электролита и отвода продуктов электролиза. Увеличение выхода продукта по току достигнуто в нем тем, что во всех указанных пластинах выполнены дополнительные отверстия, образующие при сборке продольные электрически изолированные каналы, сообщенные каждый только с анодными или только с катодными камерами ниже уровня в них электролита [1].
Электролизер имеет достаточно сложное конструктивное исполнение, характеризуется повышенными затратами при ремонтно-профилактическом обслуживании и не может быть использован для получения гипохлорита натрия.
Известен электролизер для получения гипохлорита натрия, содержащий прямоугольную ванну с расположенными в ней вертикальными плоско-параллельными электродами, включенными биполярно [2].
Электролизер характеризуется пониженным выходом продукта по току вследствие значительной степени электролитической диссоциации этой соли, приводящей к появлению свободного гипохлорит-иона в растворе, который способен к дальнейшему анодному окислению, а также к восстановлению на катоде.
Известен электролизер для разделения ионов, содержащий прямоугольную ванну и расположенные у противоположных концов ванны электроды в ионитовых чехлах. Обеспечение непрерывности процесса и ускорение разделения в электролизере достигнуты тем, что он снабжен двумя камерами, выполненными с возможностью вращения вокруг вертикальной оси и расположенными между электродами, при этом стенки камер, обращенные к электродам, выполнены из проницаемых для разделяемых ионов ионообменных мембран, а каждая камера снабжена двумя электродами, расположенными у этих мембран [3]. Электролизер наиболее близок к изобретению по совокупности существенных признаков и принят в качестве прототипа.
Электролизер в конструктивном исполнении представляет собой сложное стационарное лабораторно-промышленное оборудование и, как и электролизер по [1], характеризуется повышенными затратами при ремонтно-профилактическом обслуживании, при этом размещение камер в межэлектродном пространстве ванны исключает возможность использования его для получения гипохлорита натрия.
Задача изобретения состоит в создании электролизера с двухкамерной прямоугольной ванной для получения гипохлорита натрия, в котором повышенный выход продукта по току сочетался бы с высокой мобильностью электролизера, его малыми габаритами и весом, а также простотой проведения ремонтно-профилактического обслуживания при эксплуатации, например, в полевых условиях на заготовках силоса.
Задача решается тем, что в электролизере для получения гипохлорита натрия, содержащем прямоугольную ванну с двумя камерами, расположенные в ванне вертикальные плоско-параллельные электроды, включенные биполярно и разделенные мембранами, согласно изобретению нижняя и верхняя части ванны снабжены герметичными крышками с патрубками, предназначенными соответственно для входа исходного раствора хлорида натрия и выхода раствора гипохлорита натрия, электроды разделены имеющими с ними одинаковую высоту пористыми мембранами так, что отношение расстояний катод-мембрана и мембрана-анод выбраны из ряда 0,1-1,0, а между крышками ванны и нижними и верхними кромками электродов и мембран образованы соответственно входная и выходная камеры электролизера. Целесообразно электродный блок установить с возможностью перемещения в вертикальной плоскости между крышками ванны.
При использовании изобретения может быть получен технический результат, выражающийся в получении раствора гипохлорита натрия с высоким выходом по току при проточном режиме работы электролизера, при этом конструкция электролизера отличается простотой и высокой ремонтопригодностью, что допускает использование электролизера в полевых условиях, например, для получения больших количеств раствора гипохлорита как консерванта в процессе заготовок силоса.
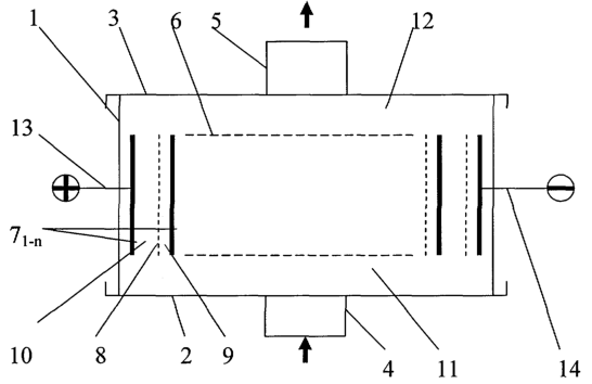
Электролизер для получения гипохлорита натрия на чертеже содержит прямоугольную ванну 1 с герметичными крышками 2 и 3, снабженными соответственно входным штуцером 4 и выходным штуцером 5, электродный блок 6 с вертикальными плоско-параллельными электродами 71-n, которые включены биполярно и отделены друг от друга имеющими с ними одинаковую высоту пористыми мембранами 8 так, что отношение расстояний катод – мембрана 9 и мембрана – анод 10 выбрано из ряда 0,1-1,0. Блок электродов 6 в полости ванны 1 установлен между крышками 2 и 3 с образованием входной камеры 11 под нижними кромками электродов и мембран, а также выходной камеры 12 – над верхними кромками электродов и мембран. При этом блок электродов 6 имеет возможность перемещения в вертикальной плоскости между крышками 2 и 3 для установки объемов камер 11 и 12 в соответствии с характеристиками исходного раствора хлорида натрия и режима электролиза.
Электролизер работает следующим образом. Исходный раствор подается внутрь ванны 1 через штуцер 4 в нижней крышке 2, при этом в нижней камере 11 под электродным блоком 6 напор струи раствора ослабевает, в результате скорость протока раствора через все электродные пространства 9 и 10 одинакова, что обеспечивает возможность поддержания оптимального режима электролиза в них. При этом на анодной поверхности электрода 71 происходит окисление хлор-иона до элементарного хлора. Взаимодействуя с водой, элементарный хлор образует в объеме анолита в прианодном пространстве 10 хлорноватистую кислоту. На катодной поверхности электрода 72 в прикатодном пространстве 9 происходит восстановление водорода и в католите в прикатодном пространстве 9 происходит накопление гидроксида натрия. Проточный режим электролиза в электролизере снижает возможность сильного нагрева раствора за счет греющего действия электрического тока и обеспечивает возможность проведения интенсивного режима электролиза при больших плотностях тока без снижения выхода по току. При этом объем анодного пространства 10 больше катодного пространства 9 благодаря несимметричному расположению диафрагмы 8, что обеспечивает дополнительную возможность исключения нагрева анолита, при котором возможно ускорение разложения гипохлорит-иона [4]. Кроме того, наличие диафрагмы 8 приводит к тому, что гипохлорит-ион в анодном пространстве 10 связан в виде малодиссоциированной хлорноватистой кислоты и не подвергается дальнейшему окислению на аноде 71. Продукты электролиза после выхода из электродных пространств смешиваются в верхней камере 12, где происходит химический процесс образования гипохлорита натрия при взаимодействии хлорноватистой кислоты, содержащейся в анолите с гидроксидом натрия из католита. Полученный целевой продукт – гипохлорит натрия – выходит из электролизера через штуцер 5 в верхней крышке 3. Возможность перемещения блока электродов 6 между камерами позволяет в каждом конкретном случае устанавливать объем камеры 12 в соответствии с составом раствора и режимом электролиза.
Предлагаемый электролизер обладает преимуществом в сравнении с другими конструкциями, поскольку характеризуется максимальной простотой конструкции, содержащей только два электрических контакта с токоподводами 13 и 14, обладает максимальной ремонтопригодностью и позволяет получать большие объемы раствора гипохлорита натрия в короткие сроки. Электролизер может быть использован для нужд сельскохозяйственного производства, например в кормоприготовлении при закладке силоса, при обработке продуктов животноводства, при дезинфекции крупных объектов и больших помещений. Может быть использован в нефтедобыче для дезинфекции пластовых вод, при дезинфекции местности, и в других отраслях народного хозяйства.
Источники информации
1. Авторское свидетельство СССР №1662353, кл. С 25 В 9/00, опубл. 07.07.91, Бюл. №25.
2. Н.П.Федотьев и др. Прикладная электрохимия, Л., Химия, 1967, с.422-423.
3. Авторское свидетельство СССР №1333716, кл. С 25 В 9/00, опубл. 30.08.87, Бюл. №32 – прототип.
4. Н.П.Федотьев и др. Прикладная электрохимия, Л., Химия, 1967, с.423.
Формула изобретения
1. Электролизер для получения гипохлорита натрия, включающий прямоугольную ванну с двумя камерами, расположенные в ванне вертикальные плоскопараллельные электроды, включенные биполярно и разделенные мембранами, отличающийся тем, что нижняя и верхняя части ванны снабжены герметичными крышками с патрубками, предназначенными соответственно для входа исходного раствора хлорида натрия и выхода раствора гипохлорита натрия, а электроды разделены имеющими с ними одинаковую высоту пористыми мембранами так, что отношение расстояний катод-мембрана и мембрана-анод выбраны из ряда 0,1-1,0, а между крышками ванны и нижними и верхними кромками электродов и мембран образованы соответственно входная и выходная камеры электролизера.
2. Электролизер по п.1, отличающийся тем, что электродный блок установлен с возможностью перемещения в вертикальной плоскости между крышками ванны.
РИСУНКИ
|
|