|
|
(21), (22) Заявка: 2001124313/02, 30.08.2001
(24) Дата начала отсчета срока действия патента:
30.08.2001
(30) Конвенционный приоритет:
31.08.2000 US 09/651,962
(43) Дата публикации заявки: 27.06.2003
(45) Опубликовано: 10.08.2005
(56) Список документов, цитированных в отчете о поиске:
RU 2152141 C1, 27.06.2000. RU 2137069 C1, 10.09.1999. SU 802760 A, 07.02.1981. DE 2805660 A1, 16.08.1979. ВОЛОХОНСКИЙ Л.А. Вакуумные дуговые печи, М., Энергоатомиздат, 1985, с.9, рис.1.1(а).
Адрес для переписки:
129010, Москва, ул. Б. Спасская, 25, стр.3, ООО “Юридическая фирма Городисский и Партнеры”, пат.пов. Ю.Д.Кузнецову, рег.№ 595
|
(72) Автор(ы):
БЕНЦ Марк Гилберт (US), ГЕНРИ Майкл Фрэнсиз (US), КАРТЕР Уилльям Томас Мл. (US), БЬЮЛЭЙ Бернард Патрик (US)
(73) Патентообладатель(и):
ДЖЕНЕРАЛ ЭЛЕКТРИК КОМПАНИ (US)
|
(54) СПОСОБ ВАКУУМНО-ДУГОВОГО ПЕРЕПЛАВА И УСТРОЙСТВО ДЛЯ ЕГО ОСУЩЕСТВЛЕНИЯ
(57) Реферат:
Изобретение относится к спецэлектрометаллургии, а именно к способу и устройству для вакуумного дугового переплава (ВДП). Устройство ВДП содержит печную камеру, расходуемый электрод, изготовленный из материала, подлежащего переплаву, внутри печной камеры и тигель внутри печной камеры. Тигель имеет стенку, которая образует емкость для накопления расплавленного материала от расходуемого электрода, по меньшей мере часть стенки профилирована для увеличения площади и механической стабилизации закраины по мере того, как закраина плавится снизу и нарастает сверху. В способе расходуемый электрод загружают в печную камеру над охлаждаемым тиглем, имеющим профилированную стенку, которая образует емкость для накопления расплавленного материала от расходуемого электрода, накапливают и охлаждают расплавленный материал для получения слитка с закраиной затвердевшего материала, образующейся около профилированной стенки тигля перед нижней границей затвердевающего материала. Изобретение позволяет предотвратить загрязнение расплава зонами всплесков и оксидных включений за счет стабилизации закраины слитка. 2 н. и 37 з.п.ф-лы, 12 ил. 
Настоящее изобретение относится к способу и устройству для вакуумно-дугового переплава (ВДП).
ВДП является способом регулируемой кристаллизации сплавов, чувствительных к сегрегации. В таком процессе легированный электрод цилиндрической формы загружают в водоохлаждаемый медный тигель печи. Из печи откачивают воздух и зажигают электрическую дугу между электродом (катод) и некоторым количеством стартового материала на дне тигля (анод). Дуга нагревает как стартовый материал, так и кончик электрода, в конечном счете расплавляя и тот и другой. По мере того как кончик электрода оплавляется, расплавленный металл капает вниз, в тигель. Процесс продолжается в ванне расплава, которая распространяется вниз до размягченной области, которая является переходной зоной до полного затвердевания слитка. Диаметр тигля больше, чем диаметр электрода. Поэтому постепенно укорачивающийся электрод можно перемещать вниз в направлении поверхности анодной ванны для поддержания среднего расстояния между кончиком электрода и ванной. Среднее расстояние от кончика электрода до поверхности ванны расплавленного металла называют зазором (gе) электрода.
По мере того, как охлаждающая вода отбирает тепло от стенки тигля, происходит затвердевание расплавленного металла вблизи стенки. Твердый слой материала, затвердевающий у стенки тигля вблизи поверхности ванны, называют “закраиной”. На некотором расстоянии ниже поверхности ванны расплава материал становится полностью затвердевшим, превратившись в полностью плотный слиток сплава. По истечении достаточного периода времени наступает стабилизация, заключающаяся в ограниченной закраиной “чаше” расплавленного материала, расположенного поверх полностью затвердевшего основного слитка.
ВДП превращает материал электродов в слитки, имеющие измельченное зерно и улучшенную химическую и физическую однородность. ВДП особенно пригоден для выплавки “суперсплавов” на основе никеля (таких, как сплав 718). Такие сплавы содержат значительные количества химически активных элементов. ВДП уменьшает количество содержащихся газов, особенно водорода и кислорода, неметаллических включений и пористости и сегрегации в центре слитка. Повышаются механические свойства переплавленного сплава, такие как пластичность и усталостная прочность.
В ходе процесса ВДП испаряются летучие загрязняющие вещества, такие как марганец, алюминий и хром. Данные элементы в парообразном виде конденсируются на холодных поверхностях, таких как область стенки тигля непосредственно над закраиной застывающего материала. Кроме того, по мере того, как электродная дуга перемещается около поверхности электрода, некоторое количество частиц выплескивается из ванны расплава и попадает на стенку тигля, где оно может улавливаться образующейся пленкой конденсирующихся парообразных веществ.
По мере образования закраины склонный к растворению материал с высокой точкой плавления является первым жидким металлом, который затвердевает на конденсированных летучих веществах и выплесках, которые покрывают стенку тигля. Кроме того, по мере того, как происходит плавление, включения оксидов и нитридов, присутствующие на поверхности ванны расплавленного металла, отодвигаются на края ванны расплава и застывают на затвердевшем материале у закраины.
По мере того, как электрод плавится и жидкий металл заполняет тигель, закраина слитка оплавляется с нижней стороны, в то время как сверху образуется новая закраина. Если сохраняется установившийся процесс плавления и образования закраины, то закраина постепенно образуется и плавится и распространяется кверху с поверхности ванны расплава. Сколько ни продолжается установившийся процесс, закраина действует как барьер между застывающими выплесками расплава и конденсирующимися парообразными веществами на стенке тигля. Однако если установившееся состояние не сохраняется, то закраина становится нестабильной, разрушается и падает на ванну расплава, цепляясь за пленку конденсированных парообразных веществ, выплески и склонный к растворению материал с высокой точкой плавления. Склонный к растворению материал будет виден в слитке как блестящее “белое пятно”. Если склонному к растворению материалу сопутствуют оксидные включения, то склонный к растворению материал виден как “грязновато-белое пятно”. Такие участки склонного к растворению материала и оксидных включений являются местами легкого начала разрушения, приводящего к сокращению срока службы деталей, изготовленных из данного материала.
Задачей изобретения является создание способа и устройства для вакуумно-дугового переплава, в которых предотвращается загрязнение расплава зонами выплесков и оксидных включений.
В предложенном способе и печи для ВДП предотвращаются загрязнения расплава благодаря стабилизации закраины слитка, что предотвращает внезапное разрушение. Способ ВДП выполняют в устройстве, имеющем тигель со стенкой, которая снабжена закрепляющим средством, чтобы не возникала нестабильность закраины. Устройство ВДП включает камеру печи, расходуемый электрод, изготовленный из материала, подлежащего переплаву, и тигель внутри камеры печи. Тигель имеет стенку, которая образует емкость для накопления расплавленного материала из расходуемого электрода. Стенка имеет профилированную поверхность, которая увеличивает площадь поверхности для механической стабилизации затвердевающего расплавленного материала.
Способ вакуумно-дугового переплава включает загрузку расходуемого электрода в камеру печи над охлаждаемым тиглем, имеющим профилированную стенку, которая образует емкость для накопления расплавленного материала из расходуемого электрода. Способ включает зажигание дуги при пропускании постоянного электрического тока между электродом и дном тигля, что вызывает плавление материала на кончике электрода. Расплавленный материал с кончика электрода накапливается в тигле. Расплавленный материал охлаждают для получения слитка, отличающегося закраиной затвердевшего материала, образующейся возле профилированной стенки тигля перед нижней границей затвердевающего материала.
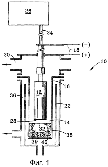
На фиг.1 схематично представлена печь ВДП с частичным разрезом;
на фиг.2 схематично представлено сечение стенки печного тигля и затвердевающего слитка;
на фиг.3 схематично представлен вид сверху желобчатой стенки тигля;
на фиг 4 схематично представлен вид сверху желобчатой стенки тигля с частью затвердевшего слитка;
на фиг.5 схематично представлена вертикальная проекция части желобчатой стенки тигля;
на фиг.6 схематично представлен вид сверху полной окружности тигля;
на фиг.7 схематично представлено сечение профилированной стенки печного тигля и затвердевающего слитка;
на фиг.8 представлена фотография поверхности слитка с опытным образцом зубчатых ребер и
на фиг.9, 10, 11 и 12 схематично представлены альтернативные варианты профилированных стенок.
Согласно изобретению стенку тигля для ВДП профилируют для повышения площади поверхности с целью механической стабилизации закраины, по мере того, как происходит плавление закраины снизу и образование закраины сверху. Профилированная поверхность является неровной или волнистой поверхностью, которая предусмотрена для увеличения площади поверхности по сравнению с плоской поверхностью. Поверхность может быть желобчатой, или узорчатой, или волнистой, с чередующимися гребнями и ребрами. Поверхность может отличаться канавками, складками, тиснениями, такими как канавки, или зубцами, или поверхность может быть профилирована пазами, волнами или гребнями.
Эти и другие конструктивные особенности станут понятней из чертежей и следующего ниже подробного описания, в котором представлены в качестве неограничивающего примера предпочтительные варианты выполнения изобретения.
На фиг.1 схематично представлена печь 10 ВДП с частичным разрезом, а на фиг.2 схематично представлено сечение стенки 38 печного тигля, показывающее часть затвердевающего слитка. На фиг.1 и 2 легированный электрод 12 цилиндрической формы загружен в печную камеру 14 над водоохлаждаемым медным тиглем 16. Печь 10 содержит источник 18 постоянного тока, канал 20 для вакуумирования, направляющее средство 22 для охлаждающей воды, винт 24 привода для регулирования хода и систему 26 приводного двигателя для регулирования хода.
Как показано на фиг.1 и 2, в процессе работы печную камеру 14 вакуумируют и от источника постоянного тока зажигают электрическую дугу между электродом (катод) 12 и стартовым материалом (например, металлической стружкой) на дне (анод) тигля 16. Дуга нагревает как стартовый материал, так и кончик 28 электрода, постепенно расплавляя и то и другое. По мере того, как происходит плавление кончика 28 электрода, расплавленный металл стекает, образуя ниже ванну 30 расплава. Поскольку диаметр тигля, как правило, на 50-150 мм больше, чем диаметр электрода, то электрод 18 можно перемещать вниз, в направлении анодной ванны для поддержания среднего расстояния между кончиком 28 электрода и поверхностью 32 ванны.
По мере того, как вода 36 отбирает тепло от стенки 38 тигля, возле стенки происходит затвердевание расплавленного металла. На некотором расстоянии ниже поверхности ванны расплава сплав полностью затвердевает, превратившись в полностью плотный слиток 40. По истечении определенного периода времени возникает стабилизация, характеризуемая “чашей” расплавленного материала, расположенной поверх полностью затвердевшего основного слитка. Слиток 40 растет, по мере того как затвердевает все больше материала.
По мере того, как происходит плавление, включения оксидов и нитридов, присутствовавшие в электроде, всплывают на поверхность 32 ванны 30 расплава. Оксидные и нитридные соединения обычно собираются по бокам ванны 30 расплава и застывают внутри затвердевающего материала у закраины 42, которая содержит затвердевший материал у поверхности раздела с расплавом непосредственно под поверхностью 32 ванны расплава. Непосредственно над закраиной 42 при конденсации выплесков и парообразных соединений образуется подобный корке выступ, называемый короной 44.
В процессе дальнейшего плавления могут создаться условия, при которых происходит отделение закраины 42 или короны 44 от стенки 38 тигля. Закраина 42 разрушается, и материалы закраины и короны падают в ванну 30 расплава. Материалы могут погружаться в ванну расплава, где материал закраины начинает переплавляться, оставляя оксиды и нитриды короны в виде скопления дефектов. Или, если закраина имеет большую массу, она может только частично переплавиться, так что при затвердевании в ней остаются оксидные и нитридные включения.
На фиг.3, 4, 5, 6 и 7 показана стенка 38 тигля, снабженная профилированной поверхностью 32 согласно изобретению. На фиг.3 схематично представлен вид сверху желобчатой стенки 38 тигля. На фиг.4 схематично представлены сечение стенки 38 тигля, профилированной поверхности 52 стенки тигля и затвердевающего слитка 40. На фиг.5 схематично представлена вертикальная проекция части желобчатой стенки 38 тигля. На фиг.6 схематично представлен вид сверху всей периферийной части тигля, где профилированная поверхность 52 снабжена вертикальными канавками 46. На фиг.7 схематично представлено сечение тигля 16, где профилированная поверхность 52 снабжена вертикальными канавками 46. На всех фигурах стенка 38 является профилированной, для того чтобы между закраиной и нижележащим слитком затвердевал удерживающий связующий элемент или ряд удерживающих элементов. Связующие предусмотрены для механической стабилизации закраины по мере того, как закраина оплавляется снизу и наращивается сверху. Застывающая профилированная поверхность слитка, которая является сопряженной с профилированной поверхностью 52 стенки, удерживает и механически стабилизирует закраину. Профилированная поверхность 52 также увеличивает отвод тепла от образующейся закраины благодаря увеличенной площади контакта между водоохлаждаемой медной [стенкой] и жидкой металлической ванной. Повышенный отвод тепла увеличивает толщину и прочность закраины и дополнительно стабилизирует закраину. Более толстая, поддерживаемая и более стабильная закраина сопротивляется внезапному разрушению и последующему загрязнению затвердевающего слитка.
На фиг.3, 4, 5, 6 и 7 показана стенка 38 тигля с канавками 46, которые имеют наклонные боковые стенки 48 и плоские донные части 50, которые проложены на в остальном плоской поверхности 52 стенки тигля. Форму, глубину и шаг канавок 46 выбирают так, чтобы они легко заполнялись жидким металлом, затвердевали в виде ребер и не полностью переплавлялись по мере того, как закраина 42 плавится снизу и наращивается сверху.
Канавки 46 могут быть под углом наружу относительно вертикальной линии, перпендикулярной основанию канавки, а углы канавки могут быть скругленными, чтобы обеспечить легкость заполнения канавок и легкость извлечения слитка из тигля после его затвердевания. Канавки 46 могут быть под углом вплоть до 60° относительно вертикали, а предпочтительно. приблизительно, от 5 до 30 градусов относительно вертикали. Предпочтительно канавки 46 могут быть под углом приблизительно от 10 до 20 градусов относительно вертикали.
При любой конфигурации профиля острые углы могут быть скруглены для обеспечения легкости извлечения слитка и предотвращения образования у готового слитка острых углов. Величина скругления может быть описана радиусом скругления угла, измеренным изнутри дуги скругления. Приемлем широкий диапазон радиусов скругления вплоть до 1/2 ширины канавки, предпочтительно приблизительно от 1/8 до 1/2 от ширины канавки, более предпочтительно приблизительно от 1/4 до 1/2 ширины канавки.
Форма канавки может изменяться от прямоугольной до трапецеидальной и до полукруглой. Приемлемы все формы, которые легко заполняются и позволяют извлекать слиток 40 из тигля 16 после полного затвердевания слитка. Глубина канавки может быть в диапазоне от 3,18 до 19,05 мм, с предпочтительным диапазоном приблизительно от 3,18 до 12,7 мм. Типичная ширина канавки может быть в диапазоне приблизительно от 3,18 до 50,8 мм, с предпочтительным диапазоном приблизительно от 6,35 до 12,7 мм. В большинстве вариантов размер канавки будет изменяться с изменением размера тигля. Отношение глубины или ширины канавок к окружности тигля может изменяться приблизительно от 0,001 до 0,05, предпочтительно, приблизительно от 0,002 до 0,04 и более предпочтительно приблизительно от 0,006 до 0,02, а частота канавок на длине 25,4 мм внутренней окружности изменяется приблизительно от 0,1 до 5, предпочтительно приблизительно от 0,3 до 4 и более предпочтительно приблизительно от 0,5 до 3.
На фиг.3, 4, 5, 6 и 7 показан предпочтительный вариант, в котором стенка 38 тигля является желобчатой с трапецеидальными канавками 46. Могут быть использованы и другие формы, изменяющиеся от прямоугольной до полукруглой. Например, приемлемы все формы, которые легко заполняются и позволяют извлекать слиток из тигля после полного затвердевания слитка.
Эти и другие конструктивные особенности станут понятны из фиг.8 и нижеследующего подробного описания, в котором представлены предпочтительные варианты настоящего изобретения в качестве неограничивающего примера.
Пример
На фиг.8 представлена фотография поверхности слитка из суперсплава 718 (приблизительно Ni, 19 % Cr, 18 % Fe, 5 % Nb, 3 % Мо, 1 % Ti, 0,6 % Al), затвердевшего при стандартных промышленных режимах плавления ВДП с небольшим опытным участком, образованным при использовании предпочтительной версии настоящего изобретения как примера. В данном примере верхняя часть стандартного, промышленного типа, тигля для ВДП диаметром 508 мм была модифицирована для добавления двух опытных секций с профилированной стенкой на дуге 90 градусов, разделенных двумя секциями сравнения с гладкими стенками на дуге 90 градусов.
Профилирование стенок тигля выполнили в виде ряда вертикальных канавок глубиной приблизительно 6,35 мм при ширине 6,35 мм, при шаге 12,7 мм на одну канавку на внутренней окружности стенки тигля. Глубина и ширина были выбраны так, чтобы ребра, которые затвердевают внутри канавок, не плавились вновь по мере того, как металл поднимается в тигле. Частота расположения канавок на внутренней окружности была выбрана так, чтобы обеспечить надежную стабилизацию повторно плавящейся закраины. Боковые стенки канавок были под углом приблизительно 14 градусов наружу относительно вертикальной линии, перпендикулярной основанию канавки, и углы канавки были скруглены для обеспечения легкого заполнения канавок жидким металлом и легкого извлечения слитка из тигля после его затвердевания.
Обнаружили, что способ обеспечивал получение стабильной закраины в ходе процесса плавления, а отливка Alloy 718, показанная на фиг.8, отличалась пониженным количеством белых пятен и грязновато-белых пятен по сравнению со слитком, выплавленным в печи без профилированной стенки.
Хотя были описаны предпочтительные варианты изобретения, настоящее изобретение может допускать изменения и модификации и поэтому не должно быть ограничено в примере точными подробностями. Например, изобретение может быть использовано в сочетании со способом для отливки любого подходящего материала, такого как высоколегированная сталь на основе железа или высоколегированный титан, такой как Ti-17 (Ti, 5 % Al, 4 % Cr, 4 % Мо, 2 % Sn, 2 % Zr). На фиг.9, 10, 11 и 12 приведены дополнительные примеры профилированной поверхности 52 стенки. На фиг.9 показан профиль с прорезями 56 и пиками 58, на фиг.10 показаны гребни 58 с плоским дном 50, на фиг.11 показаны плоские вершины 60 с прорезями 56 и на фиг.12 показана другая предпочтительная форма, имеющая волнообразную топографию. Настоящее изобретение включает все изменения и модификации, которые охватываются объемом защиты на основе следующей далее формулы изобретения.
Формула изобретения
1. Устройство для вакуумно-дугового переплава, содержащее печную камеру (14), тигель и расходуемый электрод (12), полученный из материала, подлежащего переплаву в печной камере (14), отличающееся тем, что тигель имеет стенку, которая образует емкость для накопления расплавленного материала расходуемого электрода (12), причем стенка выполнена профилированной c увеличением площади поверхности для механической стабилизации затвердевающего расплавленного материала.
2. Устройство по п.1, отличающееся тем, что профилированная стенка обеспечивает закрепление закраины (42) затвердевающего расплавленного материала.
3. Устройство по п.1, отличающееся тем, что профилированная стенка имеет неровную или волнистую поверхность (52), обеспечивающую увеличение площади по сравнению с плоской поверхностью.
4. Устройство по п.1, отличающееся тем, что профилированная стенка имеет желобчатую, узорчатую или волнистую поверхность (52) с чередующимися ребрами и канавками.
5. Устройство по п.1, отличающееся тем, что профилированная стенка имеет пазы, складки, тиснения, зубцы или канавки.
6. Устройство по п.1, отличающееся тем, что профилированная стенка имеет контур в виде пазов, волн или гребней.
7. Устройство по п.1, отличающееся тем, что профилированная стенка имеет контур преимущественно в виде вертикальных канавок.
8. Устройство по п.1, отличающееся тем, что профилированная стенка имеет контур в виде канавок (46), имеющих угол менее 60° относительно вертикали.
9. Устройство по п.1, отличающееся тем, что профилированная стенка имеет контур в виде канавок (46), имеющих угол приблизительно от 10 до 20 градусов относительно вертикали.
10. Устройство по п.1, отличающееся тем, что профилированная стенка имеет контур преимущественно в виде вертикальных канавок (46), имеющих глубину приблизительно от 3,18 до 19,05 мм, ширину приблизительно от 3,18 до 50,8 мм и интервалы между канавками приблизительно от 9,53 до 101,6 мм.
11. Устройство по п.1, отличающееся тем, что профилированная стенка имеет контур преимущественно в виде вертикальных канавок (46), имеющих глубину приблизительно от 6,35 до 12,7 мм, ширину приблизительно от 6,35 до 12,7 мм и интервалы между канавками приблизительно от 12,7 до 19,05 мм.
12. Устройство по п.1, отличающееся тем, что профилированная стенка имеет контур преимущественно в виде вертикальных канавок (46), которые скруглены на длине вплоть 1/2 ширины канавки.
13. Устройство по п.1, отличающееся тем, что профилированная стенка имеет контур преимущественно в виде вертикальных канавок (46), которые скруглены на длине приблизительно от 1/4 до 1/2 ширины канавки.
14. Устройство по п.1, отличающееся тем, что профилированная стенка имеет контур преимущественно в виде вертикальных канавок (46) и отношение глубины или ширины канавок (46) к окружности тигля (16) составляет приблизительно от 0,001 до 0,05, а частота канавок (46) на длине 25,4 мм внутренней окружности тигля (16) составляет приблизительно от 0,1 до 5.
15. Устройство по п.1, отличающееся тем, что профилированная стенка имеет контур преимущественно в виде вертикальных канавок (46) и отношение глубины или ширины канавок (46) к окружности тигля (16) составляет приблизительно от 0,002 до 0,04, а частота канавок (46) на длине 25,4 мм внутренней окружности тигля (16) составляет приблизительно от 0,3 до 4.
16. Устройство по п.1, отличающееся тем, что профилированная стенка имеет контур преимущественно в виде вертикальных канавок (46) и отношение глубины или ширины канавок (46) к окружности тигля (16) составляет приблизительно от 0,006 до 0,02, а частота канавок (46) на длине 25,4 мм внутренней окружности тигля (16) составляет приблизительно от 0,5 до 3.
17. Устройство по п.1, отличающееся тем, что профилированная стенка имеет чередующиеся прорези (56) и выступы (58).
18. Устройство по п.1, отличающееся тем, что профилированная стенка имеет чередующиеся прорези с плоским дном и выступы (58).
19. Устройство по п.1, отличающееся тем, что профилированная стенка имеет чередующиеся плоские вершины (60) и прорези (56).
20. Устройство по п.1, отличающееся тем, что профилированная стенка имеет скругленную волнообразную топографию (62).
21. Способ вакуумно-дугового переплава, отличающийся тем, что загружают расходуемый электрод (12) в печную камеру (14) над охлаждаемым тиглем (16), имеющим профилированную стенку, которая образует емкость для накопления расплавленного материала из упомянутого расходуемого электрода (12); зажигают дугу пропусканием постоянного электрического тока между электродом (12) и дном тигля (16), для того чтобы вызвать плавление материала на конце электрода (12); накапливают расплавленный материал в тигле (16) и охлаждают расплавленный материал для получения слитка с закраиной (42) затвердевшего материала, образующейся около профилированной стенки тигля (16) перед нижней границей затвердевающего материала.
22. Способ по п.21, отличающийся тем, что профилированная стенка стабилизирует закраину (42) для предотвращения внезапного отделения закраины (42) от стенки.
23. Способ по п.21, отличающийся тем, что профилированная стенка имеет неровную или волнистую поверхность (52), которая обеспечивает увеличенную площадь поверхности по сравнению с плоской поверхностью.
24. Способ по п.21, отличающийся тем, что профилированная стенка имеет контур преимущественно в виде вертикальных канавок.
25. Способ по п.21, отличающийся тем, что профилированная стенка имеет контур в виде канавок (46), имеющих угол менее 60° относительно вертикали.
26. Способ по п.21, отличающийся тем, что профилированная стенка имеет контур в виде канавок (46), имеющих угол приблизительно от 10 до 20 градусов относительно вертикали.
27. Способ по п.21, отличающийся тем, что профилированная стенка имеет контур преимущественно в виде вертикальных канавок (46), имеющий глубину канавок приблизительно от 3,18 до 19,05 мм, ширину приблизительно от 3,18 до 50,8 мм и интервалы между канавками приблизительно от 9,53 до 101,6 мм.
28. Способ по п.21, отличающийся тем, что профилированная стенка имеет контур преимущественно в виде вертикальных канавок (46), имеющих глубину канавок приблизительно от 6,35 до 12,7 мм, ширину приблизительно от 6,35 до 12,7 мм и интервалы между канавками приблизительно от 12,7 до 19,05 мм.
29. Способ по п.21, отличающийся тем, что профилированная стенка имеет контур преимущественно в виде вертикальных канавок (46), которые скруглены на длине вплоть 1/2 ширины канавки.
30. Способ по п.21, отличающийся тем, что профилированная стенка имеет контур преимущественно в виде вертикальных канавок (46), которые скруглены на длине приблизительно от 1/4 до 1/2 ширины канавки.
31. Способ по п.21, отличающийся тем, что профилированная стенка имеет канавки (46) трапецеидальной формы с шагом канавок приблизительно от 9,53 до 101,6 мм на внутренней стенке тигля (16).
32. Способ по п.21, отличающийся тем, что профилированная стенка имеет вертикальные канавки (46) трапецеидальной формы и отношение глубины или ширины канавок (46) к окружности тигля (16) составляет приблизительно от 0,001 до 0,05, а частота канавок (46) на длине 25,4 мм внутренней окружности тигля (16) составляет приблизительно от 0,1 до 5.
33. Способ по п.21, отличающийся тем, что профилированная стенка имеет вертикальные канавки (46) трапецеидальной формы и отношение глубины или ширины канавок (46) к окружности тигля (16) составляет приблизительно от 0,002 до 0,04, а частота канавок (46) на длине 25,4 мм внутренней окружности тигля (16) составляет приблизительно от 0,3 до 4.
34. Способ по п.21, отличающийся тем, что профилированная стенка имеет вертикальные канавки (46) трапецеидальной формы и отношение глубины или ширины канавок (46) к окружности тигля (16) составляет приблизительно от 0,006 до 0,02, а частота канавок (46) на длине 25,4 мм внутренней окружности тигля (16) составляет приблизительно от 0,5 до 3.
35. Способ по п.21, отличающийся тем, что профилированная стенка имеет канавки (46) трапецеидальной формы с шагом канавок приблизительно от 12,7 до 19,05 мм на внутренней стенке тигля (16).
36. Способ по п.21, отличающийся тем, что профилированная стенка имеет чередующиеся прорези (56) и выступы (58).
37. Способ по п.21, отличающийся тем, что профилированная стенка имеет чередующиеся прорези с плоским дном и выступы (58).
38. Способ по п.21, отличающийся тем, что профилированная стенка имеет чередующиеся плоские вершины (60) и прорези (56).
39. Способ по п.21, отличающийся тем, что профилированная стенка имеет скругленную волнообразную топографию (62).
РИСУНКИ
|
|