|
|
(21), (22) Заявка: 2003136979/02, 22.12.2003
(24) Дата начала отсчета срока действия патента:
22.12.2003
(45) Опубликовано: 10.08.2005
(56) Список документов, цитированных в отчете о поиске:
САФРОНОВИЧ А. А. “Карусельные станки”, Москва, 1983, с.75. SU 582962 A1, 05.12.1977. SU 410912 А1, 15.01.1974. SU 1673384 A1, 30.08.1991. US 3485333 А, 01.04.1992.
Адрес для переписки:
350072, г.Краснодар, ул. Московская, 2, Кубанский ГТУ, ПО, пат.пов. Л.В. Ломакиной, рег.№ 109
|
(72) Автор(ы):
Корниенко В.Г. (RU)
(73) Патентообладатель(и):
Кубанский государственный технологический университет (RU)
|
(54) ПРИВОД КАРУСЕЛЬНОГО СТАНКА
(57) Реферат:
Изобретение относится к области станкостроения, в частности к приводам, используемым в карусельных металлорежущих станках. Сущность изобретения заключается в том, что узел передачи крутящего момента привода состоит из приводных звездочек с цепной передачей и ведомой венцовой звездочки, находящейся в зацеплении с периферийной частью ветви цепной передачи. Электродвигатель жестко связан с приводной звездочкой. Кроме того, каждая приводная звездочка жестко связана со своим электродвигателем. Цепная передача выполнена в виде одно- или многорядной калиброванной цепи или зубчатой цепи, имеющей зубцы как внутри, так и по периферии цепного контура. Технический результат изобретения состоит в расширении технологических возможностей привода и упрощении его конструкции. 2 з.п. ф-лы, 2 ил. 
Изобретение относится к области станкостроения, в частности к приводам, используемым в карусельных металлорежущих станках.
Известны редукционные передачи механизма горизонтальной и вертикальной передачи суппорта («Карусельные станки», авт. А.А.Сафронович. М., 1960 г., с.96). Редуктор устанавливается в корпусе суппорта и входит в зацепление с рейкой, расположенной вдоль направляющих поперечин.
Недостатком такой передачи является ограничение угла поворота исполнительного органа.
Наиболее близкими по технической сущности являются силовые приводы для передачи крутящего момента на планшайбу карусельного станка, содержащие электродвигатель, коробку передач, трансмиссионный вал, приводную шестерню, находящуюся в зацеплении с венцовой шестерней планшайбы («Карусельные станки», авт. А.А.Сафронович. М., 1983 г., стр.75).
Недостатками данных силовых приводов являются:
– длинная кинематическая цепь (электродвигатель – венцовая шестерня), ведущая к снижению КПД привода;
– при большой разнице в длительных диаметрах приводной и венцовой шестерен в передаче крутящего момента участвует, как правило, не больше одного зуба зацепления, что приводит к резкому увеличению контактных усилий и, как следствие, повышенных требованиям к материалам и технологии изготовления зубчатой пары.
Задача изобретения – упрощение конструкции силового привода карусельного станка и расширение его технологических возможностей.
Поставленная задача решается предложенным приводом карусельного станка, включающим электродвигатель и узел передачи крутящего момента на планшайбу, в котором узел передачи крутящего момента состоит из приводных звездочек с цепной передачей и ведомой венцовой звездочки, находящейся в зацеплении с периферийной частью ветви цепной передачи, а электродвигатель жестко связан с приводной звездочкой.
При необходимости каждая приводная звездочка может быть связана со своим электродвигателем.
Цепная передача выполнена в виде одно- или многорядной калиброванной цепи или в виде зубчатой цепи, имеющей зубцы как внутри, так и по периферии цепного контура.
Схема привода выполняется по предлагаемому варианту, исключает сложный зубчатый редуктор, что позволяет существенно упростить конструкцию.
Отсутствие редуктора заменяется возможностью бесступенчатого регулирования частот вращения, что расширяет технологические возможности станка.
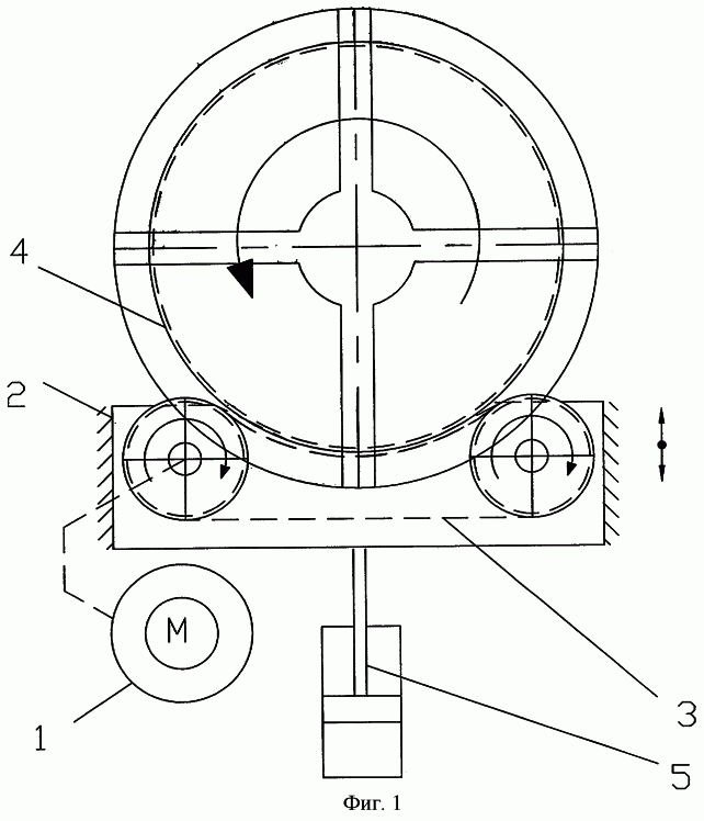
На фиг.1 представлена схема зацепления с использованием в качестве привода одного электродвигателя; на фиг.2 представлена схема зацепления с использованием двух электродвигателей для увеличения мощности привода.
Привод содержит электродвигатель 1, блок приводных звездочек 2 с цепной передачей 3, весомую венцовую звездочку 4, установленную на планшайбе, привод перемещения блока приводных звездочек 5.
Межосевое расстояние между приводными звездочками 2 выбирается таким, чтобы оно обеспечивало передачу крутящего момента на планшайбу при максимально возможном включении в работу зубьев венцовой звездочки 4 с целью равномерного распределения по ним контактных напряжений.
Привод по фиг.1 работает следующим образом.
С помощью привода 5 перемещаем блок приводных звездочек 2 с цепной передачей 3 и вводим в зацепление с зубьями венцовой звездочки 4 периферийную часть ветви цепной передачи 3. Усилие контактного натяжения приводной ветви цепной передачи контролируется датчиком давления с обратной связью. В качестве привода служит один электродвигатель 1, жестко связанный с одной приводной звездочкой.
Привод по фиг.2 работает аналогично приводу по фиг.1, с той лишь разницей, что для увеличения потребности мощности и крутящего момента на планшайбе в схеме установлены два электродвигателя 1, каждый из которых жестко связан с приводными звездочками 2.
Формула изобретения
1. Привод карусельного станка, включающий электродвигатель и узел передачи крутящего момента на планшайбу, отличающийся тем, что узел передачи крутящего момента состоит из приводных звездочек с цепной передачей и ведомой венцовой звездочки, находящейся в зацеплении с периферийной частью ветви цепной передачи, а электродвигатель жестко связан с приводной звездочкой.
2. Привод по п.1, отличающийся тем, что каждая приводная звездочка жестко связана со своим электродвигателем.
3. Привод по п.1, отличающийся тем, что цепная передача выполнена в виде одно- или многорядной калиброванной цепи или в виде зубчатой цепи, имеющей зубцы как внутри, так и по периферии цепного контура.
РИСУНКИ
|
|