|
|
(21), (22) Заявка: 2003101948/12, 24.01.2003
(24) Дата начала отсчета срока действия патента:
24.01.2003
(43) Дата публикации заявки: 10.08.2004
(45) Опубликовано: 10.08.2005
(56) Список документов, цитированных в отчете о поиске:
Аскинази Б.М. Упрочнение и восстановление деталей электромеханической обработкой, Ленинград, «Машиностроение», 1977, с.149. RU 2060138 C1, 20.05.1996. SU 1748986 A1, 23.02.1992. RU 2006358 C1, 30.01.1994. Политехнический словарь, Москва, Советская энциклопедия, 1989, с.192. Большой словарь иностранных слов, Москва, Центрполиграф, 2001, с.233.
Адрес для переписки:
460352, г.Оренбург, пр-кт Победы, 13, ГОУ ОГУ, патентный отдел
|
(72) Автор(ы):
Авдеев Н.В. (RU), Масюто О.М. (RU)
(73) Патентообладатель(и):
Государственное образовательное учреждение высшего профессионального образования “Оренбургский государственный университет” (RU)
|
(54) СПОСОБ ВОССТАНОВЛЕНИЯ ИЗНОШЕННЫХ ВТУЛОК ИЗ ПЛАСТИЧНЫХ МАТЕРИАЛОВ
(57) Реферат:
Изобретение относится к ремонтному производству и может быть использовано для восстановления втулок из пластичных материалов. В способе восстановления изношенных втулок из пластичных материалов перемещают посредством инструмента часть внутреннего материала втулки в зону износа, расположенную на внутренней поверхности втулки. Вначале изношенную втулку устанавливают на сердечнике в пресс-форме, в которой поверхность износа отстоит от требуемой на величину износа, на пресс. Затем под воздействием инвертированного усилия пресса перемещают часть внутреннего материала втулки из зоны посадочной поверхности в зону износа посредством инструмента в виде индентеров, количество которых (n) принимают из расчета: n=4dвн. н·Ннtизн/ d2 инд.hинд, где dвн.н – внутренний диаметр альбомной втулки, Нн – высота альбомной втулки, tизн. – толщина износа, dинд. – диаметр индентора, hинд – глубина внедрения индентора, создавая объемно-пластическую деформацию путем вдавливания инденторов в поверхность втулки в радиальном направлении с наружной ее стороны. Способ обеспечивает первоначальную износостойкость и долговечность за счет восстановления номинальных размеров и свойств поверхности трения. 1 ил., 1 табл. 
Изобретение относится к ремонтному производству и может использоваться для восстановления втулок из пластичных материалов.
Известен способ восстановления изношенной втулки за счет перемещений ее торцевой части в зону износа сжатием по высоте. (Восстановление автомобильных деталей. Технология и оборудование, Учебн. для ВУЗов/ В.Е.Конарчук, А.Д.Чигренец и др. – М.: Транспорт, 1995, 305 с.).
Недостаток этого способа состоит в том, что при его использовании происходит изменение формы и размеров втулки, снижающее износостойкость. Сжатие с деформацией по высоте приводит к образованию зазоров между торцами втулки и крышками (фланцами), что значительно снижает износостойкость и долговечность. Снижение долговечности уменьшает межремонтные сроки и соответственно увеличивает расходы на ремонт и эксплуатацию.
Наиболее близким по технической сущности является способ восстановления изношенной втулки путем перемещения части материала рабочей зоны поверхностного слоя в область износа путем накатки резьбы (пластическим деформированием) и последующим сглаживанием или срезанием вершин (Аскинази Б.М. Упрочнение и восстановление деталей электромеханической обработкой. Л.: Машиностроение (Ленинградское отделение), 1977, 184 с.).
Недостаток прототипа состоит в том, что при его осуществлении на рабочей поверхности (поверхности трения) образуется трапецеидальная нарезка с общей поверхностью трения значительно меньшей, чем номинальная на 25-35%. Уменьшение площади приводит к повышению удельной нагрузки трения, что естественно увеличивает износ, т.е. снижает износостойкость и долговечность. Эти снижения нарушают сроки ремонта машин и механизмов и увеличивают затраты на эксплуатацию и ремонт. Повышение износа с повышением нагрузки показано во всех источниках по трению и износу.
Технический результат изобретения состоит в том, что при использовании предлагаемого способа достигается первоначальная износостойкость, а соответственно и долговечность за счет восстановления номинальных размеров и свойств поверхности трения.
Поставленная задача решается тем, что в способе восстановления изношенных втулок из пластичных материалов, при котором перемещают посредством инструмента часть внутреннего материала в зону износа, расположенную на внутренней поверхности втулки, вначале изношенную втулку устанавливают на сердечнике в пресс-форму, в которой поверхность износа отстоит от требуемой на величину износа, на пресс, затем под воздействием инвертированного усилия пресса перемещают часть внутреннего материала втулки из зоны посадочной поверхности в зону износа посредством инструмента в виде инденторов, количество которых (n) принимают из расчета
n=4dвн.н·Ннtизн/ d2 индhинд.
где dвн.н – внутренний диаметр альбомной втулки, Нн – высота альбомной втулки, tизн. – толщина износа, dинд. – диаметр индентора, hинд. – глубина внедрения индентора, создавая объемно-пластическую деформацию путем вдавливания инденторов в поверхность втулки в радиальном направлении с наружной ее стороны.
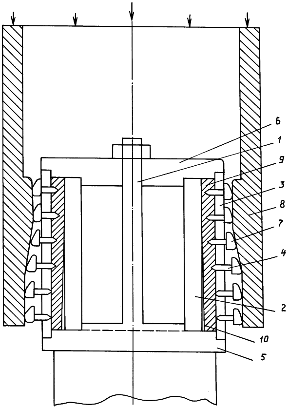
На чертеже показано устройство для осуществления данного способа.
Устройство содержит:
1 – центрирующую ось, 2 – сердечник с наружным диаметром dн.с., равным внутреннему номинальному диаметру новой втулки dвн.н, 3 – обойму с внутренним диаметром dвн.об.L, равным номинальному наружному диаметру альбомной втулки dн.н, в обойме имеются радиальные сквозные цилиндрические отверстия, служащие направляющими для инденторов 4, 5 – верхний и 6 – нижний центрирующие фланцы, 7 – инвенторы, 8 – цилиндрический пуансон с внутренней конической поверхностью, 9 – изношенная втулка с внутренним изношенным диаметром dвн.изн., зазор tзаз, равный половине разности диаметров внутреннего изношенной втулки и наружного сердечника, т.е.
tзаз=(dвн.изн-dн.с.)/2.
Способ восстановления втулки осуществляется следующим образом. Изношенную втулку 9 устанавливают на сердечник 2. Обойму 3 с инденторами 4 надевают на втулку. Все центрируется фланцами 5 и 6. Укомплектованную таким образом пресс-форму устанавливают на пресс и прогоняют пуансоном 8 по инверторам 7. В процессе прохождения конусной части пуансона 8 наклонных поверхностей инверторов 7 происходит изменение направления усилия вертикального движения пуансона на усилие горизонтального движения инверторов, которые при этом вдавливаются во втулку в радиальном направлении с наружной стороны. Инденторы, внедряясь в материал втулки, перемещают его в зону износа. Для полного заполнения зазора необходимо, чтобы восстанавливаемая втулка по размеру dвн.изн приняла размер dвн.н. Для этого необходимо, чтобы объем перемещаемого материала Vпер равнялся объему износа Vизн, т.е. Vпер=Vизн.·Vизн=Sизн.tизн.= dвн.н·Ннtизн, где Sизн. – поверхность износа, м2, tизн – глубина износа втулки по внутреннему диаметру (поверхности трения), м, Нн – номинальная высота втулки, м, Vпер= nd2 индhинд/4, где n – количество инденторов, dинд – диаметр индентора, м, hинд – глубина внедрения индентора в материал втулки, м.
Количество инденторов принимают из расчета
n=4dвн.н·Ннtизн/ d2 индhинд.
Инденторы изготовляют из прочной легированной стали диаметром от 1,8 до 3,6 мм. Длина индентора L рассчитывается по формуле
L=hинд+tоб+lхв, где hинд – глубина внедрения индентора, она выбирается в зависимости от толщины втулки tв, hинд=Ktв, где К – коэффициент, К – 0,1-0,6, при этом чем больше толщина tв, тем меньше К (tоб – толщина обоймы, tоб=dн.об-dвв.об/2, lхв – длина хвостовика индентора, входящего в инвентор).
Приведенные расчеты и практика показывают, что однократная прогонка обеспечивает полное заполнение зазора внутренним материалом втулки. В результате происходит восстановление номинальных размеров втулки по всему периметру. При этом химический состав и структура рабочего поверхностного слоя (зоны трения) становятся аналогичными химическому составу и структуре новой втулки. Единственным отличием восстановленной втулки от новой является наличие на противоположной от поверхности трения стороне углублений с размерами dинд и hинд. После запрессовки восстановленной втулки в посадочное место (головку) углубления превращаются в поры, далеко расположенные от поверхности трения, и поэтому не изменяют какие-либо свойства относительно свойств новой втулки.
Пример конкретного выполнения
Изношенная деталь – втулка верхней головки шатуна двигателя трактора Т 80. Материал втулки – Бр 05С5Ц, размеры: dн.н=56 мм, dвн.н=50 мм, Нв=50 мм. Максимальный износ rизн – 0,06 мм. Исходя из приведенных данных площадь износа Sизн=9,42 мм2, объем износа Vизн=471 мм3.
Диаметр индентора приняли 2 мм, а глубину проникновения hинд=1,7 мм. Отсюда количество инденторов равно n=90 шт. Приняли 5 рядов по 18 инденторов в ряду. Таким образом, на 1 см наружной поверхности втулки пришлось по 1-му углублению.
Продолжительность комплектовки, прогонки пуансоном и разборка формы составила 2,5 мин.
Полевые испытания работы двигателей с восстановленными втулками на хлопковых полях Средней Азии показали, что долговечность восстановленных втулок на 3-4% выше новых при 100% надежности всех испытуемых втулок.
Для обоснования полевых испытаний были проведены лабораторные испытания. При этих испытаниях использовались образцы в виде сегментов толщиной 3 мм, радиусом 50 мм из литой бронзы Бр05С5Ц5 и аналогичные образцы, деформированные инденторами на вышеописанном устройстве по нижеследующим режимам T=25°С, Р=8 МПа, V=1,2 м/с, материал сопряженной пары сталь 45 после закалки и отпуска, смазка ТНК. Износостойкость деформированной бронзы на 5-6% выше литой.
Результаты испытаний представлены в таблице. Интенсивность износа 1·109.
| Материал образцов |
Номер образца |
Среднее значение |
| 6./6′ |
7./7′ |
8./8′ |
9./9′ |
9./9′ |
10./10′ |
| Литая бронза |
3,2 |
3,3 |
3,3 |
3,2 |
3,4 |
3,3 |
| Деформированная иденторами бронза |
3,1 |
2,9 |
2,9 |
3,0 |
3,4 |
3,1 |
Формула изобретения
Способ восстановления изношенных втулок из пластичных материалов, при котором перемещают посредством инструмента часть внутреннего материала втулки в зону износа, расположенную на внутренней поверхности втулки, отличающийся тем, что вначале изношенную втулку устанавливают на сердечнике в пресс-форме, в которой поверхность износа отстоит от требуемой на величину износа, на пресс, затем под воздействием инвертированного усилия пресса перемещают часть внутреннего материала втулки из зоны посадочной поверхности в зону износа посредством инструмента в виде индентеров, количество которых (n) принимают из расчета n=4dвн.н·Ннtизн/ d2 инд.hинд, где dвн.н – внутренний диаметр альбомной втулки, Нн – высота альбомной втулки, tизн. – толщина износа, dинд. – диаметр индентора, hинд. – глубина внедрения индентора, создавая объемно-пластическую деформацию путем вдавливания инденторов в поверхность втулки в радиальном направлении с наружной ее стороны.
РИСУНКИ
MM4A Досрочное прекращение действия патента Российской Федерации на изобретение из-за неуплаты в установленный срок пошлины за поддержание патента в силе
Дата прекращения действия патента: 25.01.2006
Извещение опубликовано: 27.01.2007 БИ: 03/2007
|
|