|
|
(21), (22) Заявка: 2003135487/02, 08.12.2003
(24) Дата начала отсчета срока действия патента:
08.12.2003
(45) Опубликовано: 10.08.2005
(56) Список документов, цитированных в отчете о поиске:
SU 649527 А, 28.02.1979. RU 2089366 C1, 10.09.1997. SU 573297 А, 25.09.1977. SU 963759 А1, 07.10.1982. ЕР 0098563 А, 18.01.1984. DE 3308426 А, 13.09.1984.
Адрес для переписки:
115573, Москва, ул.Мусы Джалиля, 4, корп.1, кв.168, М.Г.Бограду
|
(72) Автор(ы):
Боград М.Г. (RU)
(73) Патентообладатель(и):
Боград Моисей Григорьевич (RU)
|
(54) АВТОМАТ ДЛЯ ВОЗДУШНО-ДУГОВОЙ РЕЗКИ БОГРАДА
(57) Реферат:
Изобретение относится к устройствам, используемым для воздушно-дуговой резки и строжки металла в автоматическом режиме. Автомат содержит приводную тележку для перемещения автомата с корпусом, резак с держателем электрода, закрепленный на оси корпуса тележки с возможностью поворота, и воздухопровод. Автомат дополнительно содержит рычаг, закрепленный на корпусе тележки, груз-балансир, соединенный с корпусом посредством упомянутого рычага, инжектор для сохранения постоянства давления воздушного потока в зону резки, рычаг, связанный с воздухопроводом и инжектором через ось и штангу для соединения вентиля с резаком. Груз-балансир выполнен с возможностью контактирования и перемещения по поверхности резака при изменении угла наклона последнего. Рычаг, связанный с воздухопроводом и инжектором через ось, закреплен на резаке для перемещения и поворота инжектора при повороте резака по мере сгорания электрода. Штанга служит для направления воздушного потока через резак и изменения давления воздушного потока в зависимости от его расстояния от зоны резки. Это позволит повысить качество и точность резки, а также уменьшить степень науглероживания поверхности резки. 1 ил. 
Изобретение относится к устройствам, используемым для воздушно-дуговой резки и строжки металла в автоматическом режиме.
Из известных устройств наиболее близким к заявленному является устройство для автоматической воздушно-дуговой резки (ВДР) с гравитационным способом подачи электрода и с подачей воздуха для удаления расплавленного металла из зоны резки (SU 649527 А, В 23 К 31/10, 28.02.1979). Известный автомат содержит приводную тележку для перемещения автомата с корпусом, резак с держателем электрода, закрепленный на оси корпуса тележки с возможностью поворота, и воздухопровод.
Недостатками известного автомата является то, что при резке и строжке гравитационные усилия прижатия электрода к обрабатываемой поверхности изделия постоянно изменяются по мере сгорания электрода, поворота резака и приближения зоны резки к воздушному потоку, отрывающему электрод и изменяющему усилие прижатия электрода, что влияет на точность резки и науглероживание обрабатываемой поверхности.
Целью изобретения является устранение указанных недостатков, а именно повышение качества и точности резки, уменьшение степени науглероживания поверхности резки.
Указанная цель достигается тем, что автомат для воздушно-дуговой резки, содержащий приводную тележку для перемещения автомата с корпусом, резак с держателем электрода, закрепленный на оси корпуса тележки с возможностью поворота, и воздухопровод, дополнительно содержит рычаг, закрепленный на корпусе тележки, груз-балансир, соединенный с корпусом посредством упомянутого рычага с возможностью контактирования и перемещения по поверхности резака при изменении угла наклона последнего, инжектор для сохранения постоянства давления воздушного потока в зону резки, рычаг, связанный с воздухопроводом и инжектором через ось и закрепленный на резаке для перемещения и поворота инжектора при повороте резака по мере сгорания электрода, и штангу для соединения вентиля с резаком для направления воздушного потока через резак и изменения давления воздушного потока в зависимости от его расстояния от зоны резки.
Предложенная конструкция гарантирует стабильность усилия прижатия электрода к обрабатываемой поверхности при гравитационном способе подачи электрода.
Стабильность прижатия электрода обеспечивается тем, что регулировка усилия прижатия электрода происходит от одного датчика – угла наклона резака. На резаке подвижно через ось с возможностью перемещения закреплен рычаг, соединенный с воздухопроводом и инжектором, сохраняющий постоянное расстояние и направление воздушного потока по отношению к зоне резки, а воздухопровод соединен с резаком через штангу, взаимодействующую с вентилем воздушного потока, направляемого через резак, и изменяющую давление воздуха в зависимости от расстояния от резака до зоны резки.
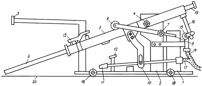
Изобретение поясняется чертежом, где показан общий вид автомата со снятой передней крышкой корпуса.
Конструкция автомата содержит приводную тележку 1 с корпусом 2 и упором 3. Корпус 2 имеет ось 4, на которой подвижно с возможностью поворота закреплен резак 5 с электродом 6. На резак 5 опирается подвижный груз-балансир 7, выполненный в виде ролика 8, контактирующего с поверхностью резака 5 и соединенного рычагом 9 с корпусом 2. На резаке 5 шарнирно закреплен рычаг 10 с инжектором 11. Поворот резака 5 ограничивает упор 12. Крепление электрода 6 в резаке 5 обеспечивается держателем 13. Подвод воздуха к резаку 5 производится воздухопроводом 14 через вентиль 15, связанный с резаком 5 штангой 16. Подвод воздуха к инжектору 11 производится воздухопроводом 17. Приводная тележка 1 имеет колеса 18 с ребордами для направления движения автомата по копиру. Первоначальная установка и крепление электрода 6 и последующие установки при его сгорании производятся толкателем 19 до упора 3.
Автомат ВДР работает следующим образом: реборды колес 18 устанавливают в направляющие копиры в соответствии с направлением резки и строжки обрабатываемого изделия. Затем электрод 6 плоской или круглой формы вставляют в резак 5, продвигают его до упора 3 толкателем 19 и закрепляют держателем 13. После чего поворачивают резак 5 с электродом 6 до контакта с обрабатываемой поверхностью 20, включают компрессор подачи воздуха, затем источник электропитания, после чего начинается процесс автоматической резки.
Формула изобретения
Автомат для воздушно-дуговой резки, содержащий приводную тележку для перемещения автомата с корпусом, резак с держателем электрода, закрепленный на оси корпуса тележки с возможностью поворота, и воздухопровод, отличающийся тем, что автомат дополнительно содержит рычаг, закрепленный на корпусе тележки, груз-балансир, соединенный с корпусом посредством упомянутого рычага с возможностью контактирования и перемещения по поверхности резака при изменении угла наклона последнего, инжектор для сохранения постоянства давления воздушного потока в зону резки, рычаг, связанный с воздухопроводом и инжектором через ось и закрепленный на резаке для перемещения и поворота инжектора при повороте резака по мере сгорания электрода, и штангу для соединения вентиля с резаком для направления воздушного потока через резак и изменения давления воздушного потока в зависимости от его расстояния от зоны резки.
РИСУНКИ
|
|