|
|
(21), (22) Заявка: 2004100631/12, 05.01.2004
(24) Дата начала отсчета срока действия патента:
05.01.2004
(45) Опубликовано: 10.08.2005
(56) Список документов, цитированных в отчете о поиске:
RU 20021042 C1,10.15.1994. SU 246334 A1, 10.11.1969. SU 488632 A1, 25.10.1975.
Адрес для переписки:
644029, г.Омск, а/я 251, С.Н. Филоненко
|
(72) Автор(ы):
Головаш А.Н. (RU), Байбеков А.Х. (RU), Литневский В.А. (RU), Щербинин В.А. (RU)
(73) Патентообладатель(и):
Головаш Анатолий Нойович (RU), Байбеков Алексей Хамитович (RU), Литневский Владимир Аркадьевич (RU), Щербинин Валерий Александрович (RU)
|
(54) УСТРОЙСТВО ДЛЯ МОЙКИ ЕМКОСТЕЙ
(57) Реферат:
Изобретение относится к устройствам для обработки и очистки с помощью жидкости внутренней поверхности больших емкостей для хранения и/или перевозки различных продуктов, в частности железнодорожных и автомобильных цистерн. В устройстве для мойки емкостей, содержащем неподвижный корпус с патрубком для подвода рабочей жидкости, установленную на неподвижном корпусе с возможностью вращения относительно его оси моющую головку в виде подвижного корпуса, на котором смонтирован с возможностью вращения вокруг оси, перпендикулярной оси неподвижного корпуса, сопловой насадок с, по меньшей мере, одним соплом, сопловой насадок выполнен с возможностью создания реактивных моментов. Моющая головка дополнительно содержит жестко связанное с упомянутым сопловым насадком средство для создания гироскопического эффекта. Изобретение обеспечивает надежность работы устройства, высокую эффективность очистки и экономичность, а также стабильное вращение моющей головки на малых скоростях. 2 з.п.ф-лы, 5 ил. 
Изобретение относится к устройствам для обработки и очистки с помощью жидкости внутренней поверхности больших емкостей для хранения и/или перевозки различных продуктов, таких как, например, железнодорожных и автомобильных цистерн.
Широко известны устройства для очистки полых изделий емкостного типа, основанные на использовании системы реактивных сопел, вращающихся под действием выходящих из них струй. Общей решаемой задачей повышения эффективности работы таких устройств является ограничение скорости вращения моющей головки.
Известна из патента RU № 2020005 (опубл. 30.09.1994) машинка для мойки емкостей, содержащая полую емкость (неподвижный корпус), установленный на ней с возможностью вращения через пару конических шестерен корпус с реактивными соплами на отводах, размещенный внутри подвижного корпуса регулятор частоты вращения реактивных сопел. Регулятор включает набор поршней с головками, на которых выполнены кольцевые канавки, неподвижную ось с опорами, связанную с неподвижным корпусом, наклонный диск, жестко закрепленный на неподвижной оси между ее опорами и установленный с возможностью взаимодействия с кольцевыми канавками головок поршней.
Недостатками этой машинки являются ее сложность, наличие механической передачи и большое количество элементов, взаимодействующих в дополнительной рабочей среде – масле, следовательно, техобслуживание этой конструкции затруднительно, а надежность в работе недостаточна.
Известна из патента RU № 2030224 (опубл. 03.10.1995) моечная машина, содержащая закрепленный на трубопроводе подачи рабочей жидкости неподвижный корпус, соединенный зубчатой передачей с подвижным корпусом, имеющим радиально расположенные сопла, каждое из которых выполнено в виде изогнутого патрубка со смещенными осями его входной и выходной частей, при этом машина снабжена закрепленным в подвижном и неподвижном корпусах с возможностью вращения относительно оси трубопровода изогнутым переходным патрубком с соосным расположением его концов в корпусах, а подвижный корпус снабжен патрубками для установки сопел с возможностью поворота их относительно вертикальной оси и фиксатором положения сопел. Оси входной и выходной частей каждого сопла параллельны одна другой.
Недостатком этого устройства является низкая надежность вследствие наличия механической передачи вращения поворотному корпусу, работающей в тяжелых условиях горячей воды, быстро выходящей из строя и требующей постоянного обслуживания, что снижает надежность работы устройства.
Наиболее близким к заявляемому изобретению и выбранным в качестве прототипа является устройство для мойки емкостей, известное из патента RU №2021042 (опубл. 1994.10.15). Известное устройство для мойки емкостей содержит неподвижный корпус с патрубком для подвода рабочей жидкости, установленную на неподвижном корпусе с возможностью вращения относительно его оси моющую головку в виде подвижного корпуса, на котором смонтирован первый сопловой насадок с парой реактивных сопел, а также регулятор скорости вращения моющей головки, выполненный в виде второго соплового насадка с реактивными соплами, установленного жестко и соосно на подвижном корпусе. Сопла в каждой паре сопел первого и второго насадков расположены с возможностью создания реактивных моментов противоположного направления, а их выходные отверстия имеют различные диаметры.
При подаче моющей жидкости в неподвижный корпус она распределяется на два потока. Один поток подается в первый сопловой насадок, смонтированный на подвижном корпусе. Рабочая жидкость, истекая из сопел, создает суммарный реактивный момент, равный разности реактивных моментов, так как последние направлены при вращении сопел в противоположные стороны. Разница реактивных моментов обеспечивается за счет разности диаметров их сопел. Подбирая соотношение диаметров сопел, устанавливают необходимую рабочую скорость вращения первого соплового насадка.
Недостатками данной конструкции являются трудности подбора реактивных моментов сопел для получения малых скоростей вращения моющей головки и нестабильность работы на малых скоростях, что снижает надежность устройства и эффективность очистки емкостей.
В основу изобретения поставлена задача создания устройства простой конструкции обладающего повышенной надежностью в работе и обеспечивающего высокую эффективность и экономичность процесса мойки.
Техническим результатом является стабилизация вращения моющей головки на малых скоростях.
Поставленная задача решается тем, что в устройстве для мойки емкостей, содержащем неподвижный корпус с патрубком для подвода рабочей жидкости, установленную на неподвижном корпусе с возможностью вращения относительно его оси моющую головку в виде подвижного корпуса, на котором смонтирован с возможностью вращения вокруг оси, перпендикулярной оси неподвижного корпуса, сопловой насадок с, по меньшей мере, одним соплом, при этом упомянутый сопловой насадок выполнен с возможностью создания реактивных моментов, новым является то, что моющая головка дополнительно содержит жестко связанное с упомянутым сопловым насадком средство для создания гироскопического эффекта.
Реактивные моменты и гироскопические силы обеспечивают поворот соплового насадка в пространстве вокруг двух взаимно перпендикулярных осей.
Целесообразно средство для создания гироскопического эффекта выполнять в виде потокового канала, имеющего, по меньшей мере, один по существу кольцеобразный участок для жидкости, подаваемой в сопловой насадок, при этом упомянутый участок расположен таким образом, чтобы нормаль к плоскости, в которой он лежит, не совпадала с осью вращения упомянутого соплового насадка.
Целесообразно средство для создания гироскопического эффекта выполнять в виде маховика, ось вращения которого жестко связана с упомянутым сопловым насадком таким образом, чтобы упомянутая ось не совпадала с осью вращения соплового насадка.
Преимущества и особенности предлагаемого изобретения станут более очевидными из детального описания в соединении с сопровождающими чертежами, на которых изображено:
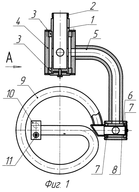
фиг.1 – общий вид устройства для мойки емкостей со средством для создания гироскопического эффекта, выполненного в виде незамкнутого кольцеобразно изогнутого трубопровода;
фиг.2 – вид А на фиг.1;
фиг.3 – средство для создания гироскопического эффекта, выполненное в виде изогнутого трубопровода, имеющего замкнутый кольцеобразный участок;
фиг.4 – общий вид устройства для мойки емкостей со средством для создания гироскопического эффекта, выполненного в виде маховика;
фиг.5 – вид А на фиг.4.
В соответствии с особенно предпочтительным воплощением устройства согласно изобретению, как показано на фиг.1 и 2, устройство содержит неподвижный цилиндрический корпус 1 с патрубком 2 для подвода рабочей жидкости и установленную подвижно на корпусе 1 моющую головку. Моющая головка содержит установленный в подшипниках 3 подвижный корпус 4, жестко связанный с трубопроводом 5, корпус 6 с установленным в подшипниках 7 полым валом 8, средство 9 и сопловой насадок 10.
Внутренние полости корпуса 1, патрубка 2, корпуса 4, трубопровода 5, корпуса 6, полого вала 8, средства 9 и соплового насадка 10 сообщаются между собой.
Трубопровод 5 жестко связан с корпусом 6, а полый вал 8 жестко связан со средством 9 для создания гироскопического эффекта, выполненного в виде сообщенного с полым валом 8 изогнутого трубопровода, на конце которого смонтирован сопловой насадок 10 с соплами 11 и 12. Трубопровод изогнут с образованием кольцеобразного участка. Кольцеобразный участок может быть незамкнутым, как показано на фиг.1, или замкнутым, как показано на фиг.3.
Потоковый канал может иметь несколько кольцеобразных участков, расположенных концентрически в одной плоскости, для образования, по меньшей мере, одной, по существу, кольцевой области (не изображено).
Средство 9 для создания гироскопического эффекта может быть выполнено также в виде спирали с несколькими витками.
Оси вращения полого вала 8 и корпуса 4 взаимно перпендикулярны.
В данном конкретном примере воплощения изобретения трубопровод 5 выполнен удлиненным и изогнут таким образом, чтобы обеспечивались компактность устройства и возможность его легкого введения через люк в цистерне.
В альтернативном варианте осуществления конструкции, показанном на фиг.4 и 5, средство 9 для создания гироскопического эффекта выполнено в виде маховика, ось 13 которого жестко связана с полым валом 8 посредством соединительного элемента 14, закрепленного на полом вале 8. Сопловой насадок 10 жестко связан с полым валом 8. Со стороны маховика 9 смонтировано средство15 для обеспечения вращения маховика под воздействием струи жидкости, истекающей из сопла средства 15, сообщенного с валом 8. Средство 15 приводит во вращение маховик 9 относительно его оси.
Сопла 11 и 12 соплового насадка 10 направлены в противоположные стороны, а их оси смещены относительно оси полого корпуса 8. В данных примерах выполнения соплового насадка возникающие реактивные моменты сил одинаковы по модулю и направлены в одну сторону.
Возможно выполнение соплового насадка с моментами сил разными по модулю и направленными в разные стороны.
Возможно также выполнение соплового насадка с моментами сил, направленными в одну сторону и разными по модулю.
Возможно выполнение соплового насадка с более чем двумя соплами. Увеличение количества сопел при достаточной мощности позволит увеличить производительность установки.
Работает устройство следующим образом.
Моющая жидкость через патрубок 2, корпус 1, корпус 4, трубопровод 5 и полый вал 8 поступает в сопловой насадок 10. При истечении жидкости из сопел 11 и 12 возникает реактивный крутящий момент, приводящий во вращение сопловой насадок 10 относительно оси полого вала 8, а гироскопические силы вращают моющую головку относительно оси неподвижного корпуса 1. Средство 9, обеспечивающее гироскопический эффект (фиг.1 или фиг.4) вместе с сопловым насадком 10 прецессирует относительно оси неподвижного корпуса 1. Моменты сил от реактивных сопел 11 и 12 меняют угол между осью неподвижного корпуса 1 и плоскостью, в которой расположен кольцеобразный участок трубопровода (фиг.1) или плоскостью маховика (фиг.4).
Гироскопический эффект, возникающий в устройстве, стабилизирует вращение относительно обеих осей и делает возможным устойчивую работу устройства при малых угловых скоростях, что повышает эффективность процесса мойки.
Сочетание вращательных движений вокруг взаимно перпендикулярных осей обеспечивает возможность струям моющей жидкости, вытекающих из сопел, постоянно менять свое направление в трехмерном пространстве вокруг моющей головки и перемещаться по всей внутренней поверхности ж.-д. цистерны, других емкостей.
Таким образом, предлагаемое устройство по сравнению с прототипом значительно надежней в эксплуатации и удобней в обслуживании.
Формула изобретения
1. Устройство для мойки емкостей, содержащее неподвижный корпус с патрубком для подвода рабочей жидкости, установленную на неподвижном корпусе с возможностью вращения относительно его оси моющую головку в виде подвижного корпуса, на котором смонтирован с возможностью вращения вокруг оси, перпендикулярной оси упомянутого неподвижного корпуса, сопловой насадок с, по меньшей мере, одним соплом, при этом упомянутый сопловой насадок выполнен с возможностью создания реактивных моментов сил относительно его оси вращения, отличающееся тем, что моющая головка дополнительно содержит жестко связанное с упомянутым сопловым насадком средство для создания гироскопического эффекта.
2. Устройство для мойки емкостей по п.1, отличающееся тем, что упомянутое средство представляет собой потоковый канал, имеющий, по меньшей мере, один, по существу, кольцеобразный участок для жидкости, подаваемой в упомянутый сопловой насадок, при этом упомянутый участок расположен таким образом, чтобы нормаль к плоскости, в которой он лежит, не совпадала с осью вращения упомянутого соплового насадка.
3. Устройство для мойки емкостей по п.1, отличающееся тем, что упомянутое средство выполнено в виде маховика, ось вращения которого жестко связана с упомянутым сопловым насадком таким образом, чтобы упомянутая ось не совпадала с осью вращения соплового насадка.
РИСУНКИ
MM4A – Досрочное прекращение действия патента СССР или патента Российской Федерации на изобретение из-за неуплаты в установленный срок пошлины за поддержание патента в силе
Дата прекращения действия патента: 06.01.2008
Извещение опубликовано: 27.07.2009 БИ: 21/2009
|
|